EP1908899A3 - Locking system - Google Patents
Locking system Download PDFInfo
- Publication number
- EP1908899A3 EP1908899A3 EP07019238A EP07019238A EP1908899A3 EP 1908899 A3 EP1908899 A3 EP 1908899A3 EP 07019238 A EP07019238 A EP 07019238A EP 07019238 A EP07019238 A EP 07019238A EP 1908899 A3 EP1908899 A3 EP 1908899A3
- Authority
- EP
- European Patent Office
- Prior art keywords
- latch
- lock
- locking
- bolt
- lock cylinder
- Prior art date
- Legal status (The legal status is an assumption and is not a legal conclusion. Google has not performed a legal analysis and makes no representation as to the accuracy of the status listed.)
- Withdrawn
Links
Classifications
-
- E—FIXED CONSTRUCTIONS
- E05—LOCKS; KEYS; WINDOW OR DOOR FITTINGS; SAFES
- E05B—LOCKS; ACCESSORIES THEREFOR; HANDCUFFS
- E05B47/00—Operating or controlling locks or other fastening devices by electric or magnetic means
- E05B47/0046—Electric or magnetic means in the striker or on the frame; Operating or controlling the striker plate
-
- E—FIXED CONSTRUCTIONS
- E05—LOCKS; KEYS; WINDOW OR DOOR FITTINGS; SAFES
- E05B—LOCKS; ACCESSORIES THEREFOR; HANDCUFFS
- E05B17/00—Accessories in connection with locks
- E05B17/20—Means independent of the locking mechanism for preventing unauthorised opening, e.g. for securing the bolt in the fastening position
- E05B17/2007—Securing, deadlocking or "dogging" the bolt in the fastening position
- E05B17/203—Securing, deadlocking or "dogging" the bolt in the fastening position not following the movement of the bolt
- E05B17/2038—Securing, deadlocking or "dogging" the bolt in the fastening position not following the movement of the bolt moving rectilinearly
-
- E—FIXED CONSTRUCTIONS
- E05—LOCKS; KEYS; WINDOW OR DOOR FITTINGS; SAFES
- E05B—LOCKS; ACCESSORIES THEREFOR; HANDCUFFS
- E05B47/00—Operating or controlling locks or other fastening devices by electric or magnetic means
- E05B47/06—Controlling mechanically-operated bolts by electro-magnetically-operated detents
- E05B47/0603—Controlling mechanically-operated bolts by electro-magnetically-operated detents the detent moving rectilinearly
-
- E—FIXED CONSTRUCTIONS
- E05—LOCKS; KEYS; WINDOW OR DOOR FITTINGS; SAFES
- E05B—LOCKS; ACCESSORIES THEREFOR; HANDCUFFS
- E05B55/00—Locks in which a sliding latch is used also as a locking bolt
- E05B55/12—Locks in which a sliding latch is used also as a locking bolt the bolt being secured by the operation of a hidden parallel member ; Automatic latch bolt deadlocking mechanisms, e.g. using a trigger or a feeler
-
- E—FIXED CONSTRUCTIONS
- E05—LOCKS; KEYS; WINDOW OR DOOR FITTINGS; SAFES
- E05B—LOCKS; ACCESSORIES THEREFOR; HANDCUFFS
- E05B47/00—Operating or controlling locks or other fastening devices by electric or magnetic means
- E05B2047/0084—Key or electric means; Emergency release
- E05B2047/0085—Key and electromagnet
-
- E—FIXED CONSTRUCTIONS
- E05—LOCKS; KEYS; WINDOW OR DOOR FITTINGS; SAFES
- E05B—LOCKS; ACCESSORIES THEREFOR; HANDCUFFS
- E05B63/00—Locks or fastenings with special structural characteristics
- E05B63/0017—Locks with sliding bolt without provision for latching
-
- E—FIXED CONSTRUCTIONS
- E05—LOCKS; KEYS; WINDOW OR DOOR FITTINGS; SAFES
- E05B—LOCKS; ACCESSORIES THEREFOR; HANDCUFFS
- E05B63/00—Locks or fastenings with special structural characteristics
- E05B63/24—Arrangements in which the fastening members which engage one another are mounted respectively on the wing and the frame and are both movable, e.g. for release by moving either of them
- E05B63/242—Auxiliary bolts on the frame, actuated by bolts on the wing, or vice versa
Landscapes
- Lock And Its Accessories (AREA)
Abstract
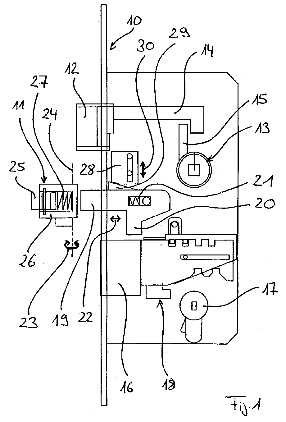
Die Erfindung betrifft eine Schleißanlage für eine ein bewegliches Element, insbesondere ein Blatt oder einen Flügel, und ein feststehendes Element, insbesondere eine Zarge oder einen Rahmen, aufweisende, verschließbare Vorrichtung, insbesondere für eine Tür oder ein Fenster, mit einem dem beweglichen Element zugeordneten Schloss (10), wobei das Schloss (10) eine Falle (12) zum Verschließen der Vorrichtung aufweist, wobei das Schloss (10) einen Riegel (16) zum Versperren einer verschlossenen Vorrichtung aufweist, und wobei das Schloss (10) einen Schließzylinder (17) zum Betätigen zumindest des Riegels (16) aufweist. Erfindungsgemäß ist in das feststehende Element eine mit einer Sperrfalle bzw. einer Hilfsfalle (19) des Schlosses (10) zusammenwirkende, elektrisch bzw. elektronisch ansteuerbare Sperreinrichtung (11) integriert, wobei die Sperreinrichtung (11) in einem ersten Zustand bei verschlossener Vorrichtung eine Betätigung des Riegels (16) über den Schließzylinder (17) blockiert, und wobei die Sperreinrichtung (11) in einem zweiten Zustand bei verschlossener Vorrichtung die Betätigung des Riegels (16) über den Schließzylinder (17) zulässt. The invention relates to a Schleißanlage for a movable element, in particular a leaf or a wing, and a fixed element, in particular a frame or a frame having, closable device, in particular for a door or a window, with a movable element associated lock (10), wherein the lock (10) comprises a latch (12) for closing the device, the latch (10) having a latch (16) for locking a locked device, and wherein the latch (10) comprises a lock cylinder (17 ) for actuating at least the bolt (16). According to the invention, an electrically or electronically controllable locking device (11) cooperating with a locking latch or an auxiliary latch (19) of the lock (10) is integrated, the locking device (11) actuating in a first state when the device is locked of the bolt (16) via the lock cylinder (17) is blocked, and wherein the locking device (11) in a second state with a closed device, the actuation of the bolt (16) via the lock cylinder (17).
Applications Claiming Priority (1)
| Application Number | Priority Date | Filing Date | Title |
|---|---|---|---|
| DE200620015365 DE202006015365U1 (en) | 2006-10-05 | 2006-10-05 | An electrically operated mortice lock for doors and windows has one electrically actuated rotatable element installed in the fixed frame and the locking section in the door |
Publications (2)
| Publication Number | Publication Date |
|---|---|
| EP1908899A2 EP1908899A2 (en) | 2008-04-09 |
| EP1908899A3 true EP1908899A3 (en) | 2010-01-06 |
Family
ID=37545578
Family Applications (1)
| Application Number | Title | Priority Date | Filing Date |
|---|---|---|---|
| EP07019238A Withdrawn EP1908899A3 (en) | 2006-10-05 | 2007-10-01 | Locking system |
Country Status (2)
| Country | Link |
|---|---|
| EP (1) | EP1908899A3 (en) |
| DE (1) | DE202006015365U1 (en) |
Families Citing this family (5)
| Publication number | Priority date | Publication date | Assignee | Title |
|---|---|---|---|---|
| CN101008297B (en) * | 2007-01-26 | 2010-10-13 | 庄子平 | Combination door lock |
| WO2009147689A1 (en) * | 2008-06-05 | 2009-12-10 | Cisa S.P.A. | Universal security lock |
| EP2388419B1 (en) * | 2010-04-27 | 2013-10-09 | BKS GmbH | Mortise lock |
| DE102011051952B4 (en) * | 2011-07-19 | 2021-03-25 | Mehmet Sancak | Remote-activated self-locking door lock |
| DE102022134993B4 (en) * | 2022-12-29 | 2025-02-20 | Assa Abloy Sicherheitstechnik Gmbh | anti-panic lock with escape door opener |
Citations (3)
| Publication number | Priority date | Publication date | Assignee | Title |
|---|---|---|---|---|
| US4529234A (en) * | 1982-09-29 | 1985-07-16 | Architectural Control Systems Incorporated | Electrical operating means for door lock mechanisms |
| DE3700891A1 (en) * | 1987-01-14 | 1987-06-19 | Geco Sicherungstechnik | Lock |
| WO2006070062A1 (en) * | 2004-12-31 | 2006-07-06 | Roca Finland Oy | Lock |
-
2006
- 2006-10-05 DE DE200620015365 patent/DE202006015365U1/en not_active Expired - Lifetime
-
2007
- 2007-10-01 EP EP07019238A patent/EP1908899A3/en not_active Withdrawn
Patent Citations (3)
| Publication number | Priority date | Publication date | Assignee | Title |
|---|---|---|---|---|
| US4529234A (en) * | 1982-09-29 | 1985-07-16 | Architectural Control Systems Incorporated | Electrical operating means for door lock mechanisms |
| DE3700891A1 (en) * | 1987-01-14 | 1987-06-19 | Geco Sicherungstechnik | Lock |
| WO2006070062A1 (en) * | 2004-12-31 | 2006-07-06 | Roca Finland Oy | Lock |
Also Published As
| Publication number | Publication date |
|---|---|
| EP1908899A2 (en) | 2008-04-09 |
| DE202006015365U1 (en) | 2006-11-30 |
Similar Documents
| Publication | Publication Date | Title |
|---|---|---|
| EP1932989A3 (en) | Locking device for doors, windows or similar, in particular an espagnolette lock with panic function and multi-point locking | |
| EP2112314A3 (en) | Door assembly with a swinging and sliding function which can be actuated with a single actuation element | |
| WO2015144526A1 (en) | Motor vehicle lock assembly | |
| EP3237710A1 (en) | Motor vehicle lock assembly | |
| EP2083140A3 (en) | Lock assembly for a two-wing door with an active leaf and a semi-fixed leaf | |
| EP2803796A2 (en) | Motor vehicle lock | |
| EP2345835A3 (en) | Locking device and safety device for a work area of a machine | |
| DE102011018999A1 (en) | case closure | |
| EP1908899A3 (en) | Locking system | |
| EP1340871A3 (en) | Locking device | |
| EP2682545A1 (en) | Closure assembly, in particular for a sliding door or sliding window and sliding door or sliding window | |
| DE102015010923A1 (en) | External handle for a wing element, in particular a side door, a motor vehicle | |
| EP1229192A3 (en) | Door locking system | |
| DE102010049567A1 (en) | Locking device, particularly for building doors, comprises locking mechanism with lock element, rotary catch, and lock holder that is designed as latching bolt unit | |
| EP2339096A3 (en) | Connecting rod lock with panic function and multiple locking | |
| EP2381055A3 (en) | Lock for a closing element | |
| DE202011102751U1 (en) | Device for actuating a door handle | |
| EP2256273A3 (en) | Drive rod lock with multiple locking points | |
| EP2921617A1 (en) | Locking device | |
| WO2019068276A1 (en) | MOTOR VEHICLE LOCK | |
| EP2573306A3 (en) | Window or door | |
| DE102007010437B4 (en) | Comfort opening Castle | |
| DE102016207938A1 (en) | Lock for a swiveling wing | |
| DE102009048839A1 (en) | Lockable cover for building opening, particularly door, window, gate, has lock that is provided with locking gears, particularly rotary latch and safety catch, are provided as functional elements | |
| EP2213818A3 (en) | Lock, in particular slideable dead bolt lock, with improved protection |
Legal Events
| Date | Code | Title | Description |
|---|---|---|---|
| PUAI | Public reference made under article 153(3) epc to a published international application that has entered the european phase |
Free format text: ORIGINAL CODE: 0009012 |
|
| AK | Designated contracting states |
Kind code of ref document: A2 Designated state(s): AT BE BG CH CY CZ DE DK EE ES FI FR GB GR HU IE IS IT LI LT LU LV MC MT NL PL PT RO SE SI SK TR |
|
| AX | Request for extension of the european patent |
Extension state: AL BA HR MK RS |
|
| PUAL | Search report despatched |
Free format text: ORIGINAL CODE: 0009013 |
|
| AK | Designated contracting states |
Kind code of ref document: A3 Designated state(s): AT BE BG CH CY CZ DE DK EE ES FI FR GB GR HU IE IS IT LI LT LU LV MC MT NL PL PT RO SE SI SK TR |
|
| AX | Request for extension of the european patent |
Extension state: AL BA HR MK RS |
|
| AKY | No designation fees paid | ||
| STAA | Information on the status of an ep patent application or granted ep patent |
Free format text: STATUS: THE APPLICATION IS DEEMED TO BE WITHDRAWN |
|
| 18D | Application deemed to be withdrawn |
Effective date: 20100707 |
|
| REG | Reference to a national code |
Ref country code: DE Ref legal event code: 8566 |
