EP1681684A2 - Vorrichtung zur herstellung elektrische kabel mit einer umhullung von siliconkunststoffen und ahnlichen materialien - Google Patents
Vorrichtung zur herstellung elektrische kabel mit einer umhullung von siliconkunststoffen und ahnlichen materialien Download PDFInfo
- Publication number
- EP1681684A2 EP1681684A2 EP06100053A EP06100053A EP1681684A2 EP 1681684 A2 EP1681684 A2 EP 1681684A2 EP 06100053 A EP06100053 A EP 06100053A EP 06100053 A EP06100053 A EP 06100053A EP 1681684 A2 EP1681684 A2 EP 1681684A2
- Authority
- EP
- European Patent Office
- Prior art keywords
- tank
- molten salts
- cable
- curved portion
- salts
- Prior art date
- Legal status (The legal status is an assumption and is not a legal conclusion. Google has not performed a legal analysis and makes no representation as to the accuracy of the status listed.)
- Withdrawn
Links
- 229920002379 silicone rubber Polymers 0.000 title claims abstract description 17
- 239000004945 silicone rubber Substances 0.000 title claims abstract description 17
- 238000004519 manufacturing process Methods 0.000 title claims abstract description 13
- 150000003839 salts Chemical class 0.000 claims abstract description 63
- 238000004140 cleaning Methods 0.000 claims abstract description 11
- 238000001035 drying Methods 0.000 claims abstract description 9
- 238000006555 catalytic reaction Methods 0.000 claims abstract description 8
- 230000003134 recirculating effect Effects 0.000 claims abstract description 5
- RYGMFSIKBFXOCR-UHFFFAOYSA-N Copper Chemical compound [Cu] RYGMFSIKBFXOCR-UHFFFAOYSA-N 0.000 claims description 4
- 229910052802 copper Inorganic materials 0.000 claims description 4
- 239000010949 copper Substances 0.000 claims description 4
- 238000002347 injection Methods 0.000 claims description 4
- 239000007924 injection Substances 0.000 claims description 4
- 229910001220 stainless steel Inorganic materials 0.000 claims description 2
- 239000010935 stainless steel Substances 0.000 claims description 2
- 230000001174 ascending effect Effects 0.000 claims 1
- 239000011810 insulating material Substances 0.000 description 6
- 230000000670 limiting effect Effects 0.000 description 3
- 239000004020 conductor Substances 0.000 description 2
- 230000000694 effects Effects 0.000 description 2
- 238000001125 extrusion Methods 0.000 description 2
- 239000000463 material Substances 0.000 description 2
- 238000000034 method Methods 0.000 description 2
- 239000000203 mixture Substances 0.000 description 2
- 239000004809 Teflon Substances 0.000 description 1
- 229920006362 Teflon® Polymers 0.000 description 1
- 238000006073 displacement reaction Methods 0.000 description 1
- 238000009826 distribution Methods 0.000 description 1
- 238000012423 maintenance Methods 0.000 description 1
- 238000012986 modification Methods 0.000 description 1
- 230000004048 modification Effects 0.000 description 1
- 150000002823 nitrates Chemical class 0.000 description 1
- 150000002826 nitrites Chemical class 0.000 description 1
- 230000000630 rising effect Effects 0.000 description 1
- 239000000126 substance Substances 0.000 description 1
- 238000011144 upstream manufacturing Methods 0.000 description 1
- 238000005406 washing Methods 0.000 description 1
Images
Classifications
-
- H—ELECTRICITY
- H01—ELECTRIC ELEMENTS
- H01B—CABLES; CONDUCTORS; INSULATORS; SELECTION OF MATERIALS FOR THEIR CONDUCTIVE, INSULATING OR DIELECTRIC PROPERTIES
- H01B13/00—Apparatus or processes specially adapted for manufacturing conductors or cables
- H01B13/06—Insulating conductors or cables
- H01B13/14—Insulating conductors or cables by extrusion
-
- H—ELECTRICITY
- H01—ELECTRIC ELEMENTS
- H01B—CABLES; CONDUCTORS; INSULATORS; SELECTION OF MATERIALS FOR THEIR CONDUCTIVE, INSULATING OR DIELECTRIC PROPERTIES
- H01B13/00—Apparatus or processes specially adapted for manufacturing conductors or cables
- H01B13/06—Insulating conductors or cables
- H01B13/14—Insulating conductors or cables by extrusion
- H01B13/145—Pretreatment or after-treatment
-
- H—ELECTRICITY
- H01—ELECTRIC ELEMENTS
- H01B—CABLES; CONDUCTORS; INSULATORS; SELECTION OF MATERIALS FOR THEIR CONDUCTIVE, INSULATING OR DIELECTRIC PROPERTIES
- H01B13/00—Apparatus or processes specially adapted for manufacturing conductors or cables
- H01B13/06—Insulating conductors or cables
- H01B13/14—Insulating conductors or cables by extrusion
- H01B13/146—Controlling the extrusion apparatus dependent on the capacitance or the thickness of the insulating material
Definitions
- the present invention relates to an apparatus particularly for manufacturing electrical cables with sheathing made of silicone rubber and the like.
- the manufacture of an electrical cable with a silicone rubber sheathing occurs, after a process for extruding the insulating material to sheathe the copper conductor with a mixture of silicone rubber activated by means of suitable chemical components, by catalysis of the mixture of insulating material by passage through a linear oven which is approximately 20-25 m long and in which a bath in a tank of molten salts, kept at a temperature of 250-270°C, allows to complete the process.
- At the outlet of the oven means for washing and drying the sheathed electrical cable are provided.
- the main limitations are in fact linked to their structure and to the speed at which the cable is made to advance.
- the balance between the length of the oven, the distribution of the molten salts and the production rate is therefore a physical limitation that cannot be exceeded easily.
- Italian Patent Application No. PD2000A232 filed on 6 October 2000 in the name of this same Applicant, discloses an oven which comprises a tank for containing the molten salts which has, arranged in an operating sequence, a longitudinally elongated initial portion, an intermediate motorized wheel for redirecting the electrical cable being processed from the longitudinal direction of the initial portion to the longitudinal direction of a final portion which is also longitudinally elongated, and forms, on the horizontal plane, an angle of approximately 30 sexagesimal degrees with respect to the initial portion.
- the oven further comprises a duct for the passage of the molten salts, which is immersed in such bath of salts and is arranged at the bottom of the tank, with an inlet arranged at the intermediate portion in a direction which matches the direction of motion of the molten salts, and with outlets arranged proximate to the inlet part of the initial portion.
- This type of oven solves effectively the problems related to apparatuses of the known type, in which a difference in level of the bath of molten salts is produced between the inlet and outlet portions of the oven during the processing of the cable, but its structure is rather complicated and comprises for example the redirection wheel, the supporting means and the antislip means thereof, as well as its motorization means.
- the wheel for redirecting the sheathed electrical cable may operate unevenly, due to the variable friction and resistance forces constituted by the mass of molten salts in which it is immersed.
- the aim of the present invention is to provide an apparatus particularly for manufacturing electrical cables with sheathing made of silicone rubber and the like, which is capable of obviating the problems and drawbacks of known types of apparatus.
- an object of the present invention is to provide an apparatus which is capable of redistributing and recirculating the molten salts no less effectively than known types of apparatus.
- Another object is to provide an apparatus which allows to increase production speed and capacity.
- Another object is to provide an apparatus which is simpler and cheaper than known apparatuses and entails at the same time an energy saving.
- Further object of the invention is to provide an apparatus which allows to save on logistics and personnel costs.
- Still further object of the present invention is to provide an apparatus which ensures a cleaning and drying of the sheathed cable that exits from the oven whose quality is not inferior to that of known types of apparatus.
- Another object is to provide an apparatus which can be manufactured cheaply with known types of apparatus and technology.
- an apparatus for manufacturing electrical cables with sheathing made of silicone rubber and the like of the type which comprises, within a substantially longitudinally elongated catalysis oven, a tank for containing molten salts, an electrical cable sheathed in silicone rubber or the like being immersed in said salts so as to transit therein, said tank being provided with means for recirculating said molten salts, means for cleaning and drying the sheathed electrical cable being provided in output from said oven, said apparatus being characterized in that said recirculation means for the molten salts are constituted by a curved portion of said tank, said curved portion being adapted to redirect the molten salts entrained by the advancement of the cable immersed in said salts within the rectilinear portion of said tank toward a recirculation channel, which is adapted to guide the molten salts toward the initial part of said tank, in which the inlet of the electrical cable is located.
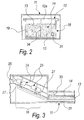
- an apparatus for manufacturing electrical cables with sheathing made of silicone rubber and the like according to the invention is generally designated by the reference numeral 10.
- the apparatus 10 comprises, inside a catalysis oven 11 which is substantially longitudinally elongated, a tank 12 for containing molten salts 13, inside which catalysis of the insulating material with which an electrical cable 14 is sheathed occurs.
- the tank 12 is provided with recirculation means for the molten salts 13.
- the salts 13 are in fact entrained by the advancement motion of the cable 14 toward the end of the tank 12 from which the cable 14 then exits.
- the recirculation means for the molten salts are constituted by a curved portion 17 of the tank 12.
- the curved portion 17 is adapted to redirect the molten salts 13, entrained as mentioned by the advancement of the cable 14 immersed therein, toward a recirculation channel 19, which is adapted to guide the molten salts 13 toward the initial part 20 of the tank 12.
- the part 20 is provided with an inlet 20a for the electrical cable 14, which arrives from the extrusion means, which have sheathed it with insulating material.
- the curved portion 17 of the tank 12 traces substantially a circular arc.
- the curved portion 17 traces an angle of 180°.
- the external wall 21 of the curved portion 17 lies along a circumference the diameter of which is substantially three times the transverse width of the rectilinear portion 18 of the tank 12.
- the internal wall 22 of the curved portion 17 lies on a circumference the diameter of which is substantially one third of the diameter related to the external wall 21 of the curved portion 17.
- the tank 12 is made of stainless steel.
- the tank 12 is closed by a cover 12a.
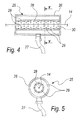
- the cleaning and drying means 16 are supported by a supporting frame 24 and are formed by two blowers 25.
- the sheathed electrical cable 14 that exits from the oven 11 and from the tank 12 passes within the blowers 25.
- Each blower 25 is constituted by an outer jacket 26, into which air is injected which arrives from an injection tube 27 functionally connected thereto.
- the electrical cable 14 passes axially through the tubular element 28.
- the cable 14 is cleaned and at least partially dried by the air pushed through the plurality of holes 29.
- the jacket 26 and the tubular element 28 rigidly coupled thereto are cylindrical and coaxial.
- the tubular element 28 is provided, on the side where the cable 14 enters, with an opening 30 toward the outside of the blower 25, so as to allow the exit of the grains of salt separated by the injected air.
- the holes 29 are arranged substantially along helical paths on the tubular element 28.
- the blowers 25 are arranged so that the electrical cable 14 passes through them, moving upward along an inclined path.
- the two blowers 25 are then arranged in series along a rising ramp of the supporting frame 24, so that the grains of salt that detach fall back toward the tank 12.
- the blowers 25 are fed with hot air (at approximately 180 °C) which arrives from a copper duct 31, which is immersed, over at least part of its length, in the molten salts.
- the duct 31 heats the air intended for the cleaning means 16, since it is connected to the blowers 25 by means of the injection tubes 27 described above.
- the tubes 27 are advantageously made of flexible material which can withstand temperatures up to 200 °C.
- the tubes 27 are made of Teflon.
- the cable 14 is immersed in the bath of molten salts 13, and by advancing at a very high speed (up to 400 meters per minute) entrains part of the salts 13 toward the curved portion 17.
- the wall 34 therefore separates the rectilinear portion 18 in which the cable 14 advances from the recirculation channel 19.
- the wall 34 ends at the part 20 of the tank 12 where the salts 13 encounter the new incoming cable 14.
- the present invention provides an apparatus for manufacturing electrical cables with sheathing made of silicone rubber and the like which is capable of redistributing and recirculating the molten salts no less effectively than known types of apparatus.
- the present invention provides an apparatus which allows to increase production speed and capacity.
- the present invention provides an apparatus which is far simpler and cheaper than known apparatuses and entails at the same time a saving both in terms of components and in terms of assembly and maintenance, as well as an extremely important energy saving.
- the present invention provides an apparatus which ensures a cleaning and drying of the sheathed cable that exits from the oven whose quality is not lower than that of known types of apparatus.
- the present invention provides an apparatus which can be manufactured cheaply with known types of equipment and technology.
- the materials employed may be any according to requirements and to the state of the art.
Landscapes
- Engineering & Computer Science (AREA)
- Manufacturing & Machinery (AREA)
- Insulating Bodies (AREA)
- Extrusion Moulding Of Plastics Or The Like (AREA)
- Manufacturing Of Electric Cables (AREA)
Applications Claiming Priority (1)
| Application Number | Priority Date | Filing Date | Title |
|---|---|---|---|
| ITPD20050005 ITPD20050005A1 (it) | 2005-01-13 | 2005-01-13 | Attrezzatua perfezionata per la realizzazione di cavi elettrici con rivestimento in gomma di silicone e simili |
Publications (2)
| Publication Number | Publication Date |
|---|---|
| EP1681684A2 true EP1681684A2 (de) | 2006-07-19 |
| EP1681684A3 EP1681684A3 (de) | 2007-06-13 |
Family
ID=36337667
Family Applications (1)
| Application Number | Title | Priority Date | Filing Date |
|---|---|---|---|
| EP06100053A Withdrawn EP1681684A3 (de) | 2005-01-13 | 2006-01-04 | Vorrichtung zur herstellung elektrische kabel mit einer umhullung von siliconkunststoffen und ahnlichen materialien |
Country Status (2)
| Country | Link |
|---|---|
| EP (1) | EP1681684A3 (de) |
| IT (1) | ITPD20050005A1 (de) |
Cited By (1)
| Publication number | Priority date | Publication date | Assignee | Title |
|---|---|---|---|---|
| CN106057360A (zh) * | 2016-07-27 | 2016-10-26 | 芜湖顺成电子有限公司 | 一种低烟无卤阻燃电线的制备方法 |
Citations (1)
| Publication number | Priority date | Publication date | Assignee | Title |
|---|---|---|---|---|
| ITPD20000232A1 (it) | 2000-10-06 | 2002-04-06 | Cet Eletric Srl | Struttura di forno particolarmente per la realizzazione di cavi elettrici in gomma di silicone o simile. |
Family Cites Families (2)
| Publication number | Priority date | Publication date | Assignee | Title |
|---|---|---|---|---|
| DE2204655C3 (de) * | 1972-01-28 | 1982-03-04 | Siemens AG, 1000 Berlin und 8000 München | Verfahren zur Herstellung von elektrischen Kabeln oder Leitungen mit einer Umhüllung und/oder Isolierung auf der Basis eines vernetzten Polyäthylens |
| ITPD20020118A1 (it) * | 2002-05-09 | 2003-11-10 | Cet Eletric Srl | Attrezzatura particolarmente per la realizzazione di cavi elettrici con rivestimento in gomma di silicone e simili |
-
2005
- 2005-01-13 IT ITPD20050005 patent/ITPD20050005A1/it unknown
-
2006
- 2006-01-04 EP EP06100053A patent/EP1681684A3/de not_active Withdrawn
Patent Citations (1)
| Publication number | Priority date | Publication date | Assignee | Title |
|---|---|---|---|---|
| ITPD20000232A1 (it) | 2000-10-06 | 2002-04-06 | Cet Eletric Srl | Struttura di forno particolarmente per la realizzazione di cavi elettrici in gomma di silicone o simile. |
Cited By (1)
| Publication number | Priority date | Publication date | Assignee | Title |
|---|---|---|---|---|
| CN106057360A (zh) * | 2016-07-27 | 2016-10-26 | 芜湖顺成电子有限公司 | 一种低烟无卤阻燃电线的制备方法 |
Also Published As
| Publication number | Publication date |
|---|---|
| ITPD20050005A1 (it) | 2006-07-14 |
| EP1681684A3 (de) | 2007-06-13 |
Similar Documents
| Publication | Publication Date | Title |
|---|---|---|
| US5310515A (en) | Process to cool and pelletize molten strands issuing from nozzles | |
| EA200201215A1 (ru) | Способ сушки лапши горячим воздухом и устройство для его осуществления | |
| FI127228B (fi) | Menetelmä lasilevyjen lämmittämiseksi ja lasinkarkaisu-uuni | |
| AU2007203180A1 (en) | Ohmic heating system with circulation by worm | |
| EP1681684A2 (de) | Vorrichtung zur herstellung elektrische kabel mit einer umhullung von siliconkunststoffen und ahnlichen materialien | |
| JPS58118224A (ja) | 重合材料チユ−ブの製造方法および製造装置 | |
| US2730761A (en) | Apparatus for producing reinforced tubing | |
| CN102529129A (zh) | 一种薄膜处理机 | |
| US3391548A (en) | Helical conveyor refrigeration apparatus | |
| CN108157565A (zh) | 一种糖葫芦自动加工装置 | |
| KR101839722B1 (ko) | 비철금속소재의 냉각 시스템 | |
| JP2018515376A (ja) | 細長い製品を製造するための方法および装置ならびに細長い製品 | |
| CN206326998U (zh) | 一种改善氟塑料印字不耐擦的生产设备 | |
| US2211490A (en) | Process and apparatus for simultaneously drying and conveying tubular products | |
| US3772491A (en) | Metal roller conveyor for microwave ovens | |
| CN107846969A (zh) | 用于干燥滤嘴棒的方法 | |
| US3669583A (en) | Apparatus for manufacturing spirals from threads of synthetic thermoplastics material | |
| US8282384B1 (en) | Continuous curing and post curing apparatus | |
| FI118822B (fi) | Laitteisto ja menetelmä mineraalivillaa olevan putkieristyskourun jatkuvaan valmistamiseen | |
| KR100762518B1 (ko) | 밴드원단 연신용 가열장치 및 포장용 밴드 생산방법 | |
| JP2010120275A (ja) | 紐状ゴムの加硫装置 | |
| KR101567912B1 (ko) | 파이프 코팅 방법 및 파이프 코팅 장치 | |
| CA3142907A1 (en) | Method and device for producing helical coils | |
| CH711222A2 (it) | Apparato e procedimento utilizzabili in campo alimentare per l'essiccazione di pasta fresca. | |
| CN118824636B (zh) | 一种漆包线涂漆装置 |
Legal Events
| Date | Code | Title | Description |
|---|---|---|---|
| PUAI | Public reference made under article 153(3) epc to a published international application that has entered the european phase |
Free format text: ORIGINAL CODE: 0009012 |
|
| AK | Designated contracting states |
Kind code of ref document: A2 Designated state(s): AT BE BG CH CY CZ DE DK EE ES FI FR GB GR HU IE IS IT LI LT LU LV MC NL PL PT RO SE SI SK TR |
|
| AX | Request for extension of the european patent |
Extension state: AL BA HR MK YU |
|
| PUAL | Search report despatched |
Free format text: ORIGINAL CODE: 0009013 |
|
| AK | Designated contracting states |
Kind code of ref document: A3 Designated state(s): AT BE BG CH CY CZ DE DK EE ES FI FR GB GR HU IE IS IT LI LT LU LV MC NL PL PT RO SE SI SK TR |
|
| AX | Request for extension of the european patent |
Extension state: AL BA HR MK YU |
|
| 17P | Request for examination filed |
Effective date: 20071130 |
|
| AKX | Designation fees paid |
Designated state(s): AT BE BG CH CY CZ DE DK EE ES FI FR GB GR HU IE IS IT LI LT LU LV MC NL PL PT RO SE SI SK TR |
|
| 17Q | First examination report despatched |
Effective date: 20080418 |
|
| R17C | First examination report despatched (corrected) |
Effective date: 20090713 |
|
| STAA | Information on the status of an ep patent application or granted ep patent |
Free format text: STATUS: THE APPLICATION IS DEEMED TO BE WITHDRAWN |
|
| 18D | Application deemed to be withdrawn |
Effective date: 20110801 |