EP1577019A3 - Dispositif de récupération d'un produit de revêtement contenu dans une canalisation - Google Patents
Dispositif de récupération d'un produit de revêtement contenu dans une canalisation Download PDFInfo
- Publication number
- EP1577019A3 EP1577019A3 EP05356049A EP05356049A EP1577019A3 EP 1577019 A3 EP1577019 A3 EP 1577019A3 EP 05356049 A EP05356049 A EP 05356049A EP 05356049 A EP05356049 A EP 05356049A EP 1577019 A3 EP1577019 A3 EP 1577019A3
- Authority
- EP
- European Patent Office
- Prior art keywords
- injection
- arrêt
- bloc
- racleur
- canalisation
- Prior art date
- Legal status (The legal status is an assumption and is not a legal conclusion. Google has not performed a legal analysis and makes no representation as to the accuracy of the status listed.)
- Withdrawn
Links
- 239000011248 coating agent Substances 0.000 title abstract 3
- 238000000576 coating method Methods 0.000 title abstract 3
- 238000011084 recovery Methods 0.000 title abstract 2
- 238000002347 injection Methods 0.000 abstract 7
- 239000007924 injection Substances 0.000 abstract 7
- 238000004140 cleaning Methods 0.000 abstract 3
- 239000012530 fluid Substances 0.000 abstract 3
- 238000011144 upstream manufacturing Methods 0.000 abstract 2
- 238000006073 displacement reaction Methods 0.000 abstract 1
Classifications
-
- B—PERFORMING OPERATIONS; TRANSPORTING
- B05—SPRAYING OR ATOMISING IN GENERAL; APPLYING FLUENT MATERIALS TO SURFACES, IN GENERAL
- B05B—SPRAYING APPARATUS; ATOMISING APPARATUS; NOZZLES
- B05B12/00—Arrangements for controlling delivery; Arrangements for controlling the spray area
- B05B12/14—Arrangements for controlling delivery; Arrangements for controlling the spray area for supplying a selected one of a plurality of liquids or other fluent materials or several in selected proportions to a spray apparatus, e.g. to a single spray outlet
- B05B12/149—Arrangements for controlling delivery; Arrangements for controlling the spray area for supplying a selected one of a plurality of liquids or other fluent materials or several in selected proportions to a spray apparatus, e.g. to a single spray outlet characterised by colour change manifolds or valves therefor
-
- B—PERFORMING OPERATIONS; TRANSPORTING
- B05—SPRAYING OR ATOMISING IN GENERAL; APPLYING FLUENT MATERIALS TO SURFACES, IN GENERAL
- B05B—SPRAYING APPARATUS; ATOMISING APPARATUS; NOZZLES
- B05B12/00—Arrangements for controlling delivery; Arrangements for controlling the spray area
- B05B12/14—Arrangements for controlling delivery; Arrangements for controlling the spray area for supplying a selected one of a plurality of liquids or other fluent materials or several in selected proportions to a spray apparatus, e.g. to a single spray outlet
-
- B—PERFORMING OPERATIONS; TRANSPORTING
- B05—SPRAYING OR ATOMISING IN GENERAL; APPLYING FLUENT MATERIALS TO SURFACES, IN GENERAL
- B05B—SPRAYING APPARATUS; ATOMISING APPARATUS; NOZZLES
- B05B12/00—Arrangements for controlling delivery; Arrangements for controlling the spray area
- B05B12/14—Arrangements for controlling delivery; Arrangements for controlling the spray area for supplying a selected one of a plurality of liquids or other fluent materials or several in selected proportions to a spray apparatus, e.g. to a single spray outlet
- B05B12/1481—Arrangements for controlling delivery; Arrangements for controlling the spray area for supplying a selected one of a plurality of liquids or other fluent materials or several in selected proportions to a spray apparatus, e.g. to a single spray outlet comprising pigs, i.e. movable elements sealingly received in supply pipes, for separating different fluids, e.g. liquid coating materials from solvent or air
-
- B—PERFORMING OPERATIONS; TRANSPORTING
- B05—SPRAYING OR ATOMISING IN GENERAL; APPLYING FLUENT MATERIALS TO SURFACES, IN GENERAL
- B05B—SPRAYING APPARATUS; ATOMISING APPARATUS; NOZZLES
- B05B5/00—Electrostatic spraying apparatus; Spraying apparatus with means for charging the spray electrically; Apparatus for spraying liquids or other fluent materials by other electric means
- B05B5/16—Arrangements for supplying liquids or other fluent material
- B05B5/1608—Arrangements for supplying liquids or other fluent material the liquid or other fluent material being electrically conductive
- B05B5/1616—Arrangements for supplying liquids or other fluent material the liquid or other fluent material being electrically conductive and the arrangement comprising means for insulating a grounded material source from high voltage applied to the material
Landscapes
- Details Or Accessories Of Spraying Plant Or Apparatus (AREA)
- Spray Control Apparatus (AREA)
- Coating Apparatus (AREA)
Abstract
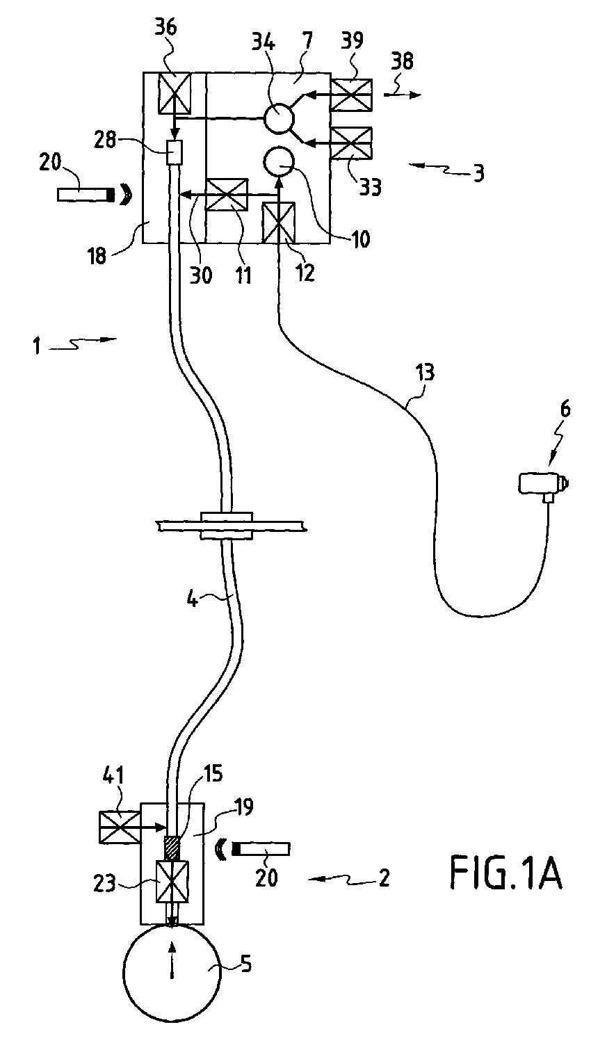
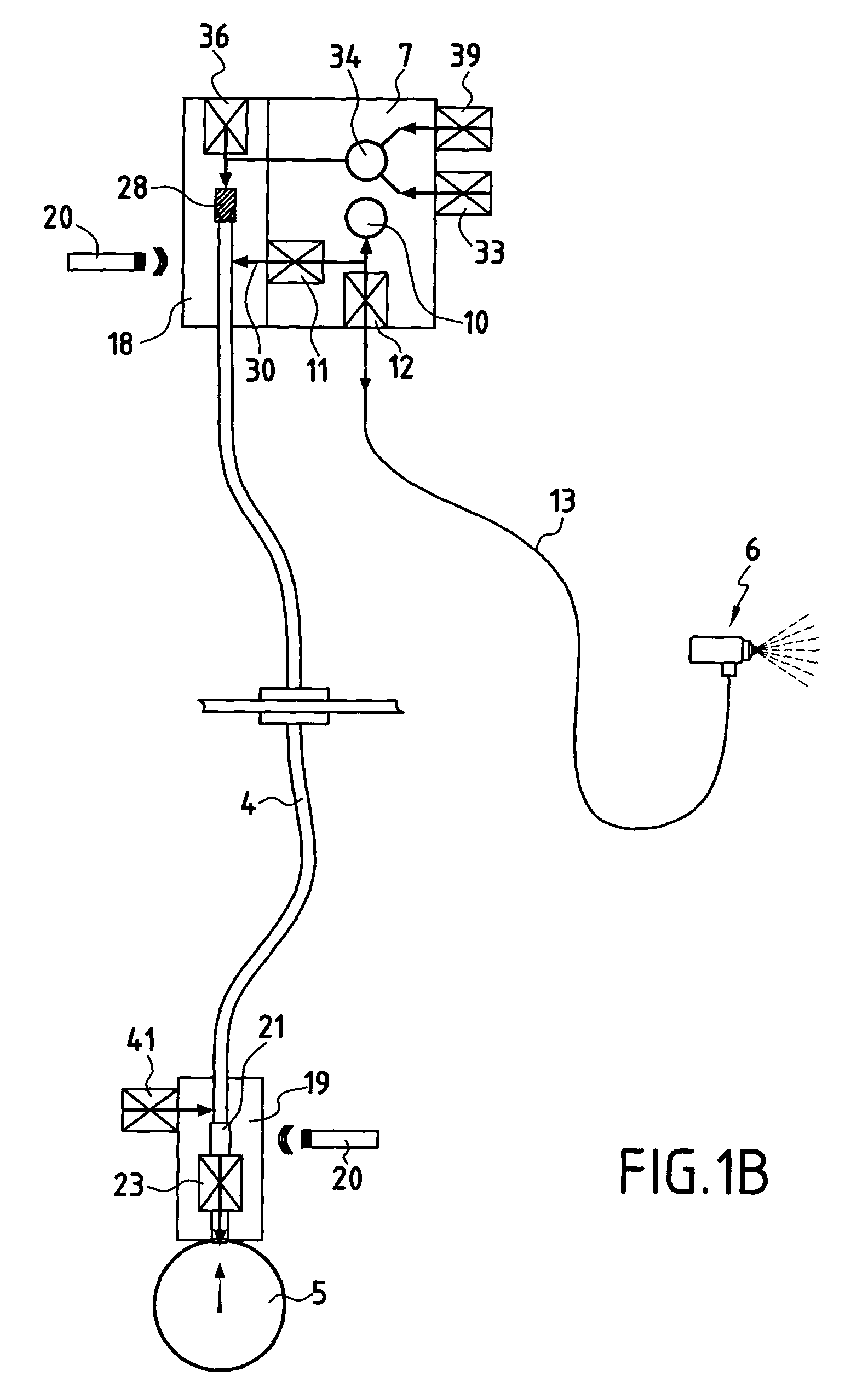
- au moins un racleur (15) disposé à l'intérieur de la canalisation (4),
- un bloc dit aval d'arrêt (18) pour racleur sur lequel est montée l'extrémité de la canalisation voisine des moyens d'injection,
- un bloc dit amont d'arrêt (19) pour racleur sur lequel est montée l'autre extrémité de la canalisation,
- des moyens d'injection d'un fluide de nettoyage à l'intérieur de la canalisation à partir du logement du bloc d'arrêt aval de manière à assurer le déplacement du racleur à l'intérieur de la canalisation du bloc d'arrêt aval jusqu'au bloc d'arrêt amont,
- et des moyens de commande de l'obturateur (23) et des moyens d'injection du fluide de nettoyage en vue d'assurer l'injection du fluide de nettoyage à partir du bloc d'arrêt aval (18) et la récupération dans la conduite principale (5), du produit de revêtement déplacé par le racleur (15).
Applications Claiming Priority (2)
| Application Number | Priority Date | Filing Date | Title |
|---|---|---|---|
| FR0402865A FR2867702A1 (fr) | 2004-03-19 | 2004-03-19 | Dispositif de recuperation d'un produit de revetement contenu dans une canalisation |
| FR0402865 | 2004-03-19 |
Publications (2)
| Publication Number | Publication Date |
|---|---|
| EP1577019A2 EP1577019A2 (fr) | 2005-09-21 |
| EP1577019A3 true EP1577019A3 (fr) | 2006-01-11 |
Family
ID=34834202
Family Applications (1)
| Application Number | Title | Priority Date | Filing Date |
|---|---|---|---|
| EP05356049A Withdrawn EP1577019A3 (fr) | 2004-03-19 | 2005-03-18 | Dispositif de récupération d'un produit de revêtement contenu dans une canalisation |
Country Status (2)
| Country | Link |
|---|---|
| EP (1) | EP1577019A3 (fr) |
| FR (1) | FR2867702A1 (fr) |
Families Citing this family (2)
| Publication number | Priority date | Publication date | Assignee | Title |
|---|---|---|---|---|
| DE102013007694A1 (de) | 2013-05-03 | 2014-11-06 | Eisenmann Ag | Wechseleinrichtung für Beschichtungsmedien und Beschichtungssystem zum Beschichten von Gegenständen |
| FR3087361A1 (fr) * | 2018-10-19 | 2020-04-24 | Exel Industries | Procede de projection d'un fluide |
Citations (4)
| Publication number | Priority date | Publication date | Assignee | Title |
|---|---|---|---|---|
| EP0904848A1 (fr) * | 1997-09-26 | 1999-03-31 | Dürr Systems GmbH | Procédé et installation de revêtement d'objets en série |
| US6090450A (en) * | 1998-02-13 | 2000-07-18 | Lactec Gmbh Gesellschaft Fuer Moderne Lackiertechnik | Method and apparatus for spray coating a workpiece |
| EP1362641A1 (fr) * | 2002-05-07 | 2003-11-19 | Dürr Systems GmbH | Méthode et appareil pour délivrer de la peinture à un applicateur et pour le nettoyer |
| WO2004009247A1 (fr) * | 2002-07-20 | 2004-01-29 | Eisenmann Lacktechnik Gmbh & Co. Kg | Procede permettant d'alimenter un dispositif d'application de peinture en peinture |
-
2004
- 2004-03-19 FR FR0402865A patent/FR2867702A1/fr not_active Withdrawn
-
2005
- 2005-03-18 EP EP05356049A patent/EP1577019A3/fr not_active Withdrawn
Patent Citations (4)
| Publication number | Priority date | Publication date | Assignee | Title |
|---|---|---|---|---|
| EP0904848A1 (fr) * | 1997-09-26 | 1999-03-31 | Dürr Systems GmbH | Procédé et installation de revêtement d'objets en série |
| US6090450A (en) * | 1998-02-13 | 2000-07-18 | Lactec Gmbh Gesellschaft Fuer Moderne Lackiertechnik | Method and apparatus for spray coating a workpiece |
| EP1362641A1 (fr) * | 2002-05-07 | 2003-11-19 | Dürr Systems GmbH | Méthode et appareil pour délivrer de la peinture à un applicateur et pour le nettoyer |
| WO2004009247A1 (fr) * | 2002-07-20 | 2004-01-29 | Eisenmann Lacktechnik Gmbh & Co. Kg | Procede permettant d'alimenter un dispositif d'application de peinture en peinture |
Also Published As
| Publication number | Publication date |
|---|---|
| EP1577019A2 (fr) | 2005-09-21 |
| FR2867702A1 (fr) | 2005-09-23 |
Similar Documents
| Publication | Publication Date | Title |
|---|---|---|
| EA200702519A1 (ru) | Устройство и способ извлечения обломков из скважины | |
| FR2872544B1 (fr) | Procede de gestion d'un catalyseur utilise pour nettoyer les gaz d'echappement d'un moteur a combustion interne et dispositif pour la mise en oeuvre du procede | |
| AU2011255708B2 (en) | Pig launcher | |
| EP1905590A3 (fr) | Dispositif d'injection de fluide | |
| NO339082B1 (no) | Fremgangsmåte for kombinert rengjøring og plugging i en brønn | |
| NO315989B1 (no) | Anordning og fremgangsmåte for fjerning av sand fra en brönn | |
| EA010079B1 (ru) | Толкаемый скребок | |
| EA200970032A1 (ru) | Системы и способы для измерения отвода текучей среды | |
| EP1577019A3 (fr) | Dispositif de récupération d'un produit de revêtement contenu dans une canalisation | |
| FR2896012B1 (fr) | Dispositif anti-usure pour pivot de guidage d'aube a angle de calage variable de compresseur de turbomachine | |
| WO2009109790A3 (fr) | Buse | |
| EA200400528A1 (ru) | Газовая турбина для подъёма нефти | |
| RU2590548C1 (ru) | Способ очистки трубопровода (варианты) и устройство для его осуществления | |
| FR2802970A1 (fr) | Dispositif d'alimentation hydraulique d'un appareil de forage roto-percutant | |
| RU85939U1 (ru) | Цементировочная головка | |
| EP1861581B1 (fr) | Dispositif pour le nettoyage d'un separateur de conduites | |
| RU2341648C1 (ru) | Циркуляционная обвязка для сооружения гравийного фильтра в скважине | |
| ATE335552T1 (de) | Einrichtung zum reinigen einer hauptrohrleitung mittels eines molches | |
| FR2900441B1 (fr) | Dispositif d'injection d'un agent reducteur dans un conduit d'echappement | |
| TWM331613U (en) | The high pressure stirring type grease injector | |
| RU47472U1 (ru) | Регулирующий клапан | |
| RU2324550C1 (ru) | Устройство для очистки внутренней поверхности трубопровода | |
| RU2004115666A (ru) | Устройство для измерения дебита продукции нефтедобывающих скважин | |
| RU2280850C1 (ru) | Устройство для отбора проб из трубопровода | |
| RU64311U1 (ru) | Односедельный запорный нормально закрытый клапан с приводом принудительного открытия |
Legal Events
| Date | Code | Title | Description |
|---|---|---|---|
| PUAI | Public reference made under article 153(3) epc to a published international application that has entered the european phase |
Free format text: ORIGINAL CODE: 0009012 |
|
| AK | Designated contracting states |
Kind code of ref document: A2 Designated state(s): AT BE BG CH CY CZ DE DK EE ES FI FR GB GR HU IE IS IT LI LT LU MC NL PL PT RO SE SI SK TR |
|
| AX | Request for extension of the european patent |
Extension state: AL BA HR LV MK YU |
|
| PUAL | Search report despatched |
Free format text: ORIGINAL CODE: 0009013 |
|
| AK | Designated contracting states |
Kind code of ref document: A3 Designated state(s): AT BE BG CH CY CZ DE DK EE ES FI FR GB GR HU IE IS IT LI LT LU MC NL PL PT RO SE SI SK TR |
|
| AX | Request for extension of the european patent |
Extension state: AL BA HR LV MK YU |
|
| RIC1 | Information provided on ipc code assigned before grant |
Ipc: B05B 12/14 19800101ALI20051123BHEP Ipc: B05B 15/04 19680901ALI20051123BHEP Ipc: B05B 5/16 19900101AFI20051123BHEP |
|
| AKX | Designation fees paid | ||
| REG | Reference to a national code |
Ref country code: DE Ref legal event code: 8566 |
|
| STAA | Information on the status of an ep patent application or granted ep patent |
Free format text: STATUS: THE APPLICATION IS DEEMED TO BE WITHDRAWN |
|
| 18D | Application deemed to be withdrawn |
Effective date: 20060712 |

