EP1298071A1 - Odour delivery system for food products - Google Patents
Odour delivery system for food products Download PDFInfo
- Publication number
- EP1298071A1 EP1298071A1 EP01122984A EP01122984A EP1298071A1 EP 1298071 A1 EP1298071 A1 EP 1298071A1 EP 01122984 A EP01122984 A EP 01122984A EP 01122984 A EP01122984 A EP 01122984A EP 1298071 A1 EP1298071 A1 EP 1298071A1
- Authority
- EP
- European Patent Office
- Prior art keywords
- odourant
- composition
- food
- insert
- food package
- Prior art date
- Legal status (The legal status is an assumption and is not a legal conclusion. Google has not performed a legal analysis and makes no representation as to the accuracy of the status listed.)
- Withdrawn
Links
- 235000013305 food Nutrition 0.000 title claims abstract description 67
- 239000000203 mixture Substances 0.000 claims abstract description 54
- 239000003205 fragrance Substances 0.000 claims abstract description 52
- 239000011159 matrix material Substances 0.000 claims description 14
- 239000000463 material Substances 0.000 claims description 8
- 239000000796 flavoring agent Substances 0.000 claims description 6
- 239000004743 Polypropylene Substances 0.000 claims description 5
- 235000019634 flavors Nutrition 0.000 claims description 5
- 238000000034 method Methods 0.000 claims description 5
- 239000004033 plastic Substances 0.000 claims description 5
- 229920003023 plastic Polymers 0.000 claims description 5
- 229920000515 polycarbonate Polymers 0.000 claims description 5
- 239000003995 emulsifying agent Substances 0.000 claims description 4
- 239000004417 polycarbonate Substances 0.000 claims description 4
- 239000002243 precursor Substances 0.000 claims description 4
- 239000003925 fat Substances 0.000 claims description 2
- 229920000592 inorganic polymer Polymers 0.000 claims description 2
- 229920001206 natural gum Polymers 0.000 claims description 2
- 229920005615 natural polymer Polymers 0.000 claims description 2
- 229920000379 polypropylene carbonate Polymers 0.000 claims description 2
- 239000001993 wax Substances 0.000 claims description 2
- 238000003860 storage Methods 0.000 abstract description 3
- -1 polypropylene Polymers 0.000 description 5
- 235000015067 sauces Nutrition 0.000 description 5
- 241000227653 Lycopersicon Species 0.000 description 4
- 235000007688 Lycopersicon esculentum Nutrition 0.000 description 4
- 235000014113 dietary fatty acids Nutrition 0.000 description 4
- 239000000194 fatty acid Substances 0.000 description 4
- 229930195729 fatty acid Natural products 0.000 description 4
- 150000004665 fatty acids Chemical class 0.000 description 4
- 238000002844 melting Methods 0.000 description 4
- 230000008018 melting Effects 0.000 description 4
- 238000001816 cooling Methods 0.000 description 3
- 239000007789 gas Substances 0.000 description 3
- XKRFYHLGVUSROY-UHFFFAOYSA-N Argon Chemical compound [Ar] XKRFYHLGVUSROY-UHFFFAOYSA-N 0.000 description 2
- 241000640882 Condea Species 0.000 description 2
- 238000005429 filling process Methods 0.000 description 2
- 238000012858 packaging process Methods 0.000 description 2
- 238000012856 packing Methods 0.000 description 2
- 229920001155 polypropylene Polymers 0.000 description 2
- 239000007787 solid Substances 0.000 description 2
- JNYAEWCLZODPBN-JGWLITMVSA-N (2r,3r,4s)-2-[(1r)-1,2-dihydroxyethyl]oxolane-3,4-diol Chemical class OC[C@@H](O)[C@H]1OC[C@H](O)[C@H]1O JNYAEWCLZODPBN-JGWLITMVSA-N 0.000 description 1
- IIZPXYDJLKNOIY-JXPKJXOSSA-N 1-palmitoyl-2-arachidonoyl-sn-glycero-3-phosphocholine Chemical compound CCCCCCCCCCCCCCCC(=O)OC[C@H](COP([O-])(=O)OCC[N+](C)(C)C)OC(=O)CCC\C=C/C\C=C/C\C=C/C\C=C/CCCCC IIZPXYDJLKNOIY-JXPKJXOSSA-N 0.000 description 1
- LFQSCWFLJHTTHZ-UHFFFAOYSA-N Ethanol Chemical compound CCO LFQSCWFLJHTTHZ-UHFFFAOYSA-N 0.000 description 1
- 235000019501 Lemon oil Nutrition 0.000 description 1
- 239000004425 Makrolon Substances 0.000 description 1
- 235000019502 Orange oil Nutrition 0.000 description 1
- 239000004698 Polyethylene Substances 0.000 description 1
- 241001291279 Solanum galapagense Species 0.000 description 1
- 150000001299 aldehydes Chemical class 0.000 description 1
- 229910052786 argon Inorganic materials 0.000 description 1
- 235000008452 baby food Nutrition 0.000 description 1
- 235000013871 bee wax Nutrition 0.000 description 1
- 239000012166 beeswax Substances 0.000 description 1
- 239000004203 carnauba wax Substances 0.000 description 1
- 235000013869 carnauba wax Nutrition 0.000 description 1
- 239000007766 cera flava Substances 0.000 description 1
- 230000000052 comparative effect Effects 0.000 description 1
- 238000013270 controlled release Methods 0.000 description 1
- 238000007865 diluting Methods 0.000 description 1
- 150000002148 esters Chemical class 0.000 description 1
- 238000011156 evaluation Methods 0.000 description 1
- 235000019197 fats Nutrition 0.000 description 1
- 230000002349 favourable effect Effects 0.000 description 1
- 239000011521 glass Substances 0.000 description 1
- 239000003292 glue Substances 0.000 description 1
- 239000010651 grapefruit oil Substances 0.000 description 1
- 229920001519 homopolymer Polymers 0.000 description 1
- 230000002209 hydrophobic effect Effects 0.000 description 1
- 239000011261 inert gas Substances 0.000 description 1
- 150000002576 ketones Chemical class 0.000 description 1
- 150000002596 lactones Chemical class 0.000 description 1
- 239000000787 lecithin Substances 0.000 description 1
- 235000010445 lecithin Nutrition 0.000 description 1
- 229940067606 lecithin Drugs 0.000 description 1
- 239000010501 lemon oil Substances 0.000 description 1
- 239000007788 liquid Substances 0.000 description 1
- 238000004519 manufacturing process Methods 0.000 description 1
- 235000013622 meat product Nutrition 0.000 description 1
- 239000002184 metal Substances 0.000 description 1
- 238000002156 mixing Methods 0.000 description 1
- 239000010502 orange oil Substances 0.000 description 1
- 150000007524 organic acids Chemical class 0.000 description 1
- 238000004806 packaging method and process Methods 0.000 description 1
- 239000000546 pharmaceutical excipient Substances 0.000 description 1
- 229920000573 polyethylene Polymers 0.000 description 1
- 239000005020 polyethylene terephthalate Substances 0.000 description 1
- 229920000139 polyethylene terephthalate Polymers 0.000 description 1
- 229920001343 polytetrafluoroethylene Polymers 0.000 description 1
- 229920000915 polyvinyl chloride Polymers 0.000 description 1
- 239000004800 polyvinyl chloride Substances 0.000 description 1
- 238000002360 preparation method Methods 0.000 description 1
- 239000003755 preservative agent Substances 0.000 description 1
- 238000012545 processing Methods 0.000 description 1
- 238000003756 stirring Methods 0.000 description 1
- 239000001959 sucrose esters of fatty acids Substances 0.000 description 1
- 235000010965 sucrose esters of fatty acids Nutrition 0.000 description 1
- 238000012360 testing method Methods 0.000 description 1
- 235000019871 vegetable fat Nutrition 0.000 description 1
- 239000000341 volatile oil Substances 0.000 description 1
- XLYOFNOQVPJJNP-UHFFFAOYSA-N water Substances O XLYOFNOQVPJJNP-UHFFFAOYSA-N 0.000 description 1
Images
Classifications
-
- B—PERFORMING OPERATIONS; TRANSPORTING
- B65—CONVEYING; PACKING; STORING; HANDLING THIN OR FILAMENTARY MATERIAL
- B65D—CONTAINERS FOR STORAGE OR TRANSPORT OF ARTICLES OR MATERIALS, e.g. BAGS, BARRELS, BOTTLES, BOXES, CANS, CARTONS, CRATES, DRUMS, JARS, TANKS, HOPPERS, FORWARDING CONTAINERS; ACCESSORIES, CLOSURES, OR FITTINGS THEREFOR; PACKAGING ELEMENTS; PACKAGES
- B65D81/00—Containers, packaging elements, or packages, for contents presenting particular transport or storage problems, or adapted to be used for non-packaging purposes after removal of contents
- B65D81/18—Containers, packaging elements, or packages, for contents presenting particular transport or storage problems, or adapted to be used for non-packaging purposes after removal of contents providing specific environment for contents, e.g. temperature above or below ambient
- B65D81/20—Containers, packaging elements, or packages, for contents presenting particular transport or storage problems, or adapted to be used for non-packaging purposes after removal of contents providing specific environment for contents, e.g. temperature above or below ambient under vacuum or superatmospheric pressure, or in a special atmosphere, e.g. of inert gas
- B65D81/2069—Containers, packaging elements, or packages, for contents presenting particular transport or storage problems, or adapted to be used for non-packaging purposes after removal of contents providing specific environment for contents, e.g. temperature above or below ambient under vacuum or superatmospheric pressure, or in a special atmosphere, e.g. of inert gas in a special atmosphere
-
- B—PERFORMING OPERATIONS; TRANSPORTING
- B65—CONVEYING; PACKING; STORING; HANDLING THIN OR FILAMENTARY MATERIAL
- B65D—CONTAINERS FOR STORAGE OR TRANSPORT OF ARTICLES OR MATERIALS, e.g. BAGS, BARRELS, BOTTLES, BOXES, CANS, CARTONS, CRATES, DRUMS, JARS, TANKS, HOPPERS, FORWARDING CONTAINERS; ACCESSORIES, CLOSURES, OR FITTINGS THEREFOR; PACKAGING ELEMENTS; PACKAGES
- B65D51/00—Closures not otherwise provided for
- B65D51/24—Closures not otherwise provided for combined or co-operating with auxiliary devices for non-closing purposes
- B65D51/28—Closures not otherwise provided for combined or co-operating with auxiliary devices for non-closing purposes with auxiliary containers for additional articles or materials
Definitions
- the present invention relates to a food package comprising a food product and an odourant composition for aromatizing the headspace.
- Manufacturers of food products are interested in aromatizing their products to enhance a desirable aroma or increase the smell of freshness and to stress the uniqueness of the food product to give the customer the impression of receiving a fresh product when opening the food package.
- a system for aromatizing a headspace of a food package is disclosed in EP 0 706 944.
- the aroma, dissolved in a liquid food-acceptable gas, is introduced under pressure into the headspace of a package containing a food product during the gas packaging of the food product.
- Another system for aromatizing a headspace of a food package is disclosed in EP 0 814 023.
- a noble or inert gas such as Argon mixed with a food acceptable aroma is introduced into the headspace of a food package to impart a desirable aroma and increase the smell of freshness on opening the package.
- a gas packing machine is necessary to inject the aroma into the food package, which adds to process complexity and process costs.
- there may be a risk that the aroma in the headspace will be absorbed by the food product during prolonged periods of storage and almost no aroma will be present in the headspace when the package is opened by the user.
- the present invention provides a system overcoming the above mentioned disadvantages.
- the invention in a first aspect relates to a food package comprising a food product, and an odourant composition placed in the headspace of the package and covered by an insert, said insert defining a cavity containing said odourant composition and said cavity having outlet means to release the aroma of said odourant composition into the headspace.
- the odourant composition which is placed in the headspace of the food package is in equilibrium with the aroma in the headspace. Accordingly, should any aroma in the headspace be absorbed by the food product, odourant composition continuously replenishes the headspace with aroma.
- the insert containing the odourant composition is preferably fixed to the inner surface of the lid of the food package. Because a direct contact between the insert and the food product can not be avoided, e.g. during transportation, only materials that are permitted as packing materials with direct food contact should be used, for example food grade plastics, glass or metal.
- the insert according to the invention is made of a rigid material, preferably a material that does not interact with, or is attached or modified by, the food product.
- Preferred materials having the aforementioned properties are, for example polypropylene, polycarbonate, polyethylene, polyethylene terephthalate, polyvinyl chloride, and polytetrafluorethylene. Most preferred are polypropylene and polycarbonate.
- Typical examples are Apec (Bayer), Makrolon (Bayer), Homopolymer PP (British Petrol), or Dow PolyPropylene (Dow). These materials are stable at processing temperatures up to about 120°C, that are commonly used in the food industry for the packaging process of e.g. tomato sauce, baby food, marmalade, or pet food.
- the odourant composition comprises a food-acceptable aroma which may be selected from a flavour, a fragrance, a precursor of a flavour, a precursor of a fragrance, or a mixture thereof, for example any essential oil, alcohol, aldehyde, organic acid, lactone or ketone, disclosed in E. Ziegler, H. Ziegler (Eds.), Flavourings, Wiley-WCH, Weinheim 1998, which is incorporated herein by reference.
- the aroma is of natural origin, for example lemon oil, grapefruit oil, or orange oil , and is preferably volatile.
- the aroma might be similar to that of the food product in the package, e.g. a meaty aroma for a meat product, or is different from that of the food product, e.g. fresh tomato aroma for a bolognese sauce.
- the odourant composition comprises a food-acceptable aroma and a matrix material.
- the matrix material according to the present invention can be any material capable of dissolving, diluting, absorbing, adsorbing and dispensing the aroma.
- the matrix material is used for preparing an controlled release odourant composition.
- the matrix material is preferably solid at room temperature.
- a matrix material having a melting point above the filling process temperature to avoid mixing matrix material with the food product during the filling process
- a matrix material with a melting point from about 40°C to about 80°C adheres much better to the plastic insert and therefore emitting of the odourant composition into the food product during the storage and transportation of the food package can be avoided.
- the melting of the odourant composition during the packaging process results in a better release of the aroma into the headspace.
- hydrophobic matrix material is used which is not soluble in food products consisting of a high amount of water.
- Suitable matrix materials may be selected from edible fats, waxes, natural gums, natural polymers, inorganic polymers or mixtures thereof. Typical examples are Witocan (Condea), Sett (Grünau), Beeswax Cera Flava (Kahl Waxrefinery, and Carnauba wax (Kahl Waxrefinery).
- the odourant composition according to the present invention comprises up to 99.9% by weight of the matrix material, preferably from 70% to 90% by weight.
- the odourant composition comprises an emulsifier, for example mono- and di-glycerides of fatty acids, mono- and di-glyceride esters of fatty acids, sucrose esters of fatty acids, polyglycerine esters of fatty acids, sorbitan esters of fatty acids, and lecithin.
- an emulsifier for example mono- and di-glycerides of fatty acids, mono- and di-glyceride esters of fatty acids, sucrose esters of fatty acids, polyglycerine esters of fatty acids, sorbitan esters of fatty acids, and lecithin.
- the odourant composition according to the present invention comprises up to 30% by weight of the emulsifier, preferably from 0.5% to 5% by weight.
- excipients optionally present in the odourant composition may be selected from colourant and preservatives.
- the present invention refers to a food package comprising an odourant composition placed in the headspace of the package and covered by an insert, said insert defining a cavity containing said odourant composition and said cavity having outlet means to release the aroma, and a method of making such a food package.
- the present invention provides to a method of providing a food package comprising
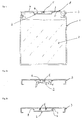
- Figure 1 shows a cross section of a food package consisting of a container (1) comprising a food product (7) and the insert (2) fixed with a projection portion (5) to the lid (3) defining a cavity (6) comprising the odourant composition (not shown in the drawing).
- the aroma of the odourant composition releases through the outlet means (4) into the headspace (8).
- Figure 2a shows a cross section of the insert (2) fixed with a projection portion (5) to the inner surface of the lid (3) defining a cavity (6) comprising the odourant composition (not shown in the drawing).
- the outlet means (4') allowing egress of the aroma of the odourant composition.
- the outlet means (4) allowing egress of the aroma of the odourant composition are formed by fixing the projection portions (5), which are slightly raised (up to 5mm, preferable from about 0.1mm to about 2.0mm) with respect to the raised edges (9), to the inner surface of the lid (3).
- Figure 3a shows a cross section of a container (1) comprising the food product (7) and a cross section of the insert (2) fixed with the projection portion (5) to the lid (3') comprising the odourant composition (10).
- Figure 3b shows a cross section of the closed food package, filled with a heated food product after it has cooled down to ambient temperature. Because of the under-pressure in the headspace after the cooling process outlet means (4) allowing egress of the aroma of the odourant composition are formed as an result of the insert being urged away from the surface of the lid in the direction of the headspace.
- Example 1 Preparation of an odourant composition
- the odourant composition was prepared by melting 10g of vegetable fat (Witocan 42/44 from Condea) in a beaker on a hot plate. Six grams of a tomato aroma (Tomato Flavour 510836 E from Givaudan) was added under stirring with a magnetic stirrer.
- Example 2 Evaluation of the odourant composition use in a food package
- a molten odourant composition, prepared according to Example 1 was applied to a plastic insert made of polycarbonate. After cooling down until the composition became solid, the insert was fixed with a glue to the inner side of the lid (Schmalbach-Lubeca White Cap). Three jars were filled with hot (90°C) Bolognese sauce and closed with the lid. After cooling down of the closed jars to ambient temperature they were turned up-side down so that the sauce covered the insert containing the odourant composition completely. The jars were stored for 3 days in up-side down position at room temperature. Then they were turned to upright position and stored for 4 hours / 1 week /4 weeks at room temperature.
Landscapes
- Engineering & Computer Science (AREA)
- Mechanical Engineering (AREA)
- Packging For Living Organisms, Food Or Medicinal Products That Are Sensitive To Environmental Conditiond (AREA)
- Closures For Containers (AREA)
Abstract
Description
- The present invention relates to a food package comprising a food product and an odourant composition for aromatizing the headspace.
- Manufacturers of food products are interested in aromatizing their products to enhance a desirable aroma or increase the smell of freshness and to stress the uniqueness of the food product to give the customer the impression of receiving a fresh product when opening the food package.
- A system for aromatizing a headspace of a food package is disclosed in EP 0 706 944. The aroma, dissolved in a liquid food-acceptable gas, is introduced under pressure into the headspace of a package containing a food product during the gas packaging of the food product. Another system for aromatizing a headspace of a food package is disclosed in EP 0 814 023. In this system a noble or inert gas such as Argon mixed with a food acceptable aroma is introduced into the headspace of a food package to impart a desirable aroma and increase the smell of freshness on opening the package. For both systems a gas packing machine is necessary to inject the aroma into the food package, which adds to process complexity and process costs. Furthermore, there may be a risk that the aroma in the headspace will be absorbed by the food product during prolonged periods of storage and almost no aroma will be present in the headspace when the package is opened by the user.
- The present invention provides a system overcoming the above mentioned disadvantages.
- In a first aspect the invention relates to a food package comprising a food product, and an odourant composition placed in the headspace of the package and covered by an insert, said insert defining a cavity containing said odourant composition and said cavity having outlet means to release the aroma of said odourant composition into the headspace.
- The odourant composition which is placed in the headspace of the food package is in equilibrium with the aroma in the headspace. Accordingly, should any aroma in the headspace be absorbed by the food product, odourant composition continuously replenishes the headspace with aroma.
- The insert containing the odourant composition is preferably fixed to the inner surface of the lid of the food package. Because a direct contact between the insert and the food product can not be avoided, e.g. during transportation, only materials that are permitted as packing materials with direct food contact should be used, for example food grade plastics, glass or metal. The insert according to the invention is made of a rigid material, preferably a material that does not interact with, or is attached or modified by, the food product. Preferred materials having the aforementioned properties are, for example polypropylene, polycarbonate, polyethylene, polyethylene terephthalate, polyvinyl chloride, and polytetrafluorethylene. Most preferred are polypropylene and polycarbonate. Typical examples are Apec (Bayer), Makrolon (Bayer), Homopolymer PP (British Petrol), or Dow PolyPropylene (Dow). These materials are stable at processing temperatures up to about 120°C, that are commonly used in the food industry for the packaging process of e.g. tomato sauce, baby food, marmalade, or pet food.
- The odourant composition comprises a food-acceptable aroma which may be selected from a flavour, a fragrance, a precursor of a flavour, a precursor of a fragrance, or a mixture thereof, for example any essential oil, alcohol, aldehyde, organic acid, lactone or ketone, disclosed in E. Ziegler, H. Ziegler (Eds.), Flavourings, Wiley-WCH, Weinheim 1998, which is incorporated herein by reference. Preferably the aroma is of natural origin, for example lemon oil, grapefruit oil, or orange oil , and is preferably volatile. The aroma might be similar to that of the food product in the package, e.g. a meaty aroma for a meat product, or is different from that of the food product, e.g. fresh tomato aroma for a bolognese sauce.
- In a preferred embodiment the odourant composition comprises a food-acceptable aroma and a matrix material. The matrix material according to the present invention can be any material capable of dissolving, diluting, absorbing, adsorbing and dispensing the aroma. In particular the matrix material is used for preparing an controlled release odourant composition. The matrix material is preferably solid at room temperature. Although, it is preferred to use a matrix material having a melting point above the filling process temperature to avoid mixing matrix material with the food product during the filling process, we have surprisingly found that a matrix material with a melting point from about 40°C to about 80°C adheres much better to the plastic insert and therefore emitting of the odourant composition into the food product during the storage and transportation of the food package can be avoided. In addition, the melting of the odourant composition during the packaging process results in a better release of the aroma into the headspace. For the reasons mentioned above one has to strike a balance between the favourable characteristics mentioned above and the undesirable feature of emitting matrix material to the food product. Preferably hydrophobic matrix material is used which is not soluble in food products consisting of a high amount of water. Suitable matrix materials may be selected from edible fats, waxes, natural gums, natural polymers, inorganic polymers or mixtures thereof. Typical examples are Witocan (Condea), Sett (Grünau), Beeswax Cera Flava (Kahl Waxrefinery, and Carnauba wax (Kahl Waxrefinery).
- The odourant composition according to the present invention comprises up to 99.9% by weight of the matrix material, preferably from 70% to 90% by weight.
- Optionally, the odourant composition comprises an emulsifier, for example mono- and di-glycerides of fatty acids, mono- and di-glyceride esters of fatty acids, sucrose esters of fatty acids, polyglycerine esters of fatty acids, sorbitan esters of fatty acids, and lecithin.
- The odourant composition according to the present invention comprises up to 30% by weight of the emulsifier, preferably from 0.5% to 5% by weight.
- Other excipients optionally present in the odourant composition may be selected from colourant and preservatives.
- In another aspect, the present invention refers to a food package comprising an odourant composition placed in the headspace of the package and covered by an insert, said insert defining a cavity containing said odourant composition and said cavity having outlet means to release the aroma, and a method of making such a food package.
- In another aspect, the present invention provides to a method of providing a food package comprising
- dosing the odourant composition into the insert,
- fixing the insert to the inner surface of the lid,
- inserting a food product into a container, and
- closing said container with said lid.
-
- To further describe the invention reference is made to the accompanying drawings by way of example only and in which
- Figure 1 is a cross section drawing of a food package according to the invention with the plastic insert fixed to the inner surface of the lid,
- Figure 2a and 2b are cross section drawings of suitable inserts fixed to the inner surface of the lid, and
- Figure 3a and 3b are cross section drawings of another embodiment of a food package according to the invention with an insert fixed to the inner surface of the lid.
-
- Figure 1 shows a cross section of a food package consisting of a container (1) comprising a food product (7) and the insert (2) fixed with a projection portion (5) to the lid (3) defining a cavity (6) comprising the odourant composition (not shown in the drawing). The aroma of the odourant composition releases through the outlet means (4) into the headspace (8).
- Figure 2a shows a cross section of the insert (2) fixed with a projection portion (5) to the inner surface of the lid (3) defining a cavity (6) comprising the odourant composition (not shown in the drawing). The outlet means (4') allowing egress of the aroma of the odourant composition. In another embodiment of the invention, as shown in Figure 2b, the outlet means (4) allowing egress of the aroma of the odourant composition are formed by fixing the projection portions (5), which are slightly raised (up to 5mm, preferable from about 0.1mm to about 2.0mm) with respect to the raised edges (9), to the inner surface of the lid (3).
- Figure 3a, another embodiment of the invention, shows a cross section of a container (1) comprising the food product (7) and a cross section of the insert (2) fixed with the projection portion (5) to the lid (3') comprising the odourant composition (10). Figure 3b shows a cross section of the closed food package, filled with a heated food product after it has cooled down to ambient temperature. Because of the under-pressure in the headspace after the cooling process outlet means (4) allowing egress of the aroma of the odourant composition are formed as an result of the insert being urged away from the surface of the lid in the direction of the headspace.
- The odourant composition was prepared by melting 10g of vegetable fat (Witocan 42/44 from Condea) in a beaker on a hot plate. Six grams of a tomato aroma (Tomato Flavour 510836 E from Givaudan) was added under stirring with a magnetic stirrer.
- A molten odourant composition, prepared according to Example 1 was applied to a plastic insert made of polycarbonate. After cooling down until the composition became solid, the insert was fixed with a glue to the inner side of the lid (Schmalbach-Lubeca White Cap). Three jars were filled with hot (90°C) Bolognese sauce and closed with the lid. After cooling down of the closed jars to ambient temperature they were turned up-side down so that the sauce covered the insert containing the odourant composition completely. The jars were stored for 3 days in up-side down position at room temperature. Then they were turned to upright position and stored for 4 hours / 1 week /4 weeks at room temperature. For a blind test, jars were filled with Bolognese sauce as described above and closed with a lid without the insert. The jars were opened and the smell was evaluated. All panellists agreed that in all jars with the insert containing the odourant composition the aroma of the headspace of the jars significantly changed giving a fresh tomato smell compared to the meaty bolognese smell from the food product in the comparative jars without the insert.
Claims (15)
- A food package comprising a food product, and an odourant composition placed in the headspace of the package and covered by an insert, said insert defining a cavity containing said odourant composition and said cavity having outlet means to release the aroma of said odourant composition into the headspace.
- A food package according to claim 1, characterised in that the insert covering the odourant composition is fixed to the inner surface of the lid of the food package.
- A food package according to claim 1 and 2 wherein the insert is made of a rigid material.
- A food package according to claim 3 wherein the insert is made of plastic.
- A food package according to claim 3 wherein the insert is made of polypropylene or polycarbonate.
- A food package according to claim 1 wherein the odourant composition comprises a food-acceptable aroma.
- A food package according to claim 6 wherein the odourant composition comprises a food-acceptable aroma of natural origin.
- A food package according to claim 6 wherein the odourant composition comprises a flavour, a fragrance, a precursor of a flavour, a precursor of a fragrance, or a mixture thereof.
- A food package according to claim 1 wherein the odourant composition comprises a food-acceptable aroma and a matrix material.
- A food package according to claim 9 wherein the matrix material is selected from the group of edible fats, waxes, natural gums, natural polymers, inorganic polymers, and mixtures thereof.
- A food package according to claim 9 wherein the odourant composition comprises up to 99.9 % by weight of the matrix material, preferably from 70% to 90% by weight.
- A food package according to claim 9 wherein the odourant composition comprises an emulsifier.
- A food package according to claim 12 wherein the odourant composition comprises up to 30% by weight of an emulsifier, preferably from 0.5% to 5% by weight.
- A food package comprising an odourant composition placed in the headspace of the package and covered by an insert, said insert defining a cavity containing said odourant composition and said cavity having outlet means to release the aroma of said odourant composition into the headspace.
- A method of providing a food package according to claim 1 comprisingdosing an odourant composition into the insert;fixing the insert to the inner surface of the lid;inserting a food product into a container; andclosing said container with said lid.
Priority Applications (1)
| Application Number | Priority Date | Filing Date | Title |
|---|---|---|---|
| EP01122984A EP1298071A1 (en) | 2001-09-26 | 2001-09-26 | Odour delivery system for food products |
Applications Claiming Priority (1)
| Application Number | Priority Date | Filing Date | Title |
|---|---|---|---|
| EP01122984A EP1298071A1 (en) | 2001-09-26 | 2001-09-26 | Odour delivery system for food products |
Publications (1)
| Publication Number | Publication Date |
|---|---|
| EP1298071A1 true EP1298071A1 (en) | 2003-04-02 |
Family
ID=8178726
Family Applications (1)
| Application Number | Title | Priority Date | Filing Date |
|---|---|---|---|
| EP01122984A Withdrawn EP1298071A1 (en) | 2001-09-26 | 2001-09-26 | Odour delivery system for food products |
Country Status (1)
| Country | Link |
|---|---|
| EP (1) | EP1298071A1 (en) |
Cited By (14)
| Publication number | Priority date | Publication date | Assignee | Title |
|---|---|---|---|---|
| WO2004034819A1 (en) * | 2002-10-21 | 2004-04-29 | Yissum Research Development Company Of The Hebrew University Of Jerusalem | Matrix with aroma for multiple openings of a package |
| US7141518B2 (en) | 2003-10-16 | 2006-11-28 | Kimberly-Clark Worldwide, Inc. | Durable charged particle coatings and materials |
| US7413550B2 (en) | 2003-10-16 | 2008-08-19 | Kimberly-Clark Worldwide, Inc. | Visual indicating device for bad breath |
| US7438875B2 (en) | 2003-10-16 | 2008-10-21 | Kimberly-Clark Worldwide, Inc. | Method for reducing odor using metal-modified silica particles |
| US7488520B2 (en) | 2003-10-16 | 2009-02-10 | Kimberly-Clark Worldwide, Inc. | High surface area material blends for odor reduction, articles utilizing such blends and methods of using same |
| US7582485B2 (en) | 2003-10-16 | 2009-09-01 | Kimberly-Clark Worldride, Inc. | Method and device for detecting ammonia odors and helicobacter pylori urease infection |
| US7582308B2 (en) | 2002-12-23 | 2009-09-01 | Kimberly-Clark Worldwide, Inc. | Odor control composition |
| US7666410B2 (en) | 2002-12-20 | 2010-02-23 | Kimberly-Clark Worldwide, Inc. | Delivery system for functional compounds |
| US7678367B2 (en) | 2003-10-16 | 2010-03-16 | Kimberly-Clark Worldwide, Inc. | Method for reducing odor using metal-modified particles |
| US7754197B2 (en) | 2003-10-16 | 2010-07-13 | Kimberly-Clark Worldwide, Inc. | Method for reducing odor using coordinated polydentate compounds |
| US7794737B2 (en) | 2003-10-16 | 2010-09-14 | Kimberly-Clark Worldwide, Inc. | Odor absorbing extrudates |
| US7837663B2 (en) | 2003-10-16 | 2010-11-23 | Kimberly-Clark Worldwide, Inc. | Odor controlling article including a visual indicating device for monitoring odor absorption |
| US7879350B2 (en) | 2003-10-16 | 2011-02-01 | Kimberly-Clark Worldwide, Inc. | Method for reducing odor using colloidal nanoparticles |
| WO2014170655A3 (en) * | 2013-04-18 | 2015-06-11 | British American Tobacco (Investments) Limited | Container with substance carrier |
Citations (7)
| Publication number | Priority date | Publication date | Assignee | Title |
|---|---|---|---|---|
| FR2625973A2 (en) * | 1984-05-28 | 1989-07-21 | Barillot Joel | Compartmented container and method for preserving cooked preparations with several components with aromatic exchange |
| US4990345A (en) * | 1988-12-05 | 1991-02-05 | Webb John D | Package with compartmented closure assembly |
| EP0706944A1 (en) | 1995-05-04 | 1996-04-17 | Societe Des Produits Nestle S.A. | Aromatisation process |
| EP0814023A1 (en) | 1996-06-17 | 1997-12-29 | Societe Des Produits Nestle S.A. | Process and apparatus for introducing an inert gas containing aroma into the headspace of a food package |
| WO1999058422A1 (en) * | 1998-05-13 | 1999-11-18 | Minipack Limited | Packaging, primarily for instant coffee |
| EP1004521A1 (en) * | 1998-11-25 | 2000-05-31 | Societe Des Produits Nestle S.A. | Aromatized food package |
| US6294209B1 (en) * | 1997-05-29 | 2001-09-25 | Nestec S.A. | Aromatized food package |
-
2001
- 2001-09-26 EP EP01122984A patent/EP1298071A1/en not_active Withdrawn
Patent Citations (7)
| Publication number | Priority date | Publication date | Assignee | Title |
|---|---|---|---|---|
| FR2625973A2 (en) * | 1984-05-28 | 1989-07-21 | Barillot Joel | Compartmented container and method for preserving cooked preparations with several components with aromatic exchange |
| US4990345A (en) * | 1988-12-05 | 1991-02-05 | Webb John D | Package with compartmented closure assembly |
| EP0706944A1 (en) | 1995-05-04 | 1996-04-17 | Societe Des Produits Nestle S.A. | Aromatisation process |
| EP0814023A1 (en) | 1996-06-17 | 1997-12-29 | Societe Des Produits Nestle S.A. | Process and apparatus for introducing an inert gas containing aroma into the headspace of a food package |
| US6294209B1 (en) * | 1997-05-29 | 2001-09-25 | Nestec S.A. | Aromatized food package |
| WO1999058422A1 (en) * | 1998-05-13 | 1999-11-18 | Minipack Limited | Packaging, primarily for instant coffee |
| EP1004521A1 (en) * | 1998-11-25 | 2000-05-31 | Societe Des Produits Nestle S.A. | Aromatized food package |
Cited By (18)
| Publication number | Priority date | Publication date | Assignee | Title |
|---|---|---|---|---|
| WO2004034819A1 (en) * | 2002-10-21 | 2004-04-29 | Yissum Research Development Company Of The Hebrew University Of Jerusalem | Matrix with aroma for multiple openings of a package |
| US7666410B2 (en) | 2002-12-20 | 2010-02-23 | Kimberly-Clark Worldwide, Inc. | Delivery system for functional compounds |
| US7582308B2 (en) | 2002-12-23 | 2009-09-01 | Kimberly-Clark Worldwide, Inc. | Odor control composition |
| US7678367B2 (en) | 2003-10-16 | 2010-03-16 | Kimberly-Clark Worldwide, Inc. | Method for reducing odor using metal-modified particles |
| US7794737B2 (en) | 2003-10-16 | 2010-09-14 | Kimberly-Clark Worldwide, Inc. | Odor absorbing extrudates |
| US7582485B2 (en) | 2003-10-16 | 2009-09-01 | Kimberly-Clark Worldride, Inc. | Method and device for detecting ammonia odors and helicobacter pylori urease infection |
| US7438875B2 (en) | 2003-10-16 | 2008-10-21 | Kimberly-Clark Worldwide, Inc. | Method for reducing odor using metal-modified silica particles |
| US7413550B2 (en) | 2003-10-16 | 2008-08-19 | Kimberly-Clark Worldwide, Inc. | Visual indicating device for bad breath |
| US7141518B2 (en) | 2003-10-16 | 2006-11-28 | Kimberly-Clark Worldwide, Inc. | Durable charged particle coatings and materials |
| US7754197B2 (en) | 2003-10-16 | 2010-07-13 | Kimberly-Clark Worldwide, Inc. | Method for reducing odor using coordinated polydentate compounds |
| US7488520B2 (en) | 2003-10-16 | 2009-02-10 | Kimberly-Clark Worldwide, Inc. | High surface area material blends for odor reduction, articles utilizing such blends and methods of using same |
| US7837663B2 (en) | 2003-10-16 | 2010-11-23 | Kimberly-Clark Worldwide, Inc. | Odor controlling article including a visual indicating device for monitoring odor absorption |
| US7879350B2 (en) | 2003-10-16 | 2011-02-01 | Kimberly-Clark Worldwide, Inc. | Method for reducing odor using colloidal nanoparticles |
| US8211369B2 (en) | 2003-10-16 | 2012-07-03 | Kimberly-Clark Worldwide, Inc. | High surface area material blends for odor reduction, articles utilizing such blends and methods of using same |
| US8221328B2 (en) | 2003-10-16 | 2012-07-17 | Kimberly-Clark Worldwide, Inc. | Visual indicating device for bad breath |
| US8702618B2 (en) | 2003-10-16 | 2014-04-22 | Kimberly-Clark Worldwide, Inc. | Visual indicating device for bad breath |
| WO2014170655A3 (en) * | 2013-04-18 | 2015-06-11 | British American Tobacco (Investments) Limited | Container with substance carrier |
| JP2016522680A (en) * | 2013-04-18 | 2016-08-04 | ブリティッシュ アメリカン タバコ (インヴェストメンツ) リミテッドBritish American Tobacco (Investments) Limited | container |
Similar Documents
| Publication | Publication Date | Title |
|---|---|---|
| EP1298071A1 (en) | Odour delivery system for food products | |
| RU2533362C2 (en) | Controlled release of fragrance, held retained with application of polymer matrix | |
| US20090053388A1 (en) | Flavor emitting compositions, devices and packaged food products therewith | |
| US5064698A (en) | Food packaging improvements | |
| JP4907045B2 (en) | Flavor retention and release system | |
| EP1384682A2 (en) | Packaging containing fragrance | |
| CA2847419A1 (en) | Releasably encapsulated aroma | |
| US5958487A (en) | Process for producing a lumpy meat product | |
| CN101600628A (en) | Container with perfuming means | |
| US20080061065A1 (en) | Thermoplastic packaging | |
| RU2353098C2 (en) | Matrix with aroma for multiple opening of packs | |
| EP1541623A1 (en) | Photoprotective composition for food containers | |
| US20080317929A1 (en) | Packaging for eliminating off-odors | |
| AU745035B2 (en) | Aromatised food package | |
| JPH089003Y2 (en) | Beverage container lid | |
| EP1627826A2 (en) | Method for producing and packaging a heatable sauce in a container | |
| CA3169728A1 (en) | Daucus-based compositions for oxygen modified packaging | |
| JPH061332A (en) | Packaging container | |
| Svensson | Active food packaging: materials and interactions: a literature review | |
| JPH0683657B2 (en) | Manufacturing method of fruit juice beverage in container | |
| MX2008006306A (en) | Air freshening apparatus and method for increasing fragrance in headspace | |
| HK1147653A (en) | Flavor emitting compositions, devices and packaged food products therewith |
Legal Events
| Date | Code | Title | Description |
|---|---|---|---|
| PUAI | Public reference made under article 153(3) epc to a published international application that has entered the european phase |
Free format text: ORIGINAL CODE: 0009012 |
|
| AK | Designated contracting states |
Kind code of ref document: A1 Designated state(s): AT BE CH CY DE DK ES FI FR GB GR IE IT LI LU MC NL PT SE TR Designated state(s): AT BE CH CY DE DK ES FI FR GB GR IE IT LI LU MC NL PT SE TR |
|
| AX | Request for extension of the european patent |
Extension state: AL LT LV MK RO SI |
|
| AKX | Designation fees paid | ||
| REG | Reference to a national code |
Ref country code: DE Ref legal event code: 8566 |
|
| STAA | Information on the status of an ep patent application or granted ep patent |
Free format text: STATUS: THE APPLICATION IS DEEMED TO BE WITHDRAWN |
|
| 18D | Application deemed to be withdrawn |
Effective date: 20031003 |