EP1235060A1 - Sunlight dosage indicator - Google Patents
Sunlight dosage indicator Download PDFInfo
- Publication number
- EP1235060A1 EP1235060A1 EP02251298A EP02251298A EP1235060A1 EP 1235060 A1 EP1235060 A1 EP 1235060A1 EP 02251298 A EP02251298 A EP 02251298A EP 02251298 A EP02251298 A EP 02251298A EP 1235060 A1 EP1235060 A1 EP 1235060A1
- Authority
- EP
- European Patent Office
- Prior art keywords
- sunlight
- amount
- indicator
- absorber
- multilayer
- Prior art date
- Legal status (The legal status is an assumption and is not a legal conclusion. Google has not performed a legal analysis and makes no representation as to the accuracy of the status listed.)
- Withdrawn
Links
- 239000006096 absorbing agent Substances 0.000 claims abstract description 35
- 230000008859 change Effects 0.000 claims abstract description 26
- 238000000034 method Methods 0.000 claims abstract description 21
- 230000035945 sensitivity Effects 0.000 claims abstract description 7
- 239000010410 layer Substances 0.000 claims description 35
- 239000011230 binding agent Substances 0.000 claims description 31
- 239000000203 mixture Substances 0.000 claims description 19
- 239000000758 substrate Substances 0.000 claims description 9
- MEZZCSHVIGVWFI-UHFFFAOYSA-N 2,2'-Dihydroxy-4-methoxybenzophenone Chemical compound OC1=CC(OC)=CC=C1C(=O)C1=CC=CC=C1O MEZZCSHVIGVWFI-UHFFFAOYSA-N 0.000 claims description 8
- 239000004922 lacquer Substances 0.000 claims description 8
- 239000001856 Ethyl cellulose Substances 0.000 claims description 6
- ZZSNKZQZMQGXPY-UHFFFAOYSA-N Ethyl cellulose Chemical compound CCOCC1OC(OC)C(OCC)C(OCC)C1OC1C(O)C(O)C(OC)C(CO)O1 ZZSNKZQZMQGXPY-UHFFFAOYSA-N 0.000 claims description 6
- 239000011248 coating agent Substances 0.000 claims description 6
- 238000000576 coating method Methods 0.000 claims description 6
- 229920001249 ethyl cellulose Polymers 0.000 claims description 6
- 235000019325 ethyl cellulose Nutrition 0.000 claims description 6
- 239000004615 ingredient Substances 0.000 claims description 5
- 239000011888 foil Substances 0.000 claims description 4
- 229920001296 polysiloxane Polymers 0.000 claims description 4
- 239000004820 Pressure-sensitive adhesive Substances 0.000 claims description 3
- 239000012965 benzophenone Substances 0.000 claims description 2
- 150000008366 benzophenones Chemical class 0.000 claims description 2
- 150000001565 benzotriazoles Chemical class 0.000 claims description 2
- IQFVPQOLBLOTPF-HKXUKFGYSA-L congo red Chemical compound [Na+].[Na+].C1=CC=CC2=C(N)C(/N=N/C3=CC=C(C=C3)C3=CC=C(C=C3)/N=N/C3=C(C4=CC=CC=C4C(=C3)S([O-])(=O)=O)N)=CC(S([O-])(=O)=O)=C21 IQFVPQOLBLOTPF-HKXUKFGYSA-L 0.000 claims description 2
- JVICFMRAVNKDOE-UHFFFAOYSA-M ethyl violet Chemical compound [Cl-].C1=CC(N(CC)CC)=CC=C1C(C=1C=CC(=CC=1)N(CC)CC)=C1C=CC(=[N+](CC)CC)C=C1 JVICFMRAVNKDOE-UHFFFAOYSA-M 0.000 claims description 2
- KHLVKKOJDHCJMG-QDBORUFSSA-L indigo carmine Chemical compound [Na+].[Na+].N/1C2=CC=C(S([O-])(=O)=O)C=C2C(=O)C\1=C1/NC2=CC=C(S(=O)(=O)[O-])C=C2C1=O KHLVKKOJDHCJMG-QDBORUFSSA-L 0.000 claims description 2
- 229960003988 indigo carmine Drugs 0.000 claims description 2
- 235000012738 indigotine Nutrition 0.000 claims description 2
- 239000004179 indigotine Substances 0.000 claims description 2
- CEQFOVLGLXCDCX-WUKNDPDISA-N methyl red Chemical compound C1=CC(N(C)C)=CC=C1\N=N\C1=CC=CC=C1C(O)=O CEQFOVLGLXCDCX-WUKNDPDISA-N 0.000 claims description 2
- OORQUAGUOJMPCS-UHFFFAOYSA-N 4-[[4-(diethylamino)phenyl]diazenyl]benzenesulfonic acid Chemical compound C1=CC(N(CC)CC)=CC=C1N=NC1=CC=C(S(O)(=O)=O)C=C1 OORQUAGUOJMPCS-UHFFFAOYSA-N 0.000 claims 1
- 239000012964 benzotriazole Substances 0.000 claims 1
- 239000002985 plastic film Substances 0.000 claims 1
- 229920006255 plastic film Polymers 0.000 claims 1
- 239000011358 absorbing material Substances 0.000 abstract description 3
- 230000005855 radiation Effects 0.000 description 19
- 239000012790 adhesive layer Substances 0.000 description 8
- 239000000463 material Substances 0.000 description 8
- 239000000126 substance Substances 0.000 description 8
- XLYOFNOQVPJJNP-UHFFFAOYSA-N water Substances O XLYOFNOQVPJJNP-UHFFFAOYSA-N 0.000 description 8
- 230000000475 sunscreen effect Effects 0.000 description 7
- 239000000516 sunscreening agent Substances 0.000 description 7
- 239000004094 surface-active agent Substances 0.000 description 7
- 239000003795 chemical substances by application Substances 0.000 description 6
- KWGKDLIKAYFUFQ-UHFFFAOYSA-M lithium chloride Chemical compound [Li+].[Cl-] KWGKDLIKAYFUFQ-UHFFFAOYSA-M 0.000 description 6
- 230000004044 response Effects 0.000 description 6
- YZORUOZKRBVLEG-UHFFFAOYSA-M sodium;4-[[4-(diethylamino)phenyl]diazenyl]benzenesulfonate Chemical compound [Na+].C1=CC(N(CC)CC)=CC=C1N=NC1=CC=C(S([O-])(=O)=O)C=C1 YZORUOZKRBVLEG-UHFFFAOYSA-M 0.000 description 6
- 229920000663 Hydroxyethyl cellulose Polymers 0.000 description 5
- 239000004354 Hydroxyethyl cellulose Substances 0.000 description 4
- 229940071826 hydroxyethyl cellulose Drugs 0.000 description 4
- 235000019447 hydroxyethyl cellulose Nutrition 0.000 description 4
- 230000037311 normal skin Effects 0.000 description 4
- 229920005989 resin Polymers 0.000 description 4
- 239000011347 resin Substances 0.000 description 4
- 230000036555 skin type Effects 0.000 description 4
- OKKJLVBELUTLKV-UHFFFAOYSA-N Methanol Chemical compound OC OKKJLVBELUTLKV-UHFFFAOYSA-N 0.000 description 3
- 238000005299 abrasion Methods 0.000 description 3
- 230000001186 cumulative effect Effects 0.000 description 3
- 239000000839 emulsion Substances 0.000 description 3
- 239000003623 enhancer Substances 0.000 description 3
- 230000006872 improvement Effects 0.000 description 3
- 230000002441 reversible effect Effects 0.000 description 3
- 239000002904 solvent Substances 0.000 description 3
- LFQSCWFLJHTTHZ-UHFFFAOYSA-N Ethanol Chemical compound CCO LFQSCWFLJHTTHZ-UHFFFAOYSA-N 0.000 description 2
- 235000008098 Oxalis acetosella Nutrition 0.000 description 2
- 240000007930 Oxalis acetosella Species 0.000 description 2
- DBMJMQXJHONAFJ-UHFFFAOYSA-M Sodium laurylsulphate Chemical compound [Na+].CCCCCCCCCCCCOS([O-])(=O)=O DBMJMQXJHONAFJ-UHFFFAOYSA-M 0.000 description 2
- 206010042496 Sunburn Diseases 0.000 description 2
- 239000000853 adhesive Substances 0.000 description 2
- 230000001070 adhesive effect Effects 0.000 description 2
- 230000000295 complement effect Effects 0.000 description 2
- 229910003460 diamond Inorganic materials 0.000 description 2
- 239000010432 diamond Substances 0.000 description 2
- 239000012153 distilled water Substances 0.000 description 2
- 238000005259 measurement Methods 0.000 description 2
- 239000004033 plastic Substances 0.000 description 2
- 229920003023 plastic Polymers 0.000 description 2
- 229920001225 polyester resin Polymers 0.000 description 2
- 239000004645 polyester resin Substances 0.000 description 2
- 239000004800 polyvinyl chloride Substances 0.000 description 2
- DCKVNWZUADLDEH-UHFFFAOYSA-N sec-butyl acetate Chemical compound CCC(C)OC(C)=O DCKVNWZUADLDEH-UHFFFAOYSA-N 0.000 description 2
- 230000037307 sensitive skin Effects 0.000 description 2
- 235000019333 sodium laurylsulphate Nutrition 0.000 description 2
- 230000009182 swimming Effects 0.000 description 2
- 229920001187 thermosetting polymer Polymers 0.000 description 2
- 239000002562 thickening agent Substances 0.000 description 2
- 239000001993 wax Substances 0.000 description 2
- JLZIIHMTTRXXIN-UHFFFAOYSA-N 2-(2-hydroxy-4-methoxybenzoyl)benzoic acid Chemical compound OC1=CC(OC)=CC=C1C(=O)C1=CC=CC=C1C(O)=O JLZIIHMTTRXXIN-UHFFFAOYSA-N 0.000 description 1
- RSWGJHLUYNHPMX-UHFFFAOYSA-N Abietic-Saeure Natural products C12CCC(C(C)C)=CC2=CCC2C1(C)CCCC2(C)C(O)=O RSWGJHLUYNHPMX-UHFFFAOYSA-N 0.000 description 1
- 206010015150 Erythema Diseases 0.000 description 1
- 241000282412 Homo Species 0.000 description 1
- 239000006057 Non-nutritive feed additive Substances 0.000 description 1
- 239000004698 Polyethylene Substances 0.000 description 1
- KHPCPRHQVVSZAH-HUOMCSJISA-N Rosin Natural products O(C/C=C/c1ccccc1)[C@H]1[C@H](O)[C@@H](O)[C@@H](O)[C@@H](CO)O1 KHPCPRHQVVSZAH-HUOMCSJISA-N 0.000 description 1
- 229930003316 Vitamin D Natural products 0.000 description 1
- QYSXJUFSXHHAJI-XFEUOLMDSA-N Vitamin D3 Natural products C1(/[C@@H]2CC[C@@H]([C@]2(CCC1)C)[C@H](C)CCCC(C)C)=C/C=C1\C[C@@H](O)CCC1=C QYSXJUFSXHHAJI-XFEUOLMDSA-N 0.000 description 1
- 208000027418 Wounds and injury Diseases 0.000 description 1
- 239000002518 antifoaming agent Substances 0.000 description 1
- 239000000084 colloidal system Substances 0.000 description 1
- 229920001577 copolymer Polymers 0.000 description 1
- 230000003247 decreasing effect Effects 0.000 description 1
- 230000001627 detrimental effect Effects 0.000 description 1
- 231100000321 erythema Toxicity 0.000 description 1
- 239000006260 foam Substances 0.000 description 1
- 238000009472 formulation Methods 0.000 description 1
- 230000009931 harmful effect Effects 0.000 description 1
- 230000036541 health Effects 0.000 description 1
- 239000003112 inhibitor Substances 0.000 description 1
- 239000004611 light stabiliser Substances 0.000 description 1
- 238000004519 manufacturing process Methods 0.000 description 1
- 239000012528 membrane Substances 0.000 description 1
- 238000012986 modification Methods 0.000 description 1
- 230000004048 modification Effects 0.000 description 1
- IULGYNXPKZHCIA-UHFFFAOYSA-N octadecyl carbamate Chemical compound CCCCCCCCCCCCCCCCCCOC(N)=O IULGYNXPKZHCIA-UHFFFAOYSA-N 0.000 description 1
- JTJMJGYZQZDUJJ-UHFFFAOYSA-N phencyclidine Chemical compound C1CCCCN1C1(C=2C=CC=CC=2)CCCCC1 JTJMJGYZQZDUJJ-UHFFFAOYSA-N 0.000 description 1
- 229920006122 polyamide resin Polymers 0.000 description 1
- -1 polyethylene Polymers 0.000 description 1
- 229920000573 polyethylene Polymers 0.000 description 1
- 229920000642 polymer Polymers 0.000 description 1
- 229920000915 polyvinyl chloride Polymers 0.000 description 1
- 231100000075 skin burn Toxicity 0.000 description 1
- 229910052708 sodium Inorganic materials 0.000 description 1
- 239000011734 sodium Substances 0.000 description 1
- BDHFUVZGWQCTTF-UHFFFAOYSA-M sulfonate Chemical compound [O-]S(=O)=O BDHFUVZGWQCTTF-UHFFFAOYSA-M 0.000 description 1
- KHPCPRHQVVSZAH-UHFFFAOYSA-N trans-cinnamyl beta-D-glucopyranoside Natural products OC1C(O)C(O)C(CO)OC1OCC=CC1=CC=CC=C1 KHPCPRHQVVSZAH-UHFFFAOYSA-N 0.000 description 1
- 150000003918 triazines Chemical class 0.000 description 1
- 235000019166 vitamin D Nutrition 0.000 description 1
- 239000011710 vitamin D Substances 0.000 description 1
- 150000003710 vitamin D derivatives Chemical class 0.000 description 1
- 229940046008 vitamin d Drugs 0.000 description 1
Images
Classifications
-
- G—PHYSICS
- G01—MEASURING; TESTING
- G01J—MEASUREMENT OF INTENSITY, VELOCITY, SPECTRAL CONTENT, POLARISATION, PHASE OR PULSE CHARACTERISTICS OF INFRARED, VISIBLE OR ULTRAVIOLET LIGHT; COLORIMETRY; RADIATION PYROMETRY
- G01J1/00—Photometry, e.g. photographic exposure meter
- G01J1/48—Photometry, e.g. photographic exposure meter using chemical effects
- G01J1/50—Photometry, e.g. photographic exposure meter using chemical effects using change in colour of an indicator, e.g. actinometer
Definitions
- the present invention relates to a multilayer device which can be used to indicate the amount of exposure to sunlight. More specifically, the present invention relates to a multilayer sunlight dosage indicator comprising: (a) an indicator layer comprising a sunlight-sensitive ink, wherein the ink undergoes a color change upon exposure to a known amount of sunlight; and (b) an overlayer comprising an amount of at least one UV absorber.
- the present invention also relates to a method for indicating the amount of exposure to sunlight. Further, the present invention relates to a method for adjusting the sensitivity of the indicator by adding UV absorbing materials to the overlayer.
- UV radiation contains ultraviolet (UV) radiation.
- UV radiation is necessary and healthy.
- it aids in the production of vitamin D.
- Excessive exposure to UV radiation can have harmful effects on health, including sunburn.
- various devices have been developed to indicate and measure UV exposure, so that excessive exposure can be avoided.
- U.S. Pat. No. 4,705,046 discloses a device for the qualitative measurement of UV radiation received by the skin. When the device is exposed to sunlight, a comparison of the color density of a photochromic material and a reference dye allows a qualitative determination of the amount of exposure to UV radiation.
- U.S. Pat. No. 5,581,090 discloses an ultraviolet detector based on a photochromic composition that changes color upon exposure to UV rays.
- the photochromic material is dissolved in a solvent and applied to an article such as a watch or credit card.
- U.S. Pat. No. 5,914,197 teaches an UV active wristband which changes color reversibly from clear to any visible color when exposed to a UV source.
- U.S. Pat. No. 5,986,273 discloses an ultraviolet radiation sensor that may be worn on the skin.
- the sensor includes a transparent membrane, an adhesive, and an indicator that reversibly alters its color when exposed to UV radiation.
- sunlight dosage indicator with a response time of 1 to 2 hours is needed for use by people with normal skin.
- An indicator with an even longer response time is needed for people with moderately pigmented skin.
- a sunlight dosage indicator that can be customized for sensitive, normal, or other skin type would therefore be advantageous to accommodate usage by persons having a wide range of sensivitity.
- a sunlight dosage indicator should complement the use of sunscreen by tolerating a coating of sunscreen, while still accurately indicating the UV light dosage to the protected skin.
- the sunlight dosage indicator should provide a cumulative measure of UV exposure; should also provide an improvement in abrasion resistance, water resistance, saltwater resistance, and resistance to chemicals used to sanitize swimming pool water; be usable by persons of varying sensitivity; and be usable with or without sunscreen.
- a multilayer device which can be used to indicate the amount of exposure to sunlight.
- This aspect of the present invention is achieved by a multilayer sunlight dosage indicator comprising (a) an indicator layer comprising a sunlight-sensitive ink, wherein the ink undergoes a color change upon exposure to a known amount of sunlight; and (b) an overlayer comprising an amount of at least one UV absorber.
- Another aspect of the present invention is to provide a method for indicating the amount of exposure to sunlight.
- This aspect of the present invention is achieved by providing a multilayer sunlight dosage indicator comprising (a) an indicator layer comprising a sunlight-sensitive ink, wherein the ink undergoes a color change upon exposure to a known amount of sunlight; and (b) an overlayer comprising an amount of at least one UV absorber, wherein the color change indicates exposure to a known amount of sunlight.
- a further aspect of the present invention is to provide a method for adjusting the sensitivity of the sunlight dosage indicator.
- This aspect of the present invention is achieved by (1) providing a multilayer sunlight dosage indicator comprising (a) an indicator layer comprising a sunlight-sensitive ink, wherein the ink undergoes a color change upon exposure to a known amount of sunlight; and (b) an overlayer comprising an amount of at least one UV absorber, and (2) selecting the amount of UV absorber to alter the amount of sunlight necessary to cause the ink to change color.
- the present invention relates to a multilayer device which can be used to indicate the amount of exposure to sunlight.
- the present invention additionally relates to a method for indicating the amount of exposure to sunlight.
- the present invention also relates to a method for adjusting the sensitivity of the indicator by adding UV absorbers to the overlayer.
- the multilayer device of the present invention comprises (a) an indicator layer comprising a sunlight-sensitive ink, and (b) an overlayer comprising an amount of at least one UV absorber.
- This indicator layer comprises a sunlight-sensitive ink.
- a sunlight-sensitive ink is a material which reliably changes color upon exposure to the ultraviolet radiation present in sunlight.
- Materials that change color upon exposure to UV radiation in this ink formulation include, but are not limited to, ethyl orange, Congo red, methyl red, indigo carmine, and specirazine ethyl violet.
- the indicator layer may further comprise binders, surfactants, viscosity control agents, and color change enhancers.
- the sunlight-sensitive ink comprises ethyl orange.
- Ethyl orange also known as 4'-diethylaminoazobenzene-4-sodium sulfonate, is available from Dudley Chemical Corporation.
- a binder such as a vinylidene chloride copolymer emulsion.
- the binder provides film strength. It may also degrade upon exposure to UV radiation, and thus contribute to the color change.
- a defoaming agent such as Foammaster S from Diamond Shamrock Corporation, is also added, along with a solution of hydroxy ethyl cellulose in water.
- a preferred hydroxy ethyl cellulose is HEC N-100, available from Hercules Corporation. Hydroxy ethyl cellulose is useful to control the viscosity of the ink mixture.
- a surfactant such as sodium lauryl sulfate, is also preferably added to the ink mixture, along with a solution of lithium chloride in water. Lithium chloride promotes the color change of the ethyl orange ink mixture.
- the indicator layer comprises a mixture formed by combining ingredients including a sunlight-sensitive ink, a binder, and optionally, a surfactant, a viscosity control agent, and a color change enhancer.
- the material that changes color is present in the ink mixture in an amount of from about 0.03 to about 1.0 parts by weight (pbw) per 1000 pbw binder, and more preferably, from about 0.1 to about 0.5 pbw per 1000 pbw binder.
- the surfactant is preferably present in an amount of from 0 to about 2.5 pbw per 1000 pbw binder, and more preferably, from about 0.1 to about 0.25 pbw per 1000 pbw binder.
- the viscosity control agent is preferably present in an amount of from 0 to about 0.1 pbw per 1000 pbw binder, and more preferably from about 0.05 to about 0.06 pbw per 10000 pbw binder.
- the color change enhancer is preferably present in an amount of from 0 to about 1.0 pbw per 1000 pbw binder, and more preferably, from about 0.4 to about 0.5 pbw per 1000 pbw binder.
- the indicator layer mixture described above is applied to a substrate.
- Suitable substrates include any material to which the indicator layer will adhere.
- White or light-colored materials do not mask the color change of the sunlight-sensitive ink, and are therefore preferred.
- Suitable materials for use as a substrate include, but are not limited to, white lithographic paper, white polyvinyl chloride (PVC) film, or other paper, film, or foil having a white, opaque coating.
- PVC polyvinyl chloride
- Lithographic paper is available from a variety of manufacturers, including Westvaco Company.
- PVC film is available from Cadillac Plastics and Chemical Company.
- Overlayer (b) of the present invention comprises a colorless lacquer mixture formed from ingredients comprising a binder, a thickener, a polyester resin, and one or more solvents.
- the mixture further comprises processing aids such as waxes, surfactants, and the like.
- Suitable binders include, but are not limited to, polyamide resins.
- Preferred binders are maleic rosin resins, such as Unirez 8115, available from Union Camp Corp.
- Ethyl cellulose is a preferred thickener.
- the overlayer functions to adjust the response time of the sunlight dosage indicator.
- a colorless lacquer can absorb UV radiation, thereby decreasing the amount of radiation reaching the sunlight-sensitive ink in the indicator layer. The more UV radiation absorbed by the overlayer, the more sunlight necessary to cause the ink to change color. Therefore, the more UV absorber the overlayer contains, the greater the exposure to sunlight required to produce a color change in the indicator.
- UV absorber refers to a substance that absorbs radiation having a wavelength of from about 230 nanometers (nm) to about 365 nm.
- ethyl cellulose is a UV absorber.
- the overlayer comprises an additional component that is a UV absorber.
- components that absorb UV radiation include light stabilizers such as benzophenones, benzotriazoles, and triazines.
- a preferred UV absorber is 2,2'-dihydroxy-4-methoxybenzophenone, available as Cyasorb UV-24, from Cytec Industries.
- the mixture used to form the overlayer may further comprise solvents, binders, surfactants, viscosity control agents, polymers, and the like.
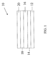
- multilayer sunlight dosage indicator 10 comprises a removable layer 12, an adhesive layer 14, a substrate 16, an indicator layer 18, and a clear overlayer 20.
- Removable release layer 12 covers and protects adhesive layer 14 during storage and handling. Prior to use, removable release layer 12 is removed from indicator 10. This may be accomplished by, for example, peeling removable release layer 12 away from adhesive layer 14. The adhesive layer 14 is thereby exposed, and may be used to affix indicator 10 to skin, clothing, or other surface.
- Removable release layer 12 comprises a paper, film, or foil substrate coated with a release agent. Typically, release agents are chemically based upon silicone thermosetting resins, fluorosilicone thermosetting resins, or octadecyl carbamate resins. Preferably, removable release layer 12 comprises silicone-treated release paper.
- Adhesive layer 14 is disposed adjacent to removable layer 12 and proximate to substrate layer 16.
- Adhesive layer 14 preferably comprises a pressure sensitive adhesive suitable for human skin contact. Numerous examples of such adhesives are known in the art, including those used for plastic bandages, medical patches, and the like. Non-limiting examples of pressure sensitive adhesives suitable for human skin contact include, but are not limited to, Gelva® Multipolymer Emulsion 2397 and Gelva® Multipolymer Emulsion 3011, both available from Monsanto Company.
- Substrate 16 is disposed proximate to adhesive layer 14 and indicator layer 18.
- Overlayer 20 is disposed proximate to indicator layer 18. The overlayer 20 covers and protects indicator layer 18 from abrasion and from chemical attack.
- the present invention also provides a method for indicating the amount of exposure to sunlight.
- the method comprises the step of providing a multilayer sunlight dosage indicator comprising (a) an indicator layer comprising a sunlight-sensitive ink, wherein the ink changes color upon exposure to a known amount of sunlight, and (b) an overlayer comprising an amount of at least one UV absorber. The color change indicates exposure to a known amount of sunlight.
- a multilayer sunlight dosage indicator comprising (a) an indicator layer comprising a sunlight-sensitive ink, wherein the ink changes color upon exposure to a known amount of sunlight, and (b) an overlayer comprising an amount of at least one UV absorber. The color change indicates exposure to a known amount of sunlight.
- the indicator layer, overlayer, and optional substrate, adhesive layer, and removable layer are as described above.
- the amount of UV absorber present in the overlayer affects the response time of the sunlight dosage indicator.
- the more UV absorber present in the overlayer the more exposure to sunlight necessary to reach the indicator layer and cause the ink to change color.
- a known amount of UV absorber in the overlayer corresponds to a known amount of UV radiation absorbed. Because the ink changes color only after exposure to a known amount of sunlight, advantageously, the amount of exposure required for a color change can be manipulated by selecting the amount of UV absorber in the overlayer.
- the present invention is also directed toward a method for adjusting the sensitivity of the multilayer sunlight dosage indicator, the method comprising the steps of (1) providing a sunlight dosage indicator as described above, and (2) selecting the amount of UV absorber to alter the known amount of exposure to sunlight necessary to cause the ink to change color.
- the base lacquer composition absorbs some UV light and thus reduces the amount of UV light which reaches the sunlight-sensitive ink.
- the overlayer comprises the base lacquer composition without an additional UV absorber component
- the sunlight-sensitive ink changes color after an exposure of about 0.8 minimal erythema dosage (MED).
- MED minimal erythema dosage
- One MED is defined as the amount of exposure to UV radiation after which a normal individual's skin turns perceptively pink and the pinkness lasts beyond a 24 hour period.
- the overlayer may further comprise one or more UV absorbers in addition to the base lacquer.
- the total amount of the UV absorbers present in the overlayer is selected to produce the desired response time in the sunlight-sensitive ink.
- a sunlight dosage indicator designed for use with sensitive skin preferably has UV absorbers present in the overlayer in an amount of from 0 to about 0.1 pbw per 100 pbw binder. More preferably, the UV absorber is present in the overlayer in an amount of from about 0.02 to about 0.03 pbw per 100 pbw binder.
- a sunlight dosage indicator designed for use with normal skin preferably has UV absorbers present in the overlayer in an amount of from about 0.1 to about 0.7 pbw per 100 pbw binder, and more preferably, from about 0.4 to about 0.5 pbw per 100 pbw binder.
- a sunlight dosage indicator for use with moderately pigmented skin types preferably has UV absorbers present in the overlayer in an amount greater than about 0.7 pbw per 100 pbw binder, and more preferably, from about 0.7 to about 0.9 pbw per 100 pbw binder.
- a sunlight-sensitive ink mixture was prepared as follows. 467.80 pounds (lbs.) of a binder was weighed into a 55 gallon drum. The binder used was VycarTM 650X18, available from BFGoodrich Specialty Chemicals. Then 1189.3 grams (g) of ethyl orange sodium salt was added and mixed until dissolved. The following ingredients were added: (1) 531.0 g of Foammaster S, a foam inhibitor available from Diamond Shamrock, (2) 80.0 lbs.
- An overlayer mixture was prepared as follows. 7290 g ethanol and 4302 g methanol were weighed into a 5 gallon pail, and mixed with a colloid mill. While mixing, 828 g of polyester resin, PrinceTM 5130, available from Eastman Chemical, was added and completely solubilized. Mixing was continued as 3276 g of binder was added and solubilized. The binder used was Unirex® 8115, available from Union Camp. While still mixing, 90 g of surfactant, DP S-65, available from Elementis Specialties, was added. After two minutes of further mixing, 324 g of UFP-4500, a polyethylene wax available from Lawter International, was added. After five minutes of further mixing, 234 g of ethyl cellulose, specifically N-100 from Hercules, was added and mixed for an additional five minutes.
- the indicator layer was applied using a commercially available coating machine equipped with a wire wound bar metering system. After the indicator layer had dried to a tack-free state, the overlayer was applied over the indicator layer.
- Example 2 the procedure described in Example 1 was repeated except that the overlayer contained an additional component. After adding the ethyl cellulose and mixing for five minutes, 82 g of Cyasorb® UV-24, UV absorbing material available from Cytec Industries, was added and mixed for ten minutes.
- the multilayer sunlight dosage indicator of the present invention can be customized for sensitive, normal, or other skin type.
- the sunlight dosage indicator can complement the use of sunscreen.
- a coating of sunscreen may be applied directly onto the overlayer.
- the amount of UV exposure necessary to change the color of the sunlight-sensitive ink will increase, just as a coating of sunscreen on skin increases the amount of UV exposure necessary to cause sunburn.
- the coated indicator will thus accurately indicate when the UV light dosage to the protected skin reaches an unsafe level.
- the color change of the sunlight-sensitive ink is not reversible. Therefore, the sunlight dosage indicator provides a cumulative measure of UV exposure, even if the wearer temporarily goes indoors, underwater, or the like.
- the overlayer is resilient, and provides an improvement in abrasion resistance, water resistance, saltwater resistance, and resistance to chemicals used to sanitize swimming pool water.
Landscapes
- Physics & Mathematics (AREA)
- General Physics & Mathematics (AREA)
- Spectroscopy & Molecular Physics (AREA)
- Photometry And Measurement Of Optical Pulse Characteristics (AREA)
- Laminated Bodies (AREA)
Applications Claiming Priority (2)
| Application Number | Priority Date | Filing Date | Title |
|---|---|---|---|
| US792933 | 1985-10-30 | ||
| US09/792,933 US6734440B2 (en) | 2001-02-27 | 2001-02-27 | Sunlight dosage indicator |
Publications (1)
| Publication Number | Publication Date |
|---|---|
| EP1235060A1 true EP1235060A1 (en) | 2002-08-28 |
Family
ID=25158528
Family Applications (1)
| Application Number | Title | Priority Date | Filing Date |
|---|---|---|---|
| EP02251298A Withdrawn EP1235060A1 (en) | 2001-02-27 | 2002-02-25 | Sunlight dosage indicator |
Country Status (3)
| Country | Link |
|---|---|
| US (1) | US6734440B2 (enExample) |
| EP (1) | EP1235060A1 (enExample) |
| JP (1) | JP2002310785A (enExample) |
Cited By (3)
| Publication number | Priority date | Publication date | Assignee | Title |
|---|---|---|---|---|
| WO2008144541A1 (en) * | 2007-05-17 | 2008-11-27 | Nanodynamics, Inc. | Compositions and devices for uv dosage indication |
| NL2002492C2 (en) * | 2009-02-04 | 2010-08-05 | Simlogic Holding B V | ULTRA VIOLET LIGHT (UV) INDICATOR. |
| US9097588B2 (en) | 2008-12-20 | 2015-08-04 | Intellego Technologies Ab | Dose responsive UV indicator |
Families Citing this family (22)
| Publication number | Priority date | Publication date | Assignee | Title |
|---|---|---|---|---|
| EP1599744A2 (en) * | 2003-02-27 | 2005-11-30 | Jp Laboratories, Inc. | Self-indicating radiation alert dosimeter |
| US20050145525A1 (en) * | 2004-01-07 | 2005-07-07 | Williams K. G. | Ultraviolet indicating closure for containers |
| US20050285050A1 (en) * | 2004-02-27 | 2005-12-29 | Bruce Ian A | Sun sensor, an article incorporating the sun sensor and methods of preparation and use |
| WO2006014987A2 (en) * | 2004-07-28 | 2006-02-09 | Kolurz, Llc | Method of making dynamic image for an article and article thereof |
| USD517602S1 (en) | 2004-09-10 | 2006-03-21 | Retail Royalty Company | Credit card |
| US20060289796A1 (en) * | 2005-06-22 | 2006-12-28 | Cryovac, Inc. | UV-C sensitive composition and dosimeter |
| JP2007327899A (ja) * | 2006-06-09 | 2007-12-20 | Nippon Telegr & Teleph Corp <Ntt> | 紫外線の検知素子、紫外線の測定装置及び方法 |
| US20080014117A1 (en) * | 2006-07-14 | 2008-01-17 | Questel Adhesives | Food sterilization dosage indicator |
| US7943091B2 (en) | 2007-11-16 | 2011-05-17 | The Boeing Company | Chemical exposure indication device |
| US20100226946A1 (en) * | 2009-03-04 | 2010-09-09 | Topical Technologies, Inc. | Apparatus and Method for Producing Vitamin D in a Person |
| EP2569251A4 (en) * | 2010-05-14 | 2013-12-04 | Aquasolix Corp | METHOD AND DEVICE FOR SOLAR ENERGY BASED WATER DISINFECTION |
| SE536450C2 (sv) * | 2012-04-11 | 2013-11-12 | Skinplan Ab | Anordning och metod för att avgöra säker soltid |
| US9008389B2 (en) * | 2012-09-28 | 2015-04-14 | Robert D. Williams | System and method for determining the amount of vitamin D generated by a user |
| CN104880251B (zh) * | 2015-05-08 | 2017-05-24 | 安踏(中国)有限公司 | 一种紫外指示标及其应用 |
| CA3013414A1 (en) * | 2016-02-02 | 2017-08-10 | 8996598 Canada Inc. | Method and apparatus for the detection of exposure to ultraviolet light |
| US9658101B1 (en) | 2016-03-10 | 2017-05-23 | Jads International LLC | Multi-layer dosimeter usable with sunscreen and methods for preparation and use |
| CA3037866A1 (en) | 2016-08-19 | 2018-02-22 | Jads International LLC | Photochromic compositions, markers containing the same, and systems and methods for their use |
| US12123775B2 (en) | 2017-05-11 | 2024-10-22 | 15814057 Canada Inc. | Method and apparatus for the detection of exposure to ultraviolet light |
| US10996167B2 (en) * | 2018-01-10 | 2021-05-04 | Michael Kerwin | Container with luminescent sunscreen and closure with illuminator |
| WO2023168454A1 (en) * | 2022-03-04 | 2023-09-07 | Central Garden & Pet Company | Photochromic pigment detection to determine uv output intensity of a uv illuminating source within a reptile cage |
| CN115112644A (zh) * | 2022-06-29 | 2022-09-27 | 苏州赫伯特电子科技有限公司 | 一种等离子处理检测用变色指示标签及其制备方法 |
| JP1778239S (ja) * | 2023-07-20 | 2024-08-21 | 紫外線探知機 |
Citations (4)
| Publication number | Priority date | Publication date | Assignee | Title |
|---|---|---|---|---|
| US4829187A (en) * | 1985-11-11 | 1989-05-09 | Shiseido Company Ltd. | UV-ray sensitive composition and element for measuring UV-ray dose |
| US5023138A (en) * | 1987-11-02 | 1991-06-11 | Acumeter Laboratories, Inc. | Method of in-line production of successive barrier- and silicon-coated inexpensive porous and absorbent paper and similar substrates, and products produced thereby |
| US5028792A (en) * | 1987-03-19 | 1991-07-02 | Xytronyx, Inc. | System for the visualization of exposure to ultraviolet radiation |
| US6132681A (en) * | 1997-09-16 | 2000-10-17 | Skyrad Ltd. | Disposable dosimeter for sun radiation |
Family Cites Families (12)
| Publication number | Priority date | Publication date | Assignee | Title |
|---|---|---|---|---|
| US4229572A (en) * | 1979-03-05 | 1980-10-21 | The Dow Chemical Company | Purification of cellulose ether reaction product |
| IE58276B1 (en) | 1984-05-01 | 1993-08-25 | Robillard Jean J A | Device for the qualitative measurement of uv radiation received by the skin |
| DE69219313T2 (de) | 1992-03-23 | 1997-11-13 | Nippon Telegraph & Telephone | UV-A und UV-B trennender Sensor |
| US5296275A (en) * | 1992-07-01 | 1994-03-22 | Xytronyx, Inc. | Phototranschromic ink |
| US5411835A (en) | 1993-12-01 | 1995-05-02 | Brinser; Steven L. | Dry photochromatic film |
| FR2723218A1 (fr) | 1994-07-29 | 1996-02-02 | Essilor Internal Cie Gle Optique | Composes photochromiques de structure spiro (indoline-(2,3')-benzoxazine) a groupement cyano en 6', et leur utilisation dans le domaine de l'optique ophtalmique |
| US5581090A (en) | 1995-10-25 | 1996-12-03 | Solartech Enterprises, Llc | Photochromic ultraviolet detector |
| US5986273A (en) | 1998-02-09 | 1999-11-16 | Tripp; James E. | Ultraviolet radiation sensor |
| US5914197A (en) | 1998-03-12 | 1999-06-22 | Solartech Enterprises, Llc | Ultraviolet active wristband |
| CA2282084C (en) * | 1999-09-10 | 2005-01-11 | Stuart A. Jackson | Radiation indicator device |
| US20020022008A1 (en) | 2000-07-10 | 2002-02-21 | Forest Susan Ellen | UV indicator to signal the reduction of sunscreen efficiency |
| US6461728B2 (en) * | 2000-12-29 | 2002-10-08 | 3M Innovative Properties Company | Gamma radiation polymerized emulsion-based (meth)acrylate pressure sensitive adhesives and methods of making and using same |
-
2001
- 2001-02-27 US US09/792,933 patent/US6734440B2/en not_active Expired - Fee Related
-
2002
- 2002-02-25 EP EP02251298A patent/EP1235060A1/en not_active Withdrawn
- 2002-02-25 JP JP2002047507A patent/JP2002310785A/ja active Pending
Patent Citations (4)
| Publication number | Priority date | Publication date | Assignee | Title |
|---|---|---|---|---|
| US4829187A (en) * | 1985-11-11 | 1989-05-09 | Shiseido Company Ltd. | UV-ray sensitive composition and element for measuring UV-ray dose |
| US5028792A (en) * | 1987-03-19 | 1991-07-02 | Xytronyx, Inc. | System for the visualization of exposure to ultraviolet radiation |
| US5023138A (en) * | 1987-11-02 | 1991-06-11 | Acumeter Laboratories, Inc. | Method of in-line production of successive barrier- and silicon-coated inexpensive porous and absorbent paper and similar substrates, and products produced thereby |
| US6132681A (en) * | 1997-09-16 | 2000-10-17 | Skyrad Ltd. | Disposable dosimeter for sun radiation |
Cited By (3)
| Publication number | Priority date | Publication date | Assignee | Title |
|---|---|---|---|---|
| WO2008144541A1 (en) * | 2007-05-17 | 2008-11-27 | Nanodynamics, Inc. | Compositions and devices for uv dosage indication |
| US9097588B2 (en) | 2008-12-20 | 2015-08-04 | Intellego Technologies Ab | Dose responsive UV indicator |
| NL2002492C2 (en) * | 2009-02-04 | 2010-08-05 | Simlogic Holding B V | ULTRA VIOLET LIGHT (UV) INDICATOR. |
Also Published As
| Publication number | Publication date |
|---|---|
| US6734440B2 (en) | 2004-05-11 |
| JP2002310785A (ja) | 2002-10-23 |
| US20020117633A1 (en) | 2002-08-29 |
Similar Documents
| Publication | Publication Date | Title |
|---|---|---|
| US6734440B2 (en) | Sunlight dosage indicator | |
| AU670310B2 (en) | Phototranschromic ink | |
| AU2019291837B2 (en) | Ultraviolet indicators, formulations and suncare kits comprising the same | |
| CA2782492C (en) | Dose responsive uv indicator | |
| CA1101772A (en) | Reusable radiation monitor | |
| US5028792A (en) | System for the visualization of exposure to ultraviolet radiation | |
| CA2932338C (en) | Multi-layer dosimeter usable with sunscreen and methods for preparation and use | |
| JPH01502699A (ja) | 紫外線被曝を可視化したフィルム及び紫外線被曝量測定部材 | |
| US20200149960A1 (en) | Sensing of solar ultraviolet radiation by wearable colorimetry | |
| DE2518568A1 (de) | Sonnenbranddosimeter | |
| US20050285050A1 (en) | Sun sensor, an article incorporating the sun sensor and methods of preparation and use | |
| RS20050639A (sr) | Uv-stabilni transdermalni flasteri | |
| AU668279B2 (en) | Gamma radiation detection | |
| US4826772A (en) | Ethylene oxide monitoring device | |
| EP0325863A2 (en) | Multi-color ultraviolet radiation measurement device | |
| WO2008144541A1 (en) | Compositions and devices for uv dosage indication | |
| Davis et al. | A personal dosimeter for biologically effective solar UV‐B radiation | |
| WO2001042747A2 (en) | Dosimeter for sun radiation for use with sunscreen lotion | |
| Keshavarzi et al. | In vitro skin model for characterization of sunscreen substantivity upon perspiration | |
| CN106974422A (zh) | 光感化妆模块 | |
| US20210156739A1 (en) | Wearable UV Exposure Sensor | |
| US6646273B2 (en) | Sun exposure and radiation dosimeter | |
| JP3490677B2 (ja) | サンスクリーン剤の性能評価方法 | |
| CN205685901U (zh) | 一种美白防晒监控提示装置 | |
| JP2006071580A (ja) | 紫外線測定器具 |
Legal Events
| Date | Code | Title | Description |
|---|---|---|---|
| PUAI | Public reference made under article 153(3) epc to a published international application that has entered the european phase |
Free format text: ORIGINAL CODE: 0009012 |
|
| AK | Designated contracting states |
Kind code of ref document: A1 Designated state(s): AT BE CH CY DE DK ES FI FR GB GR IE IT LI LU MC NL PT SE TR |
|
| AX | Request for extension of the european patent |
Free format text: AL;LT;LV;MK;RO;SI |
|
| AKX | Designation fees paid | ||
| REG | Reference to a national code |
Ref country code: DE Ref legal event code: 8566 |
|
| STAA | Information on the status of an ep patent application or granted ep patent |
Free format text: STATUS: THE APPLICATION IS DEEMED TO BE WITHDRAWN |
|
| 18D | Application deemed to be withdrawn |
Effective date: 20030301 |