EP1155971A2 - Behälteranordnung - Google Patents

Behälteranordnung Download PDF

Info

Publication number
EP1155971A2
EP1155971A2 EP01304361A EP01304361A EP1155971A2 EP 1155971 A2 EP1155971 A2 EP 1155971A2 EP 01304361 A EP01304361 A EP 01304361A EP 01304361 A EP01304361 A EP 01304361A EP 1155971 A2 EP1155971 A2 EP 1155971A2
Authority
EP
European Patent Office
Prior art keywords
lid
container
mouth
ingredient
unit
Prior art date
Legal status (The legal status is an assumption and is not a legal conclusion. Google has not performed a legal analysis and makes no representation as to the accuracy of the status listed.)
Withdrawn
Application number
EP01304361A
Other languages
English (en)
French (fr)
Other versions
EP1155971A3 (de
Inventor
David Horner
Current Assignee (The listed assignees may be inaccurate. Google has not performed a legal analysis and makes no representation or warranty as to the accuracy of the list.)
AUTOBAR GROUP Ltd
Original Assignee
AUTOBAR GROUP Ltd
Priority date (The priority date is an assumption and is not a legal conclusion. Google has not performed a legal analysis and makes no representation as to the accuracy of the date listed.)
Filing date
Publication date
Application filed by AUTOBAR GROUP Ltd filed Critical AUTOBAR GROUP Ltd
Publication of EP1155971A2 publication Critical patent/EP1155971A2/de
Publication of EP1155971A3 publication Critical patent/EP1155971A3/de
Withdrawn legal-status Critical Current

Links

Images

Classifications

    • BPERFORMING OPERATIONS; TRANSPORTING
    • B65CONVEYING; PACKING; STORING; HANDLING THIN OR FILAMENTARY MATERIAL
    • B65DCONTAINERS FOR STORAGE OR TRANSPORT OF ARTICLES OR MATERIALS, e.g. BAGS, BARRELS, BOTTLES, BOXES, CANS, CARTONS, CRATES, DRUMS, JARS, TANKS, HOPPERS, FORWARDING CONTAINERS; ACCESSORIES, CLOSURES, OR FITTINGS THEREFOR; PACKAGING ELEMENTS; PACKAGES
    • B65D81/00Containers, packaging elements, or packages, for contents presenting particular transport or storage problems, or adapted to be used for non-packaging purposes after removal of contents
    • B65D81/32Containers, packaging elements, or packages, for contents presenting particular transport or storage problems, or adapted to be used for non-packaging purposes after removal of contents for packaging two or more different materials which must be maintained separate prior to use in admixture
    • B65D81/3216Rigid containers disposed one within the other
    • BPERFORMING OPERATIONS; TRANSPORTING
    • B65CONVEYING; PACKING; STORING; HANDLING THIN OR FILAMENTARY MATERIAL
    • B65DCONTAINERS FOR STORAGE OR TRANSPORT OF ARTICLES OR MATERIALS, e.g. BAGS, BARRELS, BOTTLES, BOXES, CANS, CARTONS, CRATES, DRUMS, JARS, TANKS, HOPPERS, FORWARDING CONTAINERS; ACCESSORIES, CLOSURES, OR FITTINGS THEREFOR; PACKAGING ELEMENTS; PACKAGES
    • B65D43/00Lids or covers for rigid or semi-rigid containers
    • B65D43/02Removable lids or covers
    • B65D43/0202Removable lids or covers without integral tamper element
    • B65D43/0204Removable lids or covers without integral tamper element secured by snapping over beads or projections
    • B65D43/0212Removable lids or covers without integral tamper element secured by snapping over beads or projections only on the outside, or a part turned to the outside, of the mouth
    • BPERFORMING OPERATIONS; TRANSPORTING
    • B65CONVEYING; PACKING; STORING; HANDLING THIN OR FILAMENTARY MATERIAL
    • B65DCONTAINERS FOR STORAGE OR TRANSPORT OF ARTICLES OR MATERIALS, e.g. BAGS, BARRELS, BOTTLES, BOXES, CANS, CARTONS, CRATES, DRUMS, JARS, TANKS, HOPPERS, FORWARDING CONTAINERS; ACCESSORIES, CLOSURES, OR FITTINGS THEREFOR; PACKAGING ELEMENTS; PACKAGES
    • B65D51/00Closures not otherwise provided for
    • B65D51/24Closures not otherwise provided for combined or co-operating with auxiliary devices for non-closing purposes
    • B65D51/28Closures not otherwise provided for combined or co-operating with auxiliary devices for non-closing purposes with auxiliary containers for additional articles or materials
    • BPERFORMING OPERATIONS; TRANSPORTING
    • B65CONVEYING; PACKING; STORING; HANDLING THIN OR FILAMENTARY MATERIAL
    • B65DCONTAINERS FOR STORAGE OR TRANSPORT OF ARTICLES OR MATERIALS, e.g. BAGS, BARRELS, BOTTLES, BOXES, CANS, CARTONS, CRATES, DRUMS, JARS, TANKS, HOPPERS, FORWARDING CONTAINERS; ACCESSORIES, CLOSURES, OR FITTINGS THEREFOR; PACKAGING ELEMENTS; PACKAGES
    • B65D2543/00Lids or covers essentially for box-like containers
    • B65D2543/00009Details of lids or covers for rigid or semi-rigid containers
    • B65D2543/00018Overall construction of the lid
    • B65D2543/00027Stackable lids or covers
    • BPERFORMING OPERATIONS; TRANSPORTING
    • B65CONVEYING; PACKING; STORING; HANDLING THIN OR FILAMENTARY MATERIAL
    • B65DCONTAINERS FOR STORAGE OR TRANSPORT OF ARTICLES OR MATERIALS, e.g. BAGS, BARRELS, BOTTLES, BOXES, CANS, CARTONS, CRATES, DRUMS, JARS, TANKS, HOPPERS, FORWARDING CONTAINERS; ACCESSORIES, CLOSURES, OR FITTINGS THEREFOR; PACKAGING ELEMENTS; PACKAGES
    • B65D2543/00Lids or covers essentially for box-like containers
    • B65D2543/00009Details of lids or covers for rigid or semi-rigid containers
    • B65D2543/00018Overall construction of the lid
    • B65D2543/00064Shape of the outer periphery
    • B65D2543/00074Shape of the outer periphery curved
    • B65D2543/00092Shape of the outer periphery curved circular
    • BPERFORMING OPERATIONS; TRANSPORTING
    • B65CONVEYING; PACKING; STORING; HANDLING THIN OR FILAMENTARY MATERIAL
    • B65DCONTAINERS FOR STORAGE OR TRANSPORT OF ARTICLES OR MATERIALS, e.g. BAGS, BARRELS, BOTTLES, BOXES, CANS, CARTONS, CRATES, DRUMS, JARS, TANKS, HOPPERS, FORWARDING CONTAINERS; ACCESSORIES, CLOSURES, OR FITTINGS THEREFOR; PACKAGING ELEMENTS; PACKAGES
    • B65D2543/00Lids or covers essentially for box-like containers
    • B65D2543/00009Details of lids or covers for rigid or semi-rigid containers
    • B65D2543/00018Overall construction of the lid
    • B65D2543/00259Materials used
    • B65D2543/00296Plastic
    • BPERFORMING OPERATIONS; TRANSPORTING
    • B65CONVEYING; PACKING; STORING; HANDLING THIN OR FILAMENTARY MATERIAL
    • B65DCONTAINERS FOR STORAGE OR TRANSPORT OF ARTICLES OR MATERIALS, e.g. BAGS, BARRELS, BOTTLES, BOXES, CANS, CARTONS, CRATES, DRUMS, JARS, TANKS, HOPPERS, FORWARDING CONTAINERS; ACCESSORIES, CLOSURES, OR FITTINGS THEREFOR; PACKAGING ELEMENTS; PACKAGES
    • B65D2543/00Lids or covers essentially for box-like containers
    • B65D2543/00009Details of lids or covers for rigid or semi-rigid containers
    • B65D2543/00342Central part of the lid
    • B65D2543/00351Dome-like
    • BPERFORMING OPERATIONS; TRANSPORTING
    • B65CONVEYING; PACKING; STORING; HANDLING THIN OR FILAMENTARY MATERIAL
    • B65DCONTAINERS FOR STORAGE OR TRANSPORT OF ARTICLES OR MATERIALS, e.g. BAGS, BARRELS, BOTTLES, BOXES, CANS, CARTONS, CRATES, DRUMS, JARS, TANKS, HOPPERS, FORWARDING CONTAINERS; ACCESSORIES, CLOSURES, OR FITTINGS THEREFOR; PACKAGING ELEMENTS; PACKAGES
    • B65D2543/00Lids or covers essentially for box-like containers
    • B65D2543/00009Details of lids or covers for rigid or semi-rigid containers
    • B65D2543/00342Central part of the lid
    • B65D2543/00398Reinforcing ribs in the central part of the closure
    • B65D2543/00407Reinforcing ribs in the central part of the closure radial
    • BPERFORMING OPERATIONS; TRANSPORTING
    • B65CONVEYING; PACKING; STORING; HANDLING THIN OR FILAMENTARY MATERIAL
    • B65DCONTAINERS FOR STORAGE OR TRANSPORT OF ARTICLES OR MATERIALS, e.g. BAGS, BARRELS, BOTTLES, BOXES, CANS, CARTONS, CRATES, DRUMS, JARS, TANKS, HOPPERS, FORWARDING CONTAINERS; ACCESSORIES, CLOSURES, OR FITTINGS THEREFOR; PACKAGING ELEMENTS; PACKAGES
    • B65D2543/00Lids or covers essentially for box-like containers
    • B65D2543/00009Details of lids or covers for rigid or semi-rigid containers
    • B65D2543/00444Contact between the container and the lid
    • B65D2543/00481Contact between the container and the lid on the inside or the outside of the container
    • B65D2543/0049Contact between the container and the lid on the inside or the outside of the container on the inside, or a part turned to the inside of the mouth of the container
    • B65D2543/00527NO contact
    • BPERFORMING OPERATIONS; TRANSPORTING
    • B65CONVEYING; PACKING; STORING; HANDLING THIN OR FILAMENTARY MATERIAL
    • B65DCONTAINERS FOR STORAGE OR TRANSPORT OF ARTICLES OR MATERIALS, e.g. BAGS, BARRELS, BOTTLES, BOXES, CANS, CARTONS, CRATES, DRUMS, JARS, TANKS, HOPPERS, FORWARDING CONTAINERS; ACCESSORIES, CLOSURES, OR FITTINGS THEREFOR; PACKAGING ELEMENTS; PACKAGES
    • B65D2543/00Lids or covers essentially for box-like containers
    • B65D2543/00009Details of lids or covers for rigid or semi-rigid containers
    • B65D2543/00444Contact between the container and the lid
    • B65D2543/00481Contact between the container and the lid on the inside or the outside of the container
    • B65D2543/00537Contact between the container and the lid on the inside or the outside of the container on the outside, or a part turned to the outside of the mouth of the container
    • BPERFORMING OPERATIONS; TRANSPORTING
    • B65CONVEYING; PACKING; STORING; HANDLING THIN OR FILAMENTARY MATERIAL
    • B65DCONTAINERS FOR STORAGE OR TRANSPORT OF ARTICLES OR MATERIALS, e.g. BAGS, BARRELS, BOTTLES, BOXES, CANS, CARTONS, CRATES, DRUMS, JARS, TANKS, HOPPERS, FORWARDING CONTAINERS; ACCESSORIES, CLOSURES, OR FITTINGS THEREFOR; PACKAGING ELEMENTS; PACKAGES
    • B65D2543/00Lids or covers essentially for box-like containers
    • B65D2543/00009Details of lids or covers for rigid or semi-rigid containers
    • B65D2543/00444Contact between the container and the lid
    • B65D2543/00592Snapping means
    • B65D2543/00601Snapping means on the container
    • B65D2543/00611Profiles
    • B65D2543/00648Flange or lip
    • BPERFORMING OPERATIONS; TRANSPORTING
    • B65CONVEYING; PACKING; STORING; HANDLING THIN OR FILAMENTARY MATERIAL
    • B65DCONTAINERS FOR STORAGE OR TRANSPORT OF ARTICLES OR MATERIALS, e.g. BAGS, BARRELS, BOTTLES, BOXES, CANS, CARTONS, CRATES, DRUMS, JARS, TANKS, HOPPERS, FORWARDING CONTAINERS; ACCESSORIES, CLOSURES, OR FITTINGS THEREFOR; PACKAGING ELEMENTS; PACKAGES
    • B65D2543/00Lids or covers essentially for box-like containers
    • B65D2543/00009Details of lids or covers for rigid or semi-rigid containers
    • B65D2543/00444Contact between the container and the lid
    • B65D2543/00592Snapping means
    • B65D2543/00601Snapping means on the container
    • B65D2543/00675Periphery concerned
    • B65D2543/00685Totality
    • BPERFORMING OPERATIONS; TRANSPORTING
    • B65CONVEYING; PACKING; STORING; HANDLING THIN OR FILAMENTARY MATERIAL
    • B65DCONTAINERS FOR STORAGE OR TRANSPORT OF ARTICLES OR MATERIALS, e.g. BAGS, BARRELS, BOTTLES, BOXES, CANS, CARTONS, CRATES, DRUMS, JARS, TANKS, HOPPERS, FORWARDING CONTAINERS; ACCESSORIES, CLOSURES, OR FITTINGS THEREFOR; PACKAGING ELEMENTS; PACKAGES
    • B65D2543/00Lids or covers essentially for box-like containers
    • B65D2543/00009Details of lids or covers for rigid or semi-rigid containers
    • B65D2543/00444Contact between the container and the lid
    • B65D2543/00592Snapping means
    • B65D2543/00712Snapping means on the lid
    • B65D2543/00722Profiles
    • B65D2543/00731Groove or hollow bead
    • BPERFORMING OPERATIONS; TRANSPORTING
    • B65CONVEYING; PACKING; STORING; HANDLING THIN OR FILAMENTARY MATERIAL
    • B65DCONTAINERS FOR STORAGE OR TRANSPORT OF ARTICLES OR MATERIALS, e.g. BAGS, BARRELS, BOTTLES, BOXES, CANS, CARTONS, CRATES, DRUMS, JARS, TANKS, HOPPERS, FORWARDING CONTAINERS; ACCESSORIES, CLOSURES, OR FITTINGS THEREFOR; PACKAGING ELEMENTS; PACKAGES
    • B65D2543/00Lids or covers essentially for box-like containers
    • B65D2543/00009Details of lids or covers for rigid or semi-rigid containers
    • B65D2543/00444Contact between the container and the lid
    • B65D2543/00592Snapping means
    • B65D2543/00712Snapping means on the lid
    • B65D2543/00787Periphery concerned
    • B65D2543/00805Segments

Definitions

  • the present invention relates to a container unit for containing ingredients for a food, drink or other product in separate compartments preparatory to mixing together or with another ingredient to produce the resulting product.
  • the unit may comprise a disposable drinking cup to which the ingredient(s) from the ingredient compartment(s) may be added for the purposes of preparing a preselected drink.
  • the container unit may, for example, be a noodles container and the or each ingredient compartment may contain a sauce or other additive to be mixed with the noodles in the noodle container preparatory to consumption of the noodles.
  • the present invention consists in a container unit comprising an outer container having a mouth, a lid closing the mouth of the outer container and an inner container disposed at least partially within the mouth of the outer container and having its mouth also closed by the lid.
  • the inner container of the unit may be filled with an ingredient and be assembled to the outer container with the lid closing the mouths of both containers.
  • the lid is removed from the unit and the ingredient in the inner container is poured into the outer container and mixed with the contents.
  • the outer container may be reclosed by attaching the lid to the outer container mouth, thereby enabling the outer container to be shaken to mix the contents.
  • the lid may be a hollow lid having a cavity on its inside for containing a further ingredient and the open inside of the lid may be sealed with metal or plastics foil to maintain the ingredient within the cavity of the lid and preserve it until required for mixing.
  • the lid has latching means engageable with a rim about the mouth of the outer container to retain the lid in position on the unit.
  • the lid may have secondary latching means engageable with a rim about the mouth of the inner container so that the lid supports the inner container within the outer container when fitted to the latter.
  • the lid is adapted to seal the mouths of the outer and inner containers and has endless sealing surfaces which respectively engage the rims about the container mouths when the latching means are engaged.
  • the sealing foil may be sealed about its periphery to the sealing surface which cooperates with the rim of the inner container.
  • the containers and lids are formed as thin walled seamless products from sheet plastics material and they are designed so as to be separately stackable in nested relation, for storage and transportation purposes, prior to assembly of the container units.
  • the containers may comprise sidewalls extending upwardly and generally outwardly from the bottom walls of the containers to the mouths at the tops of the containers.
  • the side walls of the containers may be formed with external and internal stacking solders such that, when the containers are stacked, the external stacking shoulder of an upper container in a stack rests on the internal stacking shoulder of the next lower container in the stack in order to resist full insertion of the upper container into the lower container.
  • the endless sealing surfaces of the lids may form stacking shoulders externally of the lids which, when the lids are stacked in nested relation, engage internal side wall or skirt portions of the adjacent lids in order to resist compaction of the stack of lids.
  • the container unit is of circular cross section and the lid is of dome shape so as to form an ingredient cavity on the inside of the lid, which may be sealed with foil to retain an ingredient therein, before the lid is assembled to the outer and inner containers to enclose the mouths thereof.
  • the present invention also consists in a lid for closing the mouth of an outer container and which is adapted also to support an inner container at least partially within the mouth of the outer container when fitted to the latter.
  • the lid is a hollow lid having a cavity on its inside which is adapted to be sealed by metal or plastics foil in order to serve as a sealed ingredient compartment.
  • the container unit 1 is a disposable unit comprising an outer container 30 in the form of a cup or pot, an inner container 20 which is also a cup or pot, and a hollow lid 10.
  • the outer and inner cups 30, 20 and the lid 10 are of circular cross section and are thermoformed from sheet plastics material as thin walled seamless products.
  • the outer cup 30 has a sidewall 31 extending upwardly and outwardly from a bottom wall 32 to a mouth 33 at its top.
  • the mouth 33 is surrounded by a rim flange 39 projecting radially outwardly from the top of the sidewall 31 of the outer cup.
  • Moulded in the sidewall 31 adjacent the bottom wall 32 is an internal stacking shoulder formed by an upwardly facing annular shoulder 40.
  • the peripheral edge of the bottom wall 32 serves as an external stacking shoulder.
  • the inner cup 20 is of a smaller diameter than the outer cup 30 and comprises a bottom wall 22 and a sidewall 21 extending upwardly and generally outwardly from the bottom wall 22 to a mouth 23 at the top of the inner cup 20.
  • a rim flange 24 projects radially outwardly from the top of the inner cup sidewall 21 about the mouth 23 and below this rim, the sidewall 21 is formed with a narrow, annular, vertical wall section which terminates in equally spaced external stacking shoulders 25.
  • the inner edge of the rim 24 serves as an internal stacking shoulder.
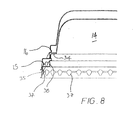
  • the hollow lid 10 is generally of a dome shape having a top wall 11 and a skirt joined to the top wall by a radiused section so as to form a cavity 14 on its inside for the purpose of storing ingredients.
  • the skirt terminates in two stepped annular portions 16, 15 which define upper and lower endless sealing surfaces 34, 35 internally of the lid for cooperating respectively with the rim flanges 24, 39 of the cups 20, 30 (see Figures 6 and 8).
  • the outwardly projecting radial shoulders of the stepped portions serve as external stacking shoulders.
  • the skirt portion of the lid is formed with an array of hollow protuberances 37 projecting inwardly of the skirt and serving as latching means for engaging with the rim flange 39 of the outer cup 30.
  • cavities 38 Formed on the outside of the skirt, between the upper and lower sealing surfaces 34, 35, are inwardly projecting cavities 38 which serve as latching means for engaging with the rim flange 24 of the inner cup 20. Both these sets of cavities and protuberances 38, 37 enable inner and outer cups of different diameters to be individually latched to the lid 10 and also serve to strengthen the skirt.
  • the outer cups 30, inner cups 20 and lids 10 may be stacked separately prior to use for transportation and storage purposes.
  • the external stacking shoulder 25, 32 of an upper cup engages the internal stacking shoulder 24, 40 of the next lower cup with which it is nested so as to resist insertion of the upper cup into the lower cup and avoid the cups wedging together.
  • the external stacking shoulders 34, 35 of a lower lid engages the internal protuberances 38, 37 of the next lid in order to resist compaction of the stacked lids.
  • the cavity 14 in the lid 10 may be filled with an ingredient, for example, suitable for preparing a drink, and the open inside may be sealed to retain and preserve the ingredient therein by heat sealing a foil made from suitable material, such as aluminum, to the first sealing surface 34 of the lid 10.
  • the lid 10 is then clipped or snapped on to the inner cup 20, which may be filled with a further ingredient, so as to close the mouth of the inner cup 20 (see Figure 3), the protuberances 38 of the lid latching with the rim flange 24 of the inner cup 20 so as to retain the lid 10 in position on the inner cup 20, as shown in Figure 6.
  • the sealing foil attached to the lid 10 seats against the top surface of the rim flange 24 of the inner cup 20 so as to provide a seal between the lid 10 and the inner cup 20 and help preserve any further ingredients in the inner cup 20.
  • the lid 10 is then clipped or snapped on to the outer cup 30 so as to close the mouth 33 of the outer cup 30, the outer cup 30 being optionally filled with yet a further ingredient prior to assembling the lid 10 to the outer cup 30.
  • the protuberances 37 of the lid 10 clip over the rim flange 39 of the outer cup 30 so as to retain the lower sealing surface 35 of the lid 10 against the top surface of the rim flange 39 of the outer cup 30 and thereby provide a seal between the lid 10 and the outer cup 30 and retain the lid 10 in position.
  • the lid 10 is removed from the mouth 33 of the outer cup 30 ( Figure 7) and then from the mouth 23 of the inner cup 20 and the ingredients stored in the inner cup 20 are poured into the outer cup 30 and mixed with the contents of the outer cup 30.
  • the ingredient stored in the cavity 14 of the lid 10 may be mixed with the contents of the outer cup 30 either before or after adding any ingredient from the inner cup 20 to the contents of the outer cup 30.
  • the foil seal is removed from the open inside of the lid 10 and the ingredient stored in the cavity 14 of the lid 10 is poured into the outer cup 30 and mixed with the contents in the outer cup 30.
  • the lid 10 may then be refitted to the mouth 33 of the outer cup 30, whereupon the cup 30 may be shaken to mix the contents.

Landscapes

  • Engineering & Computer Science (AREA)
  • Mechanical Engineering (AREA)
  • Closures For Containers (AREA)
  • Packages (AREA)
EP01304361A 2000-05-18 2001-05-16 Behälteranordnung Withdrawn EP1155971A3 (de)

Applications Claiming Priority (2)

Application Number Priority Date Filing Date Title
GB0012044 2000-05-18
GB0012044A GB0012044D0 (en) 2000-05-18 2000-05-18 Container unit

Publications (2)

Publication Number Publication Date
EP1155971A2 true EP1155971A2 (de) 2001-11-21
EP1155971A3 EP1155971A3 (de) 2003-11-05

Family

ID=9891875

Family Applications (1)

Application Number Title Priority Date Filing Date
EP01304361A Withdrawn EP1155971A3 (de) 2000-05-18 2001-05-16 Behälteranordnung

Country Status (2)

Country Link
EP (1) EP1155971A3 (de)
GB (1) GB0012044D0 (de)

Cited By (6)

* Cited by examiner, † Cited by third party
Publication number Priority date Publication date Assignee Title
FR2843941A1 (fr) * 2002-09-02 2004-03-05 Richaud Christophe Barbe Dispositif de conditionnement des ingredients d'une emulsion alimentaire
GB2396854A (en) * 2002-12-09 2004-07-07 United Biscuits Ltd Food container having compartments
US8828170B2 (en) 2010-03-04 2014-09-09 Pactiv LLC Apparatus and method for manufacturing reinforced containers
CN106364790A (zh) * 2016-11-16 2017-02-01 光明乳业股份有限公司 一种杯盖
CN107554955A (zh) * 2017-09-28 2018-01-09 曼盛包装(上海)有限公司 一种用在乳制品容器的内置辅料胶囊的塑料罩盖
CN111686356A (zh) * 2020-06-19 2020-09-22 成都利泽科技有限公司 一种快旋式湿化瓶

Families Citing this family (6)

* Cited by examiner, † Cited by third party
Publication number Priority date Publication date Assignee Title
US7694843B2 (en) 2005-05-27 2010-04-13 Prairie Packaging, Inc. Reinforced plastic foam cup, method of and apparatus for manufacturing same
US7704347B2 (en) 2005-05-27 2010-04-27 Prairie Packaging, Inc. Reinforced plastic foam cup, method of and apparatus for manufacturing same
US7818866B2 (en) 2005-05-27 2010-10-26 Prairie Packaging, Inc. Method of reinforcing a plastic foam cup
US7814647B2 (en) 2005-05-27 2010-10-19 Prairie Packaging, Inc. Reinforced plastic foam cup, method of and apparatus for manufacturing same
US7536767B2 (en) 2005-05-27 2009-05-26 Prairie Packaging, Inc. Method of manufacturing a reinforced plastic foam cup
US7552841B2 (en) 2005-05-27 2009-06-30 Prairie Packaging, Inc. Reinforced plastic foam cup, method of and apparatus for manufacturing same

Family Cites Families (6)

* Cited by examiner, † Cited by third party
Publication number Priority date Publication date Assignee Title
NL7413077A (nl) * 1974-10-03 1976-04-06 Leer Koninklijke Emballage Houder met schroefdop.
GB2126978B (en) * 1982-09-14 1986-03-05 Hermetite Products Limited Compartmented containers
FR2631315A3 (fr) * 1988-05-11 1989-11-17 Universal Plastic Pack Emballage en matiere plastique
WO1990008710A1 (en) * 1989-02-03 1990-08-09 Steve's Homemade Ice Cream, Inc. Frozen ice cream cup with invertible lid for hot sundae topping
FR2691438A1 (fr) * 1992-05-20 1993-11-26 Superfos Emballage As Ensemble de conditionnement comportant un compartiment additionnel pour le stockage d'accessoires ou produits divers complémentaires du produit principal conditionné.
US5255812A (en) * 1992-07-01 1993-10-26 Hsu Yu T Container cap

Cited By (11)

* Cited by examiner, † Cited by third party
Publication number Priority date Publication date Assignee Title
FR2843941A1 (fr) * 2002-09-02 2004-03-05 Richaud Christophe Barbe Dispositif de conditionnement des ingredients d'une emulsion alimentaire
WO2004020293A3 (fr) * 2002-09-02 2004-04-08 Christophe Barbe-Richaud Dispositif de conditionnement des ingredients d'une composition alimentaire
GB2396854A (en) * 2002-12-09 2004-07-07 United Biscuits Ltd Food container having compartments
GB2396854B (en) * 2002-12-09 2006-01-11 United Biscuits Ltd Dual-compartment food packaging
US8828170B2 (en) 2010-03-04 2014-09-09 Pactiv LLC Apparatus and method for manufacturing reinforced containers
US9676141B2 (en) 2010-03-04 2017-06-13 Pactiv LLC Apparatus and method for manufacturing reinforced containers
CN106364790A (zh) * 2016-11-16 2017-02-01 光明乳业股份有限公司 一种杯盖
CN106364790B (zh) * 2016-11-16 2018-11-23 光明乳业股份有限公司 一种杯盖
CN107554955A (zh) * 2017-09-28 2018-01-09 曼盛包装(上海)有限公司 一种用在乳制品容器的内置辅料胶囊的塑料罩盖
CN111686356A (zh) * 2020-06-19 2020-09-22 成都利泽科技有限公司 一种快旋式湿化瓶
CN111686356B (zh) * 2020-06-19 2023-01-20 成都利泽科技有限公司 一种快旋式湿化瓶

Also Published As

Publication number Publication date
EP1155971A3 (de) 2003-11-05
GB0012044D0 (en) 2000-07-05

Similar Documents

Publication Publication Date Title
CA2522230C (en) Container and lid with multiple chambers and related methods
US10994898B2 (en) Container assembly
US9723938B2 (en) Nesting and reconfigurable wine glass
US9155410B2 (en) Nesting and reconfigurable wine glass
US20170245666A1 (en) Nesting and reconfigurable wine glass
US20050051549A1 (en) Dual separable containers
EP1155971A2 (de) Behälteranordnung
US8684218B1 (en) Multi-compartment, suction-capable vessel
US3327895A (en) Nestable plastic container
US20170021966A1 (en) Container offering multiple configurations
CA2578918A1 (en) Consumables container with nested insert
US8939310B1 (en) Multi-compartment vessel
GB2363776A (en) Invertable lid for containing an ingredient
US20080000795A1 (en) Stackable containers
CA2966777A1 (en) Container cup package
EP1533245A1 (de) Behälter für Lebensmittelprodukte
US20240270444A1 (en) Expandable and Collapsible Lid System and Method
US20050194383A1 (en) Pail assembly for two materials
WO2007056573A2 (en) Interleaved containers with a single lid
RU222962U1 (ru) Крышка емкости с соусницей
JPS6147085B2 (de)
WO1996000178A1 (en) Container
WO2004096657A1 (en) Lids for drinking cups
GB1603713A (en) Stackable containers suitable for packaging foodstuffs
CA2902111A1 (en) Nesting and reconfigurable wine glass

Legal Events

Date Code Title Description
PUAI Public reference made under article 153(3) epc to a published international application that has entered the european phase

Free format text: ORIGINAL CODE: 0009012

AK Designated contracting states

Kind code of ref document: A2

Designated state(s): AT BE CH CY DE DK ES FI FR GB GR IE IT LI LU MC NL PT SE TR

AX Request for extension of the european patent

Free format text: AL;LT;LV;MK;RO;SI

PUAL Search report despatched

Free format text: ORIGINAL CODE: 0009013

AK Designated contracting states

Kind code of ref document: A3

Designated state(s): AT BE CH CY DE DK ES FI FR GB GR IE IT LI LU MC NL PT SE TR

AX Request for extension of the european patent

Extension state: AL LT LV MK RO SI

RIC1 Information provided on ipc code assigned before grant

Ipc: 7B 65D 43/02 B

Ipc: 7B 65D 81/32 B

Ipc: 7B 65D 51/28 A

AKX Designation fees paid
REG Reference to a national code

Ref country code: DE

Ref legal event code: 8566

STAA Information on the status of an ep patent application or granted ep patent

Free format text: STATUS: THE APPLICATION IS DEEMED TO BE WITHDRAWN

18D Application deemed to be withdrawn

Effective date: 20040506