EP1069485A2 - Alarm clock, in particular radio alarm with digital display - Google Patents
Alarm clock, in particular radio alarm with digital display Download PDFInfo
- Publication number
- EP1069485A2 EP1069485A2 EP00113969A EP00113969A EP1069485A2 EP 1069485 A2 EP1069485 A2 EP 1069485A2 EP 00113969 A EP00113969 A EP 00113969A EP 00113969 A EP00113969 A EP 00113969A EP 1069485 A2 EP1069485 A2 EP 1069485A2
- Authority
- EP
- European Patent Office
- Prior art keywords
- alarm clock
- alarm
- time
- switch
- housing
- Prior art date
- Legal status (The legal status is an assumption and is not a legal conclusion. Google has not performed a legal analysis and makes no representation as to the accuracy of the status listed.)
- Withdrawn
Links
Images
Classifications
-
- G—PHYSICS
- G04—HOROLOGY
- G04C—ELECTROMECHANICAL CLOCKS OR WATCHES
- G04C3/00—Electromechanical clocks or watches independent of other time-pieces and in which the movement is maintained by electric means
- G04C3/001—Electromechanical switches for setting or display
-
- G—PHYSICS
- G04—HOROLOGY
- G04C—ELECTROMECHANICAL CLOCKS OR WATCHES
- G04C21/00—Producing acoustic time signals by electrical means
- G04C21/16—Producing acoustic time signals by electrical means producing the signals at adjustable fixed times
Definitions
- the invention relates to alarm clocks, in particular as they operate as digitally displaying battery operated Radio alarm clock under the EUROCHRON model numbers 122 / 209x on the Are and because of the precise adjustability of the wake-up time, i.e. the signaling time when there is radio-accurate signaling please delight.
- such a radio alarm clock is characterized by the fact that all operating switches as a push button switch on the visible side, i.e. in the front level of the watch case, around the digital display are arranged around.
- This is usually under the display a switch group for the alarm time setting and on both sides next to the switch for the signaling activation, namely on the one hand around the operating switch for arming / switching off the alarm function (e.g. over the weekend) and on the other hand around the Day switch for signal termination only until the next time the specified one is reached Wake-up time (i.e. 24 hours later).
- the display also in the visible front surface of the radio alarm clock, one is particularly wider compared to the others Key switch for the snooze or repeat function (i.e. for the temporary interruption signaling) while temporarily turning on one like that Radio clock mechanism arranged from the same battery powered display lighting.
- the object of the invention is to achieve the acceptance of such a radio alarm clock Promotion of user-friendliness, especially when the operating time is still longer with only one battery to further increase.
- the involuntary triggering of the Repeat function by the particularly easy-to-use long button in the front surface of the radio alarm leads to the time to get used to a systematic misuse of the alarm clock, namely to the repeated postponement of the specified point in time with the repeated repetition of switching on the lighting, which is usually not required at all each time a particularly strong additional load on the battery and can therefore quickly lead to its malfunction if the battery is already weak as a result of temporarily insufficient supply of the signal processor of the radio alarm clock.
- the repeat function (with its usual coupling) a temporary lighting switch) instead to the field of the less frequently operated, less accessible, because horizontally operated push button switches in the front of the watch case.
- the day switch is not just a light, already sensor-responsive push button but a push button that can be actuated via a noticeable, considerable path, which also not only triggers an acoustic actuation confirmation, but also provides a tactile acknowledgment, i.e. with an audible and also manually noticeable click function.
- This can be achieved by deforming a mechanical snap element in the course of depressing the switch, as such as one Jumping frog "function is known, or for example by means of an elastically inverting rubber bead, as described in more detail for a signal switch in DE-OS 3421319, for example.
- a more cost-effective implementation results when a button in the housing roof, which can be pivoted or retracted, is pressed against one of the above day switches
- the commercially available push-button switch arranged on the circuit board works, the internal spring-elastic return stroke of which also leads to the lifting of the externally accessible button supported on it If this switch is actuated while the signal is being sent, the appointment signal just sounding switches off.
- the above-mentioned changeover is also carried out via this Switch by operating it while signals are not sounding.
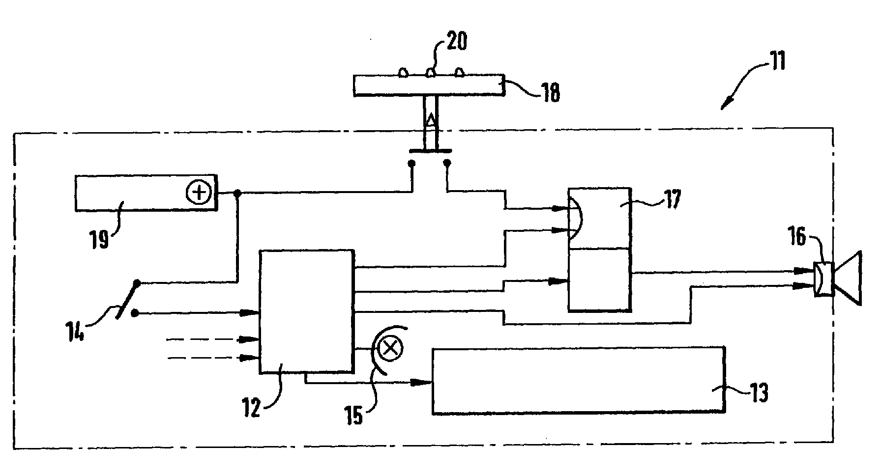
- the alarm clock 11 symbolically illustrated in the drawing is preferably a radio alarm clock with a signal processor (clock processor 12), which on the one hand an autonomous time-keeping circuit and on the other hand a demodulator and in particular implemented a decoder for received time telegrams on the basis of which corrected the time display advanced from the internal timer if necessary becomes, as is known from the technology of JUNGHANS radio clocks.
- clock processor 12 an autonomous time-keeping circuit and on the other hand a demodulator and in particular implemented a decoder for received time telegrams on the basis of which corrected the time display advanced from the internal timer if necessary becomes, as is known from the technology of JUNGHANS radio clocks.
- the time display can done digitally in a display 13 and / or analogously on a dial (not outlined); at least the value of one that can be specified manually to the minute in a 24-hour cycle
- Signaling time can be shown on the display 13, namely on the one hand during the manual change of the signaling time and on the other hand on call or at Focused alarm clock to display the currently set signaling or wake-up time.
- the corresponding manual input options are shown with dashed lines Arrows symbolized on the clock processor 12.
- a repeat switch 14 is connected to the clock processor 12, in which as with the other switches (not shown) around a push button next to the Display 13 is in the visible front of the housing of the alarm clock 11.
- This Repeat switch 14 also serves, in the usual way, to temporarily switch on one Miniature incandescent lamp (light source 15) for the electrical illumination of the display 13.
- the clock processor 12 also supplies an acoustically perceptible signal frequency to one electroacoustic transducer 16, but which only responds when one Switching stage 17 is set active (which is drawn out separately for clarity in the drawing is, but in practice also implemented as a logical function in the clock processor 12 as well as the AND function symbolically illustrated at the input of the converter 16).
- the actuation of the daytime switch 18 (according to the invention, which is now easy to reach in the middle area on the surface of the housing of the alarm clock 11 and which, in contrast to the push-button switches in the front of the housing, has a large movement stroke) ( 24 h off ”) serving pushbutton during a current signal resetting the switching stage 17 until the clock processor 12 (almost 24 hours later) determines the next reaching of the wake-up time specified in the 24-hour format and activates the converter 16 again via the switching stage 17
- An actuation of the user-friendly day switch 18 located on the alarm clock housing only results in the interruption of the signaling until the next time the signaling time is reached, no additional load on the battery 19, in particular by the light source 15.
- this is not only conspicuous with one clear actuation stroke, but preferably also with a clear mechanical Pressure point, with an acoustic acknowledgment signal and / or with a tactile detectable rough profile 20 in the form of nubs or ribs on the control surface fitted.
Landscapes
- Physics & Mathematics (AREA)
- General Physics & Mathematics (AREA)
- Electric Clocks (AREA)
- Electromechanical Clocks (AREA)
Abstract
Eine besonders bedienungsfreundliche und energetisch sparsam betreibbare Weckeruhr (11) mit Display (13) für digitale Weckzeitanzeige im 24-Stunden-Format ergibt sich, wenn der Tagesschalter (18), zur Abschaltung des Wecksignales bis zum nächsten Erreichen des eingestellten Weckzeitpunktes, von der sichtseitigen Vorderfront des Gehäuses der Weckeruhr (11) fort auf die der Standfläche gegenüberliegende Gehäuse-Oberfläche verlegt und dort als vergleichsweise langhubig gegen die Standfläche zu bewegender Drucktaster mit akustischer und/oder taktiler Betätigungsrückmeldung ausgelegt ist. A particularly user-friendly and energetically economical alarm clock (11) with display (13) for digital wake-up time display in 24-hour format results when the day switch (18) switches off the wake-up signal until the next set alarm time is reached from the visible side Front of the housing of the alarm clock (11) relocated to the housing surface opposite the standing surface and is designed there as a push button to be moved relatively long stroke against the standing surface with acoustic and / or tactile actuation feedback.
Description
Die Erfindung betrifft Weckeruhren, insbesondere wie sie als digital anzeigende batteriebetriebene Funkwecker etwa unter den EUROCHRON-Modellnummern 122/209x auf dem Markt sind und sich wegen der präzisen Einstellbarkeit des Weck-, also des Signalgabezeitpunktes bei dann funkgenauer Signalgabe großen Zuspruchs erfreuen. Bekanntlich sind solche Funkuhren mit einem Langwellenempfänger für die Aufnahme von Zeittelegrammen und mit einem Signalprozessor zum Dekodieren der Programme samt Ansteuern der Zeitanzeige ausgestattet.The invention relates to alarm clocks, in particular as they operate as digitally displaying battery operated Radio alarm clock under the EUROCHRON model numbers 122 / 209x on the Are and because of the precise adjustability of the wake-up time, i.e. the signaling time when there is radio-accurate signaling please delight. Such are known Radio clocks with a long-wave receiver for recording time telegrams and with a signal processor for decoding the programs including controlling the time display fitted.
Bedienungstechnisch zeichnet solch ein Funkwecker sich dadurch aus, daß alle Bedienungsschalter als Tastschalter sichtseitig, also in der Frontebene des Uhrengehäuses, um das Digital-Display herum angeordnet sind. Dabei handelt es sich in der Regel unter dem Display um eine Schaltergruppe für die Weckzeit-Einstellung und beiderseits daneben um Schalter für die Signalgabe-Aktivierung, nämlich einerseits um den Betriebsschalter für das Scharfschalten/Abschalten der Weckfunktion (z.B. über das Wochenende) und andererseits um den Tagesschalter für die Signalbeendigung nur bis zum nächsten Erreichen des vorgegebenen Weckzeitpunktes (also 24 Stunden später). Oberhalb des Displays, ebenfalls noch in der sichtseitigen Frontfläche des Funkweckers, ist ein gegenüber den anderen besonders breiter Tastschalter für die Snooze- oder Repeat-Funktion (also für die nur vorübergehende Unterbrechung der Signalgabe) unter gleichzeitigem vorübergehendem Einschalten einer wie das Funkuhrwerk aus der selben Batterie gespeisten Display-Beleuchtung angeordnet.Technically, such a radio alarm clock is characterized by the fact that all operating switches as a push button switch on the visible side, i.e. in the front level of the watch case, around the digital display are arranged around. This is usually under the display a switch group for the alarm time setting and on both sides next to the switch for the signaling activation, namely on the one hand around the operating switch for arming / switching off the alarm function (e.g. over the weekend) and on the other hand around the Day switch for signal termination only until the next time the specified one is reached Wake-up time (i.e. 24 hours later). Above the display, also in the visible front surface of the radio alarm clock, one is particularly wider compared to the others Key switch for the snooze or repeat function (i.e. for the temporary interruption signaling) while temporarily turning on one like that Radio clock mechanism arranged from the same battery powered display lighting.
Der Erfindung liegt die Aufgabe zugrunde, die Akzeptanz eines solchen Funkweckers durch Förderung der Bedienungsfreundlichkeit, zumal bei angestrebter noch längerer Betriebsdauer mit nur einer Batterie, weiter zu steigern. The object of the invention is to achieve the acceptance of such a radio alarm clock Promotion of user-friendliness, especially when the operating time is still longer with only one battery to further increase.
Zur erfindungsgemäßen Lösung dieser Aufgabe ist von der Überlegung ausgegangen worden, daß das erstmalige Erscheinen der Signalgabe unbedingt schon mit dem Bewußtsein verknüpft sein sollte, daß der vorgegebene Zeitpunkt gekommen ist und nicht wiederkommt", daß man also die für diesen Zeitpunkt vorgesehene Tätigkeit nun verrichten, wie insbesondere aufstehen, muß - wohingegen die Repeat-Funktion den eigentlich systemwidrigen Sonderfall der praktisch beliebigen Verlagerung dieses doch an sich definitiv vorgegebenen Zeitpunktes zum Gegenstand hat. Die unwillkürliche Auslösung der Repeat-Funktion durch die besonders grifffreundliche lange Taste in der Frontfläche des Funkwekkers führt dagegen mit der Zeit zur Gewöhnung einer systematischen Fehlanwendung der Weckeruhr, nämlich zur wiederholten Verschiebung des vorgegebenen Zeitpunktes mit im Regelfalle gar nicht benötigter ständiger Wiederholung des Einschaltens der Beleuchtung. Der Einschaltstrom ruft jedesmal eine besonders starke zusätzliche Belastung der Batterie hervor und kann deshalb bei schon geschwächter Batterie schnell infolge vorübergehend unzureichender Speisung des Signalprozessors des Funkweckers zu dessen Fehlfunktion führen.In order to achieve this object according to the invention, it has been assumed that the first appearance of the signal should already be linked to the awareness that the specified time has come and does not come back ", so that one must now perform the activity provided for this point in time, such as getting up in particular, whereas the repeat function has as its object the special, actually contrary to the system, the practically arbitrary relocation of this point in time, which is definitely predetermined. The involuntary triggering of the Repeat function by the particularly easy-to-use long button in the front surface of the radio alarm, on the other hand, leads to the time to get used to a systematic misuse of the alarm clock, namely to the repeated postponement of the specified point in time with the repeated repetition of switching on the lighting, which is usually not required at all each time a particularly strong additional load on the battery and can therefore quickly lead to its malfunction if the battery is already weak as a result of temporarily insufficient supply of the signal processor of the radio alarm clock.
Deshalb ist gemäß dem Hauptanspruch vorgesehen, bei der erfindungsgemäßen Weckeruhr
die Tagesabschaltung hervorgehoben, nämlich - bei besonders bedienungsfreundlichem etwa
lotrechtem Betätigungsvorgang - von der Frontfläche fort auf die Deck- oder Oberfläche
des Weckergehäuses zu verlegen, und die Repeat-Funktion (mit ihrer üblichen Kopplung an
eine vorübergehende Beleuchtungseinschaltung) statt dessen zum Feld der weniger häufig
zu bedienenden, weniger zugriffsfreundlichen da horizontal zu betätigenden Tastschalter in
der Frontseite des Uhrgehäuses. Das hat nämlich nun zur Folge, daß die Repeat- samt ihrer
Beleuchtungs-Funktion gewissermaßen bei zwischen den Fingern festgehaltenem Gehäuse
erst
Vorzugsweise wird die Bedienungsfreundlichkeit noch dadurch gesteigert, daß der Tagesschalter
nicht auch ein leichter, schon sensorisch ansprechender Tastschalter sondern ein
über einen spürbaren da erheblichen Weg betätigbarer Drucktaster ist, der ferner nicht nur
eine akustische Betätigungsquittierung auslöst, sondern auch eine taktile Quittung liefert,
also mit einer hörbaren und auch manuell spürbaren Knackfunktion reagiert. Diese kann
durch Verformen eines mechanischen Schnappelementes im Zuge des Niederdrückens des
Schalters realisiert werden, wie als solches als eine
Weitere Merkmale und Vorteile sowie zusätzliche Alternativen und Weiterbildungen zur erfindungsgemäßen Lösung ergeben sich aus den weiteren Ansprüchen und aus nachstehender Beschreibung eines in der Zeichnung unter Beschränkung auf das Wesentliche stark abstrahiert skizzierten bevorzugten Realisierungsbeispiels zur erfindungsgemäßen Lösung. Die einzige Figur der Zeichnung zeigt nach Art eines Blockschaltbildes eine funkgesteuerte Weckeruhr herkömmlicher Art, deren Bedienungstasten in der sichtseitigen Gehäuse-Frontfläche angeordnet sind, mit Ausnahme nun des der Standfläche gegenüber in der Gehäuse-Oberfläche (also in der Deckfläche) liegenden Tagesschalters.Other features and advantages as well as additional alternatives and further training for Solution according to the invention result from the further claims and from the following Description of a strong in the drawing limited to the essentials abstracted sketched preferred implementation example for the solution according to the invention. The only figure of the drawing shows a radio-controlled in the manner of a block diagram Alarm clock of a conventional type, the control buttons on the front side of the housing are arranged, with the exception of the stand area opposite in the Housing surface (i.e. in the top surface) lying day switch.
Bei der in der Zeichnung symbolisch veranschaulichten Weckeruhr 11 handelt es sich bevorzugt
um einen Funkwecker mit einem Signalprozessor (Uhrenprozessor 12), welcher
einerseits eine autonome zeithaltende Schaltung und andererseits einen Demodulator und
insbesondere einen Dekodierer für empfangene Zeittelegramme verwirklicht, aufgrund derer
die aus der internen Zeitschaltung fortgeschaltete Zeitanzeige erforderlichenfalls korrigiert
wird, wie von der Technologie der JUNGHANS-Funkuhren bekannt. Die Zeitanzeige kann
digital in einem Display 13 und/oder analog auf einem Zifferblatt (nicht skizziert) erfolgen;
zumindest aber ist der Wert eines im 24-Stunden-Zyklus minutengenau manuell vorgebbaren
Signalgabezeitpunktes auf dem Display 13 anzeigbar, nämlich einerseits während der
manuellen Veränderung des Signalgabezeitpunktes und andererseits auf Abruf bzw. bei
scharfgestellter Weckeruhr zur Anzeige des aktuell eingestellten Signalgabe- oder Weckzeitpunktes.
Die entsprechenden manuellen Eingabemöglichkeiten sind durch gestrichelte
Pfeile am Uhrenprozessor 12 versinnbildlicht.The
Außerdem ist an den Uhrenprozessor 12 ein Repeat-Schalter 14 angeschlossen, bei dem
sich wie bei den anderen Schaltern (nicht dargestellt) um einen Tastschalter neben dem
Display 13 in der sichtseitigen Vorderfront des Gehäuses der Weckeruhr 11 handelt. Dieser
Repeat-Schalter 14 dient in üblicher Weise zugleich dem vorübergehenden Einschalten einer
Miniatur-Glühlampe (Lichtquelle 15) für die elektrische Beleuchtung des Displays 13.In addition, a
Der Uhrenprozessor 12 liefert ferner eine akustisch wahrnehmbare Signalfrequenz an einen
elektroakustischen Wandler 16, der aber nur dann anspricht, wenn gleichzeitig eine
Schaltstufe 17 aktiv gesetzt ist (die zur Verdeutlichung in der Zeichnung separat herausgezeichnet
ist, in der Praxis aber ebenfalls als logische Funktion im Uhrenprozessor 12 realisiert
wird, ebenso wie die am Eingang des Wandlers 16 symbolisch veranschaulichte UND-Funktion).The
Die Betätigung des nun erfindungsgemäß grifffreundlich im mittleren Bereich auf der Oberfläche
des Gehäuses der Weckeruhr 11 angeordneten und im Gegensatz zu den Tastschaltern
in der Gehäuse-Vorderfront mit großem Bewegungshub ausgestatteten, als Tagesschalter
18 (
Zur Bestätigung der Betätigung des Tagesschalters 18 ist dieser nicht nur mit einem auffallend
deutlichen Betätigungshub, sondern vorzugsweise auch mit einem deutlichen mechanischen
Druckpunkt, mit einer akustischen Quittungssignalgabe und/oder mit einer taktil erfaßbaren
groben Profilierung 20 in Form von Noppen oder Rippen auf der Bedienflache
ausgestattet.To confirm the operation of the
Eine besonders bedienungsfreundliche und energetisch sparsam betreibbare Weckeruhr 11
mit Display 13 für digitale Weckzeitanzeige im 24-Stunden-Format ergibt sich also, wenn
der Tagesschalter 18, zur Abschaltung des Wecksignales bis zum nächsten Erreichen des
eingestellten Weckzeitpunktes, erfindungsgemäß von der sichtseitigen Vorderfront des Gehäuses
der Weckeruhr 11 fort auf die seiner Standfläche gegenüberliegende Gehäuse-Oberfläche
verlegt und dort als vergleichsweise langhubig gegen die Standfläche zu bewegender
Drucktaster mit akustischer und/oder taktiler Betätigungsrückmeldung ausgelegt
ist.A particularly user-friendly and energetically
Claims (5)
daß ein Tagesschalter (18), zum Abschalten des Wecksignales bis zum nächsten Erreichen des eingestellten Signalgabezeitpunktes, als gegen die Grund- oder Standfläche des Uhrengehäuses zu betätigender Drucktaster in der, der Grund- oder Standfläche gegenüberliegenden, Oberfläche des Gehäuses der Weckeruhr (11) angeordnet ist.Alarm clock (11), in particular digitally displaying radio alarm clock, with key switches for specifying the time of the alarm and for switching off the alarm signal, and in the visible front surface of the watch case with a display (13) for displaying the predetermined time of the alarm, characterized in that
that a day switch (18), for switching off the alarm signal until the next reaching the set signaling time, as a push button to be actuated against the base or standing surface of the watch case in the surface of the housing of the alarm clock (11) opposite the base or standing surface is.
daß der parallel zur Gehäuse-Frontfläche vergleichsweise langhubig betätigbare Tagesschalter (18) mit einer akustischen Betätigungsrückmeldung ausgestattet ist.Alarm clock according to claim 1, characterized in
that the comparatively long-stroke day switch (18), which can be operated parallel to the housing front surface, is equipped with an acoustic actuation feedback.
daß der Tagesschalter (18) mit einer taktilen Bestätigung in Form eines manuell spürbaren Knackpunktes ausgestattet ist.Alarm clock according to claim 1 or 2, characterized in that
that the day switch (18) is equipped with a tactile confirmation in the form of a manually noticeable sticking point.
daß der Tagesschalter (18) mit einer groben Profilierung (20) auf seiner Bedienfläche ausgestattet ist.Alarm clock according to one of the preceding claims, characterized in that
that the day switch (18) is equipped with a rough profile (20) on its control surface.
daß ein Einschalten einer Lichtquelle (15) von einer Betätigung des Tagesschalters (18) unabhängig ist.Alarm clock according to one of the preceding claims, characterized in
that switching on a light source (15) is independent of an actuation of the day switch (18).
Applications Claiming Priority (2)
| Application Number | Priority Date | Filing Date | Title |
|---|---|---|---|
| DE29912311U | 1999-07-14 | ||
| DE29912311U DE29912311U1 (en) | 1999-07-14 | 1999-07-14 | Alarm clock, in particular digitally displaying radio alarm clock |
Publications (2)
| Publication Number | Publication Date |
|---|---|
| EP1069485A2 true EP1069485A2 (en) | 2001-01-17 |
| EP1069485A3 EP1069485A3 (en) | 2006-11-02 |
Family
ID=8076144
Family Applications (1)
| Application Number | Title | Priority Date | Filing Date |
|---|---|---|---|
| EP00113969A Withdrawn EP1069485A3 (en) | 1999-07-14 | 2000-07-01 | Alarm clock, in particular radio alarm with digital display |
Country Status (2)
| Country | Link |
|---|---|
| EP (1) | EP1069485A3 (en) |
| DE (1) | DE29912311U1 (en) |
Cited By (1)
| Publication number | Priority date | Publication date | Assignee | Title |
|---|---|---|---|---|
| US8296059B2 (en) | 2006-06-11 | 2012-10-23 | Volvo Technology Corp. | Method and arrangement for reducing criminal risk to an overland transport |
Family Cites Families (6)
| Publication number | Priority date | Publication date | Assignee | Title |
|---|---|---|---|---|
| DE2423387A1 (en) * | 1974-05-14 | 1975-11-27 | Hugo Hettich | Alarm clock with weekday alarm selector - uses weekday disc and is fitted with alarm selector switch for each day |
| DE7827708U1 (en) * | 1978-09-18 | 1979-02-01 | Braun Ag, 6000 Frankfurt | Timepiece, in particular travel or table alarm clock with an operating button for switching the alarm device on and off |
| DE8016724U1 (en) * | 1980-06-25 | 1980-06-25 | Gebrüder Junghans GmbH, 7230 Schramberg | Small alarm clock with display and lighting device |
| US4528681A (en) * | 1982-12-29 | 1985-07-09 | At&T Bell Laboratories | Button depression click generator |
| JPS59180385A (en) * | 1983-03-30 | 1984-10-13 | Rhythm Watch Co Ltd | 24-hour alarm clock |
| DE19543586B4 (en) * | 1995-11-23 | 2005-12-22 | U.T.S. Präzisionstechnik GmbH | Radio clock with analog time display |
-
1999
- 1999-07-14 DE DE29912311U patent/DE29912311U1/en not_active Expired - Lifetime
-
2000
- 2000-07-01 EP EP00113969A patent/EP1069485A3/en not_active Withdrawn
Cited By (1)
| Publication number | Priority date | Publication date | Assignee | Title |
|---|---|---|---|---|
| US8296059B2 (en) | 2006-06-11 | 2012-10-23 | Volvo Technology Corp. | Method and arrangement for reducing criminal risk to an overland transport |
Also Published As
| Publication number | Publication date |
|---|---|
| EP1069485A3 (en) | 2006-11-02 |
| DE29912311U1 (en) | 2000-11-23 |
Similar Documents
| Publication | Publication Date | Title |
|---|---|---|
| DE69307076T2 (en) | Time device that receives radio reports and can display them using its pointers | |
| EP0455183B2 (en) | Autonomous radio-controlled clock | |
| EP0374745B1 (en) | Autonomous radio-controlled clock | |
| DE69432537T2 (en) | Minimal function remote control without numeric keys with an on / off tilt program and a channel rotation program | |
| DE69616404D1 (en) | Customized menu for a television receiver controlled by a remote control keyboard | |
| HK1007611B (en) | Time piece capable of receiving radio messages that are displayed by means of the hands | |
| JPS56117180A (en) | Timer | |
| DE3731956A1 (en) | AUTONOMOUS RADIO WATCH | |
| US5177714A (en) | Autonomous radio timepiece | |
| EP0341443A1 (en) | Electronic digital time piece | |
| EP1069485A2 (en) | Alarm clock, in particular radio alarm with digital display | |
| US7433274B1 (en) | Rapid set handicapped alarm clock | |
| EP0793886B1 (en) | Remote-controlled circuitry | |
| DE4219257C2 (en) | Autonomous radio clock with time zone switchover | |
| DE19534872B4 (en) | System of a consumer electronics device and a remote control unit | |
| DE19543586A1 (en) | Radio alarm with analog time display and quartz control circuit | |
| DE2831014A1 (en) | Combined radio and television receiver - has shared audio circuitry allowing radio reception simultaneously with sound free picture reception | |
| US20050083786A1 (en) | Multi-functional timer | |
| EP0563972A2 (en) | Electronic timeswitch clock | |
| DE19600245C2 (en) | Radio clock | |
| JPS6333413Y2 (en) | ||
| DE4339312A1 (en) | Radio transmitted code synchronised electronic wristwatch | |
| JPS6057669B2 (en) | Dimmer device | |
| DE3035420A1 (en) | Electronic alarm clock for blind person - includes speech generator with memory and comparator, protected against faulty operation or cancellation | |
| DE3503540A1 (en) | MODULAR MULTIFUNCTIONAL CLOCK |
Legal Events
| Date | Code | Title | Description |
|---|---|---|---|
| PUAI | Public reference made under article 153(3) epc to a published international application that has entered the european phase |
Free format text: ORIGINAL CODE: 0009012 |
|
| AK | Designated contracting states |
Kind code of ref document: A2 Designated state(s): AT BE CH CY DE DK ES FI FR GB GR IE IT LI LU MC NL PT SE |
|
| AX | Request for extension of the european patent |
Free format text: AL;LT;LV;MK;RO;SI |
|
| PUAL | Search report despatched |
Free format text: ORIGINAL CODE: 0009013 |
|
| AK | Designated contracting states |
Kind code of ref document: A3 Designated state(s): AT BE CH CY DE DK ES FI FR GB GR IE IT LI LU MC NL PT SE |
|
| AX | Request for extension of the european patent |
Extension state: AL LT LV MK RO SI |
|
| AKX | Designation fees paid | ||
| STAA | Information on the status of an ep patent application or granted ep patent |
Free format text: STATUS: THE APPLICATION IS DEEMED TO BE WITHDRAWN |
|
| 18D | Application deemed to be withdrawn |
Effective date: 20070503 |
|
| REG | Reference to a national code |
Ref country code: DE Ref legal event code: 8566 |
