EP1069391A3 - Radiator with supporting elements - Google Patents
Radiator with supporting elements Download PDFInfo
- Publication number
- EP1069391A3 EP1069391A3 EP00114387A EP00114387A EP1069391A3 EP 1069391 A3 EP1069391 A3 EP 1069391A3 EP 00114387 A EP00114387 A EP 00114387A EP 00114387 A EP00114387 A EP 00114387A EP 1069391 A3 EP1069391 A3 EP 1069391A3
- Authority
- EP
- European Patent Office
- Prior art keywords
- radiator
- supporting elements
- heating line
- line elements
- elements
- Prior art date
- Legal status (The legal status is an assumption and is not a legal conclusion. Google has not performed a legal analysis and makes no representation as to the accuracy of the status listed.)
- Withdrawn
Links
Classifications
-
- F—MECHANICAL ENGINEERING; LIGHTING; HEATING; WEAPONS; BLASTING
- F28—HEAT EXCHANGE IN GENERAL
- F28D—HEAT-EXCHANGE APPARATUS, NOT PROVIDED FOR IN ANOTHER SUBCLASS, IN WHICH THE HEAT-EXCHANGE MEDIA DO NOT COME INTO DIRECT CONTACT
- F28D1/00—Heat-exchange apparatus having stationary conduit assemblies for one heat-exchange medium only, the media being in contact with different sides of the conduit wall, in which the other heat-exchange medium is a large body of fluid, e.g. domestic or motor car radiators
- F28D1/02—Heat-exchange apparatus having stationary conduit assemblies for one heat-exchange medium only, the media being in contact with different sides of the conduit wall, in which the other heat-exchange medium is a large body of fluid, e.g. domestic or motor car radiators with heat-exchange conduits immersed in the body of fluid
- F28D1/04—Heat-exchange apparatus having stationary conduit assemblies for one heat-exchange medium only, the media being in contact with different sides of the conduit wall, in which the other heat-exchange medium is a large body of fluid, e.g. domestic or motor car radiators with heat-exchange conduits immersed in the body of fluid with tubular conduits
- F28D1/053—Heat-exchange apparatus having stationary conduit assemblies for one heat-exchange medium only, the media being in contact with different sides of the conduit wall, in which the other heat-exchange medium is a large body of fluid, e.g. domestic or motor car radiators with heat-exchange conduits immersed in the body of fluid with tubular conduits the conduits being straight
- F28D1/0535—Heat-exchange apparatus having stationary conduit assemblies for one heat-exchange medium only, the media being in contact with different sides of the conduit wall, in which the other heat-exchange medium is a large body of fluid, e.g. domestic or motor car radiators with heat-exchange conduits immersed in the body of fluid with tubular conduits the conduits being straight the conduits having a non-circular cross-section
- F28D1/05358—Assemblies of conduits connected side by side or with individual headers, e.g. section type radiators
-
- A—HUMAN NECESSITIES
- A47—FURNITURE; DOMESTIC ARTICLES OR APPLIANCES; COFFEE MILLS; SPICE MILLS; SUCTION CLEANERS IN GENERAL
- A47K—SANITARY EQUIPMENT; ACCESSORIES THEREFOR, e.g. TOILET ACCESSORIES
- A47K10/00—Body-drying implements; Toilet paper; Holders therefor
- A47K10/04—Towel racks; Towel rails; Towel rods; Towel rolls, e.g. rotatable
- A47K10/06—Towel racks; Towel rails; Towel rods; Towel rolls, e.g. rotatable combined with means for drying towels
-
- F—MECHANICAL ENGINEERING; LIGHTING; HEATING; WEAPONS; BLASTING
- F28—HEAT EXCHANGE IN GENERAL
- F28D—HEAT-EXCHANGE APPARATUS, NOT PROVIDED FOR IN ANOTHER SUBCLASS, IN WHICH THE HEAT-EXCHANGE MEDIA DO NOT COME INTO DIRECT CONTACT
- F28D1/00—Heat-exchange apparatus having stationary conduit assemblies for one heat-exchange medium only, the media being in contact with different sides of the conduit wall, in which the other heat-exchange medium is a large body of fluid, e.g. domestic or motor car radiators
- F28D1/02—Heat-exchange apparatus having stationary conduit assemblies for one heat-exchange medium only, the media being in contact with different sides of the conduit wall, in which the other heat-exchange medium is a large body of fluid, e.g. domestic or motor car radiators with heat-exchange conduits immersed in the body of fluid
- F28D1/04—Heat-exchange apparatus having stationary conduit assemblies for one heat-exchange medium only, the media being in contact with different sides of the conduit wall, in which the other heat-exchange medium is a large body of fluid, e.g. domestic or motor car radiators with heat-exchange conduits immersed in the body of fluid with tubular conduits
- F28D1/047—Heat-exchange apparatus having stationary conduit assemblies for one heat-exchange medium only, the media being in contact with different sides of the conduit wall, in which the other heat-exchange medium is a large body of fluid, e.g. domestic or motor car radiators with heat-exchange conduits immersed in the body of fluid with tubular conduits the conduits being bent, e.g. in a serpentine or zig-zag
-
- F—MECHANICAL ENGINEERING; LIGHTING; HEATING; WEAPONS; BLASTING
- F28—HEAT EXCHANGE IN GENERAL
- F28D—HEAT-EXCHANGE APPARATUS, NOT PROVIDED FOR IN ANOTHER SUBCLASS, IN WHICH THE HEAT-EXCHANGE MEDIA DO NOT COME INTO DIRECT CONTACT
- F28D21/00—Heat-exchange apparatus not covered by any of the groups F28D1/00 - F28D20/00
- F28D2021/0019—Other heat exchangers for particular applications; Heat exchange systems not otherwise provided for
- F28D2021/0035—Other heat exchangers for particular applications; Heat exchange systems not otherwise provided for for domestic or space heating, e.g. heating radiators
- F28D2021/0036—Radiators for drying, e.g. towel radiators
Landscapes
- Engineering & Computer Science (AREA)
- Physics & Mathematics (AREA)
- Thermal Sciences (AREA)
- Mechanical Engineering (AREA)
- General Engineering & Computer Science (AREA)
- Health & Medical Sciences (AREA)
- Public Health (AREA)
- Domestic Hot-Water Supply Systems And Details Of Heating Systems (AREA)
- Central Heating Systems (AREA)
Abstract
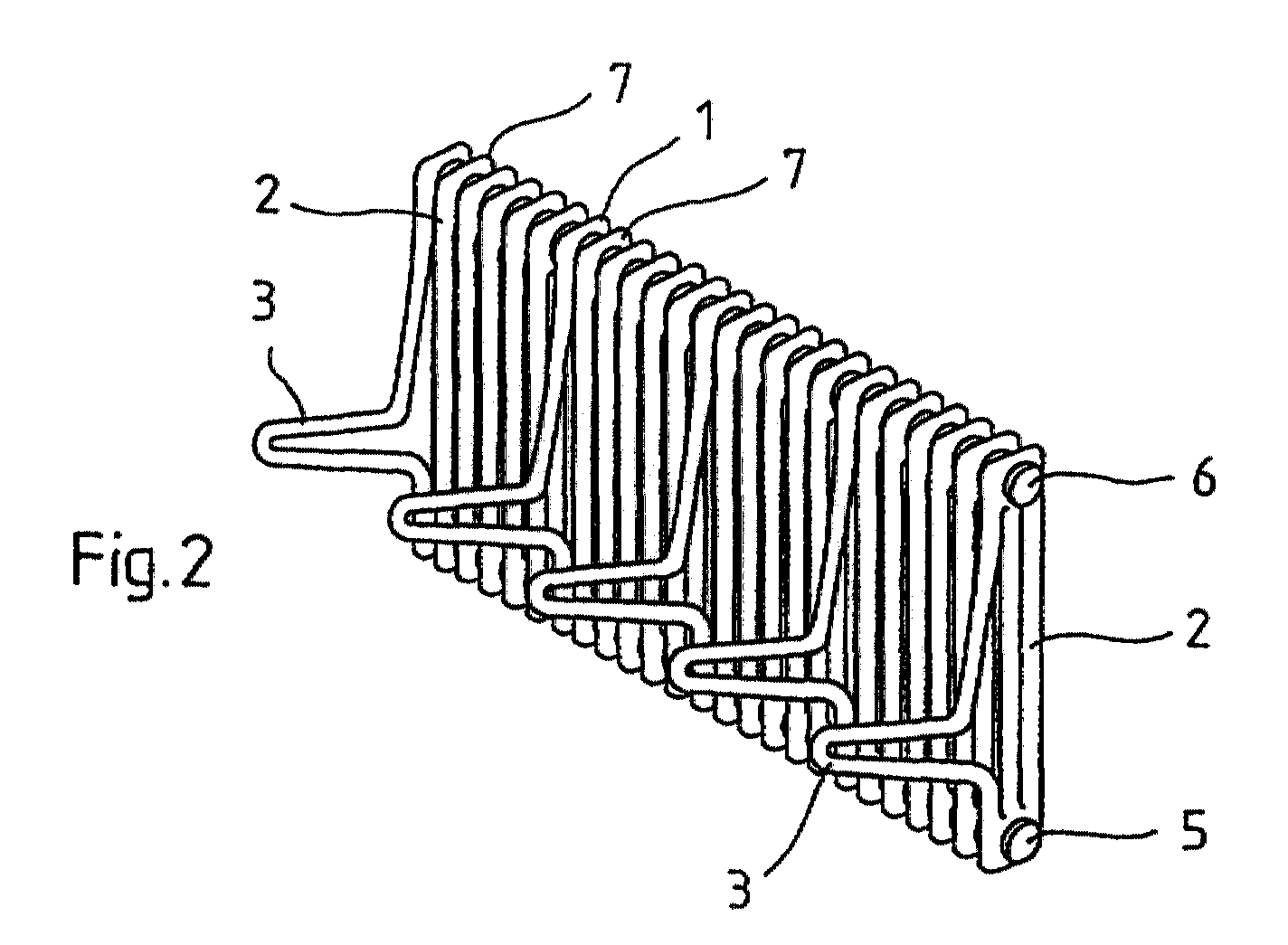
Heizkörper (1), der im Einrichtungsbereich neben der Funktion als Wärmespender und dekoratives Element auch funktionale Aufgaben übernehmen kann, mit einem Zulauf (5) und einem Rücklauf (6), über welche ein Heizmedium über eine Mehrzahl im wesentlichen zueinander parallel angeordneten Heizleitungselementen (2) verteilbar ist, wobei wenigstens einzelne Heizleitungselemente (3) als Auflagerträger für Flächenelemente ausgeformt sind. Radiator (1), which can also take on functional functions in the furnishing area in addition to the function as a heat donor and decorative element, with an inlet (5) and a return (6), via which a heating medium via a plurality of heating line elements (2 ) can be distributed, at least individual heating line elements (3) being shaped as support supports for surface elements.
Applications Claiming Priority (2)
| Application Number | Priority Date | Filing Date | Title |
|---|---|---|---|
| DE29912161U | 1999-07-12 | ||
| DE29912161U DE29912161U1 (en) | 1999-07-12 | 1999-07-12 | Radiator with support elements |
Publications (2)
| Publication Number | Publication Date |
|---|---|
| EP1069391A2 EP1069391A2 (en) | 2001-01-17 |
| EP1069391A3 true EP1069391A3 (en) | 2002-11-20 |
Family
ID=8076036
Family Applications (1)
| Application Number | Title | Priority Date | Filing Date |
|---|---|---|---|
| EP00114387A Withdrawn EP1069391A3 (en) | 1999-07-12 | 2000-07-05 | Radiator with supporting elements |
Country Status (2)
| Country | Link |
|---|---|
| EP (1) | EP1069391A3 (en) |
| DE (1) | DE29912161U1 (en) |
Families Citing this family (2)
| Publication number | Priority date | Publication date | Assignee | Title |
|---|---|---|---|---|
| EP1835252B1 (en) * | 2006-03-15 | 2010-11-24 | Zehnder Verkaufs- und Verwaltungs AG | Radiator |
| IT201800004633A1 (en) * | 2018-04-17 | 2019-10-17 | TOWEL WARMER AND RELATED PRODUCTION PROCESS |
Citations (2)
| Publication number | Priority date | Publication date | Assignee | Title |
|---|---|---|---|---|
| FR1530461A (en) * | 1967-03-23 | 1968-06-28 | Advanced support for radiator shelves | |
| EP0774638A2 (en) * | 1995-10-16 | 1997-05-21 | Irsap Spa | Wall radiator |
-
1999
- 1999-07-12 DE DE29912161U patent/DE29912161U1/en not_active Expired - Lifetime
-
2000
- 2000-07-05 EP EP00114387A patent/EP1069391A3/en not_active Withdrawn
Patent Citations (2)
| Publication number | Priority date | Publication date | Assignee | Title |
|---|---|---|---|---|
| FR1530461A (en) * | 1967-03-23 | 1968-06-28 | Advanced support for radiator shelves | |
| EP0774638A2 (en) * | 1995-10-16 | 1997-05-21 | Irsap Spa | Wall radiator |
Also Published As
| Publication number | Publication date |
|---|---|
| EP1069391A2 (en) | 2001-01-17 |
| DE29912161U1 (en) | 1999-11-18 |
Similar Documents
| Publication | Publication Date | Title |
|---|---|---|
| CA2000593A1 (en) | Surface Element for a Heatable Floor with Hollow Spaces | |
| FI910393A0 (en) | SEMI-THERMOPLASTIC MATRIX COMPOSITION WITH MATERIALLY STABLE FORMBESTAENDIGT MINNE. | |
| TR200001416A2 (en) | Heatable rear view mirror. | |
| IT9067367A0 (en) | CYLINDER WITH ADJUSTABLE LENGTH, PARTICULARLY USABLE AS A SUPPORT COLUMN FOR CHAIRS, SEATS AND THE LIKE. | |
| EP0911586A3 (en) | Mounting of a ceramic cooking heater in an opening of a cooking hob | |
| BR9813230B1 (en) | precursor for preparing a resistor pattern by thermal mode imaging and method for preparing a resistance pattern using the same. | |
| DE3872854D1 (en) | INFRARED ABSORBENT CYANINE DYES FOR DYE DONOR ELEMENTS FOR USE IN LASER-INDUCED THERMAL DYE TRANSFER. | |
| SE9701783D0 (en) | In situ synthesis of oligonucleotides or inverse orientation | |
| EP1069391A3 (en) | Radiator with supporting elements | |
| ES2011207A4 (en) | FLOW INPUT MAGNETOMETER WITH PRECISION IN A WIDE TEMPERATURE INTERVAL, AND METHOD FOR ADJUSTING FLOW INPUTS THEREOF FOR TEMPERATURE COMPENSATION. | |
| EP1069388A3 (en) | Tempering device for liquid contained in receptacles | |
| IT220360Z2 (en) | EXPANSION DEVICE FOR THE SUPPORT OF PARTICULARLY SLEEVES IN EMERIGAL CANVAS. | |
| EP0899346A3 (en) | Workpiece carrier for heat treatment of workpieces | |
| EP0877198A3 (en) | Lighting apparatus | |
| EP1752329A3 (en) | Radiator support | |
| EP1069392A3 (en) | Columnar radiator | |
| EP0967119A3 (en) | Vehicle roof | |
| EP1327401A3 (en) | Tiltable seat assembly | |
| Ford | European parliament | |
| TR28079A (en) | High temperature heater module with fixed structural frame support. | |
| EP0826527A3 (en) | Convector | |
| Stone | Dewey on causation in social science. | |
| EP1186262A3 (en) | Upholstery | |
| EP0857850A3 (en) | Wrought iron supporting rod with decorative element | |
| EP1445985A3 (en) | Electic heaters |
Legal Events
| Date | Code | Title | Description |
|---|---|---|---|
| PUAI | Public reference made under article 153(3) epc to a published international application that has entered the european phase |
Free format text: ORIGINAL CODE: 0009012 |
|
| AK | Designated contracting states |
Kind code of ref document: A2 Designated state(s): AT BE CH CY DE DK ES FI FR GB GR IE IT LI LU MC NL PT SE |
|
| AX | Request for extension of the european patent |
Free format text: AL;LT;LV;MK;RO;SI |
|
| PUAL | Search report despatched |
Free format text: ORIGINAL CODE: 0009013 |
|
| STAA | Information on the status of an ep patent application or granted ep patent |
Free format text: STATUS: THE APPLICATION HAS BEEN WITHDRAWN |
|
| AK | Designated contracting states |
Kind code of ref document: A3 Designated state(s): AT BE CH CY DE DK ES FI FR GB GR IE IT LI LU MC NL PT SE |
|
| AX | Request for extension of the european patent |
Free format text: AL;LT;LV;MK;RO;SI |
|
| RIC1 | Information provided on ipc code assigned before grant |
Free format text: 7F 28D 1/04 A, 7F 24D 19/06 B |
|
| 18W | Application withdrawn |
Withdrawal date: 20021109 |
