EP1015744B1 - Variable compression piston assembly - Google Patents
Variable compression piston assembly Download PDFInfo
- Publication number
- EP1015744B1 EP1015744B1 EP98948218A EP98948218A EP1015744B1 EP 1015744 B1 EP1015744 B1 EP 1015744B1 EP 98948218 A EP98948218 A EP 98948218A EP 98948218 A EP98948218 A EP 98948218A EP 1015744 B1 EP1015744 B1 EP 1015744B1
- Authority
- EP
- European Patent Office
- Prior art keywords
- pistons
- piston
- arm
- axis
- assembly
- Prior art date
- Legal status (The legal status is an assumption and is not a legal conclusion. Google has not performed a legal analysis and makes no representation as to the accuracy of the status listed.)
- Expired - Lifetime
Links
- 230000006835 compression Effects 0.000 title claims description 22
- 238000007906 compression Methods 0.000 title claims description 22
- 230000007704 transition Effects 0.000 claims abstract description 59
- 230000033001 locomotion Effects 0.000 claims description 40
- 230000008878 coupling Effects 0.000 claims description 4
- 238000010168 coupling process Methods 0.000 claims description 4
- 238000005859 coupling reaction Methods 0.000 claims description 4
- 239000000446 fuel Substances 0.000 claims description 2
- 230000009467 reduction Effects 0.000 claims description 2
- 238000010304 firing Methods 0.000 abstract description 2
- 238000006073 displacement reaction Methods 0.000 description 7
- 238000002485 combustion reaction Methods 0.000 description 4
- 239000007858 starting material Substances 0.000 description 4
- 230000000712 assembly Effects 0.000 description 2
- 238000000429 assembly Methods 0.000 description 2
- 230000008859 change Effects 0.000 description 2
- 238000001816 cooling Methods 0.000 description 2
- 239000012530 fluid Substances 0.000 description 2
- 238000005461 lubrication Methods 0.000 description 2
- 230000007246 mechanism Effects 0.000 description 2
- 238000005086 pumping Methods 0.000 description 2
- 230000008901 benefit Effects 0.000 description 1
- 238000004891 communication Methods 0.000 description 1
- 230000007423 decrease Effects 0.000 description 1
- 230000006698 induction Effects 0.000 description 1
- 239000007788 liquid Substances 0.000 description 1
- 230000004048 modification Effects 0.000 description 1
- 238000012986 modification Methods 0.000 description 1
- XLYOFNOQVPJJNP-UHFFFAOYSA-N water Substances O XLYOFNOQVPJJNP-UHFFFAOYSA-N 0.000 description 1
Images
Classifications
-
- F—MECHANICAL ENGINEERING; LIGHTING; HEATING; WEAPONS; BLASTING
- F02—COMBUSTION ENGINES; HOT-GAS OR COMBUSTION-PRODUCT ENGINE PLANTS
- F02B—INTERNAL-COMBUSTION PISTON ENGINES; COMBUSTION ENGINES IN GENERAL
- F02B75/00—Other engines
- F02B75/04—Engines with variable distances between pistons at top dead-centre positions and cylinder heads
-
- F—MECHANICAL ENGINEERING; LIGHTING; HEATING; WEAPONS; BLASTING
- F02—COMBUSTION ENGINES; HOT-GAS OR COMBUSTION-PRODUCT ENGINE PLANTS
- F02B—INTERNAL-COMBUSTION PISTON ENGINES; COMBUSTION ENGINES IN GENERAL
- F02B75/00—Other engines
- F02B75/26—Engines with cylinder axes coaxial with, or parallel or inclined to, main-shaft axis; Engines with cylinder axes arranged substantially tangentially to a circle centred on main-shaft axis
-
- F—MECHANICAL ENGINEERING; LIGHTING; HEATING; WEAPONS; BLASTING
- F02—COMBUSTION ENGINES; HOT-GAS OR COMBUSTION-PRODUCT ENGINE PLANTS
- F02B—INTERNAL-COMBUSTION PISTON ENGINES; COMBUSTION ENGINES IN GENERAL
- F02B75/00—Other engines
- F02B75/02—Engines characterised by their cycles, e.g. six-stroke
- F02B2075/022—Engines characterised by their cycles, e.g. six-stroke having less than six strokes per cycle
- F02B2075/025—Engines characterised by their cycles, e.g. six-stroke having less than six strokes per cycle two
Definitions
- U.S. Patent 4,011,842 defines a four cylinder piston engine that utilizes two double ended pistons connected to a T-shaped T-shaped connecting member that causes a crankshaft to rotate.
- the T-shaped connecting member is attached at each of the T-cross arm to a double ended piston.
- a centrally located point on the T-cross arm is rotatably attached to a fixed point, and the bottom of the T is rotatably attached to a crank pin which is connected to the crankshaft by a crankthrow which includes a counter weight.
- the assembly includes at least two joints, each joint coupling one of the drive arms to one of the pistons and providing four degrees of freedom between the drive arm and the piston, the four degrees of freedom being a first degree of freedom that includes rotation about the drive arm axis, a second degree of freedom that includes sliding along the drive arm axis, a third degree of freedom that includes pivoting about an axis perpendicular to the drive arm axis, and a fourth degree of freedom that includes sliding in the direction of the perpendicular axis, wherein each joint comprises an outer member coupled to the piston and an inner cylindrical member mounted within the outer member such that the inner cylindrical member slides along the perpendicular axis to provide the fourth degree of freedom.
- the pistons may be double ended pistons.
- the transition arm is coupled to each of the double ended pistons at approximately a centre of each piston.
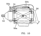
- FIG. 10 is a side view of engine 30 showing the exhaust manifold 56, intake manifold 56a and carburetor 56c. Pulleys 50a and 50b with timing belt 51 are also shown.
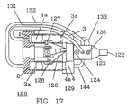
- FIG. 16 shows piston arm 116 in sleeve bearing 117.
- Sleeve bearing 117 is in pivot pin 115.
- Piston arm 116 can freely rotate in sleeve bearing 117 and the assembly of piston arm 116, Sleeve bearing 117 and pivot pin 115 and sleeve bearings 118a and 118b rotate in piston 110, and piston arm 116 can moved axially with the axis of sleeve bearing 117 to allow for the linear motion of double ended piston 110, and the motion of a transition arm to which piston arm 116 is attached.
- barrel 414 Because outer barrel 420 is fixed, the rotation of barrel 414 causes barrel 414 to move linearly along axis, A, arrow 403. Barrel 414 is positioned between a collar 422 and a gear 424, both fixed to a main drive shaft 408. Drive shaft 408 is in turn fixed to flywheel 322. Thus, movement of barrel 414 along axis, A, is translated to linear movement of flywheel 322 along axis, A. This results in flywheel 322 sliding along axis, H, of drive arm 320 of transition arm 310, changing angle, ⁇ , and thus the stroke of the pistons. Thrust bearings 430 are located at both ends of barrel 414, and a sleeve bearing 432 is located between barrel 414 and shaft 408.
Landscapes
- Engineering & Computer Science (AREA)
- Chemical & Material Sciences (AREA)
- Combustion & Propulsion (AREA)
- Mechanical Engineering (AREA)
- General Engineering & Computer Science (AREA)
- Output Control And Ontrol Of Special Type Engine (AREA)
- Transmission Devices (AREA)
- Compressors, Vaccum Pumps And Other Relevant Systems (AREA)
- Pistons, Piston Rings, And Cylinders (AREA)
- Valve Device For Special Equipments (AREA)
Applications Claiming Priority (3)
| Application Number | Priority Date | Filing Date | Title |
|---|---|---|---|
| US92904297A | 1997-09-15 | 1997-09-15 | |
| US929042 | 1997-09-15 | ||
| PCT/US1998/019164 WO1999014471A1 (en) | 1997-09-15 | 1998-09-15 | Variable compression piston assembly |
Publications (3)
| Publication Number | Publication Date |
|---|---|
| EP1015744A1 EP1015744A1 (en) | 2000-07-05 |
| EP1015744A4 EP1015744A4 (en) | 2004-03-03 |
| EP1015744B1 true EP1015744B1 (en) | 2008-05-28 |
Family
ID=25457228
Family Applications (1)
| Application Number | Title | Priority Date | Filing Date |
|---|---|---|---|
| EP98948218A Expired - Lifetime EP1015744B1 (en) | 1997-09-15 | 1998-09-15 | Variable compression piston assembly |
Country Status (9)
| Country | Link |
|---|---|
| EP (1) | EP1015744B1 (enExample) |
| JP (1) | JP4260363B2 (enExample) |
| KR (1) | KR100599138B1 (enExample) |
| CN (1) | CN1214180C (enExample) |
| AT (1) | ATE397149T1 (enExample) |
| CA (1) | CA2300111C (enExample) |
| DE (1) | DE69839565D1 (enExample) |
| RU (1) | RU2219358C2 (enExample) |
| WO (1) | WO1999014471A1 (enExample) |
Families Citing this family (15)
| Publication number | Priority date | Publication date | Assignee | Title |
|---|---|---|---|---|
| US6460450B1 (en) * | 1999-08-05 | 2002-10-08 | R. Sanderson Management, Inc. | Piston engine balancing |
| US6446587B1 (en) | 1997-09-15 | 2002-09-10 | R. Sanderson Management, Inc. | Piston engine assembly |
| US7007589B1 (en) | 1997-09-15 | 2006-03-07 | R. Sanderson Management, Inc. | Piston assembly |
| WO2001011237A1 (en) * | 1999-08-05 | 2001-02-15 | R. Sanderson Management, Inc. | Piston assembly |
| JP2003506618A (ja) * | 1999-08-05 | 2003-02-18 | アール サンダーソン マネージメント インコーポレイテッド | ピストン・エンジン釣り合わせ |
| US7011469B2 (en) | 2001-02-07 | 2006-03-14 | R. Sanderson Management, Inc. | Piston joint |
| US7331271B2 (en) | 2001-02-08 | 2008-02-19 | R. Sanderson Management, Inc. | Variable stroke/clearance mechanism |
| WO2002063139A1 (en) * | 2001-02-08 | 2002-08-15 | R. Sanderson Management, Inc. | Variable stroke/clearance mechanism |
| US6854377B2 (en) * | 2001-11-02 | 2005-02-15 | R. Sanderson Management, Inc. | Variable stroke balancing |
| US6913447B2 (en) | 2002-01-22 | 2005-07-05 | R. Sanderson Management, Inc. | Metering pump with varying piston cylinders, and with independently adjustable piston strokes |
| AU2003234656A1 (en) | 2002-05-28 | 2003-12-12 | R. Sanderson Management, Inc. | Overload protection mecanism |
| US7438029B2 (en) | 2004-03-18 | 2008-10-21 | R. Sanderson Management, Inc. | Piston waveform shaping |
| EP1766187A1 (en) | 2004-05-26 | 2007-03-28 | R. Sanderson Management, Inc. | Variable stroke and clearance mechanism |
| AU2013202222B2 (en) * | 2008-03-14 | 2015-07-09 | Torkildsen, Odd Bernhard MR | Combustion engine having mutually connected pistons |
| US8511265B2 (en) * | 2009-06-01 | 2013-08-20 | Steven Don Arnold | Variable stroke and compression ratio engine |
Citations (2)
| Publication number | Priority date | Publication date | Assignee | Title |
|---|---|---|---|---|
| US2940325A (en) * | 1957-02-15 | 1960-06-14 | Nakesch Michael | Internal combustion engine with swash plate drive |
| US5630351A (en) * | 1993-05-07 | 1997-05-20 | Whisper Tech Limited | Wobble yoke assembly |
Family Cites Families (9)
| Publication number | Priority date | Publication date | Assignee | Title |
|---|---|---|---|---|
| US1772977A (en) * | 1929-02-25 | 1930-08-12 | Italien American Motors Inc | Internal-combustion engine |
| FR1416219A (fr) * | 1964-11-27 | 1965-10-29 | Système de transformation du mouvement linéaire en circulaire, pour moteurs thermiques et compresseurs | |
| DE1451926A1 (de) * | 1965-05-07 | 1970-03-05 | Pattas Dr Ing Konstantin | Brennkraft-Kolbenmaschine mit selbsttaetiger,den jeweiligen Anforderungen des Betriebs angepasster Verstellung des Kolbenhubs bei gleichzeitiger Verstellung des Verdichtungsverhaeltnisses |
| US4011842A (en) | 1975-09-08 | 1977-03-15 | Francis William Davies | Piston machine |
| US4174684A (en) * | 1977-05-23 | 1979-11-20 | Hallmann Eckhard P | Variable stroke internal combustion engine |
| US5007385A (en) * | 1989-07-15 | 1991-04-16 | Hiromasa Kitaguchi | Crankless engine |
| SU1744289A1 (ru) * | 1989-10-30 | 1992-06-30 | Ярославский политехнический институт | Аксиально-поршневой двигатель |
| GB2287766B (en) | 1994-03-18 | 1998-01-28 | Yoshiki Kogyo Kk | Apparatus for mutual conversion between circular motion and reciprocal motion |
| US5553582A (en) * | 1995-01-04 | 1996-09-10 | Speas; Danny E. | Nutating disc engine |
-
1998
- 1998-09-15 RU RU2000109597/06A patent/RU2219358C2/ru not_active IP Right Cessation
- 1998-09-15 WO PCT/US1998/019164 patent/WO1999014471A1/en not_active Ceased
- 1998-09-15 DE DE69839565T patent/DE69839565D1/de not_active Expired - Lifetime
- 1998-09-15 CA CA002300111A patent/CA2300111C/en not_active Expired - Fee Related
- 1998-09-15 JP JP2000511989A patent/JP4260363B2/ja not_active Expired - Lifetime
- 1998-09-15 EP EP98948218A patent/EP1015744B1/en not_active Expired - Lifetime
- 1998-09-15 CN CNB988090643A patent/CN1214180C/zh not_active Expired - Fee Related
- 1998-09-15 AT AT98948218T patent/ATE397149T1/de not_active IP Right Cessation
- 1998-09-15 KR KR1020007002573A patent/KR100599138B1/ko not_active Expired - Fee Related
Patent Citations (2)
| Publication number | Priority date | Publication date | Assignee | Title |
|---|---|---|---|---|
| US2940325A (en) * | 1957-02-15 | 1960-06-14 | Nakesch Michael | Internal combustion engine with swash plate drive |
| US5630351A (en) * | 1993-05-07 | 1997-05-20 | Whisper Tech Limited | Wobble yoke assembly |
Also Published As
| Publication number | Publication date |
|---|---|
| EP1015744A1 (en) | 2000-07-05 |
| KR20010023889A (ko) | 2001-03-26 |
| JP2001516837A (ja) | 2001-10-02 |
| CA2300111A1 (en) | 1999-03-25 |
| DE69839565D1 (enExample) | 2008-07-10 |
| KR100599138B1 (ko) | 2006-07-12 |
| CA2300111C (en) | 2009-05-26 |
| JP4260363B2 (ja) | 2009-04-30 |
| RU2219358C2 (ru) | 2003-12-20 |
| EP1015744A4 (en) | 2004-03-03 |
| CN1336982A (zh) | 2002-02-20 |
| WO1999014471A1 (en) | 1999-03-25 |
| CN1214180C (zh) | 2005-08-10 |
| ATE397149T1 (de) | 2008-06-15 |
Similar Documents
| Publication | Publication Date | Title |
|---|---|---|
| US6397794B1 (en) | Piston engine assembly | |
| AU780611B2 (en) | Piston engine balancing | |
| US7011469B2 (en) | Piston joint | |
| US7007589B1 (en) | Piston assembly | |
| US6854377B2 (en) | Variable stroke balancing | |
| EP1015744B1 (en) | Variable compression piston assembly | |
| EP1200734B1 (en) | Piston assembly and associated method | |
| EP1114242B1 (en) | Piston joint | |
| EP1471230B1 (en) | Piston engine balancing | |
| EP1200720B1 (en) | Piston engine balancing | |
| MXPA00002537A (en) | Variable compression piston assembly |
Legal Events
| Date | Code | Title | Description |
|---|---|---|---|
| PUAI | Public reference made under article 153(3) epc to a published international application that has entered the european phase |
Free format text: ORIGINAL CODE: 0009012 |
|
| 17P | Request for examination filed |
Effective date: 20000314 |
|
| AK | Designated contracting states |
Kind code of ref document: A1 Designated state(s): AT BE CH CY DE DK ES FI FR GB GR IE IT LI LU MC NL PT SE |
|
| A4 | Supplementary search report drawn up and despatched |
Effective date: 20040120 |
|
| RIC1 | Information provided on ipc code assigned before grant |
Ipc: 7F 16H 23/08 B Ipc: 7F 16H 23/06 B Ipc: 7F 16F 15/26 B Ipc: 7F 04B 1/32 B Ipc: 7F 04B 1/22 B Ipc: 7F 04B 1/14 B Ipc: 7F 01B 3/10 B Ipc: 7F 01B 3/00 B Ipc: 7F 02B 75/26 B Ipc: 7F 02B 75/04 A |
|
| 17Q | First examination report despatched |
Effective date: 20050624 |
|
| 17Q | First examination report despatched |
Effective date: 20050624 |
|
| GRAP | Despatch of communication of intention to grant a patent |
Free format text: ORIGINAL CODE: EPIDOSNIGR1 |
|
| GRAS | Grant fee paid |
Free format text: ORIGINAL CODE: EPIDOSNIGR3 |
|
| GRAA | (expected) grant |
Free format text: ORIGINAL CODE: 0009210 |
|
| AK | Designated contracting states |
Kind code of ref document: B1 Designated state(s): AT BE CH CY DE DK ES FI FR GB GR IE IT LI LU MC NL PT SE |
|
| REG | Reference to a national code |
Ref country code: GB Ref legal event code: FG4D |
|
| REG | Reference to a national code |
Ref country code: CH Ref legal event code: EP |
|
| REF | Corresponds to: |
Ref document number: 69839565 Country of ref document: DE Date of ref document: 20080710 Kind code of ref document: P |
|
| REG | Reference to a national code |
Ref country code: IE Ref legal event code: FG4D |
|
| PG25 | Lapsed in a contracting state [announced via postgrant information from national office to epo] |
Ref country code: FI Free format text: LAPSE BECAUSE OF FAILURE TO SUBMIT A TRANSLATION OF THE DESCRIPTION OR TO PAY THE FEE WITHIN THE PRESCRIBED TIME-LIMIT Effective date: 20080528 Ref country code: ES Free format text: LAPSE BECAUSE OF FAILURE TO SUBMIT A TRANSLATION OF THE DESCRIPTION OR TO PAY THE FEE WITHIN THE PRESCRIBED TIME-LIMIT Effective date: 20080908 |
|
| PG25 | Lapsed in a contracting state [announced via postgrant information from national office to epo] |
Ref country code: NL Free format text: LAPSE BECAUSE OF FAILURE TO SUBMIT A TRANSLATION OF THE DESCRIPTION OR TO PAY THE FEE WITHIN THE PRESCRIBED TIME-LIMIT Effective date: 20080528 Ref country code: AT Free format text: LAPSE BECAUSE OF FAILURE TO SUBMIT A TRANSLATION OF THE DESCRIPTION OR TO PAY THE FEE WITHIN THE PRESCRIBED TIME-LIMIT Effective date: 20080528 |
|
| NLV1 | Nl: lapsed or annulled due to failure to fulfill the requirements of art. 29p and 29m of the patents act | ||
| PG25 | Lapsed in a contracting state [announced via postgrant information from national office to epo] |
Ref country code: SE Free format text: LAPSE BECAUSE OF FAILURE TO SUBMIT A TRANSLATION OF THE DESCRIPTION OR TO PAY THE FEE WITHIN THE PRESCRIBED TIME-LIMIT Effective date: 20080828 Ref country code: PT Free format text: LAPSE BECAUSE OF FAILURE TO SUBMIT A TRANSLATION OF THE DESCRIPTION OR TO PAY THE FEE WITHIN THE PRESCRIBED TIME-LIMIT Effective date: 20081028 Ref country code: DK Free format text: LAPSE BECAUSE OF FAILURE TO SUBMIT A TRANSLATION OF THE DESCRIPTION OR TO PAY THE FEE WITHIN THE PRESCRIBED TIME-LIMIT Effective date: 20080528 |
|
| PG25 | Lapsed in a contracting state [announced via postgrant information from national office to epo] |
Ref country code: BE Free format text: LAPSE BECAUSE OF FAILURE TO SUBMIT A TRANSLATION OF THE DESCRIPTION OR TO PAY THE FEE WITHIN THE PRESCRIBED TIME-LIMIT Effective date: 20080528 |
|
| PLBE | No opposition filed within time limit |
Free format text: ORIGINAL CODE: 0009261 |
|
| STAA | Information on the status of an ep patent application or granted ep patent |
Free format text: STATUS: NO OPPOSITION FILED WITHIN TIME LIMIT |
|
| PG25 | Lapsed in a contracting state [announced via postgrant information from national office to epo] |
Ref country code: MC Free format text: LAPSE BECAUSE OF NON-PAYMENT OF DUE FEES Effective date: 20080930 |
|
| REG | Reference to a national code |
Ref country code: CH Ref legal event code: PL |
|
| 26N | No opposition filed |
Effective date: 20090303 |
|
| REG | Reference to a national code |
Ref country code: IE Ref legal event code: MM4A |
|
| REG | Reference to a national code |
Ref country code: FR Ref legal event code: ST Effective date: 20090529 |
|
| PG25 | Lapsed in a contracting state [announced via postgrant information from national office to epo] |
Ref country code: IE Free format text: LAPSE BECAUSE OF NON-PAYMENT OF DUE FEES Effective date: 20080915 |
|
| PG25 | Lapsed in a contracting state [announced via postgrant information from national office to epo] |
Ref country code: IT Free format text: LAPSE BECAUSE OF FAILURE TO SUBMIT A TRANSLATION OF THE DESCRIPTION OR TO PAY THE FEE WITHIN THE PRESCRIBED TIME-LIMIT Effective date: 20080528 |
|
| PG25 | Lapsed in a contracting state [announced via postgrant information from national office to epo] |
Ref country code: LI Free format text: LAPSE BECAUSE OF NON-PAYMENT OF DUE FEES Effective date: 20080930 Ref country code: FR Free format text: LAPSE BECAUSE OF NON-PAYMENT OF DUE FEES Effective date: 20080930 Ref country code: CH Free format text: LAPSE BECAUSE OF NON-PAYMENT OF DUE FEES Effective date: 20080930 |
|
| PG25 | Lapsed in a contracting state [announced via postgrant information from national office to epo] |
Ref country code: LU Free format text: LAPSE BECAUSE OF NON-PAYMENT OF DUE FEES Effective date: 20080915 |
|
| PG25 | Lapsed in a contracting state [announced via postgrant information from national office to epo] |
Ref country code: CY Free format text: LAPSE BECAUSE OF FAILURE TO SUBMIT A TRANSLATION OF THE DESCRIPTION OR TO PAY THE FEE WITHIN THE PRESCRIBED TIME-LIMIT Effective date: 20080528 |
|
| PG25 | Lapsed in a contracting state [announced via postgrant information from national office to epo] |
Ref country code: GR Free format text: LAPSE BECAUSE OF FAILURE TO SUBMIT A TRANSLATION OF THE DESCRIPTION OR TO PAY THE FEE WITHIN THE PRESCRIBED TIME-LIMIT Effective date: 20080829 |
|
| PGFP | Annual fee paid to national office [announced via postgrant information from national office to epo] |
Ref country code: DE Payment date: 20130919 Year of fee payment: 16 |
|
| PGFP | Annual fee paid to national office [announced via postgrant information from national office to epo] |
Ref country code: GB Payment date: 20130919 Year of fee payment: 16 |
|
| REG | Reference to a national code |
Ref country code: DE Ref legal event code: R119 Ref document number: 69839565 Country of ref document: DE |
|
| GBPC | Gb: european patent ceased through non-payment of renewal fee |
Effective date: 20140915 |
|
| REG | Reference to a national code |
Ref country code: DE Ref legal event code: R119 Ref document number: 69839565 Country of ref document: DE Effective date: 20150401 |
|
| PG25 | Lapsed in a contracting state [announced via postgrant information from national office to epo] |
Ref country code: GB Free format text: LAPSE BECAUSE OF NON-PAYMENT OF DUE FEES Effective date: 20140915 Ref country code: DE Free format text: LAPSE BECAUSE OF NON-PAYMENT OF DUE FEES Effective date: 20150401 |