EP0868356B1 - Kasten mit informations- oder dekorationsplatte - Google Patents
Kasten mit informations- oder dekorationsplatte Download PDFInfo
- Publication number
- EP0868356B1 EP0868356B1 EP96943781A EP96943781A EP0868356B1 EP 0868356 B1 EP0868356 B1 EP 0868356B1 EP 96943781 A EP96943781 A EP 96943781A EP 96943781 A EP96943781 A EP 96943781A EP 0868356 B1 EP0868356 B1 EP 0868356B1
- Authority
- EP
- European Patent Office
- Prior art keywords
- display panel
- tabs
- crate
- grooves
- wall
- Prior art date
- Legal status (The legal status is an assumption and is not a legal conclusion. Google has not performed a legal analysis and makes no representation as to the accuracy of the status listed.)
- Expired - Lifetime
Links
- 238000005034 decoration Methods 0.000 title 1
- 238000000034 method Methods 0.000 claims description 2
- 229920003023 plastic Polymers 0.000 description 4
- 239000004033 plastic Substances 0.000 description 4
- 238000005452 bending Methods 0.000 description 3
- 239000011087 paperboard Substances 0.000 description 2
- 239000000463 material Substances 0.000 description 1
Images
Classifications
-
- B—PERFORMING OPERATIONS; TRANSPORTING
- B65—CONVEYING; PACKING; STORING; HANDLING THIN OR FILAMENTARY MATERIAL
- B65D—CONTAINERS FOR STORAGE OR TRANSPORT OF ARTICLES OR MATERIALS, e.g. BAGS, BARRELS, BOTTLES, BOXES, CANS, CARTONS, CRATES, DRUMS, JARS, TANKS, HOPPERS, FORWARDING CONTAINERS; ACCESSORIES, CLOSURES, OR FITTINGS THEREFOR; PACKAGING ELEMENTS; PACKAGES
- B65D25/00—Details of other kinds or types of rigid or semi-rigid containers
- B65D25/20—External fittings
- B65D25/205—Means for the attachment of labels, cards, coupons or the like
-
- G—PHYSICS
- G09—EDUCATION; CRYPTOGRAPHY; DISPLAY; ADVERTISING; SEALS
- G09F—DISPLAYING; ADVERTISING; SIGNS; LABELS OR NAME-PLATES; SEALS
- G09F3/00—Labels, tag tickets, or similar identification or indication means; Seals; Postage or like stamps
- G09F3/04—Labels, tag tickets, or similar identification or indication means; Seals; Postage or like stamps to be fastened or secured by the material of the label itself, e.g. by thermo-adhesion
Definitions
- This invention relates to a crate for carrying articles, for example bottles, which is furnished with a detachable display panel on one or more of its sides or end walls.
- a detachable display panel on one or more of its sides or end walls.
- BE 905329A illustrates a crate having a display panel connected to at least one wall of the crate by the engagement of locking tabs formed in comers of the display panels with corresponding locking apertures formed in the wall.
- One aspect of the invention provides a crate for carrying articles, such as bottles, comprising at least one wall having a display panel detachably connected to said wall, wherein said wall is formed with a plurality of locking apertures spaced apart, each of said locking apertures receiving one of a corresponding group of locking tabs provided on at least one edge of the display panel which is thereby detachably connected to said wall characterised in that said wall is provided with a plurality of grooves and wherein each of said grooves receives another edge of the display panel.
- the display panel may be rectilinear and wherein said locking tabs may protrude from opposing sides of said display panel, the distance between said tabs along one side being greater then the distance between tabs along the opposing side.
- each of the grooves may be attached to a lip on its outer surface, said lip is adapted to guide said display panel into position.
- each of the grooves and/or the apertures may be positioned so that said display panel is maintained in a substantially flat relationship against said wall.
- the locking tabs may be located along upper and lower edges of said display panel each facing away from said display panel.
- each of the grooves may be positioned to support the side edges of said display panel.
- the locking tabs located along the lower edges of said display panel may protrude a greater distance than the locking tabs located along the upper edges of the display panel thereby enabling the lower edge tabs to be maintained in their respective locking apertures when the locking tabs protruding from the upper edges are located in their corresponding apertures.
- Another aspect of the invention provides a method of detachably connecting a display panel to the at least one wall of the crate characterised in that the blank is bent to compress the side edges, and the lower edge being pushed into a face to face relationship with the crate wall until lower tabs are engaged with corresponding apertures, the grooves then act as guides to assist in slotting side edges into their respective grooves, the upper edge tabs are brought into contact with their respective apertures and locked into position.
- a third aspect of the invention provides a display panel for use with a crate of the invention described herein, which display panel is rectilinear and wherein a plurality of locking tabs protrude from opposing sides of the display panel, the distance between the tabs along one side being greater than the distance between tabs along the opposing side.
- a rectilinear blank 10 of paperboard or other suitable material for forming a display panel is formed with locking tabs 12,14,16,18 protruding from upper and lower edges of the blank.
- the locking tabs are of known form.
- FIG. 2 Illustrated in Figure 2 is a plastics bottle crate 20 which has in one or more of its end and/or side walls 22, a caved section 23 to receive the blank 10.
- Caved section 23 contains four locking apertures a1, a2, a3, a4 spaced apart so that they can receive locking tabs 12, 14, 16, 18 respectively.
- the size and/or shape of the display panel can be varied according to particular requirements.
- the selection of the position and number of locking tabs on the blank can also be varied to enable the blank to be positioned in a face to face relationship with the caved section panel 24.
- the distance d1 between tabs positioned on the lower edge of the blank 10 is greater than the distance d2 between tabs located along the upper edge of blank 10.
- the side edges of the display panel are positioned within grooves g1, g2 located within the caved section, as shown in Figure 2.
- the grooves maintain the display panel in a flat relationship within the caved section and assist in minimising amount of display panel bending, once in use.
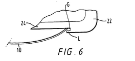
- the display panel is attached to one or more of the crate sides or end walls, by bending the carton and using lips L1 and L2 illustrated in Figure 2, to channel the display panel and lower edge locking tabs 12,14 towards apertures a1, a2. Locking tabs 12,14 are then inserted into their respective apertures a1, a2. Lips L1, L2 maintain the carton in a bent form and guide the side edges s1, s2 shown in Figure 1 into the grooves g1, g2 respectively while the display panel is being channelled into the correct position. Once side edges s1 and s2 are located in grooves g1 and g2 respectively, as illustrated in Figure 6 the upper locking tabs 16, 18 are located into their respective apertures a3, a4.
- locking tabs 12, 14 extending from the lower edge are longer than locking tabs 16,18 extending from the upper edge, to ensure that when the upper edge locking tabs are moved into a final position, locking tabs 12, 14 (already in position) are not disengaged from locking apertures a1, a2, thereby dislodging the display panel.
- the display panels can be readily removed from the crate walls, e.g. by vacuum cups which usually results in the locking tabs tearing off when the panel is removed.
- locking tabs and/or locking apertures are envisaged. Equally, the type and number of grooves or the display panel are not limited to the embodiments illustrated. However, by this arrangement advertising, identification or other data can be applied to the crate and is replaceable when a different display of information is required or if through general wear and tear and the attached display panel has become damaged or soiled and therefore requires replacement.
Landscapes
- Engineering & Computer Science (AREA)
- Mechanical Engineering (AREA)
- Physics & Mathematics (AREA)
- General Physics & Mathematics (AREA)
- Theoretical Computer Science (AREA)
- Details Of Rigid Or Semi-Rigid Containers (AREA)
- Display Devices Of Pinball Game Machines (AREA)
- Developing Agents For Electrophotography (AREA)
- Packaging For Recording Disks (AREA)
- Packaging Frangible Articles (AREA)
Claims (9)
- Kiste zum Tragen von Gegenständen wie Flaschen, wobei diese wenigstens eine Wand umfasst, die eine Sichtwandfläche (10) aufweist, die abnehmbar mit der Wand verbunden ist, wobei die Wand mit einer Vielzahl voneinander beabstandeter Verschlussöffnungen (a1, a2, a3, a4) ausgebildet ist, wobei jede der Verschlussöffnungen eine Verschlusslasche aus einer entsprechenden Gruppe von Verschlusslaschen aufnimmt, die an wenigstens einer Kante der Sichtwandfläche bereitgestellt sind, die dadurch abnehmbar mit der Wand verbunden ist, dadurch gekennzeichnet, dass die Wand mit einer Vielzahl von Rillen (g1, g2) bereitgestellt ist, und wobei jede der Rillen eine andere Kante (s1, s2) der Sichtwandfläche aufnimmt.
- Kiste nach Anspruch 1, wobei die Sichtwandfläche (10) geradlinig ist und wobei die Verschlusslaschen (12, 14, 16, 18) von gegenüberliegenden Seiten der Sichtwandfläche vorstehen, wobei der Abstand zwischen den Laschen entlang einer Seite größer ist als der Abstand zwischen den Laschen entlang der gegenüberliegenden Seite.
- Kiste nach Anspruch 1 oder 2, wobei jede der Rillen (g1, g2) an einer Lippe (L1, L2) an ihrer Außenfläche befestigt ist, wobei die Lippe (L1, L2) angepasst ist, um die Sichtwandfläche in Position zu führen.
- Kiste nach einem der Ansprüche 1 bis 3, wobei jede der Rillen (g1, g2) und/oder die Öffnungen (a1, a2, a3, a4) derart angeordnet sind, dass die Sichtwandfläche (10) in einer im Wesentlichen flachen Beziehung gegen die Wand gehalten wird.
- Kiste nach einem der Ansprüche 1 bis 4, wobei die Verschlusslaschen (12, 14, 16, 18) entlang oberer und unterer Kanten der Sichtwandfläche (10) angeordnet sind, wobei jede von der Sichtwandfläche wegweist.
- Kiste nach einem der vorstehenden Ansprüche, wobei jede der Rillen (g1, g2) angeordnet ist, um die Seitenkanten der Sichtwandfläche zu halten.
- Kiste nach Anspruch 5 oder 6, wobei die entlang der unteren Kanten der Sichtwandfläche angeordneten Verschlusslaschen (12, 14) eine größere Strecke vorstehen als die entlang der oberen Kanten der Sichtwandfläche (10) angeordneten Verschlusslaschen (16, 18), wodurch die Laschen der unteren Kante (12, 14) in ihren entsprechenden Verschlussöffnungen (a1, a2) gehalten werden können, wenn die von den oberen Kanten vorstehenden Verschlusslaschen (16, 18) in ihren entsprechenden Öffnungen (a3, a4) angeordnet sind.
- Verfahren zum abnehmbaren Verbinden einer Sichtwandfläche (10) mit wenigstens einer Wand (20, 22) der Kiste nach Anspruch 5 oder 6, dadurch gekennzeichnet, dass der Zuschnitt gebogen wird, um die Seitenkanten (s1, s2) zusammenzudrücken, und wobei die unteren Kante in eine flächenberührende Beziehung mit der Kistenwand geschoben wird, bis untere Laschen (12, 14) von entsprechenden Öffnungen (a1, a2) in Eingriff genommen werden; die Rillen (g1, g2) dann als Führungen wirken, um beim Einbringen der Seitenkanten (s1, s2) in ihre entsprechenden Rillen zu unterstützen, die Laschen der oberen Kante (16, 18) in Kontakt mit ihren entsprechenden Öffnungen (a3, a4) gebracht werden und in Position fixiert werden.
- Sichtwandfläche (10) für die Verwendung zusammen mit der Kiste nach einem der Ansprüche 2 bis 7, wobei die Sichtwandfläche (10) geradlinig ist und wobei eine Vielzahl von Verschlusslaschen (12, 14, 16, 18) von gegenüberliegenden Seiten der Sichtwandfläche vorstehen, wobei der Abstand zwischen den Laschen entlang einer Seite größer ist als der Abstand zwischen Laschen entlang der gegenüberliegenden Seite.
Applications Claiming Priority (3)
| Application Number | Priority Date | Filing Date | Title |
|---|---|---|---|
| GB9525718 | 1995-12-15 | ||
| GBGB9525718.4A GB9525718D0 (en) | 1995-12-15 | 1995-12-15 | Crate with display panel decoration |
| PCT/US1996/020073 WO1997021599A1 (en) | 1995-12-15 | 1996-12-14 | Crate with display panel decoration |
Publications (2)
| Publication Number | Publication Date |
|---|---|
| EP0868356A1 EP0868356A1 (de) | 1998-10-07 |
| EP0868356B1 true EP0868356B1 (de) | 2001-10-04 |
Family
ID=10785522
Family Applications (1)
| Application Number | Title | Priority Date | Filing Date |
|---|---|---|---|
| EP96943781A Expired - Lifetime EP0868356B1 (de) | 1995-12-15 | 1996-12-14 | Kasten mit informations- oder dekorationsplatte |
Country Status (9)
| Country | Link |
|---|---|
| EP (1) | EP0868356B1 (de) |
| AT (1) | ATE206378T1 (de) |
| AU (1) | AU1293097A (de) |
| DE (1) | DE69615703T2 (de) |
| DK (1) | DK0868356T3 (de) |
| ES (1) | ES2165535T3 (de) |
| GB (1) | GB9525718D0 (de) |
| PT (1) | PT868356E (de) |
| WO (1) | WO1997021599A1 (de) |
Families Citing this family (4)
| Publication number | Priority date | Publication date | Assignee | Title |
|---|---|---|---|---|
| DE20215400U1 (de) * | 2002-10-07 | 2004-02-19 | Fürstlich Fürstenbergische Brauerei KG | Flaschenkasten |
| EP1623929A1 (de) * | 2004-08-05 | 2006-02-08 | Befa GmbH Handelsgesellschaft | Bedruckte Folie als Informationsträger für eine Verpackung eines Fertiggerichts, insbesondere eine Pizzaverpackung |
| US9095249B2 (en) | 2010-04-08 | 2015-08-04 | Miguel Pujadas, S.A. | Dishwasher tray |
| ES1072252Y (es) * | 2010-04-08 | 2010-09-10 | Miquel Pujadas S A | Bandeja para lavaplatos |
Family Cites Families (3)
| Publication number | Priority date | Publication date | Assignee | Title |
|---|---|---|---|---|
| NL8502335A (nl) * | 1985-08-26 | 1987-03-16 | Unilever Nv | Krat of dergelijke houder voor bijvoorbeeld flessen voorzien van een verwisselbare kaart en verwisselbare kaart daarvoor. |
| NL9301655A (nl) * | 1993-09-24 | 1995-04-18 | Dynoplast Bv | Kunststof houder, voorzien van een omtreksrand met een opneemruimte voor een buigzame kaart. |
| DE29511972U1 (de) * | 1995-07-25 | 1995-10-05 | Franz Delbrouck GmbH, 58710 Menden | Quaderförmiger Kasten aus Kunststoff |
-
1995
- 1995-12-15 GB GBGB9525718.4A patent/GB9525718D0/en active Pending
-
1996
- 1996-12-14 EP EP96943781A patent/EP0868356B1/de not_active Expired - Lifetime
- 1996-12-14 AU AU12930/97A patent/AU1293097A/en not_active Abandoned
- 1996-12-14 WO PCT/US1996/020073 patent/WO1997021599A1/en not_active Ceased
- 1996-12-14 DK DK96943781T patent/DK0868356T3/da active
- 1996-12-14 PT PT96943781T patent/PT868356E/pt unknown
- 1996-12-14 ES ES96943781T patent/ES2165535T3/es not_active Expired - Lifetime
- 1996-12-14 AT AT96943781T patent/ATE206378T1/de not_active IP Right Cessation
- 1996-12-14 DE DE69615703T patent/DE69615703T2/de not_active Expired - Fee Related
Also Published As
| Publication number | Publication date |
|---|---|
| GB9525718D0 (en) | 1996-02-14 |
| DE69615703T2 (de) | 2002-05-29 |
| EP0868356A1 (de) | 1998-10-07 |
| ES2165535T3 (es) | 2002-03-16 |
| ATE206378T1 (de) | 2001-10-15 |
| DE69615703D1 (de) | 2001-11-08 |
| DK0868356T3 (da) | 2001-11-19 |
| AU1293097A (en) | 1997-07-03 |
| WO1997021599A1 (en) | 1997-06-19 |
| PT868356E (pt) | 2002-01-30 |
Similar Documents
| Publication | Publication Date | Title |
|---|---|---|
| CN103118952B (zh) | 产品分配系统 | |
| US6363645B1 (en) | Insert for display panels | |
| US5590813A (en) | Dispenser | |
| US5018287A (en) | Label holder for parts bin | |
| IL89470A0 (en) | Method and machine for forming cases with polygonal section made from a sheet material and cases thus obtained | |
| MXPA97008117A (en) | Sheath of reagent carrier machines | |
| TW357130B (en) | Carton and a handle therefor | |
| US3659774A (en) | Composite carrying case | |
| US20030146270A1 (en) | Display packaging | |
| WO1999029589A3 (fr) | Etui pour produits tels que des lingettes humides | |
| EP1220803B1 (de) | Kartonbehälter für zigaretten, der zur schaustellung des inhalts teilweise geöffnet werden kann | |
| EP0950617A3 (de) | Kartonumhüllung | |
| NO302612B1 (no) | Plate for stabilisering av en gruppe identiske bokser | |
| AU6518400A (en) | Easy-to-open display container | |
| EP1225134A3 (de) | Artikelträger und Zuschnitt dafür | |
| EP0868356B1 (de) | Kasten mit informations- oder dekorationsplatte | |
| US5524750A (en) | Card holder for container | |
| MXPA03011934A (es) | Corredera para calendario. | |
| CA2067856A1 (en) | Opening structure for wedge-shaped pie carton | |
| US20080302692A1 (en) | Article Package Comprising Partially Covering Flange and a Film Wrapping the Entire Package | |
| EP1004519A1 (de) | Behälterträger | |
| CA2380588A1 (en) | Dispensing carton for paper sheet products | |
| JPH05338644A (ja) | 展示および販売用の包装容器およびその製造方法 | |
| HUT66880A (en) | Unit package for packing and selling objects of small size especially office supplies | |
| US20210387764A1 (en) | Package Covers and Associated Assemblies and Methods |
Legal Events
| Date | Code | Title | Description |
|---|---|---|---|
| PUAI | Public reference made under article 153(3) epc to a published international application that has entered the european phase |
Free format text: ORIGINAL CODE: 0009012 |
|
| 17P | Request for examination filed |
Effective date: 19980714 |
|
| AK | Designated contracting states |
Kind code of ref document: A1 Designated state(s): AT BE CH DE DK ES FI FR GB GR IE IT LI NL PT SE |
|
| 17Q | First examination report despatched |
Effective date: 19990421 |
|
| GRAG | Despatch of communication of intention to grant |
Free format text: ORIGINAL CODE: EPIDOS AGRA |
|
| GRAG | Despatch of communication of intention to grant |
Free format text: ORIGINAL CODE: EPIDOS AGRA |
|
| GRAH | Despatch of communication of intention to grant a patent |
Free format text: ORIGINAL CODE: EPIDOS IGRA |
|
| GRAG | Despatch of communication of intention to grant |
Free format text: ORIGINAL CODE: EPIDOS AGRA |
|
| GRAH | Despatch of communication of intention to grant a patent |
Free format text: ORIGINAL CODE: EPIDOS IGRA |
|
| GRAH | Despatch of communication of intention to grant a patent |
Free format text: ORIGINAL CODE: EPIDOS IGRA |
|
| GRAA | (expected) grant |
Free format text: ORIGINAL CODE: 0009210 |
|
| AK | Designated contracting states |
Kind code of ref document: B1 Designated state(s): AT BE CH DE DK ES FI FR GB GR IE IT LI NL PT SE |
|
| REF | Corresponds to: |
Ref document number: 206378 Country of ref document: AT Date of ref document: 20011015 Kind code of ref document: T |
|
| REG | Reference to a national code |
Ref country code: CH Ref legal event code: NV Representative=s name: KIRKER & CIE SA Ref country code: CH Ref legal event code: EP |
|
| REF | Corresponds to: |
Ref document number: 69615703 Country of ref document: DE Date of ref document: 20011108 |
|
| REG | Reference to a national code |
Ref country code: IE Ref legal event code: FG4D |
|
| REG | Reference to a national code |
Ref country code: DK Ref legal event code: T3 |
|
| ET | Fr: translation filed | ||
| REG | Reference to a national code |
Ref country code: GB Ref legal event code: IF02 |
|
| REG | Reference to a national code |
Ref country code: PT Ref legal event code: SC4A Free format text: AVAILABILITY OF NATIONAL TRANSLATION Effective date: 20011016 |
|
| REG | Reference to a national code |
Ref country code: ES Ref legal event code: FG2A Ref document number: 2165535 Country of ref document: ES Kind code of ref document: T3 |
|
| REG | Reference to a national code |
Ref country code: GR Ref legal event code: EP Ref document number: 20010402564 Country of ref document: GR |
|
| PLBE | No opposition filed within time limit |
Free format text: ORIGINAL CODE: 0009261 |
|
| STAA | Information on the status of an ep patent application or granted ep patent |
Free format text: STATUS: NO OPPOSITION FILED WITHIN TIME LIMIT |
|
| 26N | No opposition filed | ||
| PGFP | Annual fee paid to national office [announced via postgrant information from national office to epo] |
Ref country code: AT Payment date: 20031106 Year of fee payment: 8 |
|
| PGFP | Annual fee paid to national office [announced via postgrant information from national office to epo] |
Ref country code: FR Payment date: 20031110 Year of fee payment: 8 |
|
| PGFP | Annual fee paid to national office [announced via postgrant information from national office to epo] |
Ref country code: DK Payment date: 20031111 Year of fee payment: 8 |
|
| PGFP | Annual fee paid to national office [announced via postgrant information from national office to epo] |
Ref country code: FI Payment date: 20031114 Year of fee payment: 8 |
|
| PGFP | Annual fee paid to national office [announced via postgrant information from national office to epo] |
Ref country code: NL Payment date: 20031117 Year of fee payment: 8 Ref country code: CH Payment date: 20031117 Year of fee payment: 8 |
|
| PGFP | Annual fee paid to national office [announced via postgrant information from national office to epo] |
Ref country code: SE Payment date: 20031118 Year of fee payment: 8 Ref country code: PT Payment date: 20031118 Year of fee payment: 8 Ref country code: GB Payment date: 20031118 Year of fee payment: 8 |
|
| PGFP | Annual fee paid to national office [announced via postgrant information from national office to epo] |
Ref country code: IE Payment date: 20031120 Year of fee payment: 8 |
|
| PGFP | Annual fee paid to national office [announced via postgrant information from national office to epo] |
Ref country code: DE Payment date: 20031125 Year of fee payment: 8 |
|
| PGFP | Annual fee paid to national office [announced via postgrant information from national office to epo] |
Ref country code: GR Payment date: 20031127 Year of fee payment: 8 |
|
| PGFP | Annual fee paid to national office [announced via postgrant information from national office to epo] |
Ref country code: ES Payment date: 20031205 Year of fee payment: 8 |
|
| PGFP | Annual fee paid to national office [announced via postgrant information from national office to epo] |
Ref country code: BE Payment date: 20031217 Year of fee payment: 8 |
|
| PG25 | Lapsed in a contracting state [announced via postgrant information from national office to epo] |
Ref country code: FI Free format text: LAPSE BECAUSE OF NON-PAYMENT OF DUE FEES Effective date: 20041204 |
|
| PG25 | Lapsed in a contracting state [announced via postgrant information from national office to epo] |
Ref country code: IE Free format text: LAPSE BECAUSE OF NON-PAYMENT OF DUE FEES Effective date: 20041214 Ref country code: GB Free format text: LAPSE BECAUSE OF NON-PAYMENT OF DUE FEES Effective date: 20041214 Ref country code: AT Free format text: LAPSE BECAUSE OF NON-PAYMENT OF DUE FEES Effective date: 20041214 |
|
| PG25 | Lapsed in a contracting state [announced via postgrant information from national office to epo] |
Ref country code: SE Free format text: LAPSE BECAUSE OF NON-PAYMENT OF DUE FEES Effective date: 20041215 Ref country code: ES Free format text: LAPSE BECAUSE OF NON-PAYMENT OF DUE FEES Effective date: 20041215 |
|
| PG25 | Lapsed in a contracting state [announced via postgrant information from national office to epo] |
Ref country code: LI Free format text: LAPSE BECAUSE OF NON-PAYMENT OF DUE FEES Effective date: 20041231 Ref country code: CH Free format text: LAPSE BECAUSE OF NON-PAYMENT OF DUE FEES Effective date: 20041231 Ref country code: BE Free format text: LAPSE BECAUSE OF NON-PAYMENT OF DUE FEES Effective date: 20041231 |
|
| PG25 | Lapsed in a contracting state [announced via postgrant information from national office to epo] |
Ref country code: DK Free format text: LAPSE BECAUSE OF NON-PAYMENT OF DUE FEES Effective date: 20050103 |
|
| REG | Reference to a national code |
Ref country code: CH Ref legal event code: PUE Owner name: MEADWESTVACO PACKAGING SYSTEMS, LLC Free format text: THE MEAD CORPORATION#COURTHOUSE PLAZA NE#DAYTON OHIO 45463 (US) -TRANSFER TO- MEADWESTVACO PACKAGING SYSTEMS, LLC#ONE HIGH RIDGE PARK#STAMFORD, CT 06905 (US) |
|
| NLS | Nl: assignments of ep-patents |
Owner name: MEADWESTVACO PACKAGING SYSTEMS LLC Owner name: MW CUSTOM PAPERS, INC (A DELAWARE CORPORATION) |
|
| NLT1 | Nl: modifications of names registered in virtue of documents presented to the patent office pursuant to art. 16 a, paragraph 1 |
Owner name: MW CUSTOM PAPERS, LLC |
|
| PG25 | Lapsed in a contracting state [announced via postgrant information from national office to epo] |
Ref country code: PT Free format text: LAPSE BECAUSE OF NON-PAYMENT OF DUE FEES Effective date: 20050614 |
|
| BERE | Be: lapsed |
Owner name: THE *MEAD CORP. Effective date: 20041231 |
|
| PG25 | Lapsed in a contracting state [announced via postgrant information from national office to epo] |
Ref country code: NL Free format text: LAPSE BECAUSE OF NON-PAYMENT OF DUE FEES Effective date: 20050701 Ref country code: DE Free format text: LAPSE BECAUSE OF NON-PAYMENT OF DUE FEES Effective date: 20050701 |
|
| PG25 | Lapsed in a contracting state [announced via postgrant information from national office to epo] |
Ref country code: GR Free format text: LAPSE BECAUSE OF NON-PAYMENT OF DUE FEES Effective date: 20050704 |
|
| REG | Reference to a national code |
Ref country code: DK Ref legal event code: EBP |
|
| EUG | Se: european patent has lapsed | ||
| GBPC | Gb: european patent ceased through non-payment of renewal fee |
Effective date: 20041214 |
|
| REG | Reference to a national code |
Ref country code: CH Ref legal event code: PL |
|
| PG25 | Lapsed in a contracting state [announced via postgrant information from national office to epo] |
Ref country code: FR Free format text: LAPSE BECAUSE OF NON-PAYMENT OF DUE FEES Effective date: 20050831 |
|
| REG | Reference to a national code |
Ref country code: PT Ref legal event code: MM4A Effective date: 20050614 |
|
| NLV4 | Nl: lapsed or anulled due to non-payment of the annual fee |
Effective date: 20050701 |
|
| REG | Reference to a national code |
Ref country code: IE Ref legal event code: MM4A |
|
| REG | Reference to a national code |
Ref country code: FR Ref legal event code: ST |
|
| PG25 | Lapsed in a contracting state [announced via postgrant information from national office to epo] |
Ref country code: IT Free format text: LAPSE BECAUSE OF NON-PAYMENT OF DUE FEES Effective date: 20051214 |
|
| REG | Reference to a national code |
Ref country code: ES Ref legal event code: FD2A Effective date: 20041215 |
|
| BERE | Be: lapsed |
Owner name: THE *MEAD CORP. Effective date: 20041231 |