EP0615848B1 - Ink tank - Google Patents

Ink tank Download PDF

Info

Publication number
EP0615848B1
EP0615848B1 EP94101088A EP94101088A EP0615848B1 EP 0615848 B1 EP0615848 B1 EP 0615848B1 EP 94101088 A EP94101088 A EP 94101088A EP 94101088 A EP94101088 A EP 94101088A EP 0615848 B1 EP0615848 B1 EP 0615848B1
Authority
EP
European Patent Office
Prior art keywords
ink
tank
supply
porous member
wire
Prior art date
Legal status (The legal status is an assumption and is not a legal conclusion. Google has not performed a legal analysis and makes no representation as to the accuracy of the status listed.)
Expired - Lifetime
Application number
EP94101088A
Other languages
German (de)
English (en)
French (fr)
Other versions
EP0615848A1 (en
Inventor
Takashi Suzuki
Yoshinori Miyazawa
Masanao Matsuzawa
Current Assignee (The listed assignees may be inaccurate. Google has not performed a legal analysis and makes no representation or warranty as to the accuracy of the list.)
Seiko Epson Corp
Original Assignee
Seiko Epson Corp
Priority date (The priority date is an assumption and is not a legal conclusion. Google has not performed a legal analysis and makes no representation as to the accuracy of the date listed.)
Filing date
Publication date
Family has litigation
First worldwide family litigation filed litigation Critical https://patents.darts-ip.com/?family=26443529&utm_source=google_patent&utm_medium=platform_link&utm_campaign=public_patent_search&patent=EP0615848(B1) "Global patent litigation dataset” by Darts-ip is licensed under a Creative Commons Attribution 4.0 International License.
Priority claimed from JP10284184A external-priority patent/JPS60245560A/ja
Priority claimed from JP59102843A external-priority patent/JP2563769B2/ja
Application filed by Seiko Epson Corp filed Critical Seiko Epson Corp
Priority claimed from EP84306887A external-priority patent/EP0139508B1/en
Publication of EP0615848A1 publication Critical patent/EP0615848A1/en
Application granted granted Critical
Publication of EP0615848B1 publication Critical patent/EP0615848B1/en
Anticipated expiration legal-status Critical
Expired - Lifetime legal-status Critical Current

Links

Images

Classifications

    • BPERFORMING OPERATIONS; TRANSPORTING
    • B41PRINTING; LINING MACHINES; TYPEWRITERS; STAMPS
    • B41JTYPEWRITERS; SELECTIVE PRINTING MECHANISMS, i.e. MECHANISMS PRINTING OTHERWISE THAN FROM A FORME; CORRECTION OF TYPOGRAPHICAL ERRORS
    • B41J2/00Typewriters or selective printing mechanisms characterised by the printing or marking process for which they are designed
    • B41J2/005Typewriters or selective printing mechanisms characterised by the printing or marking process for which they are designed characterised by bringing liquid or particles selectively into contact with a printing material
    • B41J2/01Ink jet
    • B41J2/17Ink jet characterised by ink handling
    • B41J2/175Ink supply systems ; Circuit parts therefor
    • B41J2/17503Ink cartridges
    • B41J2/17513Inner structure
    • BPERFORMING OPERATIONS; TRANSPORTING
    • B41PRINTING; LINING MACHINES; TYPEWRITERS; STAMPS
    • B41JTYPEWRITERS; SELECTIVE PRINTING MECHANISMS, i.e. MECHANISMS PRINTING OTHERWISE THAN FROM A FORME; CORRECTION OF TYPOGRAPHICAL ERRORS
    • B41J2/00Typewriters or selective printing mechanisms characterised by the printing or marking process for which they are designed
    • B41J2/22Typewriters or selective printing mechanisms characterised by the printing or marking process for which they are designed characterised by selective application of impact or pressure on a printing material or impression-transfer material
    • B41J2/23Typewriters or selective printing mechanisms characterised by the printing or marking process for which they are designed characterised by selective application of impact or pressure on a printing material or impression-transfer material using print wires
    • B41J2/235Print head assemblies
    • B41J2/25Print wires
    • B41J2/255Arrangement of the print ends of the wires
    • BPERFORMING OPERATIONS; TRANSPORTING
    • B41PRINTING; LINING MACHINES; TYPEWRITERS; STAMPS
    • B41JTYPEWRITERS; SELECTIVE PRINTING MECHANISMS, i.e. MECHANISMS PRINTING OTHERWISE THAN FROM A FORME; CORRECTION OF TYPOGRAPHICAL ERRORS
    • B41J2/00Typewriters or selective printing mechanisms characterised by the printing or marking process for which they are designed
    • B41J2/22Typewriters or selective printing mechanisms characterised by the printing or marking process for which they are designed characterised by selective application of impact or pressure on a printing material or impression-transfer material
    • B41J2/23Typewriters or selective printing mechanisms characterised by the printing or marking process for which they are designed characterised by selective application of impact or pressure on a printing material or impression-transfer material using print wires
    • B41J2/305Ink supply apparatus

Definitions

  • the present invention relates to an ink tank. It is exemplified in this text by an ink tank for a wire dot matrix printer head.
  • a wire dot macrix printer head has wires supplied with ink at distal end faces and movable against a sheet of print paper for transferring ink to the sheet in the form of dots to record a character, a figure, a graphic image or the like on the sheet.
  • An ink supply system for a wire dot matrix printer is known in which an ink ribbon is not used, but ink is supplied from an ink tank to the distal ends of the wire and transferred from the wires directly to a sheet of print paper.
  • One known ink guide mechanism for such an ink supply system is disclosed in US-A-4,194,846 and comprises a porous member capable of absorbing ink from an ink tank, the ink guide mechanism having wires contacting the porous member.
  • the porous member contains fine holes whose sizes or diameters vary in a certain range, with the result that the ink absorbing capability varies from porous member to porous member, and both excessive and insufficient quantities of ink are liable to be supplied to the distal ends of the wires.
  • EP-A-97,009 discloses another ink supply mechanism in which ink is supplied from an ink tank to the distal ends of wires by means of a pump.
  • the ink supply mechanism of EP-A-97,009 has, however, the disadvantage that the construction of the connection between the pump and a printer head is complex and results in increased cost. It is necessary to provide a good seal so as to obtain good pump performance, and a large-torque drive source is required for driving the pump.
  • the ink supply mechanism is particularly complex in the case of a multi-colour printer head, and such an ink supply mechanism is not suitable for use with a small printer head.
  • a wire dot matrix printer head comprising an ink tank; a wire guide means having a portion which is arranged to receive ink from the ink tank; and a printing wire a distal end portion of which is mounted in a hole in the wire guide means, the wire guide means having a capillary ink path which communicates both with the said portion of the wire guide means and with a distal end portion of the printing wire so as to supply ink to the latter.
  • the ink tank contains liquid ink which enters one end of the capillary ink path, with the result that ink flow is liable to vary or to be interrupted if the liquid ink contains particles of dust etc. which clog the capillary ink path.
  • the wire guide means is so constructed that any air which has been drawn into the ink by capillary force cannot escape therefrom prior to reaching the distal end surface of the wire guide means, with the result that the air can expand under the low pressure which is present and cause flow problems. Additionally, no means are provided for preventing excessive ink accumulating on the distal end surface of the wire guide means.
  • a wire dot matrix printer head comprising an ink supply means; a wire guide means having a portion which is arranged to receive ink from the ink supply means and which has a distal end surface; and a printing wire a distal end portion of which is mounted in a hole in the wire guide means with a gap therebetween, the wire guide means having a capillary ink path which communicates both with the said portion and the distal end surface of the wire guide means and with the distal end portion of the printing wire so as to supply ink to the latter, the said hole communicating with at least one ink collection groove situated in the distal end surface of the wire guide means into which ink collection groove any excessive ink on the distal end surface of the wire guide means is drawn under capillary attraction, the or each ink collection groove being open to the atmosphere.
  • ink reservoir or cartridge which contains a porous filter and has an air hole.
  • the reservoir may be completely filled with the filter or only partially.
  • no embodiment with a partially filled reservoir is described as well as no advantage being mentioned.
  • the ink tank for supplying a proper amount of ink needed to a dot matrix printer head comprises a top wall, rectangular bottom wall and walls extending therebetween. Furthermore, the ink tank comprises an ink supply port which is arranged close to its shorter side in the bottom wall to receive ink from at least one porous member which is impregnated with ink under subatmospheric pressure and having substantially no air layer or pocket enclosed by the ink.
  • the at least one porous member is arranged in the ink tank such that only a projecting portion of at least one wall contacts the at least one porous member so that the remaining portion of the at least one wall is spaced at a distance from the at least one porous member and that an air hole in one of the ink tank walls communicates air in the space with ambient air.
  • the at least one porous member is compressed in the tank in the vicinity of said ink supply port.
  • the at least one porous member is compressed in the vicinity of the ink supply port.
  • the ink tank is formed as a detachably mounted unit being formed with a plurality of ink-supply sections, each of said ink-supply sections having an ink-supply delivery port, each of said ink-supply sections containing an ink absorbing member formed by said porous member and impregnated with ink, and at least two of said ink-supply sections carrying ink of different colors.
  • the unitary ink supply tank is formed with a plurality of ink-supply sections, each of said ink-supply sections having an ink supply port, said unitary ink supply tank containing an ink absorbing member in each of said ink-supply sections formed by the porous member and impregnated with ink, at least two of said ink-supply sections carrying ink of different colors, said ink in said ink-supply sections being of a color other than black; and a further separate ink supply tank formed with an ink supply port, a separate ink absorbing member formed of a porous material contained within said separate ink supply tank and impregnated with ink, and the ink contained in said separate ink supply tank being black.
  • the at least one porous member is preferably compressed by wall means of the ink supply tank.
  • the at least one porous member may have a tapered portion.
  • the at least one porous member may have a thicker portion in the vicinity of the ink supply port.
  • the said wall means of the ink supply tank preferably comprises a lid thereof.
  • the at least one porous member preferably has pores therein which increase in size with distance from the ink supply port.
  • a printer head suitable for mounting with the ink tank may comprise a wire guide means having a portion which is arranged to receive ink from the at least one porous member there being a capillary ink path through the at least one porous member, the force of capillary attraction in which increases in the direction of the wire guide means, the said portion of the wire guide means extending into the ink tank so as to receive ink directly from a part of the at least one porous member in which the average diameter of the pores is smallest.
  • the said at least one porous member reduces the chance of particles of dust being carried into the capillary ink path. Moreover, air which has been drawn into the ink by capillary force can escape therefrom through ink collection groove or grooves, while the latter may serve to prevent excessive ink building up on the distal end surface of the wire guide means.
  • the said portion of the wire guide means has an ink guide groove therein whose width is less than the average diameter of the smallest pores.
  • the width of the gap between a wire guide hole in the wire guide means and a wire therein is substantially less than the width of the ink guide groove.
  • the ink supply tank may have an air hole therein which communicates with air in at least one space between the ink absorbing means and an inner wall of the ink supply tank.
  • the ink absorbing means is preferably impregnated with ink at a pressure lower than atmospheric pressure, e.g. in the range of 666 to 1333 Pa (5-10 mm Hg).
  • Figures 6 and 7 of the accompanying drawings illustrate an ink tank construction previously known to the applicants comprising an ink-impregnated member 160, e.g. of a porous material, which fills a tank 140.
  • the ink tank construction of Figures 6 and 7 is of a simple shape and can supply a suitable amount of ink to a printer head body under appropriate capillary attraction by the ink-impregnated member 160.
  • the member 160 can be impregnated with a large quantity of ink while preventing unwanted ink outflow from an air hole 142 in the tank 140 and from an ink supply port 141.
  • the air hole 142 communicates with air in spaces between the ink-impregnated member 160 and the respective inner walls of the tank 140.
  • the ink in the ink tank 140 which is remote from the ink supply port is moved toward the ink supply port 141 under a pressure difference which is developed between the ink close to the ink supply port 141 and the ink remote therefrom as capillary attraction of the ink-impregnated member 160 in the vicinity of the ink supply port 141 is increased due to ink consumption.
  • ink-impregnated members are generally subjected to an increased resistance to ink flow and to the fact that interrupted ink paths prevent smooth ink flow. If the ink flow is prevented before a pressure difference is produced high enough to move the ink in the ink tank 140, then the ink remote from the ink supply port 141 remains in position and unused, resulting in a short ink supply duration.
  • the ink tank 140 frequently has pockets or layers of air trapped therein.
  • an air layer 143 communicating directly with the air hole 142 is expanded and is discharged out of the air hole 142 as indicated by arrows A without applying any pressure to the impregnated ink, whereas a pocket 144 of completely trapped air is expanded as indicated by the arrows B and thus moves the surrounding ink.
  • the resulting undesired ink outflow can cause a sheet of print paper to be smeared by an ink spot or can allow ink to find its way into the printer head mechanism, with a resulting malfunction of the latter.
  • One aspect of the present invention is thus to provide a construction in which the ink supply is less subjected to temperature and other environmental variations.
  • a printer head is adapted for use in a multi-colour printer. Movement is effected of the head of such a printer or of a sheet of print paper or both, a wire corresponding to a desired one of the colours being directed against the print paper at a prescribed position thereon to form an ink dot. Desired characters and figures can thus be produced by repeating the above cycle.
  • a sheet of print paper (or other material) may be scanned by a printer head in a direction normal to the direction of feed of the print paper to form a one-dot line in one scanning stroke, and the print paper may be fed along by line pitches to record images.
  • a printer head 70 is movable back and forth in the directions of an arrow X, and a sheet of print paper (or other material) 71 is fed along successively at a one line pitch in the direction of an arrow Y.
  • An array of wire positions 72, 73, 74, 75 on the printer head 70 extends along a straight line inclined at an angle ⁇ with respect to the scanning directions X, the wire positions being spaced in the direction Y at a pitch of L sin ⁇ .
  • Yellow-ink, magenta-ink, cyan-ink, and black-ink wires are located at the positions 72, 73, 74 and 75, respectively, to effect colour-image printing free from undesired colour mixing.
  • the present invention is concerned primarily with the ink tank of a printer head, and no further detailed description of the overall printer construction will therefore be given.
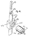
  • Figure 1 is an exploded perspective view of a printer head for use with the ink tank according to the present invention.
  • An ink tank 2 is detachably mounted by a holder on top of a printer head body 1.
  • the ink tank 2 is of a double construction composed of an ink tank 2b for containing a black ink and an ink tank 2a which is divided into three sections for coloured inks.
  • the inks are impregnated in ink-impregnated members 60" ( Figure 5) of a porous material which are contained in the ink tank 2.
  • the printer head body 1 has in its front portion an ink supply guide 12" ( Figure 4) having ink guide groove means 12"b with an end leading to the respective ink-impregnated member 60" and a wire guide 13 having a wire guide hole 13a for guiding the tip or distal end portion of a respective printing wire (not shown) therein.
  • the ink supply guide 12" and the wire guide 13 which form no part of the present invention jointly form an ink path from the ink tank 2 to the distal end portion of the wire.
  • the printer head shown in Figure 1 is adapted for use in a four-colour printer plotter or in a four-colour image printer, and four wires are employed respectively corresponding to the four colours.
  • the distal end portion of the wire is located rearwardly of a distal end surface 13c of the wire guide 13, and the length of the wire is selected such that an ink meniscus formed in a front portion of the wire guide hole 13a covers the distal end of the wire.
  • An ink guide assembly which comprises the ink supply guide 12" and the wire guide 13, will be described in greater detail with reference to Figure 4.
  • the ink supply guide 12" has a central hole 12"f for guiding the distal end portion of the wire.
  • the ink supply guide 12" also has an axial ink guide groove 12"b leading to the ink-impregnated member 60".
  • the ink guide groove 12"b has a width and a depth selected such that ink will be stably supplied from the ink tank 2 as described later on.
  • the ink supply guide 12" has on a front surface 12"e thereof a circular groove 12"a which communicates with the ink guide grooves 12"b through an inner portion (not shown).
  • the wire guide 13 has a proximal end 13d thereof placed in the circular groove 12"a.
  • the ink tank 2 or each ink tank 2a, 2b, comprises an ink tank body 40, two stacked ink-impregnated members 61, 62 of a porous material which are disposed in the space in the ink tank body 40 so as to fill the latter, and a lid 50.
  • the ink-impregnated members 61, 62 are impregnated with ink at a pressure lower than atmospheric ranging from 666 Pa to 1333 Pa (5 to 10 mm Hg), so that air remaining in the porous ink-impregnated members will be reduced as much as possible to increase the amount of impregnated ink.
  • the ink tank body 40 has a bottom 40a provided with a front ink supply port 41 and a front wall 40b having an air hole 42 defined in a stepped portion thereof.
  • the ink supply guide 12 has an arm 12d which is inserted in the ink supply port 41 and which projects from the printer head body 1.
  • the bottom 40a of the ink tank body 40 has a raised surface 44 in which there are a plurality of slots 45a, 45b, 45c which communicate with the ink supply port 41.
  • the slots 45a, 45b, 45c are disposed opposite to and communicate with the ink supply grooves 12b provided in the arm 12d of the ink supply guide 12.
  • the ink tank body 40 also has a side wall 40c having on its inner wall a plurality of vertical ridges 47 having lower ends held against the bottom 40a and upper ends kept out of contact with the tank lid 50.
  • the ink tank body 40 further has a front partition 48 which is disposed behind the air hole 42 and in front of the ink supply port 41, the front partition 48 having one end joined to the side wall 40c.
  • the tank lid 50 has on a lower surface thereof a plurality of longitudinal ridges 51.
  • the space or hollow interior defined by the bottom 40a, the side wall 40c, the partition 48, and the lid 50 of the tank body 50 accommodates therein the two porous members 61, 62 as double layers which are held in contact with only the raised surface 44 of the bottom 40a, the vertical ridges 47 of the side wall 40c, the partition 48, and the ridges 51 of the lid 50.
  • the porous members 61, 62 have different average hole sizes or diameters.
  • the porous member 61, which has a larger average hole diameter, is placed on top of the other porous member 62.
  • porous member 62 which is closer to the ink supply port 41, is made of a porous material having a smaller average hole diameter than that of the porous member 61, while the porous member 61, which is further from the ink supply port 41 has a greater average hole diameter than that of the porous member 62,
  • the capillary attraction is successively greater along the ink path, that is, successively from the porous member 61 having the larger average hole diameter to the porous member 62 having the smaller average hole diameter and thence to the ink guide slots 45a, 45b, 45c provided in the raised surface 44 of the bottom 40a of the ink tank body 40 and so to the ink guide grooves 12b provided in the ink supply guide arm 12d and hence to the gaps between the ink supply guide 12 and the wire guide 13, and finally to the gap between the ink supply guide 12 and the wire 11 and the gap between the wire guide 12 and the wire 11.
  • the above capillary attraction setting can be achieved by providing the following dimensions: The average hole diameter of the porous member 61 0.4mm The average hole diameter of the porous member 62 0.3mm The width of each of the ink guide slots 45a,45b,45c 0.12mm The width of the ink guide grooves 12b 0. 1mm The gaps between the ink supply guide 12 and the wire guide 13 0.1mm. The gap between the surface defining the wire guide hole 13a and the wire 11 0.01mm
  • the printer head body 1 has a head frame 30 including side walls extending from upper and back portions of the printer head body 1 and serving as a holder support 31.
  • Each of the side walls of the holder support 31 has a holder support hole 32, a leaf spring 36 which is defined by two vertical recesses 33a, 33b in the holder support 31 and which has a holder attachment hole 34, and a guide slot 35.
  • a holder 70a has on each of its opposite sides a cylindrical projection 71a, which is rotatably mounted in a holder support hole 32 in the head frame 30, and a semispherical projection 72a, which is engageable in a holder attachment hole 34.
  • Each of the ink tanks 2a, 2b has a side disposed closer to the respective holder support 31 and having a cylindrical projection 49 engageable with a lower edge of the respective guide slot 35.
  • the ink tank 2 can be attached to the holder 70a and detached therefrom in the following manner.
  • the holder 70a is supported in the position shown in Figure 3, and the ink tank 2 is inserted into the holder 70a in the direction of the arrow C. At this time, the ink tank 2 is not required to be accurately positioned in the holder 70a and hence can easily be inserted into the holder 70a. Then, the holder 70a is turned in the direction of the arrow D to bring the projection 49 on each of the sides of the ink tank 2 into contact with an edge of the respective guide slot 35 in the head frame 30, whereupon the ink tank 2 is positioned with respect to the head frame 30.
  • the ink supply port 41 is now positioned correctly above the arm 12"d of the ink supply guide 12" which projects upwardly from the printer head body 1.
  • the semispherical projection 72a on each side of the tank holder 70a engages and spreads the leaf springs 36 apart from each other.
  • the semispherical projections 72a finally engage in the attachment holes 34 in the leaf springs 36, whereupon the leaf springs 36 return to the vertical positions to retain the holder 70a securely in position.
  • the ink tank 2 can be removed in a procedure which is the reverse of the attachment process described above.
  • the distal end of the wire projects through the ink meniscus, carries ink thereon, and hits a sheet of print paper (not shown) to transfer the ink to the print paper.
  • a sheet of print paper (not shown) to transfer the ink to the print paper.
  • the distal end thereof is located inwardly of the distal end surface 13c of the wire guide 13 so that an ink meniscus is formed in front of the distal end of the wire. Accordingly, ink is attached successively to the distal end of the wire as the latter is projected and retracted.
  • the transfer of ink to the distal end of the wire, and other details of an inked-wire dot matrix printing process, are described in EP-A-97009 and will therefore not be described here in greater detail.
  • any excessive ink on the distal end surface 13c of the wire guide 13 is drawn under capillary attraction into cross-sectionally V-shaped collection grooves 13b ( Figure 4) provided in the front and side surfaces of the wire guide 13 and is returned to the ink supply guide 12 without smearing the print paper.
  • the grooves 13b are thus provided in the distal end surface of the wire guide 13 and communicate with the wire guide hole 13a. As shown in Figure 4, the grooves 13b extend to the outer periphery of the wire guide 13 so as to be open to the atmosphere.
  • the wire guide hole 13a should have a proper dimension in the vicinity of the distal end of the wire and a proper amount of ink, without either an excess or a shortage of ink, should be supplied from the ink tank 2.
  • the ink guide path from the ink tank 2 to a position in the vicinity of the distal end of the wire is composed of slots, grooves, and gaps.
  • An appropriate quantity of ink can be supplied even when the ink supply from the ink supply groove 12"b is reduced due to increased use of ink.
  • the dimensions of the ink supply groove and gaps, the hole diameters of the porous member 60" and the widths of the said slots are selected so that the capillary attraction is progressively greater along the ink path. Therefore, ink will not be interrupted in the ink path as described below.
  • the ink tank 2 and the ink guide path for supplying ink to the wire have dimensions dependent on the accuracy of the shapes of the components. Since the components can be easily formed with high dimensional accuracy, as by moulding, the ink tank 2 and the ink guide path can be highly dimensionally accurate and have a stable ink supply capability.
  • the ink tank 2 and the ink guide path can easily be assembled as they are composed of a small number of parts. They may be maintained free from wear and deformation for a long period of use and can keep their initial performance partly because of the lubrication effected by the ink.
  • the ink guide groove 12"b has mounted therein an ink guide porous member 12"e which serves as an extension of the ink-impregnated member in the ink tank.
  • Figure 5 is an exploded perspective view of a further embodiment of an ink tank 2" according to the invention.
  • the porous member 60" has different front and rear thicknesses and a tapered portion 60"' therebetween so that the thicker front portion, which is disposed adjacent to the ink supply port 41, is compressed by the tank lid 50 when the porous member 60" is introduced into the tank body 40. Therefore, even if the porous member 60" has uniform hole diameters, the front portion thereof, which is adjacent to the ink supply port 41, has a smaller average hole diameter, with the hole diameter becoming progressively greater toward the rear portion, which is remote from the ink supply port 41, at the time when the porous member 60" is placed in the ink tank body 40.
  • the porous member 60" is structurally equivalent to a plurality of porous sheet layers of different average hole diameters which are placed in the ink tank body 40" with the average hole diameters becoming progressively greater from the front to rear portion of the member 60.
  • the ink tank 2 is placed above the printer head 1, the ink tank 2 may be located below the wires to achieve a stable printing density through the ink guiding process described above.
  • ink can be stably supplied through a simple construction from an ink tank to the distal end of a wire, and ink is stably attached to the distal end of the wire for producing a stable and proper ink dot density.
  • the ink will not be interrupted in the ink guide path and the risk of a supply failure will be reduced.
  • the quantity of ink absorbed in the ink guide path is smaller than would be the case with a known arrangement in which a porous member is used to apply ink to the distal end of the wire. Therefore, any wasted ink which is not used for printing is of a small quantity, and hence substantially all the ink in the ink tank can effectively be used for printing.
  • a fresh cartridge ink tank can be mounted in place so that fresh ink can immediately be supplied to the distal end of the wire for resuming the desired printing operation.
  • the described ink supply system is simple in construction, it takes up only a small space.
  • the ink supply systems for different ink colours can be spaced widely so that any unwanted colour mixing can be avoided.

Landscapes

  • Ink Jet (AREA)
  • Impact Printers (AREA)
  • Impression-Transfer Materials And Handling Thereof (AREA)
EP94101088A 1984-05-22 1984-10-09 Ink tank Expired - Lifetime EP0615848B1 (en)

Applications Claiming Priority (8)

Application Number Priority Date Filing Date Title
JP10284184A JPS60245560A (ja) 1984-05-22 1984-05-22 プリンタのインクタンク
JP102841/84 1984-05-22
JP10284384 1984-05-22
JP10284184 1984-05-22
JP102843/84 1984-05-22
JP59102843A JP2563769B2 (ja) 1984-05-22 1984-05-22 プリンタのインクタンク
EP90201876A EP0398453B1 (en) 1984-05-22 1984-10-09 Ink supply tank for a wire dot matrix printer head
EP84306887A EP0139508B1 (en) 1983-10-13 1984-10-09 Wire dot matrix printer head

Related Parent Applications (2)

Application Number Title Priority Date Filing Date
EP90201876A Division EP0398453B1 (en) 1984-05-22 1984-10-09 Ink supply tank for a wire dot matrix printer head
EP90201876.1 Division 1984-10-09

Publications (2)

Publication Number Publication Date
EP0615848A1 EP0615848A1 (en) 1994-09-21
EP0615848B1 true EP0615848B1 (en) 2001-03-14

Family

ID=26443529

Family Applications (10)

Application Number Title Priority Date Filing Date
EP94101088A Expired - Lifetime EP0615848B1 (en) 1984-05-22 1984-10-09 Ink tank
EP94101074A Revoked EP0614761B1 (en) 1984-05-22 1984-10-09 Ink tank
EP94101083A Expired - Lifetime EP0605388B1 (en) 1984-05-22 1984-10-09 Ink tank
EP90201873A Expired - Lifetime EP0406982B1 (en) 1984-05-22 1984-10-09 Method of impregnating ink absorbing means
EP90201876A Expired - Lifetime EP0398453B1 (en) 1984-05-22 1984-10-09 Ink supply tank for a wire dot matrix printer head
EP96115079A Withdrawn EP0749839A3 (en) 1984-05-22 1984-10-09 Ink tank
EP94101089A Expired - Lifetime EP0605389B1 (en) 1984-05-22 1984-10-09 Ink tank
EP90201874A Expired - Lifetime EP0406983B1 (en) 1984-05-22 1984-10-09 Ink supply tank for a wire dot matrix printer head
EP94101082A Revoked EP0605387B1 (en) 1984-05-22 1984-10-09 Method for impregnating ink absorbing means in an ink tank
EP94101081A Expired - Lifetime EP0605386B1 (en) 1984-05-22 1984-10-09 Ink tank

Family Applications After (9)

Application Number Title Priority Date Filing Date
EP94101074A Revoked EP0614761B1 (en) 1984-05-22 1984-10-09 Ink tank
EP94101083A Expired - Lifetime EP0605388B1 (en) 1984-05-22 1984-10-09 Ink tank
EP90201873A Expired - Lifetime EP0406982B1 (en) 1984-05-22 1984-10-09 Method of impregnating ink absorbing means
EP90201876A Expired - Lifetime EP0398453B1 (en) 1984-05-22 1984-10-09 Ink supply tank for a wire dot matrix printer head
EP96115079A Withdrawn EP0749839A3 (en) 1984-05-22 1984-10-09 Ink tank
EP94101089A Expired - Lifetime EP0605389B1 (en) 1984-05-22 1984-10-09 Ink tank
EP90201874A Expired - Lifetime EP0406983B1 (en) 1984-05-22 1984-10-09 Ink supply tank for a wire dot matrix printer head
EP94101082A Revoked EP0605387B1 (en) 1984-05-22 1984-10-09 Method for impregnating ink absorbing means in an ink tank
EP94101081A Expired - Lifetime EP0605386B1 (en) 1984-05-22 1984-10-09 Ink tank

Country Status (4)

Country Link
EP (10) EP0615848B1 (enExample)
DE (9) DE3486483T2 (enExample)
HK (3) HK73295A (enExample)
SG (7) SG26412G (enExample)

Families Citing this family (5)

* Cited by examiner, † Cited by third party
Publication number Priority date Publication date Assignee Title
JP3582592B2 (ja) 2001-04-03 2004-10-27 セイコーエプソン株式会社 インクカートリッジ、及びインクジェット記録装置
CA2100977C (en) 1992-07-24 2000-02-08 Noribumi Koitabashi Ink container, ink and ink jet recording apparatus using ink container
US6332675B1 (en) 1992-07-24 2001-12-25 Canon Kabushiki Kaisha Ink container, ink and ink jet recording apparatus using ink container
KR0145341B1 (ko) * 1992-07-24 1998-07-15 미타라이 하지메 잉크카트리지, 잉크제트기록조립뭉치 및 잉크제트기록장치
DE20320978U1 (de) 2002-11-26 2005-07-14 Seiko Epson Corp. Tintenkartusche

Citations (2)

* Cited by examiner, † Cited by third party
Publication number Priority date Publication date Assignee Title
FR2229320A5 (en) * 1973-05-09 1974-12-06 Meci Materiel Elect Contr Continuous inking device for pen recorders - has reservoir containing cellular material to contain ink
US4095237A (en) * 1974-12-26 1978-06-13 Aktiebolaget Electrolux Ink jet printing head

Family Cites Families (18)

* Cited by examiner, † Cited by third party
Publication number Priority date Publication date Assignee Title
US3491685A (en) * 1967-05-24 1970-01-27 Pitney Bowes Inc Rotatable ink storage and metering cartridge
US3863686A (en) * 1972-10-16 1975-02-04 V Mark Automation Ltd Apparatus and process for article filling under reduced pressure
US3858703A (en) * 1973-01-05 1975-01-07 Centronics Data Computer Bidirectional dual head printer
DE2546835C3 (de) * 1975-10-18 1980-11-06 Philips Patentverwaltung Gmbh, 2000 Hamburg Druckeinrichtung mit in Längsrichtung verschiebbaren Drucknadeln
DE2704735C2 (de) * 1977-02-04 1982-08-05 Siemens AG, 1000 Berlin und 8000 München Auslaufsicherer Tintenvorratsbehälter
JPS55150372A (en) * 1979-05-11 1980-11-22 Seiko Epson Corp Printer
US4279519A (en) * 1979-06-01 1981-07-21 Centronics Data Computer Corp. Dot matrix printing device employing novel image transfer technique for printing on single ply or multiple ply print receiving media
GB2063175B (en) * 1979-11-06 1984-02-15 Shinshu Seiki Kk Ink jet printer
EP0041777B1 (en) * 1980-06-06 1985-07-31 Epson Corporation Ink supply system for a printer
EP0139238B1 (en) * 1980-06-17 1987-11-11 Seiko Epson Corporation A wire dot printer
JPS57100088A (en) * 1980-12-15 1982-06-22 Seiko Epson Corp Ink jet type printer
IT1145242B (it) * 1981-12-23 1986-11-05 Olivetti & Co Spa Testina di stampa a getto d inchiostro e relativa stampante seriale
DE3207074A1 (de) * 1982-02-26 1983-09-15 Siemens AG, 1000 Berlin und 8000 München Schreibelement mit piezoantrieb fuer registrier- und aufzeichnungsgeraete
JPS58194550A (ja) * 1982-05-10 1983-11-12 Canon Inc インクカセット
US4437104A (en) * 1982-05-10 1984-03-13 Advanced Color Technology, Inc. Ink disposal system for ink jet printer
US4511906A (en) * 1982-10-13 1985-04-16 Sharp Kabushiki Kaisha Ink liquid reservoir in an ink jet system printer
EP0139508B1 (en) * 1983-10-13 1991-07-24 Seiko Epson Corporation Wire dot matrix printer head
JPS60192672A (ja) * 1984-03-14 1985-10-01 Janome Sewing Mach Co Ltd プリンタのインク含浸プラテン

Patent Citations (2)

* Cited by examiner, † Cited by third party
Publication number Priority date Publication date Assignee Title
FR2229320A5 (en) * 1973-05-09 1974-12-06 Meci Materiel Elect Contr Continuous inking device for pen recorders - has reservoir containing cellular material to contain ink
US4095237A (en) * 1974-12-26 1978-06-13 Aktiebolaget Electrolux Ink jet printing head

Also Published As

Publication number Publication date
EP0605388A2 (en) 1994-07-06
DE3486337D1 (de) 1994-09-22
EP0398453B1 (en) 1994-08-17
EP0605386A2 (en) 1994-07-06
DE3486485D1 (de) 2001-04-19
EP0605387B1 (en) 2001-03-14
EP0605386A3 (en) 1994-07-27
DE3486482T2 (de) 2001-11-08
SG26412G (en) 1995-09-01
EP0614761B1 (en) 2001-03-14
SG26404G (en) 1995-09-01
EP0605387A2 (en) 1994-07-06
SG54266A1 (en) 1998-11-16
EP0398453A2 (en) 1990-11-22
SG52578A1 (en) 1998-09-28
DE3486334T2 (de) 1995-02-16
DE3486482D1 (de) 2001-04-19
DE3486335D1 (de) 1994-09-15
EP0406983A3 (en) 1991-01-16
DE3486487T2 (de) 2001-11-08
DE3486487D1 (de) 2001-04-19
DE3486481D1 (de) 2001-04-19
EP0406983A2 (en) 1991-01-09
DE3486483T2 (de) 2001-11-08
DE3486335T2 (de) 1995-02-16
EP0406982A3 (en) 1991-01-16
EP0615848A1 (en) 1994-09-21
EP0406983B1 (en) 1994-08-10
SG64344A1 (en) 1999-04-27
HK73295A (en) 1995-05-19
DE3486480T2 (de) 2001-11-08
DE3486480D1 (de) 2001-04-19
EP0614761A1 (en) 1994-09-14
SG46589A1 (en) 1998-02-20
EP0749839A3 (en) 1997-03-26
EP0398453A3 (en) 1990-12-19
DE3486334D1 (de) 1994-09-15
EP0406982B1 (en) 1994-08-10
HK73395A (en) 1995-05-19
SG26403G (en) 1995-09-01
EP0605389A3 (en) 1994-07-27
DE3486481T2 (de) 2001-11-08
EP0605388A3 (en) 1994-07-27
DE3486337T2 (de) 1995-02-16
DE3486483D1 (de) 2001-04-19
EP0605386B1 (en) 2001-03-14
EP0605387A3 (enExample) 1994-08-03
EP0605389A2 (en) 1994-07-06
DE3486485T2 (de) 2001-11-08
DE3486334C5 (de) 2006-01-26
EP0406982A2 (en) 1991-01-09
HK73495A (en) 1995-05-19
EP0605389B1 (en) 2001-03-14
EP0749839A2 (en) 1996-12-27
EP0605388B1 (en) 2001-03-14

Similar Documents

Publication Publication Date Title
EP0139508B1 (en) Wire dot matrix printer head
US5158377A (en) Ink-supply system for a dot matrix printer
US5615957A (en) Ink-supply tank for a dot matrix printer
US5221148A (en) Dot matrix printer ink supply system having ink absorbing member substantially filling an ink tank
US5156473A (en) Multi-color cartridge ink-supply system for a dot matrix printer
US5174665A (en) Ink-supply system for a dot matrix printer
US5156470A (en) Two cartridge ink-supply system for a multi-color dot matrix printer
EP0615848B1 (en) Ink tank
EP0606101B1 (en) Ink tank

Legal Events

Date Code Title Description
PUAI Public reference made under article 153(3) epc to a published international application that has entered the european phase

Free format text: ORIGINAL CODE: 0009012

17P Request for examination filed

Effective date: 19940125

AC Divisional application: reference to earlier application

Ref document number: 398453

Country of ref document: EP

AK Designated contracting states

Kind code of ref document: A1

Designated state(s): DE FR GB IT NL

17Q First examination report despatched

Effective date: 19960124

GRAG Despatch of communication of intention to grant

Free format text: ORIGINAL CODE: EPIDOS AGRA

RIC1 Information provided on ipc code assigned before grant

Free format text: 7B 41J 2/255 A, 7B 41J 2/305 B, 7B 41J 2/175 B

RTI1 Title (correction)

Free format text: INK TANK

GRAG Despatch of communication of intention to grant

Free format text: ORIGINAL CODE: EPIDOS AGRA

GRAH Despatch of communication of intention to grant a patent

Free format text: ORIGINAL CODE: EPIDOS IGRA

GRAH Despatch of communication of intention to grant a patent

Free format text: ORIGINAL CODE: EPIDOS IGRA

GRAA (expected) grant

Free format text: ORIGINAL CODE: 0009210

AC Divisional application: reference to earlier application

Ref document number: 398453

Country of ref document: EP

Ref document number: 139508

Country of ref document: EP

AK Designated contracting states

Kind code of ref document: B1

Designated state(s): DE FR GB IT NL

ITF It: translation for a ep patent filed
REF Corresponds to:

Ref document number: 3486487

Country of ref document: DE

Date of ref document: 20010419

ET Fr: translation filed
REG Reference to a national code

Ref country code: GB

Ref legal event code: IF02

PLBE No opposition filed within time limit

Free format text: ORIGINAL CODE: 0009261

STAA Information on the status of an ep patent application or granted ep patent

Free format text: STATUS: NO OPPOSITION FILED WITHIN TIME LIMIT

26N No opposition filed
PGFP Annual fee paid to national office [announced via postgrant information from national office to epo]

Ref country code: FR

Payment date: 20031003

Year of fee payment: 20

PGFP Annual fee paid to national office [announced via postgrant information from national office to epo]

Ref country code: GB

Payment date: 20031008

Year of fee payment: 20

Ref country code: NL

Payment date: 20031008

Year of fee payment: 20

PGFP Annual fee paid to national office [announced via postgrant information from national office to epo]

Ref country code: DE

Payment date: 20031016

Year of fee payment: 20

PG25 Lapsed in a contracting state [announced via postgrant information from national office to epo]

Ref country code: GB

Free format text: LAPSE BECAUSE OF EXPIRATION OF PROTECTION

Effective date: 20041008

PG25 Lapsed in a contracting state [announced via postgrant information from national office to epo]

Ref country code: NL

Free format text: LAPSE BECAUSE OF EXPIRATION OF PROTECTION

Effective date: 20041009

REG Reference to a national code

Ref country code: GB

Ref legal event code: PE20

NLV7 Nl: ceased due to reaching the maximum lifetime of a patent

Effective date: 20041009