EP0605386B1 - Ink tank - Google Patents
Ink tank Download PDFInfo
- Publication number
- EP0605386B1 EP0605386B1 EP94101081A EP94101081A EP0605386B1 EP 0605386 B1 EP0605386 B1 EP 0605386B1 EP 94101081 A EP94101081 A EP 94101081A EP 94101081 A EP94101081 A EP 94101081A EP 0605386 B1 EP0605386 B1 EP 0605386B1
- Authority
- EP
- European Patent Office
- Prior art keywords
- ink
- tank
- supply
- porous member
- wire
- Prior art date
- Legal status (The legal status is an assumption and is not a legal conclusion. Google has not performed a legal analysis and makes no representation as to the accuracy of the status listed.)
- Expired - Lifetime
Links
- 239000003570 air Substances 0.000 claims description 28
- 239000003086 colorant Substances 0.000 claims description 11
- 239000011148 porous material Substances 0.000 claims description 11
- 239000011159 matrix material Substances 0.000 claims description 7
- 238000005192 partition Methods 0.000 claims description 5
- 239000012080 ambient air Substances 0.000 claims description 3
- 239000000976 ink Substances 0.000 description 361
- 238000010276 construction Methods 0.000 description 17
- 238000000034 method Methods 0.000 description 4
- 230000005499 meniscus Effects 0.000 description 3
- 239000011295 pitch Substances 0.000 description 3
- 230000001419 dependent effect Effects 0.000 description 2
- 239000000428 dust Substances 0.000 description 2
- 239000007788 liquid Substances 0.000 description 2
- 239000000463 material Substances 0.000 description 2
- 239000002245 particle Substances 0.000 description 2
- 230000000717 retained effect Effects 0.000 description 2
- 230000015572 biosynthetic process Effects 0.000 description 1
- 230000000694 effects Effects 0.000 description 1
- 230000007613 environmental effect Effects 0.000 description 1
- 230000001788 irregular Effects 0.000 description 1
- 238000005461 lubrication Methods 0.000 description 1
- 230000007257 malfunction Effects 0.000 description 1
- 239000000203 mixture Substances 0.000 description 1
- 238000000465 moulding Methods 0.000 description 1
- 230000002093 peripheral effect Effects 0.000 description 1
- 238000007711 solidification Methods 0.000 description 1
- 230000008023 solidification Effects 0.000 description 1
Images
Classifications
-
- B—PERFORMING OPERATIONS; TRANSPORTING
- B41—PRINTING; LINING MACHINES; TYPEWRITERS; STAMPS
- B41J—TYPEWRITERS; SELECTIVE PRINTING MECHANISMS, i.e. MECHANISMS PRINTING OTHERWISE THAN FROM A FORME; CORRECTION OF TYPOGRAPHICAL ERRORS
- B41J2/00—Typewriters or selective printing mechanisms characterised by the printing or marking process for which they are designed
- B41J2/005—Typewriters or selective printing mechanisms characterised by the printing or marking process for which they are designed characterised by bringing liquid or particles selectively into contact with a printing material
- B41J2/01—Ink jet
- B41J2/17—Ink jet characterised by ink handling
- B41J2/175—Ink supply systems ; Circuit parts therefor
- B41J2/17503—Ink cartridges
- B41J2/17513—Inner structure
-
- B—PERFORMING OPERATIONS; TRANSPORTING
- B41—PRINTING; LINING MACHINES; TYPEWRITERS; STAMPS
- B41J—TYPEWRITERS; SELECTIVE PRINTING MECHANISMS, i.e. MECHANISMS PRINTING OTHERWISE THAN FROM A FORME; CORRECTION OF TYPOGRAPHICAL ERRORS
- B41J2/00—Typewriters or selective printing mechanisms characterised by the printing or marking process for which they are designed
- B41J2/22—Typewriters or selective printing mechanisms characterised by the printing or marking process for which they are designed characterised by selective application of impact or pressure on a printing material or impression-transfer material
- B41J2/23—Typewriters or selective printing mechanisms characterised by the printing or marking process for which they are designed characterised by selective application of impact or pressure on a printing material or impression-transfer material using print wires
- B41J2/235—Print head assemblies
- B41J2/25—Print wires
- B41J2/255—Arrangement of the print ends of the wires
-
- B—PERFORMING OPERATIONS; TRANSPORTING
- B41—PRINTING; LINING MACHINES; TYPEWRITERS; STAMPS
- B41J—TYPEWRITERS; SELECTIVE PRINTING MECHANISMS, i.e. MECHANISMS PRINTING OTHERWISE THAN FROM A FORME; CORRECTION OF TYPOGRAPHICAL ERRORS
- B41J2/00—Typewriters or selective printing mechanisms characterised by the printing or marking process for which they are designed
- B41J2/22—Typewriters or selective printing mechanisms characterised by the printing or marking process for which they are designed characterised by selective application of impact or pressure on a printing material or impression-transfer material
- B41J2/23—Typewriters or selective printing mechanisms characterised by the printing or marking process for which they are designed characterised by selective application of impact or pressure on a printing material or impression-transfer material using print wires
- B41J2/305—Ink supply apparatus
Definitions
- the present invention relates to an ink tank.
- the invention is exemplified in the following by referring to an ink tank for a wire dot matrix printer head.
- Such wire dot printer head has wires supplied with ink at distal end faces and movable against a sheet of print paper for transferring ink to the sheet in the form of dots to record a character, a figure, a graphic image or the like on the sheet.
- An ink supply system for a wire dot matrix printer is known in which an ink ribbon is not used, but ink is supplied from an ink tank to the distal ends of the wire and transferred from the wires directly to a sheet of print paper.
- One known ink guide mechanism for such an ink supply system is disclosed in US-A-4,194,846 and comprises a porous member capable of absorbing ink from an ink tank, the ink guide mechanism having wires contacting the porous member.
- the porous member contains fine holes whose sizes or diameters vary in a certain range, with the result that the ink absorbing capability varies from porous member to porous member, and both excessive and insufficient quantities of ink are liable to be supplied to the distal ends of the wires.
- EP-A-97,009 discloses another ink supply mechanism in which ink is supplied from an ink tank to the distal ends of wires by means of a pump.
- the ink supply mechanism of EP-A-97,009 has, however, the disadvantage that the construction of the connection between the pump and a printer head is complex and results in increased cost. It is necessary to provide a good seal so as to obtain good pump performance, and a large-torque drive source is required for driving the pump.
- the ink supply mechanism is particularly complex in the case of a multi-colour printer head, and such an ink supply mechanism is not suitable for use with a small printer head.
- a wire dot matrix printer head comprising an ink tank; a wire guide means having a portion which is arranged to receive ink from the ink tank; and a printing wire a distal end portion of which is mounted in a hole in the wire guide means, the wire guide means having a capillary ink path which communicates both with the said portion of the wire guide means and with a distal end portion of the printing wire so as to supply ink to the latter.
- the ink tank contains liquid ink which enters one end of the capillary ink path, with the result that ink flow is liable to vary or to be interrupted if the liquid ink contains particles of dust etc. which clog the capillary ink path.
- the wire guide means is so constructed that any air which has been drawn into the ink by capillary force cannot escape therefrom prior to reaching the distal end surface of the wire guide means, with the result that the air can expand under the low pressure which is present and cause flow problems. Additionally, no means are provided for preventing excessive ink accumulating on the distal end surface of the wire guide means.
- a wire dot matrix printer head comprising an ink supply means; a wire guide means having a portion which is arranged to receive ink from the ink supply which and which has a distal end surface; and a printing wire a distal end portion of which is mounted in a hole in the wire guide means with a gap therebetween, the wire guide means having a capillary ink path which communicates both with the said portion and the distal end surface of the wire guide means and with the distal end portion of the printing wire so as to supply ink to the latter, the said hole communicating with at least one ink collection groove situated in the distal end surface of the wire guide means into which ink collection groove any excessive ink on the distal end surface of the wire guide means is drawn under capillary attraction, the or each ink collection groove being open to the atmosphere.
- ink reservoir or cartridge which contains a porous filter and has an air hole.
- the reservoir may be completely filled with the filter or only partially.
- no embodiment with a partially filled reservoir is described as well as no advantage being mentioned.
- the ink tank comprises a top wall, a bottom wall and walls extending therebetween.
- An ink supply port is arranged in the bottom wall to receive ink from at least one porous member, which is impregnated with ink under subatmospheric pressure and having substantially no air layer or pocket enclosed by the ink.
- the at least one porous member is arranged in the ink tank such that only a projecting portion of at least one wall contacts the at least one porous member so that the remaining portion of the at least one wall is spaced at a distance from the at least one porous member and that an air hole in one of the ink tank walls communicates air in the space with ambient air.
- the at least one porous member has pores which progressively reduce in size.
- the ink tank is preferably formed as a detachably mounted unit, said ink-supply tank being formed with a plurality of ink-supply sections, each of said ink-supply sections having an ink-supply delivery port.
- Each of said ink-supply sections contain an ink absorbing member formed by said porous member and impregnated with ink, and at least two of said ink-supply sections carrying ink of different colors.
- the unitary ink supply tank is formed with a plurality of ink-supply sections.
- Each of said ink-supply sections have an ink supply port.
- Said unitary ink supply tank contains an ink absorbing member in each of said ink-supply sections formed by the porous member and impregnated with ink.
- At least two of said ink-supply sections carry ink of different colors, said ink in said ink-supply sections are of a color other than black.
- a further separate ink supply tank is formed with an ink supply port.
- a separate ink absorbing member is formed of a porous material contained within said separate ink supply tank and impregnated with ink, and the ink contained in said separate ink supply tank is black.
- the ink absorbing member is compressed by the top wall of the ink supply tank.
- the ink absorbing member has a tapered portion.
- the ink absorbing member has a thicker portion in the vicinity of the ink supply port.
- the at least one porous member has preferably been impregnated with ink at a pressure lower than atmospheric pressure.
- the pressure at which the ink is impregnated is in the range of 666 to 1333 Pa (5 to 10 mmHg).
- the pores of the porous member are progressively reduced in size in a direction towards the ink supply port of the ink supply tank.
- the ink absorbing means may comprise first and second porous members which are in contact with each other so that ink may flow from one to the other.
- the ink supply tank has an ink supply port which is arranged to receive ink from the second porous member, the first porous member having pores therein whose average diameter is greater than those of the second porous member.
- the porous member is compressed in the vicinity of the said ink supply port.
- a printer head suitable for using the ink tank according to the invention may comprise a printing wire, a distal end portion of which is mounted in a wire guide hole or holes of a wire guide means, portion of the wire guide means being arranged to receive ink from the ink absorbing means, and the wire guide means having a capillary ink path which communicates both with the said portion of the wire guide means and with the distal end portion of the printing wire.
- the said ink absorbing means reduces the chance of particles of dust being carried into the capillary ink path. Moreover, air which has been drawn into the ink by capillary force can escape therefrom through ink collection groove or grooves, while the latter may serve to prevent excessive ink building up on the distal end surface of the wire guide means.
- Figures 6 and 7 of the accompanying drawings illustrate an ink tank construction previously known to the applicants comprising an ink-impregnated member 160, e.g. of a porous material, which fills a tank 140.
- the ink tank construction of Figures 6 and 7 is of a simple shape and can supply a suitable amount of ink to a printer head body under appropriate capillary attraction by the ink-impregnated member 160.
- the member 160 can be impregnated with a large quantity of ink while preventing unwanted ink outflow from an air hole 142 in the tank 140 and from an ink supply port 141.
- the ink in the ink tank 140 which is remote from the ink supply port is moved toward the ink supply port 141 under a pressure difference which is developed between the ink close to the ink supply port 141 and the ink remote therefrom as capillary attraction of the ink-impregnated member 160 in the vicinity of the ink supply port 141 is increased due to ink consumption.
- ink-impregnated members are generally subjected to an increased resistance to ink flow and to the fact that interrupted ink paths prevent smooth ink flow. If the ink flow is prevented before a pressure difference is produced high enough to move the ink in the ink tank 140, then the ink remote from the ink supply port 141 remains in position and unused, resulting in a short ink supply duration.
- the ink tank 140 frequently has pockets or layers of air trapped therein.
- an air layer 143 communicating directly with the air hole 142 is expanded and is discharged out of the air hole 142 as indicated by arrows A without applying any pressure to the impregnated ink, whereas a pocket 144 of completely trapped air is expanded as indicated by the arrows B and thus moves the surrounding ink.
- the resulting undesired ink outflow can cause a sheet of print paper to be smeared by an ink spot or can allow ink to find its way into the printer head mechanism, with a resulting malfunction of the latter.
- a printer head is adapted for use in a multi-colour printer. Movement is effected of the head of such a printer or of a sheet of print paper or both, a wire corresponding to a desired one of the colours being directed against the print paper at a prescribed position thereon to form an ink dot. Desired characters and figures can thus be produced by repeating the above cycle.
- a sheet of print paper (or other material) may be scanned by a printer head in a direction normal to the direction of feed of the print paper to form a one-dot line in one scanning stroke, and the print paper may be fed along by line pitches to record images.
- a printer head 70 is movable back and forth in the directions of an arrow X, and a sheet of print paper (or other material) 71 is fed along successively at a one line pitch in the direction of an arrow Y.
- An array of wire positions 72, 73, 74, 75 on the printer head 70 extends along a straight line inclined at an angle ⁇ with respect to the scanning directions X, the wire positions being spaced in the direction Y at a pitch of L sin ⁇ .
- Yellow-ink, magentaink, cyan-ink, and black-ink wires are located at the positions 72, 73, 74 and 75, respectively, to effect colour-image printing free from undesired colour mixing.
- the present invention is concerned primarily with an ink tank for use in a printer head, and no further detailed description of the overall printer construction will therefore be given.
- FIG 1 is an exploded perspective view of a printer head using an ink tank according to the present invention.
- the ink tank 2 is detachably mounted by a holder on top of a printer head body 1.
- the ink tank 2 is of a double construction composed of an ink tank 2b for containing a black ink and an ink tank 2a which is divided into three sections for coloured inks.
- the inks are impregnated in ink-impregnated members 61, 62 ( Figure 2) or member 60" ( Figure 5) of a porous material contained in the ink tank 2.
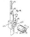
- the printer head body 1 has in its front portion an ink supply guide 12 (Figure 2) having ink guide grooves 12b with ends leading to the respective ink-impregnated member 61, 62 and a wire guide 13 ( Figure 4) having a wire guide hole 13a for guiding the tip or distal end portion of a respective printing wire (not shown) therein.
- the ink supply guide 12 and the wire guide 13 which form no part of the present invention jointly form an ink path from the ink tank 2 to the distal end portion of the wire.
- the printer head shown in Figures 1 and 2 is adapted for use in a four-colour printer plotter or in a four-colour image printer, and four wires are employed respectively corresponding to the four colours.
- the distal end portion of the wire is located rearwardly of a distal end surface 13c of the wire guide 13, and the length of the wire is selected such that an ink meniscus formed in a front portion of the wire guide hole 13a covers the distal end of the wire.
- An ink guide assembly which comprises an ink supply guide 12" and the wire guide 13, will be described in greater detail with reference to Figure 4.
- the ink supply guide 12" has a central hole 12"f for guiding the distal end portion of the wire.
- the ink supply guide 12" also has an axial ink guide groove 12"b leading to the ink-impregnated member 62.
- the ink guide groove 12"b has a width and a depth selected such that ink will be stably supplied from the ink tank 2 as described later on.
- the ink supply guide 12" has on a front surface 12"e thereof a circular groove 12"a which communicates with the ink guide groove 12"b through an inner portion (not shown).
- the wire guide 13 has a proximal end 13d thereof placed in the circular groove 12"a.
- the ink tank 2 or each ink tank 2a, 2b, comprises an ink tank body 40, two stacked ink-impregnated members 61, 62 of a porous material which are disposed in the space in the ink tank body 40 so as to fill the latter, and a lid 50.
- the ink-impregnated members 61, 62 are impregnated with ink at a pressure below atmospheric pressure ranging from 666 Pa to 1333 Pa (5 to 10 mmHg), so that air remaining in the porous ink-impregnated members will be reduced as much as possible to increase the amount of impregnated ink.
- the ink tank body 40 has a bottom or inner wall surface 40a provided with a front ink supply port 41 and a front wall 40b having an air hole 42 defined in a stepped portion thereof.
- the ink supply guide 12 has an arm 12d which is inserted in the ink supply port 41 and which projects from the printer head body 1.
- the bottom or inner wall surface 40a of the ink tank body 40 has a raised or projecting portion 44 in which there are a plurality of slots 45a, 45b, 45c which communicate with the ink supply port 41.
- the slots 45a, 45b, 45c are disposed opposite to and communicate with the ink supply grooves 12b provided in the arm 12d of the ink supply guide 12.
- the ink tank body 40 also has a side wall 40c having on its inner wall surface a plurality of vertical ridges 47 which project therefrom. The ridges 47 have lower ends held against the bottom 40a and upper ends kept out of contact with the tank lid 50.
- the ink tank body 40 further has a front partition 48 which is disposed behind the air hole 42 and in front of the ink supply port 41, the front partition 48 having one end joined to the side wall 40c.
- the tank lid 50 has on a lower or inner wall surface 50a thereof a plurality of longitudinal ridges 51 which project from the surface 50a.
- the space or hollow interior defined by the bottom 40a, the side wall 40c, the partition 48, and the lid 50 of the tank body 50 accommodates therein the two porous members 61, 62 as double layers which are held in contact with only the raised surface 44 of the bottom 40a, the vertical ridges 47 of the side wall 40c, the partition 48, and the ridges 51 of the lid 50.
- the porous members 61, 62 have different average hole sizes or diameters.
- the porous member 61, which has a larger average hole diameter, is placed on top of the other porous member 62.
- the porous member 62 which is closer to the ink supply port 41 is made of a porous material having a smaller average hole diameter than that of the porous member 61, while the porous member 61, which is further from the ink supply port 41 has a greater average hole diameter than that of the porous member 62.
- the capillary attraction is successively greater along the ink path, that is, successively from the porous member 61 having the larger average hole diameter to the porous member 62 having the smaller average hole diameter and thence to the ink guide slots 45a, 45b, 45c provided in the raised surface 44 of the bottom or inner wall surface 40a of the ink tank body 40 and so to the ink guide grooves 12b provided in the ink supply guide arm 12d and hence to gaps between the ink supply guide 12 and the wire guide 13, and finally to the gap between the ink supply guide 12 and the wire and the gap between the wire guide 12 and the wire.
- the above capillary attraction setting can be achieved by providing the following dimensions: The average hole diameter of the porous member 61 0.4 mm. The average hole diameter of the porous member 62 0.3 mm. The width of each of the ink guide slots 45a, 45b, 45c 0.12 mm. The width of the ink guide grooves 12b 0.1 mm The gaps between the ink supply guide 12 and the wire guide 13 0.1 mm The gap between the surface defining the wire guide hole 13a and the wire 0.01 mm
- the printer head body 1 has a head frame 30 including side walls extending from upper and back portions of the printer head body 1 and serving as a holder support 31.
- Each of the side walls of the holder support 31 has a holder support hole 32, a leaf spring 36 which is defined by two vertical recesses 33a, 33b in the holder support 31 and which has a holder attachment hole 34, and a guide slot 35.
- a holder 70a has on each of its opposite sides a cylindrical projection 71a, which is rotatably mounted in a holder support hole 32 in the head frame 30, and a semispherical projection 72a, which is engageable in a holder attachment hole 34.
- Each of the ink tanks 2a, 2b has a side disposed closer to the respective holder support 31 and having a cylindrical projection 49 engageable with a lower edge of the respective guide slot 35.
- the ink tank 2 can be attached to the holder 70a and detached therefrom in the following manner.
- the holder 70a is supported in the position shown in Figure 3, and the ink tank 2 is inserted into the holder 70a in the direction of the arrow C. At this time, the ink tank 2 is not required to be accurately positioned in the holder 70a and hence can easily be inserted into the holder 70a. Then, the holder 70#a is turned in the direction of the arrow D to bring the projection 49 on each of the sides of the ink tank 2 into contact with an edge of the respective guide slot 35 in the head frame 30, whereupon the ink tank 2 is positioned with respect to the head frame 30.
- the ink supply port 41 is now positioned correctly above the arm 12d of the ink supply guide 12 which projects upwardly from the printer head body 1.
- the ink guide slots 45a, 45b, 45c in the bottom or inner wall surface 40a of the ink tank 2 are disposed opposite to the ink guide grooves 12b in the arm 12d of the ink supply guide 12, thus forming part of the ink path from the ink tank 2 to the printer head body 1.
- the ink tank 2 can be removed in a procedure which is the reverse of the attachment process described above.
- the distal end of the wire projects through the ink meniscus, carries ink thereon, and hits a sheet of print paper (not shown) to transfer the ink to the print paper.
- a sheet of print paper (not shown) to transfer the ink to the print paper.
- the distal end thereof is located inwardly of the distal end surface 13c of the wire guide 13 so that an ink meniscus is formed in front of the distal end of the wire. Accordingly, ink is attached successively to the distal end of the wire as the latter is projected and retracted.
- the transfer of ink to the distal end of the wire 11, and other details of an inked-wire dot matrix printing process are described in EP-A-97,009 and will therefore not be described here in greater detail.
- any excessive ink on the distal end surface 13c of the wire guide 13 is drawn under capillary attraction into cross-sectionally V-shaped collection grooves 13b ( Figure 4) provided in the front and side surfaces of the wire guide 13 and is returned to the ink supply guide 12 without smearing the print paper.
- the grooves 13b are thus provided in the distal end surface of the wire guide 13 and communicate with the wire guide hole 13a. As shown in Figure 4, the grooves 13b extend to the outer periphery of the wire guide 13 so as to be open to the atmosphere.
- the wire guide hole 13a should have a proper dimension in the vicinity of the distal end of the wire and a proper amount of ink, without either an excess or a shortage of ink, should be supplied from the ink tank 2.
- the ink guide path from the ink tank 2 to a position in the vicinity of the distal end of the wire is composed of slots, grooves, and gaps.
- An appropriate quantity of ink can be supplied even when the ink supply from the ink supply grooves 12b is reduced due to increased use of ink.
- the dimensions of the ink supply grooves and gaps, the hole diameters of the porous members 61, 62 and the widths of the slots 45a, 45b, 45c are selected so that the capillary attraction is progressively greater along the ink path. Therefore, ink will not be interrupted in the ink path as described below.
- the ink is consumed from the ink tank 2 as printing progresses, ink flows from the porous member 62 through the ink guide grooves 12b, or through the ink guide grooves 12b and the slots 45a, 45b, 45c, into the printer head body 1. Since the ink moves transversely across the porous member 62 at this time, the distance that the ink moves through the porous member 62 is small and no ink interruption occurs.
- a pressure difference immediately occurs between the ink in the porous member 61 and the ink in the porous member 62 due to the difference between their average hole diameters, and the same quantity of ink as is consumed is supplied from the porous member 61 to the porous member 62.
- the ink guide mechanism in the printer head body operates to produce the same advantage. If the flow of ink is interrupted in the ink path by reason of vibrations or the like, a mass of ink which has been so interrupted is moved forward until it is joined to a preceding mass of ink since the capillary attraction is greater in the ink path than in the ink tank. Since the capillary attraction is greater in the vicinity of the distal end of the wire than in the portion of the ink path in which the flow of ink is interrupted, no ink is retracted from the distal end of the wire, and hence the dot density will not be rendered unstable even momentarily, so that all ink on the distal end of the wire can be used up.
- the ink-impregnated members 61, 62 are supported on the ridges 47, 51 in the ink tank body 40.
- the ink-impregnated members 61, 62 are therefore surrounded by a layer of air which communicates by way of the air hole 42 with the ambient air. Since the ink is impregnated under a low pressure, there is substantially no air layer or pocket enclosed by the ink in the ink-impregnated members 61, 62. Therefore, any expansion of the air in the tank 2 caused by a temperature rise or by a reduction in atmospheric pressure is released through the air hole 42, so that the pressure in the tank 2 is equalized to atmospheric pressure and does not force the ink out of the ink tank 2.
- the ink tank 2 is therefore protected from an ink outflow due to variations in temperature and atmospheric pressure, and is capable of supplying ink stably.
- the ink tank 2 and the ink guide path for supplying ink to the wire have dimensions dependent on the accuracy of the shapes of the components. Since the components can be easily formed with high dimensional accuracy, as by moulding, the ink tank 2 and the ink guide path can be highly dimensionally accurate and have a stable ink supply capability.
- the ink tank 2 and the ink guide path can easily be assembled as they are composed of a small number of parts. They may be maintained free from wear and deformation for a long period of use and can keep their initial performance partly because of the lubrication effected by the ink.
- the ink guide groove 12"b has mounted therein an ink guide porous member 12"e which serves as an extension of the ink-impregnated members in the ink tank.
- the operation of the ink guide member 12" is essentially the same as that of the member 12 of Figure 2.
- FIG 5 is an exploded perspective view of an ink tank 2" as a further embodiment of the present invention.
- the parts of the ink tank of Figure 7 other than a porous member 60" are the same as those in the embodiment shown in Figure 2.
- the porous member 60" has different front and rear thicknesses so that the thicker front portion, which is disposed adjacent to the ink supply port 41, is compressed by the tank lid 50 when the porous member 60" is introduced into the tank body 40.
- the porous member 60" has uniform hole diameters, the front portion thereof, which is adjacent to the ink supply port 41, has a smaller average hole diameter, with the hole diameter becoming progressively greater toward the rear portion, which is remote from the ink supply port 41, at the time when the porous member 60" is placed in the ink tank body 40.
- the porous member 60" is structurally equivalent to a plurality of porous sheet layers of different average hole diameters which are placed in the ink tank body 40" with the average hole diameters becoming progressively greater from the front to rear portion of the member 60". Therefore, the operation of the porous member 60" is basically the same as that of the porous members 61, 62 shown in Figure 2.
- the ink tank 2 is placed above the printer head 1, the ink tank 2 may be located below the wires to achieve a stable printing density through the ink guiding process described above.
- ink can be stably supplied through a simple construction from an ink tank to the distal end of a wire, and ink is stably attached to the distal end of the wire for producing a stable and proper ink dot density.
- the ink will not be interrupted in the ink guide path and the risk of a supply failure will be reduced.
- the quantity of ink absorbed in the ink guide path is smaller than would be the case with a known arrangement in which a porous member is used to apply ink to the distal end of the wire. Therefore, any wasted ink which is not used for printing is of a small quantity, and hence substantially all the ink in the ink t4ank can effectively be used for printing.
- a fresh cartridge ink tank can be mounted in place so that fresh ink can immediately be supplied to the distal end of the wire for resuming the desired printing operation.
- the described ink supply system is simple in construction, it takes up only a small space.
- the ink supply systems for different ink colours can be spaced widely so that any unwanted colour mixing can be avoided.
Landscapes
- Ink Jet (AREA)
- Impact Printers (AREA)
- Impression-Transfer Materials And Handling Thereof (AREA)
Applications Claiming Priority (8)
| Application Number | Priority Date | Filing Date | Title |
|---|---|---|---|
| JP102843/84 | 1984-05-22 | ||
| JP10284184A JPS60245560A (ja) | 1984-05-22 | 1984-05-22 | プリンタのインクタンク |
| JP10284384 | 1984-05-22 | ||
| JP102841/84 | 1984-05-22 | ||
| JP59102843A JP2563769B2 (ja) | 1984-05-22 | 1984-05-22 | プリンタのインクタンク |
| JP10284184 | 1984-05-22 | ||
| EP90201873A EP0406982B1 (en) | 1984-05-22 | 1984-10-09 | Method of impregnating ink absorbing means |
| EP84306887A EP0139508B1 (en) | 1983-10-13 | 1984-10-09 | Wire dot matrix printer head |
Related Parent Applications (2)
| Application Number | Title | Priority Date | Filing Date |
|---|---|---|---|
| EP90201873.8 Division | 1984-10-09 | ||
| EP90201873A Division EP0406982B1 (en) | 1984-05-22 | 1984-10-09 | Method of impregnating ink absorbing means |
Publications (3)
| Publication Number | Publication Date |
|---|---|
| EP0605386A2 EP0605386A2 (en) | 1994-07-06 |
| EP0605386A3 EP0605386A3 (en) | 1994-07-27 |
| EP0605386B1 true EP0605386B1 (en) | 2001-03-14 |
Family
ID=26443529
Family Applications (10)
| Application Number | Title | Priority Date | Filing Date |
|---|---|---|---|
| EP94101081A Expired - Lifetime EP0605386B1 (en) | 1984-05-22 | 1984-10-09 | Ink tank |
| EP94101083A Expired - Lifetime EP0605388B1 (en) | 1984-05-22 | 1984-10-09 | Ink tank |
| EP90201876A Expired - Lifetime EP0398453B1 (en) | 1984-05-22 | 1984-10-09 | Ink supply tank for a wire dot matrix printer head |
| EP90201873A Expired - Lifetime EP0406982B1 (en) | 1984-05-22 | 1984-10-09 | Method of impregnating ink absorbing means |
| EP94101082A Revoked EP0605387B1 (en) | 1984-05-22 | 1984-10-09 | Method for impregnating ink absorbing means in an ink tank |
| EP90201874A Expired - Lifetime EP0406983B1 (en) | 1984-05-22 | 1984-10-09 | Ink supply tank for a wire dot matrix printer head |
| EP94101074A Revoked EP0614761B1 (en) | 1984-05-22 | 1984-10-09 | Ink tank |
| EP96115079A Withdrawn EP0749839A3 (en) | 1984-05-22 | 1984-10-09 | Ink tank |
| EP94101088A Expired - Lifetime EP0615848B1 (en) | 1984-05-22 | 1984-10-09 | Ink tank |
| EP94101089A Expired - Lifetime EP0605389B1 (en) | 1984-05-22 | 1984-10-09 | Ink tank |
Family Applications After (9)
| Application Number | Title | Priority Date | Filing Date |
|---|---|---|---|
| EP94101083A Expired - Lifetime EP0605388B1 (en) | 1984-05-22 | 1984-10-09 | Ink tank |
| EP90201876A Expired - Lifetime EP0398453B1 (en) | 1984-05-22 | 1984-10-09 | Ink supply tank for a wire dot matrix printer head |
| EP90201873A Expired - Lifetime EP0406982B1 (en) | 1984-05-22 | 1984-10-09 | Method of impregnating ink absorbing means |
| EP94101082A Revoked EP0605387B1 (en) | 1984-05-22 | 1984-10-09 | Method for impregnating ink absorbing means in an ink tank |
| EP90201874A Expired - Lifetime EP0406983B1 (en) | 1984-05-22 | 1984-10-09 | Ink supply tank for a wire dot matrix printer head |
| EP94101074A Revoked EP0614761B1 (en) | 1984-05-22 | 1984-10-09 | Ink tank |
| EP96115079A Withdrawn EP0749839A3 (en) | 1984-05-22 | 1984-10-09 | Ink tank |
| EP94101088A Expired - Lifetime EP0615848B1 (en) | 1984-05-22 | 1984-10-09 | Ink tank |
| EP94101089A Expired - Lifetime EP0605389B1 (en) | 1984-05-22 | 1984-10-09 | Ink tank |
Country Status (4)
| Country | Link |
|---|---|
| EP (10) | EP0605386B1 (OSRAM) |
| DE (9) | DE3486334C5 (OSRAM) |
| HK (3) | HK73395A (OSRAM) |
| SG (7) | SG26404G (OSRAM) |
Families Citing this family (5)
| Publication number | Priority date | Publication date | Assignee | Title |
|---|---|---|---|---|
| JP3582592B2 (ja) | 2001-04-03 | 2004-10-27 | セイコーエプソン株式会社 | インクカートリッジ、及びインクジェット記録装置 |
| CN1657294A (zh) * | 1992-07-24 | 2005-08-24 | 佳能株式会社 | 用于气泡喷射打印机的可替换的处理盒 |
| US5509140A (en) * | 1992-07-24 | 1996-04-16 | Canon Kabushiki Kaisha | Replaceable ink cartridge |
| US6332675B1 (en) | 1992-07-24 | 2001-12-25 | Canon Kabushiki Kaisha | Ink container, ink and ink jet recording apparatus using ink container |
| ES2298890T5 (es) † | 2002-11-26 | 2013-11-29 | Seiko Epson Corporation | Cartucho de tinta |
Citations (2)
| Publication number | Priority date | Publication date | Assignee | Title |
|---|---|---|---|---|
| FR2229320A5 (en) * | 1973-05-09 | 1974-12-06 | Meci Materiel Elect Contr | Continuous inking device for pen recorders - has reservoir containing cellular material to contain ink |
| US4095237A (en) * | 1974-12-26 | 1978-06-13 | Aktiebolaget Electrolux | Ink jet printing head |
Family Cites Families (18)
| Publication number | Priority date | Publication date | Assignee | Title |
|---|---|---|---|---|
| US3491685A (en) * | 1967-05-24 | 1970-01-27 | Pitney Bowes Inc | Rotatable ink storage and metering cartridge |
| US3863686A (en) * | 1972-10-16 | 1975-02-04 | V Mark Automation Ltd | Apparatus and process for article filling under reduced pressure |
| US3858703A (en) * | 1973-01-05 | 1975-01-07 | Centronics Data Computer | Bidirectional dual head printer |
| DE2546835C3 (de) * | 1975-10-18 | 1980-11-06 | Philips Patentverwaltung Gmbh, 2000 Hamburg | Druckeinrichtung mit in Längsrichtung verschiebbaren Drucknadeln |
| DE2704735C2 (de) * | 1977-02-04 | 1982-08-05 | Siemens AG, 1000 Berlin und 8000 München | Auslaufsicherer Tintenvorratsbehälter |
| JPS55150372A (en) * | 1979-05-11 | 1980-11-22 | Seiko Epson Corp | Printer |
| US4279519A (en) * | 1979-06-01 | 1981-07-21 | Centronics Data Computer Corp. | Dot matrix printing device employing novel image transfer technique for printing on single ply or multiple ply print receiving media |
| GB2063175B (en) * | 1979-11-06 | 1984-02-15 | Shinshu Seiki Kk | Ink jet printer |
| EP0041777B1 (en) * | 1980-06-06 | 1985-07-31 | Epson Corporation | Ink supply system for a printer |
| US4456393A (en) * | 1980-06-17 | 1984-06-26 | Kabushiki Kaisha Suwa Seikosha & Epson Corporation | Wire dot printer |
| JPS57100088A (en) * | 1980-12-15 | 1982-06-22 | Seiko Epson Corp | Ink jet type printer |
| IT1145242B (it) * | 1981-12-23 | 1986-11-05 | Olivetti & Co Spa | Testina di stampa a getto d inchiostro e relativa stampante seriale |
| DE3207074A1 (de) * | 1982-02-26 | 1983-09-15 | Siemens AG, 1000 Berlin und 8000 München | Schreibelement mit piezoantrieb fuer registrier- und aufzeichnungsgeraete |
| US4437104A (en) * | 1982-05-10 | 1984-03-13 | Advanced Color Technology, Inc. | Ink disposal system for ink jet printer |
| JPS58194550A (ja) * | 1982-05-10 | 1983-11-12 | Canon Inc | インクカセット |
| US4511906A (en) * | 1982-10-13 | 1985-04-16 | Sharp Kabushiki Kaisha | Ink liquid reservoir in an ink jet system printer |
| DE3484840D1 (de) * | 1983-10-13 | 1991-08-29 | Seiko Epson Corp | Punktdruckkopf mit nadelmatrix. |
| JPS60192672A (ja) * | 1984-03-14 | 1985-10-01 | Janome Sewing Mach Co Ltd | プリンタのインク含浸プラテン |
-
1984
- 1984-10-09 DE DE3486334T patent/DE3486334C5/de not_active Expired - Lifetime
- 1984-10-09 DE DE3486335T patent/DE3486335T2/de not_active Expired - Lifetime
- 1984-10-09 DE DE3486483T patent/DE3486483T2/de not_active Expired - Lifetime
- 1984-10-09 SG SG1995906848A patent/SG26404G/en unknown
- 1984-10-09 SG SG1996006357A patent/SG64344A1/en unknown
- 1984-10-09 SG SG1995906830A patent/SG26403G/en unknown
- 1984-10-09 DE DE3486337T patent/DE3486337T2/de not_active Expired - Lifetime
- 1984-10-09 EP EP94101081A patent/EP0605386B1/en not_active Expired - Lifetime
- 1984-10-09 EP EP94101083A patent/EP0605388B1/en not_active Expired - Lifetime
- 1984-10-09 EP EP90201876A patent/EP0398453B1/en not_active Expired - Lifetime
- 1984-10-09 DE DE3486485T patent/DE3486485T2/de not_active Expired - Lifetime
- 1984-10-09 EP EP90201873A patent/EP0406982B1/en not_active Expired - Lifetime
- 1984-10-09 DE DE3486480T patent/DE3486480T2/de not_active Expired - Lifetime
- 1984-10-09 SG SG1996006312A patent/SG52578A1/en unknown
- 1984-10-09 EP EP94101082A patent/EP0605387B1/en not_active Revoked
- 1984-10-09 SG SG1996006751A patent/SG54266A1/en unknown
- 1984-10-09 EP EP90201874A patent/EP0406983B1/en not_active Expired - Lifetime
- 1984-10-09 SG SG1995907218A patent/SG26412G/en unknown
- 1984-10-09 DE DE3486487T patent/DE3486487T2/de not_active Expired - Lifetime
- 1984-10-09 SG SG1996006337A patent/SG46589A1/en unknown
- 1984-10-09 EP EP94101074A patent/EP0614761B1/en not_active Revoked
- 1984-10-09 DE DE3486482T patent/DE3486482T2/de not_active Expired - Lifetime
- 1984-10-09 EP EP96115079A patent/EP0749839A3/en not_active Withdrawn
- 1984-10-09 DE DE3486481T patent/DE3486481T2/de not_active Revoked
- 1984-10-09 EP EP94101088A patent/EP0615848B1/en not_active Expired - Lifetime
- 1984-10-09 EP EP94101089A patent/EP0605389B1/en not_active Expired - Lifetime
-
1995
- 1995-05-11 HK HK73395A patent/HK73395A/en not_active IP Right Cessation
- 1995-05-11 HK HK73295A patent/HK73295A/en not_active IP Right Cessation
- 1995-05-11 HK HK73495A patent/HK73495A/en not_active IP Right Cessation
Patent Citations (2)
| Publication number | Priority date | Publication date | Assignee | Title |
|---|---|---|---|---|
| FR2229320A5 (en) * | 1973-05-09 | 1974-12-06 | Meci Materiel Elect Contr | Continuous inking device for pen recorders - has reservoir containing cellular material to contain ink |
| US4095237A (en) * | 1974-12-26 | 1978-06-13 | Aktiebolaget Electrolux | Ink jet printing head |
Also Published As
Similar Documents
| Publication | Publication Date | Title |
|---|---|---|
| EP0139508B1 (en) | Wire dot matrix printer head | |
| US5158377A (en) | Ink-supply system for a dot matrix printer | |
| US5615957A (en) | Ink-supply tank for a dot matrix printer | |
| US5221148A (en) | Dot matrix printer ink supply system having ink absorbing member substantially filling an ink tank | |
| US5156473A (en) | Multi-color cartridge ink-supply system for a dot matrix printer | |
| US5174665A (en) | Ink-supply system for a dot matrix printer | |
| US5156470A (en) | Two cartridge ink-supply system for a multi-color dot matrix printer | |
| EP0605386B1 (en) | Ink tank | |
| EP0606101B1 (en) | Ink tank |
Legal Events
| Date | Code | Title | Description |
|---|---|---|---|
| PUAI | Public reference made under article 153(3) epc to a published international application that has entered the european phase |
Free format text: ORIGINAL CODE: 0009012 |
|
| PUAL | Search report despatched |
Free format text: ORIGINAL CODE: 0009013 |
|
| 17P | Request for examination filed |
Effective date: 19940125 |
|
| AC | Divisional application: reference to earlier application |
Ref document number: 406982 Country of ref document: EP |
|
| AK | Designated contracting states |
Kind code of ref document: A2 Designated state(s): DE FR GB IT NL |
|
| RHK1 | Main classification (correction) |
Ipc: B41J 3/12 |
|
| AK | Designated contracting states |
Kind code of ref document: A3 Designated state(s): DE FR GB IT NL |
|
| 17Q | First examination report despatched |
Effective date: 19960124 |
|
| GRAG | Despatch of communication of intention to grant |
Free format text: ORIGINAL CODE: EPIDOS AGRA |
|
| RIC1 | Information provided on ipc code assigned before grant |
Free format text: 7B 41J 2/255 A, 7B 41J 2/305 B, 7B 41J 2/175 B |
|
| RTI1 | Title (correction) |
Free format text: INK TANK |
|
| GRAG | Despatch of communication of intention to grant |
Free format text: ORIGINAL CODE: EPIDOS AGRA |
|
| GRAH | Despatch of communication of intention to grant a patent |
Free format text: ORIGINAL CODE: EPIDOS IGRA |
|
| GRAH | Despatch of communication of intention to grant a patent |
Free format text: ORIGINAL CODE: EPIDOS IGRA |
|
| GRAA | (expected) grant |
Free format text: ORIGINAL CODE: 0009210 |
|
| AC | Divisional application: reference to earlier application |
Ref document number: 406982 Country of ref document: EP Ref document number: 139508 Country of ref document: EP |
|
| AK | Designated contracting states |
Kind code of ref document: B1 Designated state(s): DE FR GB IT NL |
|
| ITF | It: translation for a ep patent filed | ||
| REF | Corresponds to: |
Ref document number: 3486480 Country of ref document: DE Date of ref document: 20010419 |
|
| ET | Fr: translation filed | ||
| REG | Reference to a national code |
Ref country code: GB Ref legal event code: IF02 |
|
| PLBE | No opposition filed within time limit |
Free format text: ORIGINAL CODE: 0009261 |
|
| STAA | Information on the status of an ep patent application or granted ep patent |
Free format text: STATUS: NO OPPOSITION FILED WITHIN TIME LIMIT |
|
| 26N | No opposition filed | ||
| PGFP | Annual fee paid to national office [announced via postgrant information from national office to epo] |
Ref country code: FR Payment date: 20031003 Year of fee payment: 20 |
|
| PGFP | Annual fee paid to national office [announced via postgrant information from national office to epo] |
Ref country code: NL Payment date: 20031008 Year of fee payment: 20 Ref country code: GB Payment date: 20031008 Year of fee payment: 20 |
|
| PGFP | Annual fee paid to national office [announced via postgrant information from national office to epo] |
Ref country code: DE Payment date: 20031016 Year of fee payment: 20 |
|
| PG25 | Lapsed in a contracting state [announced via postgrant information from national office to epo] |
Ref country code: GB Free format text: LAPSE BECAUSE OF EXPIRATION OF PROTECTION Effective date: 20041008 |
|
| PG25 | Lapsed in a contracting state [announced via postgrant information from national office to epo] |
Ref country code: NL Free format text: LAPSE BECAUSE OF EXPIRATION OF PROTECTION Effective date: 20041009 |
|
| REG | Reference to a national code |
Ref country code: GB Ref legal event code: PE20 |
|
| NLV7 | Nl: ceased due to reaching the maximum lifetime of a patent |
Effective date: 20041009 |