EP0241402A2 - Lighting installation with a plurality of lighting units - Google Patents

Lighting installation with a plurality of lighting units Download PDF

Info

Publication number
EP0241402A2
EP0241402A2 EP87500014A EP87500014A EP0241402A2 EP 0241402 A2 EP0241402 A2 EP 0241402A2 EP 87500014 A EP87500014 A EP 87500014A EP 87500014 A EP87500014 A EP 87500014A EP 0241402 A2 EP0241402 A2 EP 0241402A2
Authority
EP
European Patent Office
Prior art keywords
lids
lid
components
lighting installations
bodies
Prior art date
Legal status (The legal status is an assumption and is not a legal conclusion. Google has not performed a legal analysis and makes no representation as to the accuracy of the status listed.)
Granted
Application number
EP87500014A
Other languages
German (de)
French (fr)
Other versions
EP0241402B1 (en
EP0241402A3 (en
Inventor
Carlos Alvarez Delegido
Jordi Mallorqui Graupera
Current Assignee (The listed assignees may be inaccurate. Google has not performed a legal analysis and makes no representation or warranty as to the accuracy of the list.)
J FELIU de la PENA SA
Original Assignee
J FELIU de la PENA SA
Priority date (The priority date is an assumption and is not a legal conclusion. Google has not performed a legal analysis and makes no representation as to the accuracy of the date listed.)
Filing date
Publication date
Application filed by J FELIU de la PENA SA filed Critical J FELIU de la PENA SA
Priority to AT87500014T priority Critical patent/ATE85680T1/en
Publication of EP0241402A2 publication Critical patent/EP0241402A2/en
Publication of EP0241402A3 publication Critical patent/EP0241402A3/en
Application granted granted Critical
Publication of EP0241402B1 publication Critical patent/EP0241402B1/en
Anticipated expiration legal-status Critical
Expired - Lifetime legal-status Critical Current

Links

Images

Classifications

    • FMECHANICAL ENGINEERING; LIGHTING; HEATING; WEAPONS; BLASTING
    • F21LIGHTING
    • F21SNON-PORTABLE LIGHTING DEVICES; SYSTEMS THEREOF; VEHICLE LIGHTING DEVICES SPECIALLY ADAPTED FOR VEHICLE EXTERIORS
    • F21S2/00Systems of lighting devices, not provided for in main groups F21S4/00 - F21S10/00 or F21S19/00, e.g. of modular construction
    • FMECHANICAL ENGINEERING; LIGHTING; HEATING; WEAPONS; BLASTING
    • F21LIGHTING
    • F21SNON-PORTABLE LIGHTING DEVICES; SYSTEMS THEREOF; VEHICLE LIGHTING DEVICES SPECIALLY ADAPTED FOR VEHICLE EXTERIORS
    • F21S2/00Systems of lighting devices, not provided for in main groups F21S4/00 - F21S10/00 or F21S19/00, e.g. of modular construction
    • F21S2/005Systems of lighting devices, not provided for in main groups F21S4/00 - F21S10/00 or F21S19/00, e.g. of modular construction of modular construction
    • FMECHANICAL ENGINEERING; LIGHTING; HEATING; WEAPONS; BLASTING
    • F21LIGHTING
    • F21SNON-PORTABLE LIGHTING DEVICES; SYSTEMS THEREOF; VEHICLE LIGHTING DEVICES SPECIALLY ADAPTED FOR VEHICLE EXTERIORS
    • F21S8/00Lighting devices intended for fixed installation
    • F21S8/04Lighting devices intended for fixed installation intended only for mounting on a ceiling or the like overhead structures
    • F21S8/06Lighting devices intended for fixed installation intended only for mounting on a ceiling or the like overhead structures by suspension
    • FMECHANICAL ENGINEERING; LIGHTING; HEATING; WEAPONS; BLASTING
    • F21LIGHTING
    • F21VFUNCTIONAL FEATURES OR DETAILS OF LIGHTING DEVICES OR SYSTEMS THEREOF; STRUCTURAL COMBINATIONS OF LIGHTING DEVICES WITH OTHER ARTICLES, NOT OTHERWISE PROVIDED FOR
    • F21V15/00Protecting lighting devices from damage
    • F21V15/01Housings, e.g. material or assembling of housing parts
    • F21V15/013Housings, e.g. material or assembling of housing parts the housing being an extrusion
    • FMECHANICAL ENGINEERING; LIGHTING; HEATING; WEAPONS; BLASTING
    • F21LIGHTING
    • F21VFUNCTIONAL FEATURES OR DETAILS OF LIGHTING DEVICES OR SYSTEMS THEREOF; STRUCTURAL COMBINATIONS OF LIGHTING DEVICES WITH OTHER ARTICLES, NOT OTHERWISE PROVIDED FOR
    • F21V15/00Protecting lighting devices from damage
    • F21V15/01Housings, e.g. material or assembling of housing parts
    • F21V15/015Devices for covering joints between adjacent lighting devices; End coverings
    • FMECHANICAL ENGINEERING; LIGHTING; HEATING; WEAPONS; BLASTING
    • F21LIGHTING
    • F21VFUNCTIONAL FEATURES OR DETAILS OF LIGHTING DEVICES OR SYSTEMS THEREOF; STRUCTURAL COMBINATIONS OF LIGHTING DEVICES WITH OTHER ARTICLES, NOT OTHERWISE PROVIDED FOR
    • F21V21/00Supporting, suspending, or attaching arrangements for lighting devices; Hand grips
    • F21V21/005Supporting, suspending, or attaching arrangements for lighting devices; Hand grips for several lighting devices in an end-to-end arrangement, i.e. light tracks
    • FMECHANICAL ENGINEERING; LIGHTING; HEATING; WEAPONS; BLASTING
    • F21LIGHTING
    • F21VFUNCTIONAL FEATURES OR DETAILS OF LIGHTING DEVICES OR SYSTEMS THEREOF; STRUCTURAL COMBINATIONS OF LIGHTING DEVICES WITH OTHER ARTICLES, NOT OTHERWISE PROVIDED FOR
    • F21V23/00Arrangement of electric circuit elements in or on lighting devices
    • F21V23/06Arrangement of electric circuit elements in or on lighting devices the elements being coupling devices, e.g. connectors
    • FMECHANICAL ENGINEERING; LIGHTING; HEATING; WEAPONS; BLASTING
    • F21LIGHTING
    • F21VFUNCTIONAL FEATURES OR DETAILS OF LIGHTING DEVICES OR SYSTEMS THEREOF; STRUCTURAL COMBINATIONS OF LIGHTING DEVICES WITH OTHER ARTICLES, NOT OTHERWISE PROVIDED FOR
    • F21V17/00Fastening of component parts of lighting devices, e.g. shades, globes, refractors, reflectors, filters, screens, grids or protective cages
    • F21V17/10Fastening of component parts of lighting devices, e.g. shades, globes, refractors, reflectors, filters, screens, grids or protective cages characterised by specific fastening means or way of fastening
    • F21V17/16Fastening of component parts of lighting devices, e.g. shades, globes, refractors, reflectors, filters, screens, grids or protective cages characterised by specific fastening means or way of fastening by deformation of parts; Snap action mounting
    • F21V17/164Fastening of component parts of lighting devices, e.g. shades, globes, refractors, reflectors, filters, screens, grids or protective cages characterised by specific fastening means or way of fastening by deformation of parts; Snap action mounting the parts being subjected to bending, e.g. snap joints
    • FMECHANICAL ENGINEERING; LIGHTING; HEATING; WEAPONS; BLASTING
    • F21LIGHTING
    • F21VFUNCTIONAL FEATURES OR DETAILS OF LIGHTING DEVICES OR SYSTEMS THEREOF; STRUCTURAL COMBINATIONS OF LIGHTING DEVICES WITH OTHER ARTICLES, NOT OTHERWISE PROVIDED FOR
    • F21V23/00Arrangement of electric circuit elements in or on lighting devices
    • F21V23/02Arrangement of electric circuit elements in or on lighting devices the elements being transformers, impedances or power supply units, e.g. a transformer with a rectifier
    • F21V23/026Fastening of transformers or ballasts
    • FMECHANICAL ENGINEERING; LIGHTING; HEATING; WEAPONS; BLASTING
    • F21LIGHTING
    • F21VFUNCTIONAL FEATURES OR DETAILS OF LIGHTING DEVICES OR SYSTEMS THEREOF; STRUCTURAL COMBINATIONS OF LIGHTING DEVICES WITH OTHER ARTICLES, NOT OTHERWISE PROVIDED FOR
    • F21V27/00Cable-stowing arrangements structurally associated with lighting devices, e.g. reels 
    • FMECHANICAL ENGINEERING; LIGHTING; HEATING; WEAPONS; BLASTING
    • F21LIGHTING
    • F21YINDEXING SCHEME ASSOCIATED WITH SUBCLASSES F21K, F21L, F21S and F21V, RELATING TO THE FORM OR THE KIND OF THE LIGHT SOURCES OR OF THE COLOUR OF THE LIGHT EMITTED
    • F21Y2103/00Elongate light sources, e.g. fluorescent tubes
    • FMECHANICAL ENGINEERING; LIGHTING; HEATING; WEAPONS; BLASTING
    • F21LIGHTING
    • F21YINDEXING SCHEME ASSOCIATED WITH SUBCLASSES F21K, F21L, F21S and F21V, RELATING TO THE FORM OR THE KIND OF THE LIGHT SOURCES OR OF THE COLOUR OF THE LIGHT EMITTED
    • F21Y2113/00Combination of light sources

Definitions

  • the present invention relates to a set of as­semblable components for making up lighting apparatus or installations, with the use of which it is possible to implement installations that can be suited to the specific requirements of every case of application, starting from some components allowing several combinations to be per­formed.
  • the equipment according to the invention is es­sentially comprised of boxes formed starting from channel profiled members having means for pressure fitting with one another in order to conform the box, at least one of these profiles being translucent.
  • These profiled members show internal housings for conduction leads, as well as longitudinal grooves for anchoring of screw threaded bolts for affixing several components (lamp carriers, ballasts, primers, etc.).
  • the ends of these boxes receive respective lids formed with means for engagement and electrical con­nection with other means provided on lids of complemen­tary boxes.
  • Terminal boxes, with no electrical connec­tions, have been provided for the terminal ends of bodies placed at the ends of the ensemble of components fitted together.
  • the set of components comprises junction-like bodies for connection and bifurcation of other boxes or bodies, the junctions being provided with an optional num­ber of adjustable couplings and connections mating with the couplings and connections of the above boxes.
  • the coupling means of the lids of the hollow bodies containing the lighting devices are formed with coaxial half-sleeves of different radius and protruding from their outer surfaces, which are complementary of those of an adjacent lid to form a cavity which surrounds a plurality of tubular housings wherein electric connection sockets and pins are placed, the con­nection sockets and pins of one lid being adapted for fit­ting with those of the lid of an adjacent body to be join­ed, the said electric connection sockets and pins being provided with connection tongues protruding towards the center of an opening formed on the lid, to receive the feeding electric cables.
  • one of the half-sleeves of the lids has mating semicircular cutouts at diametrically opposite points, so that, when the lid of a box is coupled with the lid of an adjacent one with all of the half-­sleeves coaxial, the cutouts of one lid match with those of the other lid and define openings through which remov­able locking pins are threaded to ensure the lid engage­ment.
  • the locking pins are of a tubular structure to form a passageway for supporting struts.
  • the terminal lid itself shows a protruding, closed extension having an outline similar to that of the half-sleeves of the connection and assembling lids, with opposite circular holes for engagement of a tubular lock­ing pin intended to receive a supporting strut.
  • connection and engagement lids as well as the terminal lids have projections on their internal face in order to facilitate centering of the lid as regards the end of the box where they are fixed to, as well as holes for securing screws, the said holes being faced to hous­ings formed in the profiled members making up the box and arranged for threaded engagement of the above screws.
  • lids for assembling be­tween two boxes have the sets of pins and sockets offset 90° as regards the sets of the other boxes, in order to locate said boxes in a position offset to an angle as well.
  • the boxes may, likewise, be rotationally movable for directing the light as desired.
  • figure 1 is a perspective view of the channeled profiled members making up the luminous boxes or container boxes for the electrical components of the equipment, the lids for assembly or engagement of the boxes and a terminal lid, in dismantled showing;
  • figure 2 is a perspective view of one of the boxes with neither lids nor electrical components inside them;
  • figure 3 is an elevation view of the outer face of one of the assembly and connection lids, the figure showing as well, in dotted lines, the position of one lid with the same half-sleeves and connection, though in a position which is offset 90° as regards the position shown in solid lines;
  • figure 4 is a view in longitudinal section of two assembly and connec­tion lids shown in separated relation;
  • figure 5 is a similar view of the two lids assembled with one another;
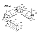
  • figure 6 is a perspective view showing a mounted set of equipment components;
  • figure 7 is an elevation view of several components in assembled condition, and
  • figure 8 is a diagrammatic plan view of the equipment as installed ac­cording to an
  • the equipment of assemblable components for lighting installations shown in the drawings is made up of boxes generally referred to with 1 and formed of two profiled members 2 and 3, of generally channeled shape and mutually complementary, the edges of the said members hav­ing sets of ribs and grooves 4 for their mutual pressure fitting (Fig. 2).
  • the profiled member 3 may be translucent in the case that a luminous tube is housed therein.
  • the inside of the profiled members 2 and 3 is formed with longitudinal grooves 5 in ribs or wings 6 where the screws for securing the electrical components such as lamp carriers, ballasts, primers and other, are fastened to.
  • the profiled members have, as well, lips 6a for housing the electrical cables.
  • a lid 7 is engaged at each end of the boxes 1 and is formed with ribs 8 for guiding their position, as well as holes 9 through which screws 10 are passed for screw threaded engagement with the ends 5a of the grooves 5, in order to secure the lids.
  • the outer face of the lids 7 has two mutually complementary, diametrically opposite half-sleeves 11 and 12 of different radius, which surround sets of mutually complementary sleeves or tubular housings 13 and 14 which receive, respectively, connection sockets 15 and pins 16 provided with tongues 17 directed towards the center of a central opening 18 of the respective lid for connection to the electric installation cables.
  • the half-sleeves 11 have pairs of semicircular. complementary and opposite cutouts 19 and 20 which mate with one another when the half-sleeves of one lid are fit­ted or assembled with those of a like lid (Fig. 5).
  • the openings formed by the mated cutouts 19 and 20 serve to form a passageway for locking pins 21 and 22 having axial holes 23 through which supporting cables or struts 24 can be inserted.
  • the locking pins 21,22 play the role of a linkage between two contiguous lids and ensure the still­ness of these later.
  • the equipment comprises as well terminal lids 25 having an outline which is analogous to that of the lids 7, and a small closed outer box 26 of a shape similar to that of the half-sleeves 11 and 12, and formed with open­ings 27 which are similar to the openings 19 and 20 to provide for the insertion of locking pins 21 and 22 in or­der to secure the ends of suspending struts 23.
  • the half-sleeves 11 and 12 are located offset 90° as regards their usual position, for example as indicated with doted lines in figure 3, to place a box 1a in a position which is offset 90° as regards the other boxes (Fig. 6 and 7).
  • the equipment comprises as well distribution or junction bodies 28 provided with connection sleeves 29 having a shape which is complementary to that of the half-­sleeves 11 and 12 of the assembly lids 7, and provided with electric connection sockets and pins.
  • the connection sleeves 29 have a tail 30 shaped so that it can be remov­ably trapped in the junction body 28 and allow the body 29 to be placed in the suitable position.
  • the body 28 can trap two or more tails 30 or respective sleeves 29, ac­cording to the needs of the installation (Fig. 8).
  • the above junction body 28 comprises means for securing a suspending strut 23, as well as for mounting a swinging spotlight 31 of a conventional shape (Fig. 6).
  • the equipment of assemblable com­ponents allows multiple combinations to be effected in or­ der to attain an illumination layout which is distributed in a manner suitable to the features of the site to be lighted, starting from a small series of invariable com­ponents featuring an ability for being assembled in dif­ferent ways.
  • This equipment can be completed with an ar­ticultion device joined to the profiled members so that these latter can be directed in whatever direction. It is foreseen as well a flexible articulation that can be as­sembled to the profiled members in order to place the luminous tubes in a vertical plane.

Landscapes

  • Engineering & Computer Science (AREA)
  • General Engineering & Computer Science (AREA)
  • Non-Portable Lighting Devices Or Systems Thereof (AREA)
  • Circuit Arrangement For Electric Light Sources In General (AREA)
  • Fastening Of Light Sources Or Lamp Holders (AREA)

Abstract

A set of assemblable components for lighting in­stallations comprises complementary channel profiled mem­bers (2,3) with sets of ribs and grooves (4) for engage­ment with one another to form a box-like hollow body (1) having within it ribs or wings (6) for fastening electri­cal components for feeding and assembling lamps, a lid (7) being mounted at the ends of the assembled profiled mem­bers (2,3) and having outer assembly and electrical con­nection means (10) for engagement and means (11,12) for electrical connection with the lids (7) of adjacent box-­like hollow bodies and in respect to assembly and connec­tion bodies mounted in intermediate distribution junctions (28) located at desired points of the layout, the assembly lids (7), as well as the distribution junctions (28), having means for fastening suspension struts (23).

Description

  • The present invention relates to a set of as­semblable components for making up lighting apparatus or installations, with the use of which it is possible to implement installations that can be suited to the specific requirements of every case of application, starting from some components allowing several combinations to be per­formed.
  • With the lighting means hitherto known, laying down of lighting apparatus that must assume a modular and compact structure becomes intricate and costly. In fact, such installations must be performed starting from com­ponents specifically manufactured for every application, and this complicates the installation and puts the price of this latter up. Otherwise, one must resort to the use of commercially available components, but this has the draw­back that these available components usually do not afford the ensemble image that can be attained with the equipment making the subject of the invention.
  • The equipment according to the invention is es­sentially comprised of boxes formed starting from channel profiled members having means for pressure fitting with one another in order to conform the box, at least one of these profiles being translucent. These profiled members show internal housings for conduction leads, as well as longitudinal grooves for anchoring of screw threaded bolts for affixing several components (lamp carriers, ballasts, primers, etc.). The ends of these boxes receive respective lids formed with means for engagement and electrical con­nection with other means provided on lids of complemen­tary boxes. Terminal boxes, with no electrical connec­tions, have been provided for the terminal ends of bodies placed at the ends of the ensemble of components fitted together.
  • The set of components comprises junction-like bodies for connection and bifurcation of other boxes or bodies, the junctions being provided with an optional num­ber of adjustable couplings and connections mating with the couplings and connections of the above boxes.
  • In a preferred embodiment, the coupling means of the lids of the hollow bodies containing the lighting devices are formed with coaxial half-sleeves of different radius and protruding from their outer surfaces, which are complementary of those of an adjacent lid to form a cavity which surrounds a plurality of tubular housings wherein electric connection sockets and pins are placed, the con­nection sockets and pins of one lid being adapted for fit­ting with those of the lid of an adjacent body to be join­ed, the said electric connection sockets and pins being provided with connection tongues protruding towards the center of an opening formed on the lid, to receive the feeding electric cables.
  • It is forseen that one of the half-sleeves of the lids has mating semicircular cutouts at diametrically opposite points, so that, when the lid of a box is coupled with the lid of an adjacent one with all of the half-­sleeves coaxial, the cutouts of one lid match with those of the other lid and define openings through which remov­able locking pins are threaded to ensure the lid engage­ment.
  • To advantage the locking pins are of a tubular structure to form a passageway for supporting struts.
  • The terminal lid itself shows a protruding, closed extension having an outline similar to that of the half-sleeves of the connection and assembling lids, with opposite circular holes for engagement of a tubular lock­ing pin intended to receive a supporting strut.
  • The connection and engagement lids as well as the terminal lids have projections on their internal face in order to facilitate centering of the lid as regards the end of the box where they are fixed to, as well as holes for securing screws, the said holes being faced to hous­ings formed in the profiled members making up the box and arranged for threaded engagement of the above screws.
  • It is forseen that some lids for assembling be­tween two boxes have the sets of pins and sockets offset 90° as regards the sets of the other boxes, in order to locate said boxes in a position offset to an angle as well. The boxes may, likewise, be rotationally movable for directing the light as desired.
  • For a better understanding of this specifica­tion, the enclosed drawings show, only by way of example, one case of practical embodiment of the set of components for lighting installations.
  • In said drawings, figure 1 is a perspective view of the channeled profiled members making up the luminous boxes or container boxes for the electrical components of the equipment, the lids for assembly or engagement of the boxes and a terminal lid, in dismantled showing; figure 2 is a perspective view of one of the boxes with neither lids nor electrical components inside them; figure 3 is an elevation view of the outer face of one of the assembly and connection lids, the figure showing as well, in dotted lines, the position of one lid with the same half-sleeves and connection, though in a position which is offset 90° as regards the position shown in solid lines; figure 4 is a view in longitudinal section of two assembly and connec­tion lids shown in separated relation; figure 5 is a similar view of the two lids assembled with one another; figure 6 is a perspective view showing a mounted set of equipment components; figure 7 is an elevation view of several components in assembled condition, and figure 8 is a diagrammatic plan view of the equipment as installed ac­cording to an optical layout.
  • The equipment of assemblable components for lighting installations shown in the drawings is made up of boxes generally referred to with 1 and formed of two profiled members 2 and 3, of generally channeled shape and mutually complementary, the edges of the said members hav­ing sets of ribs and grooves 4 for their mutual pressure fitting (Fig. 2). The profiled member 3 may be translucent in the case that a luminous tube is housed therein.
  • The inside of the profiled members 2 and 3 is formed with longitudinal grooves 5 in ribs or wings 6 where the screws for securing the electrical components such as lamp carriers, ballasts, primers and other, are fastened to. The profiled members have, as well, lips 6a for housing the electrical cables.
  • A lid 7 is engaged at each end of the boxes 1 and is formed with ribs 8 for guiding their position, as well as holes 9 through which screws 10 are passed for screw threaded engagement with the ends 5a of the grooves 5, in order to secure the lids.
  • The outer face of the lids 7 has two mutually complementary, diametrically opposite half- sleeves 11 and 12 of different radius, which surround sets of mutually complementary sleeves or tubular housings 13 and 14 which receive, respectively, connection sockets 15 and pins 16 provided with tongues 17 directed towards the center of a central opening 18 of the respective lid for connection to the electric installation cables.
  • The half-sleeves 11 have pairs of semicircular. complementary and opposite cutouts 19 and 20 which mate with one another when the half-sleeves of one lid are fit­ted or assembled with those of a like lid (Fig. 5). The openings formed by the mated cutouts 19 and 20 serve to form a passageway for locking pins 21 and 22 having axial holes 23 through which supporting cables or struts 24 can be inserted. The locking pins 21,22 play the role of a linkage between two contiguous lids and ensure the still­ness of these later.
  • The equipment comprises as well terminal lids 25 having an outline which is analogous to that of the lids 7, and a small closed outer box 26 of a shape similar to that of the half- sleeves 11 and 12, and formed with open­ings 27 which are similar to the openings 19 and 20 to provide for the insertion of locking pins 21 and 22 in or­der to secure the ends of suspending struts 23.
  • It may be forseen that the half- sleeves 11 and 12 are located offset 90° as regards their usual position, for example as indicated with doted lines in figure 3, to place a box 1a in a position which is offset 90° as regards the other boxes (Fig. 6 and 7).
  • The equipment comprises as well distribution or junction bodies 28 provided with connection sleeves 29 having a shape which is complementary to that of the half-­ sleeves 11 and 12 of the assembly lids 7, and provided with electric connection sockets and pins. The connection sleeves 29 have a tail 30 shaped so that it can be remov­ably trapped in the junction body 28 and allow the body 29 to be placed in the suitable position. The body 28 can trap two or more tails 30 or respective sleeves 29, ac­cording to the needs of the installation (Fig. 8).
  • The above junction body 28 comprises means for securing a suspending strut 23, as well as for mounting a swinging spotlight 31 of a conventional shape (Fig. 6).
  • As appears from the above description and look­ing to the drawings, the equipment of assemblable com­ponents allows multiple combinations to be effected in or­ der to attain an illumination layout which is distributed in a manner suitable to the features of the site to be lighted, starting from a small series of invariable com­ponents featuring an ability for being assembled in dif­ferent ways.
  • This equipment can be completed with an ar­ticultion device joined to the profiled members so that these latter can be directed in whatever direction. It is foreseen as well a flexible articulation that can be as­sembled to the profiled members in order to place the luminous tubes in a vertical plane.

Claims (10)

1. Set of assemblable components for lighting installations, characterized in that it comprises complementary channel profiled members with means for engagement with one another to form a box-like hollow body having within it means for fastening electrical components for feeding and assembling lamps, a lid being mounted at the ends of the assembled profiled members and having outer assembly and electrical connection means for engage­ment and electrical connection with the lids of adjacent box-like hollow bodies and in respect to assembly and con­nection bodies mounted in intermediate distribution junc­tions located at desired points of the layout, the as­sembly lids, as well as the distribution junctions, having means for fastening suspension struts.
2. Set of assemblable components for lighting installations as in claim 1, characterized in that at least one of the channel profiled members forming the box-like hollow bodies is translucent.
3. Set of assemblable components for lighting installations as in claim 1, characterized in that the complementary profiled members constituting the box-like bodies, have inner grooves which the electrical components of the equipment are fastened to by means of screws, and the ends of such grooves receive in threaded engagement the lid securing screws.
4. Set of assemblable components for lighting installations as in claim 1, characterized in that at least one of the profiled members has longitudinal internal lips for housing electrical cables.
5. Set of assemblable components for lighting installations as in claim 1, characterized in that the outer faces of the lids and bodies mounted in the distribution junctions are formed with mutually complemen­tary, outwardly protruding half-sleeves surrounding two set of protruding tubular housings within which connec­tion sockets and pins are housed, the sockets and pins of one body or lid being engageable with those of another lid, and the half-sleeves being coupled with one another for assembling adjacent bodies or lids.
6. Set of assemblable components for lighting installations as in claims 1 and 5, characterized in that, according to an specific embodiment, each assem­bling lid and body related to the distribution junction has two opposite half-sleeves of different diameter and adjustable, the ends of the half-sleeves of greater diameter being provided with semicircular cutouts mating with the cutouts of the greater half-sleeve of another as­sembly lid or body when both half-sleeves engage with one another, said cutouts forming together passageways for a removable locking pin ensuring connection of the two as­sembled bodies.
7. Set of assemblable components for lighting installations as in claim 1, characterized in that the terminal lids have an outer, box-shaped protru­sion with diametrically opposite openings in which a removable locking pin, advantageously tubular, may be fitted.
8. Set of assemblable components for lighting installations as in claims 1 and 7, characterized in that the removable locking pins are of tubular con­struction.
9. Set of assemblable components for lighting installations as in claims 1, 7 and 8, charac­terized in that the tubular locking pins have means for fastening suspension struts.
10. Set of assemblable components for lighting installations as in claim 1, characterized in that some of the lids which are engageable to the ends of the profiled members have assembly and connection means offset to an angle as regards the position that such means have in the remainder of the lids.
EP87500014A 1986-04-09 1987-04-07 Lighting installation with a plurality of lighting units Expired - Lifetime EP0241402B1 (en)

Priority Applications (1)

Application Number Priority Date Filing Date Title
AT87500014T ATE85680T1 (en) 1986-04-09 1987-04-07 LIGHTING SYSTEM WITH SEVERAL LIGHTING UNITS.

Applications Claiming Priority (2)

Application Number Priority Date Filing Date Title
ES1986293470U ES293470Y (en) 1986-04-09 1986-04-09 KIT OF ASSEMBLABLE COMPONENTS FOR LIGHTING
ES293470 1986-04-09

Publications (3)

Publication Number Publication Date
EP0241402A2 true EP0241402A2 (en) 1987-10-14
EP0241402A3 EP0241402A3 (en) 1989-04-05
EP0241402B1 EP0241402B1 (en) 1993-02-10

Family

ID=8440584

Family Applications (1)

Application Number Title Priority Date Filing Date
EP87500014A Expired - Lifetime EP0241402B1 (en) 1986-04-09 1987-04-07 Lighting installation with a plurality of lighting units

Country Status (4)

Country Link
EP (1) EP0241402B1 (en)
AT (1) ATE85680T1 (en)
DE (1) DE3784089T2 (en)
ES (1) ES293470Y (en)

Cited By (3)

* Cited by examiner, † Cited by third party
Publication number Priority date Publication date Assignee Title
DE3912299A1 (en) * 1989-04-14 1990-11-29 Joerg Michael Uhl Modular mounting for fluorescent HV display tubes - has plug-in unit construction and easily substituted discharge tube suitable for signs
EP0877198A3 (en) * 1997-05-06 2000-12-20 Keller Lichtsysteme GmbH Lighting apparatus
DE10139336B4 (en) * 2001-08-10 2012-04-26 Hartmut S. Engel Modular lighting system

Family Cites Families (5)

* Cited by examiner, † Cited by third party
Publication number Priority date Publication date Assignee Title
GB561090A (en) * 1942-01-07 1944-05-04 Darwin Curtis Improvements in electric lighting fixtures
AT308239B (en) * 1970-07-08 1973-06-25 Anton Brenner Ing Luminous body
DE2556813B2 (en) * 1975-12-17 1979-12-13 Wolfgang 6204 Taunusstein Fenner Space framework
US4096379A (en) * 1976-08-24 1978-06-20 Albert Taylor Modular illumination device
DE3014241A1 (en) * 1980-04-14 1981-11-12 Trilux-Lenze Gmbh + Co Kg, 5760 Arnsberg Light-joining equipment into strips - has annular connector into which light housing end bosses hook

Cited By (3)

* Cited by examiner, † Cited by third party
Publication number Priority date Publication date Assignee Title
DE3912299A1 (en) * 1989-04-14 1990-11-29 Joerg Michael Uhl Modular mounting for fluorescent HV display tubes - has plug-in unit construction and easily substituted discharge tube suitable for signs
EP0877198A3 (en) * 1997-05-06 2000-12-20 Keller Lichtsysteme GmbH Lighting apparatus
DE10139336B4 (en) * 2001-08-10 2012-04-26 Hartmut S. Engel Modular lighting system

Also Published As

Publication number Publication date
ATE85680T1 (en) 1993-02-15
ES293470U (en) 1986-08-01
DE3784089D1 (en) 1993-03-25
EP0241402B1 (en) 1993-02-10
DE3784089T2 (en) 1993-08-05
EP0241402A3 (en) 1989-04-05
ES293470Y (en) 1987-04-16

Similar Documents

Publication Publication Date Title
US5073845A (en) Fluorescent retrofit light fixture
US7293895B2 (en) Modular lighting system and method of installation
US7401942B1 (en) Female electric connector plug apparatus for and method of attachment to flourescent tube luminaire fixture assembly
CN101160541B (en) Systems and methods for fiber optic/copper hybrid connectors
US2988633A (en) Fluorescent ceiling light fixture assembly
EP0240054A1 (en) Lamp fitting with divisible attachment ring
US20060152933A1 (en) Illumination device
AU652050B2 (en) Line illumination device and mounting member for this device
EP0241402A2 (en) Lighting installation with a plurality of lighting units
CA2089444A1 (en) Two-piece locking lamp fixture
AU2001248323B2 (en) Built-in lamp with a dome-shaped reflector
US5221138A (en) Serial light fixture
US4841418A (en) Explosion-proof fixture and method
EP0396784A1 (en) Snap-fastening system for lighting armatures for quickly fitting lamp bulbs, reflectors and luminaires
EP0469179B1 (en) Modular lighting system
EP0089713B1 (en) Lighting fitting
EP1016818A3 (en) Lamp socket of insulating material for H7 lamps
US6413107B1 (en) Lamp
US3465282A (en) Light fitting
US3018363A (en) Lighting fixture
US20050277321A1 (en) Adapter apparatus for fluorescent lamp fixtures
GB2064089A (en) Improvements in or relating to lighting apparatus
EP0614042A1 (en) Segment for a line illumination device and device provided therewith
US2737635A (en) Fluorescent lamp socket mounting
DE69513075D1 (en) Luminaire for a fluorescent tube

Legal Events

Date Code Title Description
PUAI Public reference made under article 153(3) epc to a published international application that has entered the european phase

Free format text: ORIGINAL CODE: 0009012

AK Designated contracting states

Kind code of ref document: A2

Designated state(s): AT BE CH DE FR GB GR IT LI LU NL SE

PUAL Search report despatched

Free format text: ORIGINAL CODE: 0009013

AK Designated contracting states

Kind code of ref document: A3

Designated state(s): AT BE CH DE FR GB GR IT LI LU NL SE

17P Request for examination filed

Effective date: 19891006

17Q First examination report despatched

Effective date: 19910822

RTI1 Title (correction)
GRAA (expected) grant

Free format text: ORIGINAL CODE: 0009210

AK Designated contracting states

Kind code of ref document: B1

Designated state(s): AT BE CH DE FR GB GR IT LI LU NL SE

REF Corresponds to:

Ref document number: 85680

Country of ref document: AT

Date of ref document: 19930215

Kind code of ref document: T

REF Corresponds to:

Ref document number: 3784089

Country of ref document: DE

Date of ref document: 19930325

PGFP Annual fee paid to national office [announced via postgrant information from national office to epo]

Ref country code: SE

Payment date: 19930413

Year of fee payment: 7

PGFP Annual fee paid to national office [announced via postgrant information from national office to epo]

Ref country code: DE

Payment date: 19930419

Year of fee payment: 7

Ref country code: AT

Payment date: 19930419

Year of fee payment: 7

PGFP Annual fee paid to national office [announced via postgrant information from national office to epo]

Ref country code: LU

Payment date: 19930421

Year of fee payment: 7

PGFP Annual fee paid to national office [announced via postgrant information from national office to epo]

Ref country code: FR

Payment date: 19930429

Year of fee payment: 7

PGFP Annual fee paid to national office [announced via postgrant information from national office to epo]

Ref country code: NL

Payment date: 19930430

Year of fee payment: 7

Ref country code: GB

Payment date: 19930430

Year of fee payment: 7

ITF It: translation for a ep patent filed
PGFP Annual fee paid to national office [announced via postgrant information from national office to epo]

Ref country code: BE

Payment date: 19930504

Year of fee payment: 7

PGFP Annual fee paid to national office [announced via postgrant information from national office to epo]

Ref country code: GR

Payment date: 19930510

Year of fee payment: 7

PGFP Annual fee paid to national office [announced via postgrant information from national office to epo]

Ref country code: CH

Payment date: 19930527

Year of fee payment: 7

ET Fr: translation filed
REG Reference to a national code

Ref country code: GR

Ref legal event code: FG4A

Free format text: 3007786

EPTA Lu: last paid annual fee
PLBE No opposition filed within time limit

Free format text: ORIGINAL CODE: 0009261

STAA Information on the status of an ep patent application or granted ep patent

Free format text: STATUS: NO OPPOSITION FILED WITHIN TIME LIMIT

26N No opposition filed
PG25 Lapsed in a contracting state [announced via postgrant information from national office to epo]

Ref country code: LU

Free format text: LAPSE BECAUSE OF NON-PAYMENT OF DUE FEES

Effective date: 19940407

Ref country code: GB

Effective date: 19940407

Ref country code: AT

Effective date: 19940407

PG25 Lapsed in a contracting state [announced via postgrant information from national office to epo]

Ref country code: SE

Effective date: 19940408

PG25 Lapsed in a contracting state [announced via postgrant information from national office to epo]

Ref country code: LI

Effective date: 19940430

Ref country code: CH

Effective date: 19940430

Ref country code: BE

Effective date: 19940430

BERE Be: lapsed

Owner name: S.A. J. FELIU DE LA PENA

Effective date: 19940430

PG25 Lapsed in a contracting state [announced via postgrant information from national office to epo]

Ref country code: GR

Free format text: THE PATENT HAS BEEN ANNULLED BY A DECISION OF A NATIONAL AUTHORITY

Effective date: 19941031

PG25 Lapsed in a contracting state [announced via postgrant information from national office to epo]

Ref country code: NL

Effective date: 19941101

GBPC Gb: european patent ceased through non-payment of renewal fee

Effective date: 19940407

NLV4 Nl: lapsed or anulled due to non-payment of the annual fee
PG25 Lapsed in a contracting state [announced via postgrant information from national office to epo]

Ref country code: FR

Effective date: 19941229

REG Reference to a national code

Ref country code: CH

Ref legal event code: PL

PG25 Lapsed in a contracting state [announced via postgrant information from national office to epo]

Ref country code: DE

Effective date: 19950103

EUG Se: european patent has lapsed

Ref document number: 87500014.3

Effective date: 19941110

REG Reference to a national code

Ref country code: FR

Ref legal event code: ST

REG Reference to a national code

Ref country code: GR

Ref legal event code: MM2A

Free format text: 3007786

PG25 Lapsed in a contracting state [announced via postgrant information from national office to epo]

Ref country code: IT

Free format text: LAPSE BECAUSE OF NON-PAYMENT OF DUE FEES;WARNING: LAPSES OF ITALIAN PATENTS WITH EFFECTIVE DATE BEFORE 2007 MAY HAVE OCCURRED AT ANY TIME BEFORE 2007. THE CORRECT EFFECTIVE DATE MAY BE DIFFERENT FROM THE ONE RECORDED.

Effective date: 20050407