EP0205802A2 - Inking roll for a printing press - Google Patents
Inking roll for a printing press Download PDFInfo
- Publication number
- EP0205802A2 EP0205802A2 EP86105405A EP86105405A EP0205802A2 EP 0205802 A2 EP0205802 A2 EP 0205802A2 EP 86105405 A EP86105405 A EP 86105405A EP 86105405 A EP86105405 A EP 86105405A EP 0205802 A2 EP0205802 A2 EP 0205802A2
- Authority
- EP
- European Patent Office
- Prior art keywords
- roller
- inking
- tube
- inking roller
- channels
- Prior art date
- Legal status (The legal status is an assumption and is not a legal conclusion. Google has not performed a legal analysis and makes no representation as to the accuracy of the status listed.)
- Granted
Links
Images
Classifications
-
- B—PERFORMING OPERATIONS; TRANSPORTING
- B41—PRINTING; LINING MACHINES; TYPEWRITERS; STAMPS
- B41F—PRINTING MACHINES OR PRESSES
- B41F31/00—Inking arrangements or devices
- B41F31/002—Heating or cooling of ink or ink rollers
Definitions
- the invention relates to an inking roller for printing machines, in particular offset printing machines, the interior of which is flowed through by temperature control means, which can be fed in and out at an end face of the inking roller, free cross sections being arranged in the interior of the inking roller, through which the temperature control means flows in countercurrent.
- DE-OS 2 658 380 discloses a tempered ink roller in which at least one displacement body is arranged in the interior of the ink roller.
- the still free cross-section of the inking roller is divided into two concentric ring gaps by a jacket-like partition wall with good thermal conductivity. These are flowed through by countercurrent tempering agents at a high flow rate.
- the task is to design an ink roller in such a way that the color temperatures also largely. Interruptions in operation of the printing press remain constant and a temperature difference of the ink film over the length of the roller is kept as small as possible.
- the object of the invention is to obtain a uniform temperature distribution over the entire surface of the inking roller and, with an optimal coefficient of thermal conductivity, to enable rapid regulation to achieve the desired operating temperature and to keep it constant.
- the inking roller is formed from a ribbed Al roller tube supported on both sides. That the cross sections are formed from a plurality of channels arranged in the tube wall of the Al roller tube, that the channels on the opposite end of the supply and discharge of the temperature control means are connected to one another in pairs via a recess, in such a way that the flow and return are arranged alternately next to one another.
- the inking roller is made of a ribbed aluminum roller tube that is held on both sides.
- the roller tube is an extruded profile and consists of only one part.
- the AI roller tube is supported on both ends by roller holders in the printing press.
- the aluminum material has a significantly lower coefficient of thermal conductivity and a significantly better corrosion behavior. This increases the service life of the ink roller by a considerable amount of time.
- Another advantage is the reduction in weight of the inking roller, since the inking rollers of conventional design can have a considerable weight in large printing machines.
- the above-mentioned coefficient of thermal conductivity is still important in order to quickly reach the operating temperature during the warm-up phase. This means that the warm-up phase of the printing press is minimized.
- the coefficient of thermal conductivity also has a positive effect on maintaining a certain operating temperature, because the control responds optimally quickly.
- the uniform temperature distribution on the surface of the ink roller makes the print image uniform across its entire width.
- the channels cover the side areas of the inking roller, so that these areas, which were previously inaccessible, also lead to a homogenization of the printed image, especially in its edge areas.
- the channels lie in one plane in the tube wall of the Al roller tube and are therefore always at the same distances from the surface of the ink roller; this is an additional contribution to the temperature equalization mentioned above.
- the cross sections are formed from a plurality of channels arranged in the tube wall of the Al roller tube.
- This shape shows, due to the ribbing between the channels and the hollow middle part, seen in the axial direction, a great flexural rigidity of the inking roller.
- This special shape is chosen to keep the manufacturing costs particularly low because of this shape. can be produced particularly easily by the continuous casting press method.
- the channels are connected in pairs on the opposite end of the supply and discharge of the temperature control means via a recess such that the alternating flow and return are arranged side by side. Since a return of the tempering agent is arranged between two inlets, the temperature of the inking roller is optimally evened out over its entire surface.
- a significant simplification of assembly is that cylindrical recesses are arranged on the end faces of the Al roller tube, in which roller holders are fitted and screwed. Due to its simple shape, the inking roller is much cheaper to produce than the known inking rollers, in which a considerable number of welds are unavoidable due to their design. When installing, only the roller brackets on both sides of the Al roller tube are to be inserted and screwed together. In the case of repairs, there is an additional simplification of assembly by slightly loosening the lateral roller holders and thereby uncomplicated removal of the AI roller tube.
- At least one ring seal is arranged between the roller mounts and the Al roller tube in the axially parallel fitting surface.
- the ink roller is sealed with the simplest of means due to the special mating surface and the ring seal.
- the channels for the supply and return of the temperature control medium are of the same size and kidney-shaped.
- the size of the kidney shape is chosen so that the temperature control medium flowing through is optimally mixed due to the speed of the inking roller, which leads to a particularly favorable heat transfer between the temperature control medium and the adjacent walls of the channel.
- the shape of the channels reduces the throughput cross-section compared to conventional known designs, which leads to an increased flow rate of the temperature control means that is the same in the forward and return flow.
- the channels here the supply and return lines in the tube wall of the aluminum roller tube, are connected particularly simply through star-shaped bores within the roller holders running radially from the center of the axis to the supply and discharge of the temperature control medium.
- These star-shaped feeders are located on two levels within the roller holder.
- the inlets are e.g. four pieces; accordingly, four processes.
- the number of feeds can be chosen differently.
- the Al roller tube is particularly easy to screw and fasten to the evenly distributed screws after inserting the roller holders.
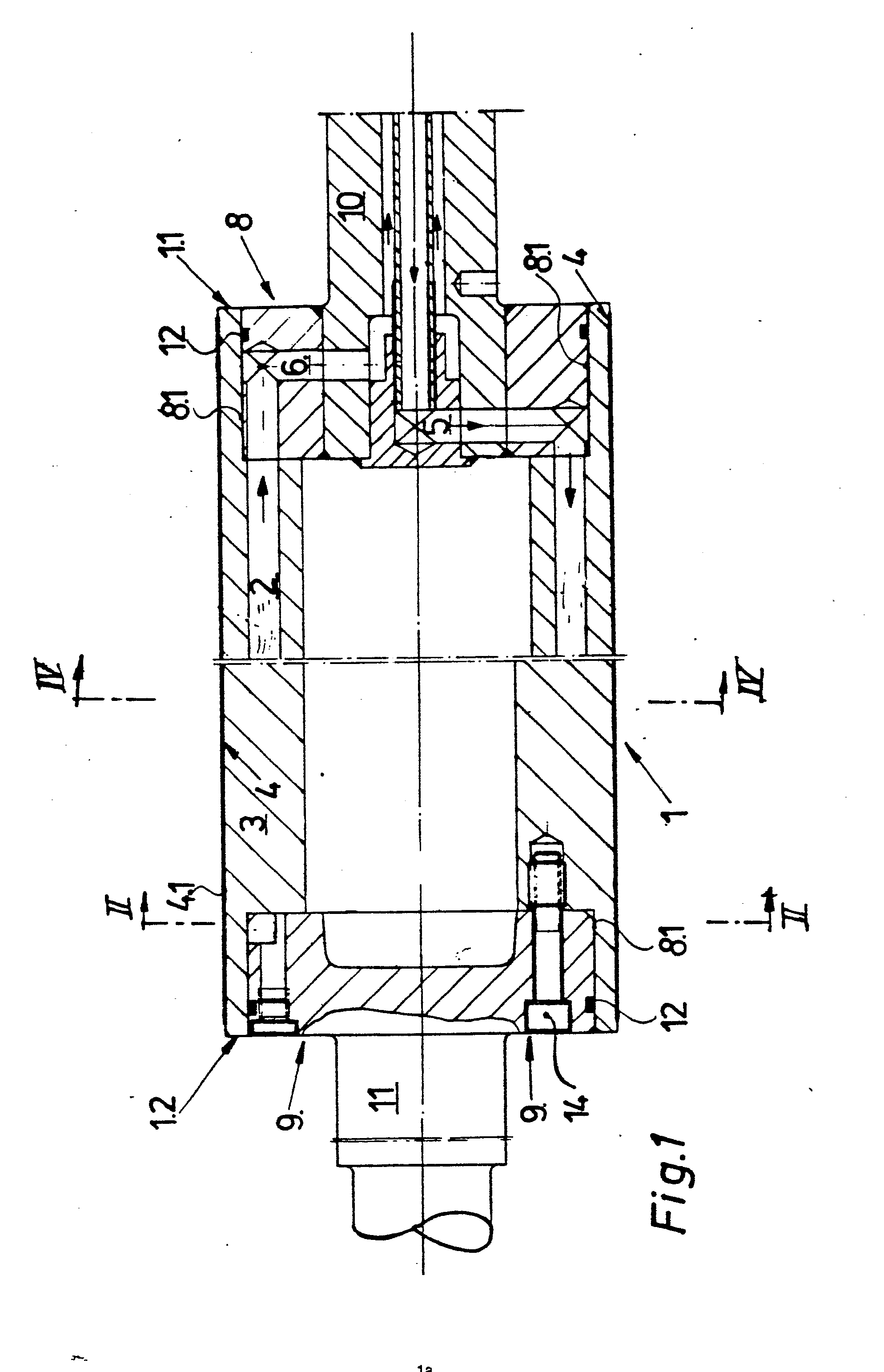
- FIG. 1 an ink roller 1 of a printing machine, not shown, is shown.
- the inking roller 1 has channels 2 in an Al roller tube 3.
- the section through the inking roller 1 is divided in the middle to illustrate the different wall thickness of the Al roller tube 3, and their lateral brackets.
- An elevator 4.1 is arranged on the aluminum roller tube 3 on a surface 4.
- the channels 2 have connections to a supply 5 and return 6 on one end of the inking roller 1.
- recesses 7 are provided, each of which connects two channels 2 to be assigned to the flow 5 and the return 6.
- the rigid hollow shape of the Al roller tube 3 can be seen.
- the above-mentioned weight reduction due to the shape and the choice of material aluminum is also clearly recognizable in the inking roller 1 due to the shape.
- Ribs 13 are formed between the channels 2.
- the ribs 13 lead to the optimum bending stiffness of the inking roller 1.
- the channels 2 are alternately provided as forward 5 and return 6 for the temperature control medium.
- the change between supply and return 6 leads to the temperature on the surface 4 of the inking roller 1 being made more uniform.
- four screws 14 can be seen which fix the roller holders 10, 11 to the Al roller tube 3.
Landscapes
- Inking, Control Or Cleaning Of Printing Machines (AREA)
Abstract
Die' Erfindung betrifft eine Farbwalze (1) für Druckmaschinen, insbesondere Offsetdruckmaschinen, deren Inneres von Temperiermittel durchflossen ist, wobei die Farbwalze (1) aus einem beidseitig gehalterten verrippten Al-Walzenrohr (3) gebildet ist. Die Querschnitte aus mehreren in der Rohrwandung des Al-Walzenrohres (3) angeordneten Kanälen (2) führen zu einer optimal gleichmäßigen Oberflächentemperatur der Farbwalze (1). Die Kanäle (2) weisen auf einer Seite der Farbwalze (1) Ausnehmungen (7) auf, so daß Vor-(5) und Rücklauf (6) innerhalb des AI-Walzenrohres (3) altemierend abwechseln. Die vorliegende Erfindung ist auf Grund der besonders einfachen Fertigung und Montage sehr kostengünstig. The invention relates to an inking roller (1) for printing machines, in particular offset printing machines, the interior of which is flowed through by temperature control means, the inking roller (1) being formed from a ribbed aluminum roller tube (3) held on both sides. The cross sections of several channels (2) arranged in the tube wall of the Al roller tube (3) lead to an optimally uniform surface temperature of the ink roller (1). The channels (2) have recesses (7) on one side of the inking roller (1), so that the forward (5) and return (6) alternate alternately within the Al roller tube (3). The present invention is very inexpensive due to the particularly simple manufacture and assembly.
Description
Die Erfindung betrifft eine Farbwalze für Druckmaschinen, insbesondere Offsetdruckmaschinen, deren Inneres von Temperiermittel durchflossen ist, das an einer Stirnseite der Farbwalze zu-und abführbar ist, wobei im Inneren der Farbwalze freie Querschnitte angeordnet sind, die vom Temperiermittel im Gegenstrom durchflossen sind.The invention relates to an inking roller for printing machines, in particular offset printing machines, the interior of which is flowed through by temperature control means, which can be fed in and out at an end face of the inking roller, free cross sections being arranged in the interior of the inking roller, through which the temperature control means flows in countercurrent.
Ein Temperieren von Farbwalzen in Farbwerken von Druckmaschinen ist auf die unterschiedlichste Art und Weise bekannt geworden. In der DE-OS 2 658 380 ist eine temperierte Farbwalze bekannt geworden, bei der im Inneren der Farbwalze mindestens ein Verdrängungskörper angeordnet ist. Der noch freie Querschnitt der Farbwalze ist durch eine mantelartige Trennwand guter Wärmeleiteigenschaft in zwei konzentrische Ringspalte unterteilt. Diese werden von Temperierungsmittel im Gegenstrom mit hoher Durchflußgeschwindigkeit durchflossen. Die Aufgabe besteht darin, eine Farbwalze so auszubilden, daß die Farbtemperaturen weitestgehend auch bei. Betriebsunterbrechungen der Druckmaschine konstant bleiben und ein Temperaturunterschied des Farbfilms über die Walzenlänge möglichst gering gehalten wird.Temperature control of inking rollers in inking units of printing presses has become known in a wide variety of ways. DE-OS 2 658 380 discloses a tempered ink roller in which at least one displacement body is arranged in the interior of the ink roller. The still free cross-section of the inking roller is divided into two concentric ring gaps by a jacket-like partition wall with good thermal conductivity. These are flowed through by countercurrent tempering agents at a high flow rate. The task is to design an ink roller in such a way that the color temperatures also largely. Interruptions in operation of the printing press remain constant and a temperature difference of the ink film over the length of the roller is kept as small as possible.
Eine andere Lösungsmöglichkeit der Vergleichmäßigung der Temperatur wird in der US-PS 2 555 410 versucht zu erreichen. Hier strömt das Temperierungsmittel während des Durchflusses radial aus einem Verteilerrohr in einen sich bildenden Gegenstrom. In dieser Ausführung ist das Verteilerrohr in der Achsmitte der Farbwalze angeordnet. Das Verteilerrohr weist über die Länge gesehen gleichmäßig verteilte Bohrungen auf, aus denen ein völlig unregelmäßig austretender Temperiermittelstrom in den Hauptteil der Hohlwalze austreten kann.Another solution to equalizing the temperature is attempted in US Pat. No. 2,555,410. Here, the temperature control medium flows radially from a distributor pipe into a countercurrent that forms during the flow. In this version, the distributor pipe is arranged in the middle of the axis of the inking roller. The distributor tube has holes distributed uniformly over the length, from which a completely irregular tempering medium stream can emerge into the main part of the hollow roller.
Auch mit dieser Lösungsmöglichkeit ist aber eine konstante Temperatur über die Walzenlänge nicht erreichbar.Even with this solution, a constant temperature over the length of the roll cannot be achieved.
Ausgehend von diesem Stand der Technik liegt der Erfindung die Aufgabe zugrunde, über die gesamte Oberfläche der Farbwalze eine gleichmäßige Temperaturverteilung zu erhalten und bei einer optimalen Wärmeleitzahl eine schnelle Regelung zum Erreichen der gewünschten Betriebstemperatur und deren Konstanthalten zu ermöglichen.Proceeding from this prior art, the object of the invention is to obtain a uniform temperature distribution over the entire surface of the inking roller and, with an optimal coefficient of thermal conductivity, to enable rapid regulation to achieve the desired operating temperature and to keep it constant.
Die Lösung der gestellten Aufgabe wird bei einer Farbwalze der eingangs genannten Art dadurch erreicht, daß die Farbwalze aus einem beidseitig gehalterten, verrippten AI-Walzenrohr gebildet ist. Daß die Querschnitte aus mehreren in der Rohrwandung des AI-Walzenrohres angeordneten Kanäle gebildet sind, daß die Kanäle auf der gegenüberliegenden Stirnseite der Zu-und Abführung des Temperiermittels paarweise über eine Ausnehmung miteinander verbunden sind, derart, daß alternierend Vorlauf und Rücklauf nebeneinander angeordnet sind.The solution of the problem is achieved with an inking roller of the type mentioned in that the inking roller is formed from a ribbed Al roller tube supported on both sides. That the cross sections are formed from a plurality of channels arranged in the tube wall of the Al roller tube, that the channels on the opposite end of the supply and discharge of the temperature control means are connected to one another in pairs via a recess, in such a way that the flow and return are arranged alternately next to one another.
Die Farbwalze ist aus einem beidseitig gehalterten, verrippten AI-Walzenrohr gebildet. Das Walzenrohr ist in besonders einfacher Weise hier ein Strangguß-Preßprofil und besteht nur aus einem Teil. Das AI-Walzenrohr ist an seinen beiden Stirnseiten über Walzenhalterungen in der Druckmaschine gelagert. Der Aluminiumwerkstoff hat gegenüber den an sich bekannten herkömmlichen Werkstoffen für Farbwalzen eine wesentlich günstigere Wärmeleitzahl und ein wesentlich besseres Korrosionsverhalten. Die Standzeit der Farbwalze erhöht sich dadurch um einen beträchtlichen Zeitraum. Ein weiterer Vorteil liegt in der Gewichtsreduzierung der Farbwalze, da bei großen Druckmaschinen die Farbwalzen herkömmlicher Bauart ein beträchtliches Gewicht aufweisen können.The inking roller is made of a ribbed aluminum roller tube that is held on both sides. In a particularly simple manner, the roller tube is an extruded profile and consists of only one part. The AI roller tube is supported on both ends by roller holders in the printing press. Compared to the conventional materials for inking rollers known per se, the aluminum material has a significantly lower coefficient of thermal conductivity and a significantly better corrosion behavior. This increases the service life of the ink roller by a considerable amount of time. Another advantage is the reduction in weight of the inking roller, since the inking rollers of conventional design can have a considerable weight in large printing machines.
Die oben genannte Wärmeleitzahl ist weiterhin wichtig, um schnell die Betriebstemperatur während der Aufwärmphase zu erreichen. D.h., die Aufwärmphase der Druckmaschine ist minimiert.The above-mentioned coefficient of thermal conductivity is still important in order to quickly reach the operating temperature during the warm-up phase. This means that the warm-up phase of the printing press is minimized.
Die Wärmeleitzahl wirkt sich ebenfalls positiv auf das Halten einer bestimmten Betriebstemperatur aus, denn die Regelung spricht optimal schnell an.The coefficient of thermal conductivity also has a positive effect on maintaining a certain operating temperature, because the control responds optimally quickly.
Durch die gleichmäßige Temperaturverteilung an der Oberfläche der Farbwalze wird das Druckbild über seine gesamte Breite einheitlich. Die Kanäle überdecken die Seitenbereiche der Farbwalze, so daß diese früher nicht erreichbaren Bereiche ebenfalls zu einer Vergleichmäßigung des Druckbildes gerade in seinen Randbereichen führt. Die Kanäle liegen in einer Ebene in der Rohrwandung des AI-Walzenrohres und weisen damit immer die gleichen Abstände zur Oberfläche der Farbwalze auf; dies ist ein zusätzlicher Beitrag zu der oben genannten Temperaturvergleichmäßigung.The uniform temperature distribution on the surface of the ink roller makes the print image uniform across its entire width. The channels cover the side areas of the inking roller, so that these areas, which were previously inaccessible, also lead to a homogenization of the printed image, especially in its edge areas. The channels lie in one plane in the tube wall of the Al roller tube and are therefore always at the same distances from the surface of the ink roller; this is an additional contribution to the temperature equalization mentioned above.
Die Querschnitte sind aus mehreren in der Rohrwandung des AI-Walzenrohres angeordneten Kanälen gebildet. Diese Formgebung zeigt, durch die in Achsrichtung gesehene Verrippung zwischen den Kanälen und dem hohlen Mittelteil, eine große Biegesteifigkeit der Farbwalze auf. Diese spezielle Formgebung ist so gewählt, um die Herstellungskosten besonders niedrig zu halten, da diese Form. sich besonders einfach durch das Strangguß-Preßverfahren herstellen läßt.The cross sections are formed from a plurality of channels arranged in the tube wall of the Al roller tube. This shape shows, due to the ribbing between the channels and the hollow middle part, seen in the axial direction, a great flexural rigidity of the inking roller. This special shape is chosen to keep the manufacturing costs particularly low because of this shape. can be produced particularly easily by the continuous casting press method.
Die Kanäle sind auf der gegenüberliegenden Stirnseite der Zu-und Abführung des Temperiermittels paarweise über eine Ausnehmung miteinander verbunden, derart, daß altemierend Vorlauf und Rücklauf nebeneinander angeordnet sind. Da zwischen zwei Zuläufen jeweils ein Rücklauf des Temperierungsmittels angeordnet ist, vergleichmäßigt sich die Temperatur der Farbwalze über ihre gesamte Oberfläche optimal.The channels are connected in pairs on the opposite end of the supply and discharge of the temperature control means via a recess such that the alternating flow and return are arranged side by side. Since a return of the tempering agent is arranged between two inlets, the temperature of the inking roller is optimally evened out over its entire surface.
Eine wesentliche Montageerleichterung besteht darin, daß an den Stirnseiten des AI-Walzenrohres zylindrische Ausnehmungen angeordnet sind, in denen Walzenhalterungen eingepaßt und verschraubt sind. Die Farbwalze ist auf Grund ihrer einfachen Formgebung wesentlich kostengünstiger in ihrer Herstellung als die bekannten Farbwalzen, bei denen auf Grund ihrer Bauform eine erhebliche Anzahl von Schweißnähten unumgänglich sind. Bei der Montage sind lediglich die Walzenhalterungen auf beiden Seiten des Al-Walzenrohres einzusetzen und zu verschrauben. Bei Reparaturen ergibt sich eine zusätzliche Montagevereinfachung durch leichtes lösen der seitlichen Walzenhalterungen und dadurch unkomplizierte Entnahme des AI-Walzenrohres.A significant simplification of assembly is that cylindrical recesses are arranged on the end faces of the Al roller tube, in which roller holders are fitted and screwed. Due to its simple shape, the inking roller is much cheaper to produce than the known inking rollers, in which a considerable number of welds are unavoidable due to their design. When installing, only the roller brackets on both sides of the Al roller tube are to be inserted and screwed together. In the case of repairs, there is an additional simplification of assembly by slightly loosening the lateral roller holders and thereby uncomplicated removal of the AI roller tube.
In besonders einfacher Weise ist zwischen den Walzenhalterungen und dem AI-Walzenrohr in der achsparallelen Paßfläche mindestens eine Ringdichtung angeordnet. Damit ist die Farbwalze auf Grund der speziellen Paßfläche und der Ringdichtung mit einfachsten Mitteln abgedichtet.In a particularly simple manner, at least one ring seal is arranged between the roller mounts and the Al roller tube in the axially parallel fitting surface. The ink roller is sealed with the simplest of means due to the special mating surface and the ring seal.
Die Kanäle für Vor-und Rücklauf des Temperiermittels sind gleich groß und nierenförmig. Die Nierenform ist in ihrer Größe dabei so gewählt, daß das durchströmende Temperiermittel auf Grund der Drehzahl der Farbwalze optimal durchmischt wird, was zu einem besonders günstigen Wärmeübergang zwischen dem Temperiermittel und den anliegenden Wänden des Kanales führt. Die Formgebung der Kanäle reduziert den Durchsatzquerschnitt gegenüber herkömmlichen bekannten Ausführungen, was zu einer erhöhten im Vor-und Rücklauf gleich großen Strömungsgeschwindigkeit des Temperiermittels führt.The channels for the supply and return of the temperature control medium are of the same size and kidney-shaped. The size of the kidney shape is chosen so that the temperature control medium flowing through is optimally mixed due to the speed of the inking roller, which leads to a particularly favorable heat transfer between the temperature control medium and the adjacent walls of the channel. The shape of the channels reduces the throughput cross-section compared to conventional known designs, which leads to an increased flow rate of the temperature control means that is the same in the forward and return flow.
Die Kanäle, hier die Vor-und Rückläufe in der Rohrwandung des Al-Walzenrohres, werden besonders einfach durch sternförmige, radial aus der Achsmitte verlaufende Bohrungen innerhalb der Walzenhalterungen mit der Zuführung und Abführung des Temperiermittels verbunden. Diese sternförmigen Zuführungen liegen in zwei Ebenen innerhalb der Walzenhalterung. Die Zuläufe sind in diesem speziellen vorliegenden Fall z.B. vier Stück; dementsprechend auch vier Abläufe. Je nach Ausführungsform der Farbwalze kann aber die Zahl der Zuführungen anders gewählt werden.The channels, here the supply and return lines in the tube wall of the aluminum roller tube, are connected particularly simply through star-shaped bores within the roller holders running radially from the center of the axis to the supply and discharge of the temperature control medium. These star-shaped feeders are located on two levels within the roller holder. In this particular case, the inlets are e.g. four pieces; accordingly, four processes. Depending on the embodiment of the ink roller, the number of feeds can be chosen differently.
Das Al-Walzenrohr ist besonders einfach mit vier gleichmäßig verteilten Schrauben, nach dem Einsetzen der Walzenhalterungen, an diesen verschraubt und damit montiert.The Al roller tube is particularly easy to screw and fasten to the evenly distributed screws after inserting the roller holders.
Weitere Vorteile und wesentliche Merkmale der Erfindung gehen aus der nachfolgenden Beschreibung in Verbindung mit den gezeigten Ausführungsbeispielen hervor.Further advantages and essential features of the invention emerge from the following description in connection with the exemplary embodiments shown.
Es zeigt: Fig. 1 einen Längsschnitt durch die Farbwalze in der Ebene 1,-1, bzw. I2-I2 gemäß Fig. 2,
- Fig. 2 einen Querschnitt durch die Farbwalze längs der Linie 11-11 in Fig. 1,
- Fig. 3 einen Schnitt längs der Linie III-III in Fig. 2 und
- Fig. 4 einen Querschnitt der Farbwalze gemäß Linie IV-IV in Fig. 1.
- 2 shows a cross section through the inking roller along the line 11-11 in FIG. 1,
- Fig. 3 is a section along the line III-III in Fig. 2 and
- 4 shows a cross section of the inking roller according to line IV-IV in FIG. 1.
In der Fig. 1 ist eine Farbwalze 1 einer nicht näher gezeigten Druckmaschine dargestellt. Die Farbwalze 1 weist Kanäle 2 in einem AI-Walzenrohr 3 auf. Der Schnitt durch die Farbwalze 1 ist mittig geteilt zur Verdeutlichung der unterschiedlichen Wandstärke des Al-Walzenrohres 3, und deren seitlichen Halterungen. Auf dem Al-Walzenrohr 3 ist an einer Oberfläche 4 ein Aufzug 4.1 angeordnet. Die Kanäle 2 weisen an einer Stirnseite der Farbwalze 1 Verbindungen zu einem Vorlauf 5 und Rücklauf 6 auf. An der gegenüberliegenden Seite der Zuführung eines Temperiermittels sind Ausnehmungen 7 vorgesehen, die jeweils zwei dem Vorlauf 5 und dem Rücklauf 6 zuzuordnende Kanäle 2 miteinander verbinden. An den Stirnseiten 1.1, 1.2 der Farbwalze 1 sind weitere zylindrische Ausnehmungen 8, 9 angeordnet, in die jeweils Walzenhalterungen 10, 11 mit einer Paßfläche 8.1 eingesetzt werden können. In der Paßfläche 8.1 ist eine Ringdichtung 12 angeordnet. Die beiden Walzenhalterungen 10, 11 werden mittels Schrauben 14 am AI-Walzenrohr 3 verschraubt.In Fig. 1, an
In der Fig. 4 ist die biegesteife Hohlform des Al-Walzenrohres 3 erkennbar. Die oben genannte Gewichtsreduzierung auf Grund der Formgebung und der Materialwahl Aluminium ist ebenfalls in der Farbwalze 1 auf Grund der Formgebung deutlich erkennbar.4, the rigid hollow shape of the
Zwischen den Kanälen 2 sind Verrippungen 13 ausgebildet. Die Verrippungen 13 führen zu der optimalen Biegesteifigkeit der Farbwalze 1. Alternierend sind die Kanäle 2 als Vor-5 und Rücklauf 6 für das Temperiermittel vorgesehen. Der Wechsel zwischen Vor-und Rücklauf 6 führt zu der Vergleichmäßigung der Temperatur an der Oberfläche 4 der Farbwalze 1. In der Rohrwandung der Farbwalze 1 sind vier Schrauben 14 erkennbar, die die Walzenhalterungen 10, 11 am AI-Walzenrohr 3 befestigen.
- 1 Farbwalze1 ink roller
- 1.1 Stirnseite1.1 end face
- 1.2 "1.2 "
- 2 Kanäle2 channels
- 3 AI-Walzenrohr3 AI roller tube
- 4 Oberfläche4 surface
- 4.1 Aufzug4.1 elevator
- 5 Vorlauf5 lead
- 6 Rücklauf6 return
- 7 Ausnehmung7 recess
- 8 weitere Ausnehmungen8 further recesses
- 8.1 Paßfläche8.1 Fit surface
- 9 weitere Ausnehmungen9 further recesses
- 10 Walzenhalterungen10 roller mounts
- 11 "11 "
- 12 Ringdichtung12 ring seal
- 13 Verrippungen13 ribs
- 14 Schrauben14 screws
Claims (8)
daß die Farbwalze (1) aus einem beidseitig gehalterten, AL-Walzenrohr (3) gebildet ist, dessen Querschnitt mehrere nahe der Rohrwandung angeordnete Kanäle (2) aufweist, daß die Kanäle (2) auf der der Temperiermittelzu-und -abführung gegenüberliegenden Stirnseite (1.2) paarweise über eine Ausnehmung (7) miteinander verbunden sind, derart, daß abwechselnd Vorlauf (5) und Rücklauf - (6) nebeneinander angeordnet sind.1.) inking roller for printing machines, in particular offset printing machines, the interior of which is flowed through by temperature control means, which can be fed in and out at one end of the inking roller, free cross sections being arranged in the interior of the inking roller, through which the temperature control means flow in countercurrent, characterized in that
that the inking roller (1) is formed from an AL roller tube (3) held on both sides, the cross section of which has a plurality of channels (2) arranged near the tube wall, 1.2) are connected to one another in pairs by way of a recess (7), in such a way that the forward flow (5) and return flow (6) are arranged side by side.
dadurch gekennzeichnet,
daß an den Stirnseiten (1.1, 1.2) des Al-Walzenrohres (3) zylindrische Ausnehmungen (8, 9) angeordnet sind, in denen Walzenhalterungen (10, 11) eingepaßt und verschraubt sind.2.) ink roller according to claim 1,
characterized,
that cylindrical recesses (8, 9) are arranged on the end faces (1.1, 1.2) of the Al roller tube (3), in which roller holders (10, 11) are fitted and screwed.
dadurch gekennzeichnet,
daß zwischen den Walzenhalterungen (10, 11) und dem AI-Walzenrohr (3) in der achsparallelen Paßfläche (8.1) mindestens eine Ringdichtung (12) angeordnet ist.3.) inking roller according to claim 1 and 2,
characterized,
that at least one ring seal (12) is arranged between the roller mounts (10, 11) and the Al roller tube (3) in the axially parallel fitting surface (8.1).
dadurch gekennzeichnet,
daß zwischen den Kanälen (2) stegartige Verrippungen (13) im AI-Walzenrohr (3) angeordnet sind.4.) inking roller according to claim 1 to 3,
characterized,
that web-like ribs (13) are arranged in the Al roller tube (3) between the channels (2).
dadurch gekennzeichnet,
daß die Farbwalze (1) mit den Verrippungen (13) mit den Hohlformen des AI-Walzenrohres (3) biegesteif ist.5.) inking roller according to claim 1 to 4,
characterized,
that the inking roller (1) with the ribs (13) with the hollow shapes of the Al roller tube (3) is rigid.
dadurch gekennzeichnet,
daß die Kanäle (2) für Vorlauf (5) und Rücklauf (6) des Temperiermittels gleich groß und nierenförmig sind und damit die Temperatur an der Oberfläche (4) gleich groß ist.6.) inking roller according to at least one of the preceding claims,
characterized,
that the channels (2) for flow (5) and return (6) of the temperature control are of the same size and kidney-shaped and thus the temperature on the surface (4) is the same.
dadurch gekennzeichnet,
daß das AI-Walzenrohr (3) mit vier gleichmäßig am Umfang verteilten Schrauben (14) an dem Walzenhalterungen (10, 11) verschraubt ist.7.) inking roller according to at least one of the preceding claims,
characterized,
that the AI roller tube (3) with four evenly distributed on the circumference screws (14) on the roller holders (10, 11) is screwed.
dadurch gekennzeichnet,
daß Vorlauf (5) und Rücklauf (6) der Kanäle (2) sternförmig radial aus der Achsmitte verlaufende Bohrungen innerhalb der Walzenhalterung (10) sind.8.) inking roller according to at least one of the preceding claims,
characterized,
that the feed (5) and return (6) of the channels (2) are star-shaped bores running radially from the center of the axis within the roller holder (10).
Priority Applications (1)
| Application Number | Priority Date | Filing Date | Title |
|---|---|---|---|
| AT86105405T ATE42503T1 (en) | 1985-06-14 | 1986-04-18 | INK ROLLER FOR PRINTING MACHINES. |
Applications Claiming Priority (2)
| Application Number | Priority Date | Filing Date | Title |
|---|---|---|---|
| DE3521424 | 1985-06-14 | ||
| DE3521424A DE3521424C1 (en) | 1985-06-14 | 1985-06-14 | Ink roller for printing machines |
Publications (3)
| Publication Number | Publication Date |
|---|---|
| EP0205802A2 true EP0205802A2 (en) | 1986-12-30 |
| EP0205802A3 EP0205802A3 (en) | 1987-09-16 |
| EP0205802B1 EP0205802B1 (en) | 1989-04-26 |
Family
ID=6273324
Family Applications (1)
| Application Number | Title | Priority Date | Filing Date |
|---|---|---|---|
| EP86105405A Expired EP0205802B1 (en) | 1985-06-14 | 1986-04-18 | Inking roll for a printing press |
Country Status (5)
| Country | Link |
|---|---|
| US (1) | US4712475A (en) |
| EP (1) | EP0205802B1 (en) |
| JP (1) | JPS6285946A (en) |
| AT (1) | ATE42503T1 (en) |
| DE (1) | DE3521424C1 (en) |
Cited By (2)
| Publication number | Priority date | Publication date | Assignee | Title |
|---|---|---|---|---|
| EP0583667A1 (en) * | 1991-01-10 | 1994-02-23 | Belgium Tool And Die Company | Printing apparatus |
| KR101154861B1 (en) * | 2009-10-29 | 2012-06-18 | 스미도모쥬기가이고교 가부시키가이샤 | Radiation equipment for accelerated particles |
Families Citing this family (15)
| Publication number | Priority date | Publication date | Assignee | Title |
|---|---|---|---|---|
| JP2537806Y2 (en) * | 1989-08-24 | 1997-06-04 | 株式会社小森コーポレーション | Roller cooling structure |
| DE3936446A1 (en) * | 1989-11-02 | 1991-05-08 | Miller Johannisberg Druckmasch | PLATE CYLINDER OF A PRINTING MACHINE |
| DE4108883A1 (en) * | 1991-03-19 | 1992-09-24 | Sengewald Karl H Gmbh | PRINTING DEVICE |
| DE4229352A1 (en) * | 1992-09-07 | 1994-04-14 | Bhs Bayerische Berg | Printing press |
| US5415094A (en) * | 1993-10-18 | 1995-05-16 | Morrone; Ross F. | Apparatus and method for inking of an engraving die utilizing a selectively rotatable inking roller with external ribbing thereon |
| JPH07241982A (en) * | 1994-03-07 | 1995-09-19 | Mitsubishi Heavy Ind Ltd | Method and apparatus for cooling cooling-roller with cooling medium |
| DE19502475C2 (en) * | 1995-01-27 | 1998-07-30 | Heidelberger Druckmasch Ag | Method and device for duct temperature control in the inking unit of a printing press |
| DE19504583C1 (en) * | 1995-02-11 | 1996-08-01 | Roland Man Druckmasch | Wedge ink fountain for an offset printing machine |
| DE19617275C1 (en) * | 1996-04-30 | 1997-08-14 | Roland Man Druckmasch | Ink roller for printing machine |
| DE10137166A1 (en) * | 2000-08-23 | 2002-03-07 | Heidelberger Druckmasch Ag | Print carrying surface temperature control method for multicolor rotary printing machine, involves compensating printing effect arising during passage of printed material through printing unit |
| DE102008026496A1 (en) * | 2008-06-03 | 2009-12-24 | Knorr, Andreas, Dipl.-Ing. | Roller with self-adjustable deflection |
| DE102009057974B4 (en) * | 2009-01-19 | 2021-10-28 | Heidelberger Druckmaschinen Ag | Printing press |
| EP2810130B1 (en) * | 2012-01-31 | 2018-05-16 | HP Indigo B.V. | Cast device with implanted tubes for image forming device |
| FR3072902B1 (en) * | 2017-10-26 | 2019-11-15 | Epsilon Composite | TIP FOR ROLLERS OF INDUSTRIAL MACHINE |
| CN110143047B (en) * | 2019-07-03 | 2024-06-14 | 万军霞 | Cold stamping printing roller |
Family Cites Families (13)
| Publication number | Priority date | Publication date | Assignee | Title |
|---|---|---|---|---|
| US30302A (en) * | 1860-10-09 | Improvement in cultivators | ||
| US2255410A (en) * | 1939-09-23 | 1941-09-09 | John Waldron Corp | Ink distributing device |
| NL61285C (en) * | 1946-10-25 | 1948-01-15 | ||
| GB839058A (en) * | 1957-12-03 | 1960-06-29 | Joseph Dilworth | Improvements in drying cylinders |
| US3224110A (en) * | 1961-01-25 | 1965-12-21 | Scott Paper Co | Rotary cylinder dryer |
| GB1063401A (en) * | 1965-01-01 | 1967-03-30 | Planters Engineering Company L | Improvements in or relating to rollers incorporating a heating means |
| US3228462A (en) * | 1965-04-09 | 1966-01-11 | Hupp Corp | Heat exchange apparatus |
| DE1568612A1 (en) * | 1966-10-28 | 1970-04-02 | Bayer Ag | Process for the preparation of 2,2,2-trichloroethylideneanilines |
| US4050510A (en) * | 1973-04-27 | 1977-09-27 | Helmuth Theysohn | Calender heating roll |
| USRE30302E (en) | 1973-11-08 | 1980-06-10 | Hot oil drum | |
| DE2658380B2 (en) * | 1976-12-23 | 1979-02-08 | Grapho-Metronic Mess- Und Regeltechnik Gmbh & Co Kg, 8000 Muenchen | Inking roller for printing machines |
| US4183298A (en) * | 1977-12-23 | 1980-01-15 | Roland Offsetmaschinenfabrik Faber & Schleicher Ag | Water cooled ink roller for printing presses |
| DE3242066A1 (en) * | 1982-11-13 | 1984-05-17 | Heidelberger Druckmaschinen Ag, 6900 Heidelberg | COOLING ROLLER WITH SELECTED DIFFERENT COOLING ZONES |
-
1985
- 1985-06-14 DE DE3521424A patent/DE3521424C1/en not_active Expired
-
1986
- 1986-04-18 AT AT86105405T patent/ATE42503T1/en not_active IP Right Cessation
- 1986-04-18 EP EP86105405A patent/EP0205802B1/en not_active Expired
- 1986-06-13 US US06/873,815 patent/US4712475A/en not_active Expired - Fee Related
- 1986-06-13 JP JP61136365A patent/JPS6285946A/en active Granted
Cited By (2)
| Publication number | Priority date | Publication date | Assignee | Title |
|---|---|---|---|---|
| EP0583667A1 (en) * | 1991-01-10 | 1994-02-23 | Belgium Tool And Die Company | Printing apparatus |
| KR101154861B1 (en) * | 2009-10-29 | 2012-06-18 | 스미도모쥬기가이고교 가부시키가이샤 | Radiation equipment for accelerated particles |
Also Published As
| Publication number | Publication date |
|---|---|
| JPH0549029B2 (en) | 1993-07-23 |
| DE3521424C1 (en) | 1986-06-12 |
| EP0205802A3 (en) | 1987-09-16 |
| ATE42503T1 (en) | 1989-05-15 |
| JPS6285946A (en) | 1987-04-20 |
| EP0205802B1 (en) | 1989-04-26 |
| US4712475A (en) | 1987-12-15 |
Similar Documents
| Publication | Publication Date | Title |
|---|---|---|
| EP0205802B1 (en) | Inking roll for a printing press | |
| EP0568674B1 (en) | Inking cell doctor blade for an ink transfer body | |
| EP0158220B1 (en) | Calander roll heated by a heat-transfer fluid | |
| DE3751172T2 (en) | Feed arrangement for a coating device. | |
| WO2001026903A1 (en) | Cylinder for a rotary press | |
| DE2851901C2 (en) | Tilting pad radial bearings for a heavily loaded, high-speed shaft | |
| EP0085751A1 (en) | Rotary machine for offset printing on sheets | |
| DE19709601C5 (en) | Plate heat exchangers | |
| EP0392406B1 (en) | Ink spraying device | |
| DE68922925T2 (en) | Device for evaporating humidifiers. | |
| EP0757965A2 (en) | Device for guiding a freshly printed sheet | |
| DD244945A5 (en) | SNAKE STRESS PRESSURE WITH A CYLINDER TEMPERING DEVICE | |
| EP0111141A1 (en) | Ink fountain divider for rotary printing presses | |
| DE3113495C2 (en) | Spinning beam for melt spinning systems for synthetic high polymers | |
| DE69027693T2 (en) | Double-level distributor | |
| EP0166955B1 (en) | Ink fountain for a rotary printing press with an ink metering device | |
| AT393522B (en) | HOLLOW CYLINDER COOLING ROLLER | |
| DE4200837A1 (en) | CHAMBER BLADE FOR A SHORT INKING MACHINE OF A ROTARY PRINTING MACHINE | |
| DE69201367T2 (en) | Heat exchanger element for a boiler. | |
| DE3229471C2 (en) | Cooling system for a rotating roller | |
| DE2939296C2 (en) | Inking unit | |
| CH694864A5 (en) | Roller with controlled deflection. | |
| DE2942689C2 (en) | Device for transferring color in an inking unit of an offset rotary printing press | |
| DD148607A1 (en) | COLOR FACTORY | |
| DE8410839U1 (en) | Calender roll that can be heated by means of a heat-transferring medium |
Legal Events
| Date | Code | Title | Description |
|---|---|---|---|
| PUAI | Public reference made under article 153(3) epc to a published international application that has entered the european phase |
Free format text: ORIGINAL CODE: 0009012 |
|
| AK | Designated contracting states |
Kind code of ref document: A2 Designated state(s): AT CH FR GB IT LI NL SE |
|
| PUAL | Search report despatched |
Free format text: ORIGINAL CODE: 0009013 |
|
| AK | Designated contracting states |
Kind code of ref document: A3 Designated state(s): AT CH FR GB IT LI NL SE |
|
| 17P | Request for examination filed |
Effective date: 19870817 |
|
| 17Q | First examination report despatched |
Effective date: 19871228 |
|
| ITF | It: translation for a ep patent filed | ||
| GRAA | (expected) grant |
Free format text: ORIGINAL CODE: 0009210 |
|
| AK | Designated contracting states |
Kind code of ref document: B1 Designated state(s): AT CH FR GB IT LI NL SE |
|
| REF | Corresponds to: |
Ref document number: 42503 Country of ref document: AT Date of ref document: 19890515 Kind code of ref document: T |
|
| GBT | Gb: translation of ep patent filed (gb section 77(6)(a)/1977) | ||
| ET | Fr: translation filed | ||
| PLBE | No opposition filed within time limit |
Free format text: ORIGINAL CODE: 0009261 |
|
| STAA | Information on the status of an ep patent application or granted ep patent |
Free format text: STATUS: NO OPPOSITION FILED WITHIN TIME LIMIT |
|
| 26N | No opposition filed | ||
| ITTA | It: last paid annual fee | ||
| EAL | Se: european patent in force in sweden |
Ref document number: 86105405.4 |
|
| PGFP | Annual fee paid to national office [announced via postgrant information from national office to epo] |
Ref country code: FR Payment date: 19950320 Year of fee payment: 10 |
|
| PGFP | Annual fee paid to national office [announced via postgrant information from national office to epo] |
Ref country code: AT Payment date: 19950321 Year of fee payment: 10 |
|
| PGFP | Annual fee paid to national office [announced via postgrant information from national office to epo] |
Ref country code: NL Payment date: 19950430 Year of fee payment: 10 |
|
| PGFP | Annual fee paid to national office [announced via postgrant information from national office to epo] |
Ref country code: SE Payment date: 19960321 Year of fee payment: 11 |
|
| PG25 | Lapsed in a contracting state [announced via postgrant information from national office to epo] |
Ref country code: AT Effective date: 19960418 |
|
| PG25 | Lapsed in a contracting state [announced via postgrant information from national office to epo] |
Ref country code: NL Effective date: 19961101 |
|
| PG25 | Lapsed in a contracting state [announced via postgrant information from national office to epo] |
Ref country code: FR Effective date: 19961227 |
|
| NLV4 | Nl: lapsed or anulled due to non-payment of the annual fee |
Effective date: 19961101 |
|
| REG | Reference to a national code |
Ref country code: FR Ref legal event code: ST |
|
| PG25 | Lapsed in a contracting state [announced via postgrant information from national office to epo] |
Ref country code: SE Effective date: 19970419 |
|
| EUG | Se: european patent has lapsed |
Ref document number: 86105405.4 |
|
| PGFP | Annual fee paid to national office [announced via postgrant information from national office to epo] |
Ref country code: CH Payment date: 19980325 Year of fee payment: 13 |
|
| PG25 | Lapsed in a contracting state [announced via postgrant information from national office to epo] |
Ref country code: LI Free format text: LAPSE BECAUSE OF NON-PAYMENT OF DUE FEES Effective date: 19990430 Ref country code: CH Free format text: LAPSE BECAUSE OF NON-PAYMENT OF DUE FEES Effective date: 19990430 |
|
| REG | Reference to a national code |
Ref country code: CH Ref legal event code: PL |
|
| PGFP | Annual fee paid to national office [announced via postgrant information from national office to epo] |
Ref country code: GB Payment date: 20010316 Year of fee payment: 16 |
|
| REG | Reference to a national code |
Ref country code: GB Ref legal event code: IF02 |
|
| PG25 | Lapsed in a contracting state [announced via postgrant information from national office to epo] |
Ref country code: GB Free format text: LAPSE BECAUSE OF NON-PAYMENT OF DUE FEES Effective date: 20020418 |
|
| GBPC | Gb: european patent ceased through non-payment of renewal fee |
Effective date: 20020418 |
|
| PG25 | Lapsed in a contracting state [announced via postgrant information from national office to epo] |
Ref country code: IT Free format text: LAPSE BECAUSE OF NON-PAYMENT OF DUE FEES;WARNING: LAPSES OF ITALIAN PATENTS WITH EFFECTIVE DATE BEFORE 2007 MAY HAVE OCCURRED AT ANY TIME BEFORE 2007. THE CORRECT EFFECTIVE DATE MAY BE DIFFERENT FROM THE ONE RECORDED. Effective date: 20050418 |
