EP0086418A2 - Verfahren und Gerät zum Einbringen von länglichen zylindrischen Elementen in vorgebohrte Löcher - Google Patents

Verfahren und Gerät zum Einbringen von länglichen zylindrischen Elementen in vorgebohrte Löcher Download PDF

Info

Publication number
EP0086418A2
EP0086418A2 EP83101100A EP83101100A EP0086418A2 EP 0086418 A2 EP0086418 A2 EP 0086418A2 EP 83101100 A EP83101100 A EP 83101100A EP 83101100 A EP83101100 A EP 83101100A EP 0086418 A2 EP0086418 A2 EP 0086418A2
Authority
EP
European Patent Office
Prior art keywords
hole
sleeve
tool
striker
procedure
Prior art date
Legal status (The legal status is an assumption and is not a legal conclusion. Google has not performed a legal analysis and makes no representation as to the accuracy of the status listed.)
Withdrawn
Application number
EP83101100A
Other languages
English (en)
French (fr)
Other versions
EP0086418A3 (de
Inventor
Nikolai Puolakainen
Current Assignee (The listed assignees may be inaccurate. Google has not performed a legal analysis and makes no representation or warranty as to the accuracy of the list.)
Bygg- och Transportekonomi (BT) AB
Original Assignee
Bygg- och Transportekonomi (BT) AB
Priority date (The priority date is an assumption and is not a legal conclusion. Google has not performed a legal analysis and makes no representation as to the accuracy of the date listed.)
Filing date
Publication date
Application filed by Bygg- och Transportekonomi (BT) AB filed Critical Bygg- och Transportekonomi (BT) AB
Publication of EP0086418A2 publication Critical patent/EP0086418A2/de
Publication of EP0086418A3 publication Critical patent/EP0086418A3/de
Withdrawn legal-status Critical Current

Links

Images

Classifications

    • BPERFORMING OPERATIONS; TRANSPORTING
    • B25HAND TOOLS; PORTABLE POWER-DRIVEN TOOLS; MANIPULATORS
    • B25BTOOLS OR BENCH DEVICES NOT OTHERWISE PROVIDED FOR, FOR FASTENING, CONNECTING, DISENGAGING OR HOLDING
    • B25B27/00Hand tools, specially adapted for fitting together or separating parts or objects whether or not involving some deformation, not otherwise provided for
    • B25B27/02Hand tools, specially adapted for fitting together or separating parts or objects whether or not involving some deformation, not otherwise provided for for connecting objects by press fit or detaching same
    • B25B27/04Hand tools, specially adapted for fitting together or separating parts or objects whether or not involving some deformation, not otherwise provided for for connecting objects by press fit or detaching same inserting or withdrawing keys
    • BPERFORMING OPERATIONS; TRANSPORTING
    • B25HAND TOOLS; PORTABLE POWER-DRIVEN TOOLS; MANIPULATORS
    • B25CHAND-HELD NAILING OR STAPLING TOOLS; MANUALLY OPERATED PORTABLE STAPLING TOOLS
    • B25C3/00Portable devices for holding and guiding nails; Nail dispensers
    • B25C3/006Portable devices for holding and guiding nails; Nail dispensers only for holding and guiding

Definitions

  • the present invention refers to a procedure for mounting elongated, principally cylindrical elements such as expander pins in predrilled holes, for example.
  • Expander pins are resilient locking pins used for the demountable assembly of various machine elements or mechanical components, e.g. for mounting wheels and the like on shafts.
  • the expanding capability is usually achieved by designing the expander pin as a slotted, springy sleeve of alloy steel which is made resilient by heat treatment.
  • Expander pins are mounted in holes having a diameter less than that of the pin, with the result that the pin is compressed when driven into the hole. Since the pin endeavours to spring back to its normal expanding state it exerts sufficient pressure against the inner surface of the hole to prevent axial movement.
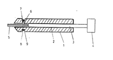
  • FIG. 1 shows a longitudinal cross-section through a tool according to the invention.
  • the tool consists of a sleeve 1 which is provided with an axial through hole 2.
  • a striker 3 is so arranged in the hole 2 that it can move in an axial direction.
  • the end of striker 3 outside the sleeve 1 is designed as an impact head 4.
  • the cylindrical element which in the version shown consists of an expander pin 5 is arranged to be accommodated in the hole 2 at the opposite end of the sleeve 1 to the aforementioned impact head 4.
  • a chiefly radial hole 6 is provided in the sleeve 1 close to the end accommodating expander pin 5.
  • a loosely fitted locking pin 7 which rests against the expander pin.
  • This locking pin is retained and pressed resiliently against the expander pin 5 by a rubber ring 8.
  • the rubber ring 8 is fitted in an annular groove 9 in the surface of sleeve 1 adjacent to the radial hole 6. The resilience of rubber ring 8 is adapted so that expander pin 5 is retained by the friction, even when the tool is pointed downward, but not so that mounting of the pin is noticeably obstructed.
  • a corresponding locking device can be utilized to retain the striker 3 in sleeve 1.
  • a return spring (not shown) can be arranged between the striker and the sleeve to return the striker to the position of rest after each blow. Further, the aforementioned striker can be provided with a means of restricting its outward movement.
  • the spring force applied to expander pin 5 from the side can naturally be arranged in many ways and the version described above is only an example.
  • the tool can also be designed for easy connection to the pneumatic impact tool.
  • the pin 5 When using the tool described above for mounting an expander pin 5 in a predrilled hole, the pin 5 is first fitted in the hole 2 in the sleeve 1. Locking pin 7 is pressed against expander pin 5 by means of rubber ring 8. The sleeve 1 is then applied to the predrilled hole and expander pin 5 is located in its mouth. Impact head 4 is subjected to repeated blows with the effect that the striker 3 strikes expander pin 5 and drives it into the hole.

Landscapes

  • Engineering & Computer Science (AREA)
  • Mechanical Engineering (AREA)
  • Refuge Islands, Traffic Blockers, Or Guard Fence (AREA)
  • Dowels (AREA)
  • Emergency Lowering Means (AREA)
  • Clamps And Clips (AREA)
  • Mechanical Pencils And Projecting And Retracting Systems Therefor, And Multi-System Writing Instruments (AREA)
EP83101100A 1982-02-11 1983-02-07 Verfahren und Gerät zum Einbringen von länglichen zylindrischen Elementen in vorgebohrte Löcher Withdrawn EP0086418A3 (de)

Applications Claiming Priority (2)

Application Number Priority Date Filing Date Title
SE8200827 1982-02-11
SE8200827A SE8200827L (sv) 1982-02-11 1982-02-11 Forfarande och verktyg for montering av langstreckta, cylindriska element i forborrade hal

Publications (2)

Publication Number Publication Date
EP0086418A2 true EP0086418A2 (de) 1983-08-24
EP0086418A3 EP0086418A3 (de) 1984-09-12

Family

ID=20345982

Family Applications (1)

Application Number Title Priority Date Filing Date
EP83101100A Withdrawn EP0086418A3 (de) 1982-02-11 1983-02-07 Verfahren und Gerät zum Einbringen von länglichen zylindrischen Elementen in vorgebohrte Löcher

Country Status (2)

Country Link
EP (1) EP0086418A3 (de)
SE (1) SE8200827L (de)

Cited By (4)

* Cited by examiner, † Cited by third party
Publication number Priority date Publication date Assignee Title
EP1506844A1 (de) * 2003-08-12 2005-02-16 The Goodyear Tire & Rubber Company Werkzeug und Verfahren zum Einführen von Reifensensoren
CN103978460A (zh) * 2014-05-23 2014-08-13 安徽江淮汽车股份有限公司 卷收器拆装工具
CN106985121A (zh) * 2017-04-30 2017-07-28 桂林电子科技大学 一种可多次利用的压溃式钉子辅助装置及其工作方法
CN110270964A (zh) * 2019-06-24 2019-09-24 中国五冶集团有限公司 一种用于辅助敲击钉子的钉筒

Family Cites Families (6)

* Cited by examiner, † Cited by third party
Publication number Priority date Publication date Assignee Title
US2839754A (en) * 1957-03-22 1958-06-24 Elmer F Pfaff Fastener driving tool
US2973520A (en) * 1959-06-16 1961-03-07 Star Prec Devices Inc Small diameter stud adapter
US3036482A (en) * 1960-09-02 1962-05-29 Kenworthy Kenneth Axial-impact type hand tool
US3788537A (en) * 1972-07-31 1974-01-29 Mechanical Applic Inc Hand-loaded pin chuck
US3979978A (en) * 1974-05-15 1976-09-14 Smolik Robert A Nail setting tool
FR2291001A2 (fr) * 1974-11-18 1976-06-11 Chatard Henri Dispositif pour planter des clous adaptable sur une chignole electrique

Cited By (6)

* Cited by examiner, † Cited by third party
Publication number Priority date Publication date Assignee Title
EP1506844A1 (de) * 2003-08-12 2005-02-16 The Goodyear Tire & Rubber Company Werkzeug und Verfahren zum Einführen von Reifensensoren
US7021164B2 (en) 2003-08-12 2006-04-04 The Goodyear Tire & Rubber Company Tire sensor insertion tool and method
CN103978460A (zh) * 2014-05-23 2014-08-13 安徽江淮汽车股份有限公司 卷收器拆装工具
CN106985121A (zh) * 2017-04-30 2017-07-28 桂林电子科技大学 一种可多次利用的压溃式钉子辅助装置及其工作方法
CN106985121B (zh) * 2017-04-30 2023-03-10 桂林电子科技大学 一种可多次利用的压溃式钉子辅助装置及其工作方法
CN110270964A (zh) * 2019-06-24 2019-09-24 中国五冶集团有限公司 一种用于辅助敲击钉子的钉筒

Also Published As

Publication number Publication date
SE8200827L (sv) 1983-08-12
EP0086418A3 (de) 1984-09-12

Similar Documents

Publication Publication Date Title
US2851295A (en) Socket adaptor
CA1256717A (en) Tool holder for drilling and chiselling tools
US4202557A (en) Drilling device
EP0395335A1 (de) Meissel zum Bohren eines hinterschnittenen Loches
US2576786A (en) Centralizing drill
US3152391A (en) Tool for wheel weights
US3633640A (en) Tool having retractable and removable centering sleeve
US3209445A (en) Combination tool for driving out an old bushing and driving in a new one
US8028762B2 (en) Shock absorber for a reciprocating tool assembly
CN113459024B (zh) 用于动力工具的套筒保持装置
EP0086418A2 (de) Verfahren und Gerät zum Einbringen von länglichen zylindrischen Elementen in vorgebohrte Löcher
EP4058245A1 (de) Schlagwerksanordnung
US5100256A (en) Retaining pin module
US4073046A (en) Shock absorber installation tool
US2701359A (en) Hand tool
SU1253767A1 (ru) Устройство дл креплени рабочего инструмента в машине ударного действи
GB2136725A (en) Hammer, in particular drill hammer
US4174848A (en) Latching mechanism for reciprocating impact tools
US1613399A (en) Chisel retainer for riveting hammers
EP0684095A1 (de) Stanzwerkzeug
US2451234A (en) Compression member
US4550784A (en) Tool mounting means for a hydraulically powered impact hammer
GB1566637A (en) Rotary impact tool
GB1566340A (en) Rotary percussion drilling devices
US5533660A (en) Expansion dowel and expansion dowel setting tool

Legal Events

Date Code Title Description
PUAI Public reference made under article 153(3) epc to a published international application that has entered the european phase

Free format text: ORIGINAL CODE: 0009012

PUAI Public reference made under article 153(3) epc to a published international application that has entered the european phase

Free format text: ORIGINAL CODE: 0009012

AK Designated contracting states

Designated state(s): CH DE FR GB IT LI

17P Request for examination filed

Effective date: 19840221

PUAL Search report despatched

Free format text: ORIGINAL CODE: 0009013

AK Designated contracting states

Designated state(s): CH DE FR GB IT LI

STAA Information on the status of an ep patent application or granted ep patent

Free format text: STATUS: THE APPLICATION HAS BEEN WITHDRAWN

18W Application withdrawn

Withdrawal date: 19850402

RIN1 Information on inventor provided before grant (corrected)

Inventor name: PUOLAKAINEN, NIKOLAI