EP0084478A2 - Procédé de régénération en continu de bains de fluxage dans la galvanisation au trempé de pièces en acier - Google Patents

Procédé de régénération en continu de bains de fluxage dans la galvanisation au trempé de pièces en acier Download PDF

Info

Publication number
EP0084478A2
EP0084478A2 EP83400049A EP83400049A EP0084478A2 EP 0084478 A2 EP0084478 A2 EP 0084478A2 EP 83400049 A EP83400049 A EP 83400049A EP 83400049 A EP83400049 A EP 83400049A EP 0084478 A2 EP0084478 A2 EP 0084478A2
Authority
EP
European Patent Office
Prior art keywords
solution
iron
tank
zinc
sludge
Prior art date
Legal status (The legal status is an assumption and is not a legal conclusion. Google has not performed a legal analysis and makes no representation as to the accuracy of the status listed.)
Granted
Application number
EP83400049A
Other languages
German (de)
English (en)
Other versions
EP0084478A3 (en
EP0084478B1 (fr
Inventor
Noel Dreulle
Alain Van Ceulen
Claude Eusebe
Current Assignee (The listed assignees may be inaccurate. Google has not performed a legal analysis and makes no representation or warranty as to the accuracy of the list.)
Union-Miniere Sa Te Charleroi Belgie
Original Assignee
Compagnie Royale Asturienne des Mines
Asturienne France SA
Priority date (The priority date is an assumption and is not a legal conclusion. Google has not performed a legal analysis and makes no representation as to the accuracy of the date listed.)
Filing date
Publication date
Application filed by Compagnie Royale Asturienne des Mines, Asturienne France SA filed Critical Compagnie Royale Asturienne des Mines
Priority to AT83400049T priority Critical patent/ATE31557T1/de
Publication of EP0084478A2 publication Critical patent/EP0084478A2/fr
Publication of EP0084478A3 publication Critical patent/EP0084478A3/fr
Application granted granted Critical
Publication of EP0084478B1 publication Critical patent/EP0084478B1/fr
Expired legal-status Critical Current

Links

Images

Classifications

    • CCHEMISTRY; METALLURGY
    • C23COATING METALLIC MATERIAL; COATING MATERIAL WITH METALLIC MATERIAL; CHEMICAL SURFACE TREATMENT; DIFFUSION TREATMENT OF METALLIC MATERIAL; COATING BY VACUUM EVAPORATION, BY SPUTTERING, BY ION IMPLANTATION OR BY CHEMICAL VAPOUR DEPOSITION, IN GENERAL; INHIBITING CORROSION OF METALLIC MATERIAL OR INCRUSTATION IN GENERAL
    • C23CCOATING METALLIC MATERIAL; COATING MATERIAL WITH METALLIC MATERIAL; SURFACE TREATMENT OF METALLIC MATERIAL BY DIFFUSION INTO THE SURFACE, BY CHEMICAL CONVERSION OR SUBSTITUTION; COATING BY VACUUM EVAPORATION, BY SPUTTERING, BY ION IMPLANTATION OR BY CHEMICAL VAPOUR DEPOSITION, IN GENERAL
    • C23C2/00Hot-dipping or immersion processes for applying the coating material in the molten state without affecting the shape; Apparatus therefor
    • C23C2/30Fluxes or coverings on molten baths

Definitions

  • the invention relates to a process for regenerating the content of fluxing tanks, consisting of zinc and ammonium chlorides in aqueous solution, into which steel parts are immersed before dip galvanizing.
  • the parts undergo preparative surface treatments including degreasing in an alkaline bath, pickling in an acid bath, and a so-called fluxing operation which consists in covering the pieces with a thin layer of zinc and ammonium chlorides (flux), by immersing them in a tank containing an aqueous solution of these salts, then optionally by evaporating the water in an oven of the solution.
  • a so-called fluxing operation which consists in covering the pieces with a thin layer of zinc and ammonium chlorides (flux), by immersing them in a tank containing an aqueous solution of these salts, then optionally by evaporating the water in an oven of the solution.
  • the bath contained in the fluxing tank is gradually enriched with iron, essentially in the divalent state, which comes from the transport of pickling bath, diluted by rinsing, and from the attack of the iron by the fluxing solution.
  • the entrainment of iron salts in the galvanizing tank causes a reaction of the molten zinc with these iron salts, with the formation of mattes, zinc / iron compounds, which precipitate in the molten zinc and tend to collect at the bottom of tank.
  • mattes can cause defects in the zinc coating, and cause loss of zinc.
  • the flux bath contains more than traces of dissolved iron
  • part of this iron in the divalent state accompanies the zinc and ammonium chlorides in the stream, while another part oxidizes in the state trivalent under the action of atmospheric oxygen, and precipitates as ferric hydroxide; ferric hydroxide is partially entrained by the fluxing solution.
  • the mattes which are formed by direct attack of the iron by the zinc in the presence of flux during galvanization are added, undesirably, the mattes resulting from the presence of dissolved iron in the bath of fluxing.
  • the subject of the invention is a process free from the aforementioned drawbacks, and for this purpose proposes a process for regenerating the content of fluxing tanks, consisting of zinc and ammonium chlorides in aqueous solution, into which steel parts are immersed.
  • the process implemented on a bath where the dissolved iron concentration remains low, since the elimination is permanent, makes it possible to add the reagents, hydrogen peroxide of oxidation and ammonia of pH adjustment, to the bath current of such so that the redox power and the pH are optimally adjusted in the reaction bath; the oxidation of iron (II) to iron (III) takes place with a consumption of hydrogen peroxide practically reduced to the minimum.
  • the speed of oxidation of iron is notably higher than that of precipitation of ferric hydroxide; thus the current, relatively faster in the injection phase of reagents, corresponding to the oxidation step, is slowed down to allow the ferric hydroxide flakes to mature, at a favorable pH.
  • the size of the flakes promotes the speed and efficiency of decantation.
  • ferric hydroxide sludge discharged by periodic purges from the decanter in reduced volumes, can easily be subjected to filtration, in order to recover the flux solution entrained by the purges.
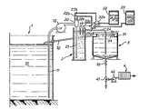
  • the fluxing bath 10 an aqueous solution of zinc and ammonium chlorides is contained in a tank 1, with a capacity of approximately 40 cubic meters, which is conventionally part of a line of dip galvanizing.
  • This line includes degreasing tanks, first rinsing, acid pickling, second rinsing, the fluxing tank 1, followed by a drying oven and the galvanizing tank, which contains a bath of molten zinc.
  • the content of the tank 1 is withdrawn with regular current by a volumetric pump 12, through a suction pipe 11 which opens towards the bottom of the tank 10.
  • the flow rate of the pump 12 is approximately 100 liters per hour, or approximately 0.03 liters per second.
  • the pump 12 delivers the solution taken from a reactor 2, of 80 liters capacity, through a reaction tube 21 which enters the reactor as far as the bottom.
  • a reaction tube 21 which enters the reactor as far as the bottom.
  • At the upper part of the reaction tube 21 open two nozzles 22b and 23b, connected to two reservoirs 22 and 23 with reagents of 100 liters capacity, the reservoir 22 containing hydrogen peroxide and the reservoir 23 of ammonia, to usual concentrations.
  • Two metering pumps 22a and 23a take the reagents from the reservoirs 22 and 23 to send them to the nozzles 22b and 23b.
  • These metering pumps have flow rates controlled by sensors 22c and 23c, respectively for the redox potential and the pH, so that, in reactor 2, the pH is maintained at 4 (+ 0.1) and that, towards the surface of the reactor, the redox potential corresponds to an iron (II) concentration lower than a given value (0.5 g / 1), in presence of iron (III).
  • the reactor is provided with a peripheral gutter 31 into which the decanted liquid overflows, which returns to the fluxing tank 1 by the pipe 32, opening out in the vicinity of the surface of the bath 10.
  • a battery of 4 immersion heaters 34 with a unit power of 500 watts allows the surface heating of the contents of the settling tank 3.
  • the purge sludge extracted from the settling tank 3 can be, via a three-way valve 41, either sent directly to the evacuation of the workshop to a discharge treatment installation, or directed by a pump 42 on a filter 4, to recover the zinc and ammonium chlorides from the filtrate.
  • the period of purification of the contents 10 of the tank 1 is 400 hours for a volume of 40 cubic meters. Furthermore, the duration of mixing of the reactants with the solution stream in the tube 21 is of the order of ten seconds, and the residence time in the reactor 2 is approximately 50 minutes.
  • the rate of rise of the solution in this reactor is approximately 0.3 mm per second, which corresponds to an almost turbulence-free flow, where the reactions of redox between iron (II) and hydrogen peroxide occurs with the minimum of side reactions and spontaneous decomposition of oxygenated water, while nucleation of ferric hydroxide occurs in the mass of solution.
  • the composition of the withdrawn current corresponds to the composition of the contents of the tank, which varies slowly, while the returns through the pipe 32 are not likely to significantly alter the composition of the fluxing bath over a short period.
  • the residence time of the solution is 10 hours, which corresponds to an ascending speed of 0.04 mm / sec. approximately, for the reactor dimensions specified above.
  • the maturation of the ferric hydroxide flakes have time to be complete, but also these flakes have an apparent density such that their rate of fall can greatly exceed the rate of rise of the liquid. It will be noted that, in reactor 2, where the flakes have barely exceeded the nucleation stage, while the rate of rise of the liquid is almost eight times greater, the entrainment of ferric hydroxide is substantially complete.

Landscapes

  • Chemical & Material Sciences (AREA)
  • Chemical Kinetics & Catalysis (AREA)
  • Engineering & Computer Science (AREA)
  • Materials Engineering (AREA)
  • Mechanical Engineering (AREA)
  • Metallurgy (AREA)
  • Organic Chemistry (AREA)
  • Coating With Molten Metal (AREA)

Abstract

Le bain de fluxage, dans la cuve (1), composé de chlorures de zinc et d'ammonium, se pollue par du fer dissous provenant des pièces à galvaniser. Pour éliminer ce fer on prélève par la pompe (12) un courant constant de bain de fluxage, on y ajoute des quantités dosées d'eau oxygénée et d'ammoniaque en sorte que l'eau oxygénée soit en rapport stoechiométrique avec le fer (II) et que le pH soit sensiblement de 4, on laisse l'eau oxygénée réagir avec le fer (II) en milieu calme dans le réacteur (2), puis on laisse précipiter l'hydroxyde ferrique dans le décanteur (3), d'où le liquide clair est renvoyé à la cuve (1), tandis que les boues d'hydroxyde sont purgées par la canalisation (3), pour être éventuellement soumises à filtration dans le filtre (4).

Description

  • L'invention a trait à un procédé de régénération du contenu de cuves de fluxage, constitué de chlorures de zinc et d'ammonium en solution aqueuse, où sont plongées des pièces en acier avant galvanisation au trempé.
  • Au cours du processus de galvanisation au trempé, c'est-à-dire par immersion des pièces dans un bain de zinc en fusion, les pièces subissent des traitements de surface préparatoires comprenant un dégraissage en bain alcalin, un décapage en bain acide, et une opération dite fluxage qui consiste à recouvrir les pièces d'une mince couche de chlorures de zinc et d'ammonium (flux), en les plongeant dans une cuve contenant une solution aqueuse de ces sels, puis éventuellement en évaporant en étuve l'eau de la solution.
  • Pour réduire les transports de bain de dégraissage dans le bain de décapage, et de ce bain de décapage dans le bain de fluxage, on effectue des rinçages intermédiaires. Néanmoins le bain contenu dans la cuve de fluxage s'enrichit progressivement en fer, essentiellement à l'état divalent, qui provient du transport de bain de décapage, dilué par le rinçage, et de l'attaque du fer par la solution de fluxage.
  • L'entraînement de sels de fer dans la cuve de galvanisation provoque une réaction du zinc en fusion avec ces sels de fer, avec formation de mattes, composés zinc/fer, qui précipitent dans le zinc fondu et ont tendance à se rassembler en fond de cuve. Ces mattes peuvent provoquer des défauts dans le recouvrement de zinc, et provoquent des pertes de zinc.
  • Lorsque le bain de fluxage contient plus que des traces de fer dissous, une partie de ce fer à l'état divalent accompagne les chlorures de zinc et d'ammonium dans le flux, tandis qu'une autre partie s'oxyde à l'état trivalent sous l'action de l'oxygène atmosphérique, et précipite à l'état d'hydroxyde ferrique ; l'hydroxyde ferrique est partiellement entraîné par la solution de fluxage. Aux mattes qui se forment par attaque directe du fer par le zinc en présence de flux lors de la galvanisation viennent s'ajouter, de façon indésirable, les mattes provenant de la présence de fer dissous dans le bain de fluxage.
  • Pour remédier à cette difficulté, il est classique d'effectuer périodiquement une régénération des bains de fluxage. Pour ce faire on ajoute au contenu de la cuve de l'eau oxygénée, jusqu'à ce que pratiquement tout le fer contenu passe à l'état trivalent, et précipite sous forme d'hydroxyde ferrique, qui se présente sous forme de flocons. On laisse se former en fond de cuve des boues d'hydroxyde, que l'on évacue ensuite par pompage. Le bain clair qui subsiste est complété en niveau et en teneur.
  • On comprend aisément que cette opération de régénération qui bloque l'exploitation de la ligne de galvanisation pendant une durée importante, n'est exécutée que lorsque la teneur du bain de fluxage en fer dissous atteint des valeurs prohibitives entraînant une baisse sensible de la qualité de la galvanisation. Par ailleurs le prélèvement des boues en fond de cuve provoque un entraînement de bain de fluxage important ; les boues sont volumineuses, et relativement riches en zinc et chlorure. Il est onéreux de traiter ces boues pour éviter des pollutions. La pratique courante présente encore un inconvénient : l'oxydation du fer à l'état trivalent par l'eau oxygénée ne doit pas être conduite sous agitation, sous peine de voir l'hydroxyde ferrique se former en flocons de taille réduite qui ne sont pas susceptibles de décanter en un temps raisonnable. Il s'ensuit que l'eau oxygénée ne peut être répartie rapidement dans la masse du bain pour oxyder le fer. Au cours de la diffusion lente, une quantité importante d'eau oxygénée. se décompose spontanément, et la consommation de ce réactif est excessive.
  • L'invention a pour objet un procédé exempt des inconvénients précités, et propose à cet effet un procédé de régénération du contenu de cuves de fluxage, constitué de chlorures de zinc et d'ammonium en solution aqueuse, où sont plongées des pièces en acier avant galvanisation au trempé, procédé d'élimination du fer dissous nuisible suivant lequel on ajoute au contenu de la cuve de l'eau oxygénée de façon à faire passer pratiquement tout le fer dissous à l'état trivalent et former des boues insolubles d'hydroxyde ferrique, et on élimine ces boues insolubles, caractérisé en ce que l'on prélève de la cuve un courant à débit pratiquement constant de son contenu, on ajoute à ce courant des débits d'eau oxygénée et d'ammoniaque réglés respectivement en sorte que l'eau oxygénée soit sensiblement en équilibre stoechiométrique avec le fer à oxyder et que le pH soit maintenu sensiblement à 4, on laisse s'achever. la formation d'hydroxyde ferrique en milieu calme, et on évacue par décantation les boues d'hydroxyde en renvoyant à la cuve la solution de chlorures de zinc et d'ammonium débarrassée de fer.
  • Le procédé, mis en oeuvre sur un bain où la concentration en fer dissous reste faible, puisque l'élimination est permanente, permet d'ajouter les réactifs, eau oxygénée d'oxydation et ammoniaque de réglage de pH, au courant de bain de telle sorte que le pouvoir oxydoréducteur et le pH soient ajustés de façon optimale dans le bain en réaction ; l'oxydation du fer (II) en fer (III) se fait avec une consommation d'eau oxygénée pratiquement réduite au minimum. En outre on profite de ce que la vitesse d'oxydation du fer est notablement supérieure à celle de la précipitation d'hydroxyde ferrique ; ainsi le courant, relativement plus rapide dans la phase d'injection de réactifs, correspondant à l'étape d'oxydation, est ralenti pour laisser venir à maturation, au pH favorable, les flocons d'hydroxyde ferrique. La grosseur des flocons favorise la rapidité et l'efficacité de la décantation.
  • Diverses dispositions viennent améliorer le processus ; ainsi après introduction des réactifs, le courant de bain est conduit au fond d'un réacteur par une canalisation, en sorte que la durée d'oxydation soit voisine du temps de parcours du bain dans la canalisation, tandis que dans le réacteur où le courant est presque imperceptible, l'hydroxyde peut venir à maturation. Après cela le bain, où l'hydroxyde s'est développé pour sa majeure partie, est envoyé dans un décanteur où l'hydroxyde se rassemblera en partie inférieure. Il sera judicieux de chauffer en surface le décanteur, pour éviter des turbulences de convection qui pourraient ramener en surface de l'hydroxyde si les couches superficielles dans le décanteur, se refroidissant, devenaient plus denses que les couches profondes.
  • Enfin les boues d'hydroxyde ferrique évacuées par des purges périodiques du décanteur, par volumes réduits, peuventaisé- ment être soumises à filtration, pour récupérer la solution de flux entraînée par les purges.
  • Les caractéristiques et avantages de l'invention ressortiront d'ailleurs dela description qui va suivre à titre d'exemple, en référence au dessin annexé qui représente schématiquement la disposition du matériel utilisé pour la mise en oeuvre du procédé.
  • Selon le mode de réalisation choisi et représenté, le bain de fluxage 10, solution aqueuse de chlorures de zinc et d'ammonium est contenu dans une cuve 1, d'une contenance de 40 mètres cubes environ, qui fait partie classiquement d'une ligne de galvanisation au trempé. Cette ligne comprend des cuves de dégraissage, de premier rinçage, de décapage acide, de second rinçage, la cuve de fluxage 1, suivie d'une étuve de séchage et de la cuve de galvanisation, qui contient un bain de zinc fondu.
  • Pour éliminer le fer dissous dans le bain de fluxage 10, fer qui provient des entraînements de la cuve de décapage acide, et de l'attaque superficielle des pièces par le bain de fluxage, le contenu de la cuve 1 est prélevé en courant régulier par une pompe volumétrique 12, à travers une canalisation d'aspiration 11 qui débouche vers le fond de la cuve 10. Le débit de la pompe 12 est d'environ 100 litres à l'heure, soit à peu près 0,03 litre seconde.
  • La pompe 12 refoule la solution prélevée dans un réacteur 2, de 80 litres de contenance à travers un tube de réaction 21 qui pénètre dans le réacteur jusqu'au voisinage du fond. A la partie supérieure du tube de réaction 21 débouchent deux ajutages 22b et 23b, reliés à deux réservoirs 22 et 23 à réactifs de 100 litres de contenance, le réservoir 22 contenant de l'eau oxygénée et le réservoir 23 de l'ammoniaque, à des concentrations usuelles. Deux pompes doseuses 22a et 23a prélèvent les réactifs dans les réservoirs 22 et 23 pour les envoyer aux ajutages 22b et 23b. Ces pompes doseuses sont à débits asservis par des capteurs 22c et 23c, respectivement pour le potentiel d'oxydoréduction et le pH, en sorte que, dans le réacteur 2, le pH soit maintenu à 4 (+ 0,1) et que, vers la surface du réacteur, le potentiel d'oxydoréduction corresponde à une concentration en fer (II) inférieure à une valeur donnée (0,5 g/1), en présence de fer (III).
  • Une canalisation de trop plein 24 piquée sur le réacteur 2, et qui définit le niveau de surface, débouche au centre et vers le fond d'un décanteur cylindrique-23, d'un diamètre de 1 mètre et une hauteur de 1,300 mètre (volume 1 mètre cube environ). Le réacteur est muni d'une gouttière périphérique 31 dans laquelle vient déborder le liquide décanté, qui retourne à la cuve de fluxage 1 par la canalisation 32, débouchant au voisinage de la surface du bain 10. Du fond du décanteur 3 part une canalisation de purge 33, pour évacuer les particules solides qui se sont rassemblées au fond du décanteur 3. Une batterie de 4 thermoplongeurs 34 de puissance unitaire 500 watts permet le chauffage superficiel du contenu du décanteur 3.
  • Les boues de purge extraites du décanteur 3 peuvent être, par l'intermédiaire d'une vanne à trois directions 41, soit envoyées directement à l'évacuation de l'atelier vers une installation de traitement des rejets, soit dirigées par une pompe 42 sur un filtre 4, pour récupérer les chlorures de zinc et d'ammonium du filtrat.
  • Si l'on porte son attention sur le cycle d'épuration de solution de fluxage, on remarque que, avec un débit d'extraction de 100 litres à l'heure, la période d'épuration du contenu 10 de la cuve 1, est de 400 heures pour un volume de 40 mètres cubes. Par ailleurs la durée de mélange des réactifs au courant de solution dans le tube 21 est de l'ordre de la dizaine de seconde, et le temps de séjour dans le réacteur 2 est d'environ 50 minutes. Avec une hauteur de réacteur 2 d'environ 0,80 mètre, la vitesse ascensionnelle de la solution dans ce réacteur est d'environ 0,3 mm à la seconde, ce qui correspond à un écoulement pratiquement sans turbulences, où les réactions d'oxydoréduction entre fer (II) et eau oxygénée se produisent avec le minimum de réactions secondaires et de décomposition spontanée de l'eau oxygénée, tandis que la nucléation de l'hydroxyde ferrique se produit dans la masse de solution. On remarquera en outre que, en raison du peu d'importance relative du prélèvement de solution de fluxage dans la cuve 1 vis-à-vis du volume total de solution, la composition du courant prélevé correspond à la composition du contenu de la cuve, qui varie lentement, tandis que les retours par la canalisation 32 ne sont pas susceptibles d'altérer sensiblement la composition du bain de fluxage sur une courte durée. Aussi les apports de réactifs, eau oxygénée et ammoniaque, par les pompes doseuses 22a et 23a, varient également très lentement, de sorte que les mesures des capteurs 22c et 23c s'effectuent sur des grandeurs, potentiel d'oxydoréduction et pH, en régime sensiblement permanent.
  • A l'étape suivante, dans le décanteur 3, le temps de séjour de la solution est de 10 heures, ce qui correspond à une vitesse ascensionnelle de 0,04 mm/sec. environ, pour les dimensions de réacteur précisées plus haut. Non seulement la maturation des flocons d'hydroxyde ferrique a le temps d'être complète, mais encore ces flocons ont une densité apparente telle que leur vitesse de chute peut excéder largement la vitesse ascensionnelle du liquide. On notera que, dans le réacteur 2, où les flocons ont peu dépassé encore le stade de nucléation, tandis que la vitesse ascensionnelle du liquide est près de huit fois plus grande, l'entraînement de l'hydroxyde ferrique est sensiblement complet.
  • Par ailleurs, il est de pratique courante d'effectuer le fluxage à une température supérieure à l'ambiante, afin d'opérer avec des bains plus concentrés en chlorures, amenés à une viscosité acceptable. La solution qui séjourne 10 heures dans le décanteur 3 se refroidirait, tant par les parois du décanteur qu'en surface. Les inégalités de température dans le décanteur 3 engendreraient des mouvements de convection dans le liquide, du fond en partie centrale vers la surface en partie périphérique, entraînant en conséquence l'hydroxyde ferrique vers la cuve 1. C'est la raison pour laquelle on prévoit le chauffage des couches superficielles du décanteur 3, en sorte de former une couche chaude en surface, stable et capable de protéger contre le refroidissement les couches sous-jacentes.
  • Bien entendu l'invention n'est pas limitée à l'exemple décrit, mais en embrasse toutes les variantes d'exécution, notamment en s'adaptant au volume de bains de fluxage à épurer.
  • De plus, lorsque les cadences de travail sont régulières, on peut faire l'économie de réglage asservi des débits de réactifs, en vérifiant périodiquement les conditions de pH et d'oxydoréduction.

Claims (5)

1. Procédé de régénération du contenu de cuves de fluxage, constitué de chlorures de zinc et d'ammonium en solution aqueuse, où sont pbngées des pièces en acier avant galvanisation au trempé, procédé d'élimination du fer dissous nuisible suivant lequel on ajoute au contenu de la cuve de l'eau oxygénée de façon à faire passer pratiquement tout le fer dissous à l'état trivalent et former des boues insolubles d'hydroxyde ferrique, et on élimine ces boues insolubles, caractérisé en ce que l'on prélève de la cuve un courant à débit pratiquement constant de son contenu, on ajoute à ce courant des débits d'eau oxygénée et d'ammoniaque, réglés respectivement en sorte que l'eau oxygénée soit sensiblement en équilibre stoechiométrique avec le fer à oxyder et que le pH soit maintenu sensiblement à 4, on laisse s'achever la formation d'hydroxyde ferrique en milieu calme, et on évacue par décantation les boues d'hydroxyde en renvoyant à la cuve la solution de chlorures de zinc et d'ammonium débarrassée de fer.
2. Procédé suivant la revendication 1, caractérisé en ce qu'on maintient en circulation le courant de solution de chlorures après ajout d'eau oxygénée et d'ammoniaque sur un parcours suffisamment long pour que l'oxydation du fer soit sensiblement complète, avant de laisser s'achever en milieu calme la formation d'hydroxyde.
3. Procédé suivant la revendication 1 ou la revendication 2, caractérisé en ce qu'on transfère la solution de chlorures, après formation de la majeure partie de l'hydroxyde ferrique, dans une zone de décantation.
4. Procédé suivant la revendication 3, caractérisé en ce que l'on chauffe la solution de chlorures en surface dans la zone de décantation.
5. Procédé suivant une quelconque des revendications 1 à 4, caractérisé en ce que les boues évacuées par décantation sont soumises ultérieurement à une opération de filtrage en sorte de récupérer de la solution de chlorures de zinc et d'ammonium entraînée par ces boues.
EP83400049A 1982-01-15 1983-01-10 Procédé de régénération en continu de bains de fluxage dans la galvanisation au trempé de pièces en acier Expired EP0084478B1 (fr)

Priority Applications (1)

Application Number Priority Date Filing Date Title
AT83400049T ATE31557T1 (de) 1982-01-15 1983-01-10 Kontinuierliches regenerierungsverfahren fuer flussmittelbaeder bei der schmelztauchverzinkung von stahlwerkstuecken.

Applications Claiming Priority (2)

Application Number Priority Date Filing Date Title
FR8200605A FR2520007B1 (fr) 1982-01-15 1982-01-15 Procede de regeneration en continu de bains de fluxage dans la galvanisation au trempe de pieces en acier
FR8200605 1982-01-15

Publications (3)

Publication Number Publication Date
EP0084478A2 true EP0084478A2 (fr) 1983-07-27
EP0084478A3 EP0084478A3 (en) 1983-08-24
EP0084478B1 EP0084478B1 (fr) 1987-12-23

Family

ID=9270028

Family Applications (1)

Application Number Title Priority Date Filing Date
EP83400049A Expired EP0084478B1 (fr) 1982-01-15 1983-01-10 Procédé de régénération en continu de bains de fluxage dans la galvanisation au trempé de pièces en acier

Country Status (4)

Country Link
EP (1) EP0084478B1 (fr)
AT (1) ATE31557T1 (fr)
DE (1) DE3375026D1 (fr)
FR (1) FR2520007B1 (fr)

Cited By (6)

* Cited by examiner, † Cited by third party
Publication number Priority date Publication date Assignee Title
WO1994011542A1 (fr) * 1992-11-06 1994-05-26 Um Engineering S.A. Procede pour entretenir un bain de fluxage d'une ligne de galvanisation
US5810946A (en) * 1997-02-04 1998-09-22 Metals Recycling Technologies Corp. Method for the production of galvanizing fluxes and flux feedstocks
EP1277849A1 (fr) * 2001-07-17 2003-01-22 Goldschmidt AG Flux pour réduire la teneur en fer d'un bain de fluxage
EP2674507A3 (fr) * 2012-06-15 2016-04-27 RAM Engineering + Anlagenbau GmbH Installation de préparation en continu de fondants contenant du fer
US10316400B1 (en) * 2017-05-11 2019-06-11 Beta Control Systems, Incorporated Systems and methods for removing impurities from galvanizing flux solution
EP3530773A1 (fr) * 2018-02-23 2019-08-28 RAM Engineering + Anlagenbau GmbH Installation de préparation d'agent fondant destiné au prétraitement d'acier ainsi que procédé de fonctionnement de l'installation

Family Cites Families (4)

* Cited by examiner, † Cited by third party
Publication number Priority date Publication date Assignee Title
CH569796A5 (fr) * 1970-06-16 1975-11-28 Didier Werke Ag
FR2277910A1 (fr) * 1974-07-09 1976-02-06 Degremont Sa Procede pour l'elimination en continu des sels de fer polluant les bains de galvanisation
BE840955A (fr) * 1976-04-21 1976-08-16 Procede de regenaration des bains de galvanisation et installation pour sa mise en oeuvre
DE2633872C2 (de) * 1976-07-28 1978-03-30 Preussag Ag Metall, 3380 Goslar Verfahren zum Herstellen einer wasserigen Flußmittellauge für das Feuerverzinken

Cited By (9)

* Cited by examiner, † Cited by third party
Publication number Priority date Publication date Assignee Title
WO1994011542A1 (fr) * 1992-11-06 1994-05-26 Um Engineering S.A. Procede pour entretenir un bain de fluxage d'une ligne de galvanisation
BE1006337A3 (fr) * 1992-11-06 1994-07-26 Mechim Engineering Sa Procede pour entretenir un bain de fluxage d'une ligne de galvanisation.
US5810946A (en) * 1997-02-04 1998-09-22 Metals Recycling Technologies Corp. Method for the production of galvanizing fluxes and flux feedstocks
EP1277849A1 (fr) * 2001-07-17 2003-01-22 Goldschmidt AG Flux pour réduire la teneur en fer d'un bain de fluxage
EP2674507A3 (fr) * 2012-06-15 2016-04-27 RAM Engineering + Anlagenbau GmbH Installation de préparation en continu de fondants contenant du fer
US10316400B1 (en) * 2017-05-11 2019-06-11 Beta Control Systems, Incorporated Systems and methods for removing impurities from galvanizing flux solution
US11091828B2 (en) 2017-05-11 2021-08-17 Beta Control Systems, Incorporated Systems for removing impurities from galvanizing flux solution
EP3530773A1 (fr) * 2018-02-23 2019-08-28 RAM Engineering + Anlagenbau GmbH Installation de préparation d'agent fondant destiné au prétraitement d'acier ainsi que procédé de fonctionnement de l'installation
WO2019162450A1 (fr) * 2018-02-23 2019-08-29 Ram Engineering + Anlagenbau Gmbh Installation de préparation de flux destinée à préparer un flux utilisé pour le prétraitement de l'acier ainsi que procédé pour faire fonctionner l'installation

Also Published As

Publication number Publication date
EP0084478A3 (en) 1983-08-24
DE3375026D1 (en) 1988-02-04
FR2520007A1 (fr) 1983-07-22
EP0084478B1 (fr) 1987-12-23
ATE31557T1 (de) 1988-01-15
FR2520007B1 (fr) 1990-11-02

Similar Documents

Publication Publication Date Title
JP3910657B2 (ja) 鋼帯亜鉛メッキ時の硫酸塩電解液を再生する設備
FR2460895A1 (fr) Agent traitant a base de scorie et son application a l'elimination des metaux lourds dissous
EP2145033B1 (fr) Installation et procede pour le traitement de solutions de decapage de bandes d'acier au silicium
EP0084478B1 (fr) Procédé de régénération en continu de bains de fluxage dans la galvanisation au trempé de pièces en acier
EP3601623B1 (fr) Procede et dispositif de refroidissement d'une bande d'acier en defilement dans une section de refroidissement d'une ligne continue
FR2565021A1 (fr) Appareil de decontamination de dechets metalliques radioactifs
FR2525637A1 (fr) Procede de traitement de pieces en metal ferreux en bain de sels oxydant, pour ameliorer leur resistance a la corrosion, les pieces contenant du soufre
CA1324481C (fr) Procede pour l'elimination rapide de l'hydrogene sulfure contenu dans le soufre liquide et systeme catalytique utilisable pour sa mise en oeuvre
KR100318084B1 (ko) 가스로 부터 수은가스를 제거하는 장치 및 방법
EP1042518B1 (fr) Lixiviation oxydante de boues contaminees contenant du fer avec separation du zinc et du plomb
FR2478126A1 (fr) Procede et installation pour le traitement des gaz de hauts fourneaux
BE1006337A3 (fr) Procede pour entretenir un bain de fluxage d'une ligne de galvanisation.
FR2660936A1 (fr) Procede de preparation de mercure metallique a partir de calomel.
EP0756582A1 (fr) Destruction des complexes cyano metalliques par la combinaison d'oxydation chimique et d'electrolyse
WO2001032804A1 (fr) Procede et dispositif de nettoyage chimique d'une surface metallique recouverte d'un depot adherent forme de produits de decomposition d'hydrocarbures
FR2746325A1 (fr) Dispositif et procede pour realiser la dissolution de metaux communs
CA2251846C (fr) Conditionnement de poudre de metal electrodeposee en milieu basique
JP2001107271A (ja) 塩化銅エッチング液電解再生システム
US1446405A (en) Process of recovering the precious metals from fixing solutions used in photography and of regenerating the fixing agent
EP1060476A1 (fr) Procede et installation de decontamination de surfaces metalliques
JPH04311588A (ja) 除銀方法
BE1007567A6 (fr) Installation d'electrodeposition.
SU793943A1 (ru) Способ очистки воды от сероводо-РОдА
JPH01171687A (ja) 含鉛廃水の処理方法
JPS5837852B2 (ja) 粗ガスの脱硫法

Legal Events

Date Code Title Description
PUAI Public reference made under article 153(3) epc to a published international application that has entered the european phase

Free format text: ORIGINAL CODE: 0009012

PUAL Search report despatched

Free format text: ORIGINAL CODE: 0009013

AK Designated contracting states

Designated state(s): AT BE CH DE GB IT LI LU NL SE

AK Designated contracting states

Designated state(s): AT BE CH DE GB IT LI LU NL SE

17P Request for examination filed

Effective date: 19840113

RAP1 Party data changed (applicant data changed or rights of an application transferred)

Owner name: ASTURIENNE FRANCE

GRAA (expected) grant

Free format text: ORIGINAL CODE: 0009210

AK Designated contracting states

Kind code of ref document: B1

Designated state(s): AT BE CH DE GB IT LI LU NL SE

REF Corresponds to:

Ref document number: 31557

Country of ref document: AT

Date of ref document: 19880115

Kind code of ref document: T

ITF It: translation for a ep patent filed
PG25 Lapsed in a contracting state [announced via postgrant information from national office to epo]

Ref country code: LU

Free format text: LAPSE BECAUSE OF NON-PAYMENT OF DUE FEES

Effective date: 19880131

Ref country code: LI

Effective date: 19880131

Ref country code: CH

Effective date: 19880131

REF Corresponds to:

Ref document number: 3375026

Country of ref document: DE

Date of ref document: 19880204

GBV Gb: ep patent (uk) treated as always having been void in accordance with gb section 77(7)/1977 [no translation filed]
REG Reference to a national code

Ref country code: CH

Ref legal event code: PL

PLBE No opposition filed within time limit

Free format text: ORIGINAL CODE: 0009261

STAA Information on the status of an ep patent application or granted ep patent

Free format text: STATUS: NO OPPOSITION FILED WITHIN TIME LIMIT

PG25 Lapsed in a contracting state [announced via postgrant information from national office to epo]

Ref country code: GB

Free format text: LAPSE BECAUSE OF NON-PAYMENT OF DUE FEES

Effective date: 19881122

26N No opposition filed
ITPR It: changes in ownership of a european patent

Owner name: FUSIONI;VIEILLE - MONTAGNE FRANCE S.A.

BECA Be: change of holder's address

Free format text: 920709 S.A. *VIEILLE-MONTAGNE FRANCE:LES MERCURIALES TOUR DU PONANT, 40 RUE JEAN-JAURES, BAGNOLET (SEINE SAINT-DENIS)

ITTA It: last paid annual fee
NLS Nl: assignments of ep-patents

Owner name: VIEILLE MONTAGNE FRANCE S.A. TE BAGNOLET, FRANKRIJ

ITPR It: changes in ownership of a european patent

Owner name: ATTO DI LICENZA D'USO;VIEILLE - MONTAGNE FRANCE S.

NLS Nl: assignments of ep-patents

Owner name: ACEC-UNION MINIERE TE CHARLEROI, BELGIE.

NLT1 Nl: modifications of names registered in virtue of documents presented to the patent office pursuant to art. 16 a, paragraph 1

Owner name: UNION-MINIERE S.A. TE CHARLEROI, BELGIE.

EAL Se: european patent in force in sweden

Ref document number: 83400049.9

PGFP Annual fee paid to national office [announced via postgrant information from national office to epo]

Ref country code: AT

Payment date: 19960111

Year of fee payment: 14

PGFP Annual fee paid to national office [announced via postgrant information from national office to epo]

Ref country code: SE

Payment date: 19960115

Year of fee payment: 14

Ref country code: BE

Payment date: 19960115

Year of fee payment: 14

PGFP Annual fee paid to national office [announced via postgrant information from national office to epo]

Ref country code: NL

Payment date: 19960123

Year of fee payment: 14

PGFP Annual fee paid to national office [announced via postgrant information from national office to epo]

Ref country code: DE

Payment date: 19960215

Year of fee payment: 14

NLUE Nl: licence registered with regard to european patents

Effective date: 19930726

PG25 Lapsed in a contracting state [announced via postgrant information from national office to epo]

Ref country code: AT

Effective date: 19970110

PG25 Lapsed in a contracting state [announced via postgrant information from national office to epo]

Ref country code: SE

Effective date: 19970111

PG25 Lapsed in a contracting state [announced via postgrant information from national office to epo]

Ref country code: BE

Effective date: 19970131

BERE Be: lapsed

Owner name: S.A. UNION MINIERE N.V.

Effective date: 19970131

PG25 Lapsed in a contracting state [announced via postgrant information from national office to epo]

Ref country code: NL

Effective date: 19970801

NLV4 Nl: lapsed or anulled due to non-payment of the annual fee

Effective date: 19970801

PG25 Lapsed in a contracting state [announced via postgrant information from national office to epo]

Ref country code: DE

Effective date: 19971001

EUG Se: european patent has lapsed

Ref document number: 83400049.9