EP0071090A1 - Thermal insulating system for refrigerating apparatus and relative realization process - Google Patents
Thermal insulating system for refrigerating apparatus and relative realization process Download PDFInfo
- Publication number
- EP0071090A1 EP0071090A1 EP82106317A EP82106317A EP0071090A1 EP 0071090 A1 EP0071090 A1 EP 0071090A1 EP 82106317 A EP82106317 A EP 82106317A EP 82106317 A EP82106317 A EP 82106317A EP 0071090 A1 EP0071090 A1 EP 0071090A1
- Authority
- EP
- European Patent Office
- Prior art keywords
- fact
- refrigerating apparatus
- insulating system
- cooling compartment
- plates
- Prior art date
- Legal status (The legal status is an assumption and is not a legal conclusion. Google has not performed a legal analysis and makes no representation as to the accuracy of the status listed.)
- Ceased
Links
- 238000000034 method Methods 0.000 title claims description 14
- 238000001816 cooling Methods 0.000 claims abstract description 23
- 239000000463 material Substances 0.000 claims abstract description 16
- 125000006850 spacer group Chemical group 0.000 claims abstract description 15
- 239000012530 fluid Substances 0.000 claims description 12
- 239000003507 refrigerant Substances 0.000 claims description 12
- 235000013305 food Nutrition 0.000 claims description 9
- 239000004519 grease Substances 0.000 claims description 7
- 229920001296 polysiloxane Polymers 0.000 claims description 6
- 229920001971 elastomer Polymers 0.000 claims description 4
- 239000004800 polyvinyl chloride Substances 0.000 claims description 2
- 229910000831 Steel Inorganic materials 0.000 claims 2
- 239000010959 steel Substances 0.000 claims 2
- 239000004793 Polystyrene Substances 0.000 claims 1
- 241000711981 Sais Species 0.000 claims 1
- GDVWDDRKKYMHKS-UHFFFAOYSA-N hepta-1,4,6-trien-3-one;styrene Chemical compound C=CC=CC(=O)C=C.C=CC1=CC=CC=C1 GDVWDDRKKYMHKS-UHFFFAOYSA-N 0.000 claims 1
- 239000003973 paint Substances 0.000 claims 1
- 238000007747 plating Methods 0.000 claims 1
- 238000005498 polishing Methods 0.000 claims 1
- 229920002223 polystyrene Polymers 0.000 claims 1
- 239000011810 insulating material Substances 0.000 abstract description 3
- 238000009413 insulation Methods 0.000 description 7
- 235000013611 frozen food Nutrition 0.000 description 3
- 230000005855 radiation Effects 0.000 description 3
- KAKZBPTYRLMSJV-UHFFFAOYSA-N Butadiene Chemical compound C=CC=C KAKZBPTYRLMSJV-UHFFFAOYSA-N 0.000 description 2
- 229920005830 Polyurethane Foam Polymers 0.000 description 2
- 238000010276 construction Methods 0.000 description 2
- 238000007710 freezing Methods 0.000 description 2
- 230000008014 freezing Effects 0.000 description 2
- 238000003780 insertion Methods 0.000 description 2
- 230000037431 insertion Effects 0.000 description 2
- 238000004519 manufacturing process Methods 0.000 description 2
- 239000011496 polyurethane foam Substances 0.000 description 2
- 229910001220 stainless steel Inorganic materials 0.000 description 2
- 239000010935 stainless steel Substances 0.000 description 2
- 230000032683 aging Effects 0.000 description 1
- 230000015572 biosynthetic process Effects 0.000 description 1
- 239000011248 coating agent Substances 0.000 description 1
- 238000000576 coating method Methods 0.000 description 1
- 230000000593 degrading effect Effects 0.000 description 1
- 239000006185 dispersion Substances 0.000 description 1
- 230000000694 effects Effects 0.000 description 1
- 239000012212 insulator Substances 0.000 description 1
- 238000012423 maintenance Methods 0.000 description 1
- 238000004321 preservation Methods 0.000 description 1
- 238000009877 rendering Methods 0.000 description 1
Images
Classifications
-
- F—MECHANICAL ENGINEERING; LIGHTING; HEATING; WEAPONS; BLASTING
- F25—REFRIGERATION OR COOLING; COMBINED HEATING AND REFRIGERATION SYSTEMS; HEAT PUMP SYSTEMS; MANUFACTURE OR STORAGE OF ICE; LIQUEFACTION SOLIDIFICATION OF GASES
- F25D—REFRIGERATORS; COLD ROOMS; ICE-BOXES; COOLING OR FREEZING APPARATUS NOT OTHERWISE PROVIDED FOR
- F25D23/00—General constructional features
- F25D23/06—Walls
- F25D23/062—Walls defining a cabinet
-
- F—MECHANICAL ENGINEERING; LIGHTING; HEATING; WEAPONS; BLASTING
- F25—REFRIGERATION OR COOLING; COMBINED HEATING AND REFRIGERATION SYSTEMS; HEAT PUMP SYSTEMS; MANUFACTURE OR STORAGE OF ICE; LIQUEFACTION SOLIDIFICATION OF GASES
- F25D—REFRIGERATORS; COLD ROOMS; ICE-BOXES; COOLING OR FREEZING APPARATUS NOT OTHERWISE PROVIDED FOR
- F25D2201/00—Insulation
- F25D2201/10—Insulation with respect to heat
- F25D2201/14—Insulation with respect to heat using subatmospheric pressure
Definitions
- the present invention relates to a thermal insulating system and relative realization process for a refrigerating apparatus, comprising a compressor for compressing the refrigerant fluid, a condenser for condensing the refrigerant fluid coming from the compressor, means for expanding the refrigerant fluid coming from the condenser and for supplying it to at least one evaporator means, a return duct connecting the outlet of the evaporator means to the inlet of the compressor and at least one cooling compartment containing the evaporator means.
- a refrigerating apparatus in particular a freezer, has substantially two distinct operating phases; a freezing phase (when fresh foods are introduced to be frozen), and a preservation phase (when the foods have been brought down to the required temperature at which they must remain).
- a freezing phase when fresh foods are introduced to be frozen
- a preservation phase when the foods have been brought down to the required temperature at which they must remain.
- This loss is directly proportional to the temperature difference existing between the cooling compartment and the external environment, and inversely proportional to the therman resistance of the walls; for example in a freezer or in the freezing compartment of a combined or double-door refrigerator apparatus (which can reach -25 o C ) in the worst ambient conditions envusaged (32 0 C) there is a temperature jumpof 57°C, and even between the fresh food compartment of a refrigerator apparatus (which can reach temperatures of about Q°C) and the external environment in tropical climates (which can rewch 40-45 o C) there is a temperature difference of 40-45°C.
- the object of the present invention is to overcome the above mentioned disadvantages and provide an insulating system for the walls of the refrigerating apparatus which will ensure a significant reduction of the losses of cold, and consequantly a significant saving of energy during operation, and which will also be reliable and will not alter its effectiveness over a long period of time.
- a further object of the present invention is to indicate a process for the industrial realization of the said system which will be relativaly simple and economical so as to allow to be utilized for mass-production.
- an insulating system for a refrigerating apparatus comprising a compressor for compressing the refrigerant fluid, a condenser for condensing the refrigerant fluid coming from the compressor, means for expanding the refrigerant fluid and for supplying it to at least one evaporator means, a return duct connecting the outlet of the evaporator means with the inlet of the compressor and at least one cooling compartment containing the evaporator means, characterized by the fact that at least one of the walls of the cooling compartmente is constituted by two plates of air-impermeable material (11, 16) maintained substantially parallel to one another and whose facing walls are specularly reflecting, and by a seal (14) which is also air-impermeable and which, together with the two plates (11, 16) forms a cavity in which a vacuum is formed to increase the thermal resistance of the wall and thus allow an improved conservation of cold within the cooling compartment itself.
- a removable freezer compartment 20 which also includes two side walls 1' (Fig. 4) which form a hollow parallelepiped within the cavity of which there has been formed a vacuum 1/10 - 1/100 tor (the way this cavity is formed will be described in more detail in Fig. 3), an upper back wall 2, which forms part of the freezer compartment 20 itself, filled with molded high density insulating material, an upper evaporator plate 3 rigidly connected to the upper back wall 2, an upper door 4 thermally insulated in a known way.
- a fresh food cooling compartment 21 comprising a lower door 5 also thermally insulated in a known way, a lower evaporator plate 6, a lower back wall 10 which allows the insertion of the lower evaporator plate 6 into the compartment 21 and is also filled with molded high density insulating material and upper, lower and back sidewalls 9for the compartment 21 which are filled with polyurethane foam.
- a molded high density material has been used because it has a thermal resiatance approximately equal to that of a polyurethane foam, so as not to create in the walls of the refrigerator apparatus zones of discontinuity of insulation.
- FIG. 2 which represents an axonometric projection of the same refrigerator apparatus as shown in F ig. 1, there are shown, for the sake of clarity, only some of the components shown in Fig. 1, which are indicated by the same reference numerals as in Fig. 1.
- an outer plate 11 formed by a welded stainless steel sheet having a thickness of about 1,5 mm, whose outer face is painted and the inner face is chromium-plated to make it reflecting, an inner plate 16 positioned at a distance of about 15-20 mm from the outer plate 11, formed from a welded stainless steel sheet having a thickness of about 1,5 mm; whose outer face is painted and the inner face is chromium-plated to make it reflecting; the two plates 11 and 16 are shaped in such a way as to form a hollow parallelepiped; a hard closed cell rubber seal 14 having on the inner side two grooves 24 in which there is first spread silicone grease and into which the two and edges of the two plates 11 and 16 are then inserted, an evacuating tube 13 inserted into outer plate 11 and communicating with the cavity between the two plates 11 and 16 which serves to suck the air contained in the cavity and create the
- the process for assembling the freezer cell 20 described in relation to Fig. 3 is clearly apparent also from a study of the Fig. 2.
- the compartment is assembled separately and is then positioned in the refrigerator apparatus in such a way that it may eventuallybe easily removed and replaced by the technical service personnel.
- a suction pump is connected to the evacuation tube 13 and the suction of air commences.
- the use of the silicone grease which has been spread into the grooves 24 of the seal 14 is indispensable because if the grease were not there the air would enter the cavity through the empty spaces wing to the imperfect contact between the two plates 11 and 16 and the seal 14, and the air which would be drawn from the cavity would enter from said empty spaces, thus preventing the formation of the vacuum.
- the suction is continued until a degree of vacuum of 1/10 1/100 tor has been reached, and at this point (with the suction pump still working) the evacuating tube 13 is throttled a,d hermetically closed.
- the spacer grid 12 is indispensable because otherwise the two plates 11 and 16, because of the external pressure, could even flex into contact with one another annulling the effects of the insulation due to the vacuum.
- This necessity carries with it the disadvantage that a certain quantity of cold is dispersed by conduction through the said spacer grid 12, so that to minimize these losses the meshes of the said grid are very wide, the material of which it is made is an excellent insulator, and moreover the profile which comes into contact with the two plates 11 and 16 is given a pointed shape such as to minimize ths said contact area.
- Figures from 6 to 9 show.in more detail thz process of realization of the thermal insulating system according to the present invention.
- an outer structure 30 made of plate (Fig. 6), in the form of a parallelepiped with the ends open, which forms the outer plate 11 shown in Fig. 3,and which is conveniently positioned in a respective mounting equipment comprising for example (Fig. 10) four centering rollers 50, fixed on a base 52, on which there is formed a housing for a seal 14, and bearing on each of the four outer sides of the structure 30.
- an inner structure 31 made of plate also positionedby means of four centering rollers 51 inserted in its interior, on each side, and having the form of a parallelepiped with the ends open which forms the inner plate 16 shown in Fig. 3.
- the spacer grid 12 which in Fig. 7 is shown as being composed of four portions 33 of equal shape, also formed by meshes crossed at right angles and also made of the same materials as already defined for the grid 12.
- the teeth 25' which project from the portions 33 and which come into contact with the structures 30 and 31 are preferable defined by a profile forming an angle of 120°. In this way the area of contact between the grid 12 and the structures 30 and 31 is very much reduced, by about 90%, and consequently there is obtained a reduction of the quantity of cold dispersed because of the conduction through the said grid 12.
- each portion 33 is rectangular (or square) when seen in plan,with a substantially rectangular plane end wall 36 whose perimeter is defined by a plane section 37 on a smaller side, a plane section 38 on a larger side from which a plurality of teeth 25' originate towarts the outside, the first of which in the direction towards the plane section 37defines abeveled section 40, opposed to the section 37, and a plane section 41 provided with the teeth 25', opposed to the section 38; towards the end situated near the section 37 section 41 forms a plane step 42 projecting towards the outside.
- Sections 37 and 40 are then connected to the respective sections at the other end of the portions 33, 43 and 44 by means of plane walls 43 and 44,respectively.
- the bearing of the plane surface walls 43 on the structure 30 does not deteriorate the thermal insulation between the structures 30 and 31, because the bearing of the portions 33 on the structure 31 takes place only by means of the teeth 25'.
- the seal 14 is applied also to the upper end of the gap between the structures 30 and 31, with the important modalities already described hereinabove, i.e. with the use of the silicone grease spread into the grooves 24 of the seal 14.
- the vacuum is then created within the gap, as already described hereinabove, and with the described configurationof the grid 12 provided with the pointed teeth 25' (Fig. 9) a deformation towards the interior of the gap of the structures 30 and 31 (of about 0,5 0,3 mm), so that the teeth 25' engage the inner surface of the structures 30 and 31.
- This engagement ensures a stability of positioning of the grid 12 within the gap between the structures 30 and 31, thus allowing to maintain the relative and parallel position between the structures 30 and 31 and, consequently, a constant positioning of the sels 14 against the edges of the structures 30 and 31, which ensures the keeping of the degree of vacuum created within the gap itself.
- the seal 14 abuts agains the plane end walls of the portions 33.
- the inner walls can be chromium-plated or polished or painted by alluminizing or other similar technological processes.
- the refrigerator apparatus Since the average life of a refrigerator should be":at least 10-15 years, and since it is possible that with the ageing of the materials air molecules will enter the cavity between the two plates 11 and 16 degrading the vacuum which has been formed in it, it may be envisaged to provide the refrigerator apparatus with an instrument for measuring the degree of vacuum and to provide the evacuating tube 13 with a valve accessible from the outside, in such a way that should the degree of vacuum become degraded to less than an optimum value it can be easily renewed, possible during a maintenance operation performed on the apparatus.
- the freezer compartment 20constructed in one of the ways mentioned hereinabove is then mounted on the refrigerator apparatus; from the side having the fixing bracket 15 the are inserted into the apparatus the upper evaporator 3 and upper back wall 2, which are rigidly conneted to one another, until a perfect contact between the said upper back wall 2 and the seal 14 of the freezer compartment is obtained; from the opposite side the upper door 4 is introduced in such a way as to obtain a perfect contacto also between this latter and the seal 14 (by means of the coating wall 23).
- the mounting of the upper back wall 2 and of the upper door 4 is carried out in such a way the freezer compartment 20 can be easily removed and replaced in the event of the vacuum contained therein being degraded to below a level which would no more ensure a good degree of insulation.
- the number of insulating walls obtained by using the technique described can be increased to obtain an improvement in the insulation or can be reduced depending on the objective which it is intended to achieve;
- the wall which separates the freezer compartment 20 of a combined or double door refrigerator from the fresh food compartment 21 can - be insulated by known methods or can even be insulated by rendering less efficient the usual insulation for the purpose of supplying cold from the freezer compartment 20 to the fresh food compartment 21.
Landscapes
- Engineering & Computer Science (AREA)
- Chemical & Material Sciences (AREA)
- Combustion & Propulsion (AREA)
- Physics & Mathematics (AREA)
- Mechanical Engineering (AREA)
- Thermal Sciences (AREA)
- General Engineering & Computer Science (AREA)
- Refrigerator Housings (AREA)
Abstract
An insulating system for a refrigerating apparatus is described in which the side wall (1'), the upper wall (1) and the lower wall (1) of the cooling compartment (20, 21) are formed by two plates of air-impermeable material (11, 16,30, 31) parallel to one another and with their facing surfaces made reflecting, and by a seal (14) which is also impermeable to air, which together form a cavity which is in the form of a hollow parallelepiped and in which a certain degree of vacuum is created.
The two plates (11, 16, 30, 31) are held apart and parallel to one another by a grid (12, 33) of thermally insulating material, the profile of which is shaped in such a way that the surface of contact between the said spacer grid (12, 33) and the said two plates of air-impermeable material (11, 16, 30, 31) results in being as small as possible.
Description
- The present invention relates to a thermal insulating system and relative realization process for a refrigerating apparatus, comprising a compressor for compressing the refrigerant fluid, a condenser for condensing the refrigerant fluid coming from the compressor, means for expanding the refrigerant fluid coming from the condenser and for supplying it to at least one evaporator means, a return duct connecting the outlet of the evaporator means to the inlet of the compressor and at least one cooling compartment containing the evaporator means.
- It is known that a refrigerating apparatus, in particular a freezer, has substantially two distinct operating phases; a freezing phase (when fresh foods are introduced to be frozen), and a preservation phase (when the foods have been brought down to the required temperature at which they must remain). Clearly, if the said refrigerating apparatus had perfect insulation there would be no dispersion of cold towards the external environment and the cold to be recovered, in this second phase, would only be that dispersed during opening of the door of the refrigerating apparatus.
- In reality, the walls of the known refrigerating apparatus are not thermally insulating at all, and so a good deal of the cold is dispersed through them.
- This loss is directly proportional to the temperature difference existing between the cooling compartment and the external environment, and inversely proportional to the therman resistance of the walls; for example in a freezer or in the freezing compartment of a combined or double-door refrigerator apparatus (which can reach -25o C) in the worst ambient conditions envusaged (320C) there is a
temperature jumpof 57°C, and even between the fresh food compartment of a refrigerator apparatus (which can reach temperatures of about Q°C) and the external environment in tropical climates (which can rewch 40-45oC) there is a temperature difference of 40-45°C. - On the other hand, taking into consideration the fact that the major part of the cold dispersed in a refrigerator apparatus, when its door is closed, is dispersed through the truc- walls, and the structural supports for these walls, whilst the remaining part is dispersed through the rubber seals positioned between the cupboard and the door of the refrigerator apparatus, and through the small gaps which inevitably remain between the cupboard of the apparatus and the rubber seals, one can conclude that if energy saving is desired, it is necessary to reduce as much as possible the thermal conductivity of the walls and to improve the seals of the refrigerating apparatus.
- But as already mentioned, the major part of the cold is dispersed through the walls and the structural supports of the refrigerator apparatus, so that it is the said walls which need to be made as insulating as possible.
- It is also known that the heat is transmitted by conduction, convection and radiation, and that the type of wall which offers the greatest thermal resistance and which conserves heat (or cold) better than any other, is that formed by two specularly facing surfaces between which a vacuum has been formed, and minimizes the losses due to conduction, convection and radiation.
- It is also known that it is not easy to obtain the vacuum, and maintain it for a long time, even if it is not high; and this is the case especially of containers which are not made in one piece and which may even be made of materials of different natures.
- Therefore, the object of the present invention is to overcome the above mentioned disadvantages and provide an insulating system for the walls of the refrigerating apparatus which will ensure a significant reduction of the losses of cold, and consequantly a significant saving of energy during operation, and which will also be reliable and will not alter its effectiveness over a long period of time.
- A further object of the present invention is to indicate a process for the industrial realization of the said system which will be relativaly simple and economical so as to allow to be utilized for mass-production.
- To achieve these objects the subject of the present invention is an insulating system for a refrigerating apparatus comprising a compressor for compressing the refrigerant fluid, a condenser for condensing the refrigerant fluid coming from the compressor, means for expanding the refrigerant fluid and for supplying it to at least one evaporator means, a return duct connecting the outlet of the evaporator means with the inlet of the compressor and at least one cooling compartment containing the evaporator means, characterized by the fact that at least one of the walls of the cooling compartmente is constituted by two plates of air-impermeable material (11, 16) maintained substantially parallel to one another and whose facing walls are specularly reflecting, and by a seal (14) which is also air-impermeable and which, together with the two plates (11, 16) forms a cavity in which a vacuum is formed to increase the thermal resistance of the wall and thus allow an improved conservation of cold within the cooling compartment itself.
- Further objects and advantages of the present invention will become clearly apparent from the detailed description which follows and from the attached drawings given purely by way of explanatory and non-limiting example, in which:
- Fig. 1 is a diagrammatic sectional side view of a combined or two-door refrigerator apparatus the frozen food compartment of which is provided with an insulating system forming the subject of the present invention;
- Fig. 2 is a diagrammatic cross-sectional view of the same refrigerator apparatus shown in Fig. 1, but in axonometric projection;
- Fig. 3 is a perspective view of a constructional detail of the type of walls used in the insulating system forming the subject of the present invention;
- Figures 4 and 5 are two horizontal-sections of the refrigerator apparatus along line IV-IV (at the height of the frozen food compartment) and V-V (at the hehght of the fresh food compartment), respectively;
- Figures 6 and 7 are perspective views showing a frozen food compartment in two phases of the process of realization of the system forming the subject of the present invention;
- Fig. 8 is a sectional view of a portion of the compartment shown in Fig. 7, along line VIII-VIII, in a successive phase of the process of realizazion:
- Fig. 9 shows a portion of the compartment according to the present invention in a final-phase of realization; and
- Fig. 10 is a sectional side view showing showing a phase of the realization process which is intermediate between the phases of Figures 6 and 7.
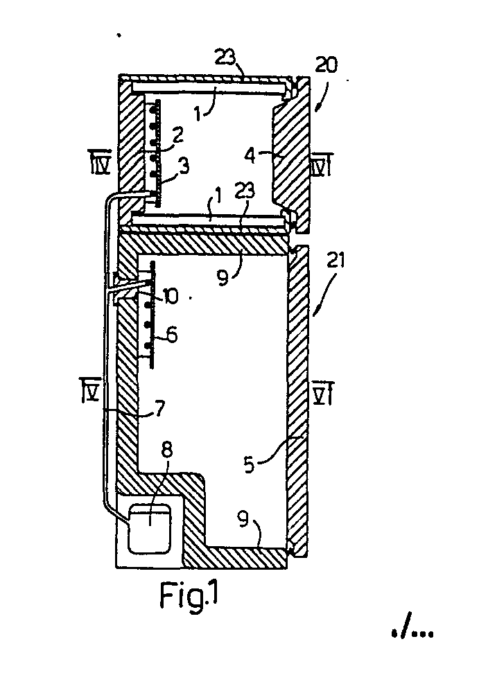
- With reference to Fig. 1, there can be seen the upper and lower walls1 of a
removable freezer compartment 20 which also includes two side walls 1' (Fig. 4) which form a hollow parallelepiped within the cavity of which there has been formed avacuum 1/10 - 1/100 tor (the way this cavity is formed will be described in more detail in Fig. 3), an upper back wall 2, which forms part of thefreezer compartment 20 itself, filled with molded high density insulating material, an upper evaporator plate 3 rigidly connected to the upper back wall 2, an upper door 4 thermally insulated in a known way. Thewalls 1 and 1' of thefreezer compartment 20 are thus coated by a wall 23.Disposed below thefreezer compartment 20 is a freshfood cooling compartment 21 comprising a lower door 5 also thermally insulated in a known way, alower evaporator plate 6, alower back wall 10 which allows the insertion of thelower evaporator plate 6 into thecompartment 21 and is also filled with molded high density insulating material and upper, lower and back sidewalls 9for thecompartment 21 which are filled with polyurethane foam. - For the two upper and
lower back walls 1 and 10 a molded high density material has been used because it has a thermal resiatance approximately equal to that of a polyurethane foam, so as not to create in the walls of the refrigerator apparatus zones of discontinuity of insulation. - With reference to Fig. 2 which represents an axonometric projection of the same refrigerator apparatus as shown in Fig. 1, there are shown, for the sake of clarity, only some of the components shown in Fig. 1, which are indicated by the same reference numerals as in Fig. 1.
- From Fig. 2 it will be better understood how the insulating system forming the subjecy of the present invention is composed, and the assembly procedure used for the production of the refrigerator apparatus.
- With reference to Fig. 3 showing the structure of a cooling compartment (in particular that of the freezer compartment 20) of a refrigerator apparatus according to the present invention, there can be seen an
outer plate 11 formed by a welded stainless steel sheet having a thickness of about 1,5 mm, whose outer face is painted and the inner face is chromium-plated to make it reflecting, aninner plate 16 positioned at a distance of about 15-20 mm from theouter plate 11, formed from a welded stainless steel sheet having a thickness of about 1,5 mm; whose outer face is painted and the inner face is chromium-plated to make it reflecting; the two 11 and 16 are shaped in such a way as to form a hollow parallelepiped; a hard closedplates cell rubber seal 14 having on the inner side twogrooves 24 in which there is first spread silicone grease and into which the two and edges of the two 11 and 16 are then inserted, an evacuatingplates tube 13 inserted intoouter plate 11 and communicating with the cavity between the two 11 and 16 which serves to suck the air contained in the cavity and create the vacuum, aplates spacer grid 12 of polystirene, acrilnitrile butadiene srtyrene (ABS) or polyvinyl chloride (PVC), having very wide meshed crossed at right angles, positioned in the cavity between the two 11 and 16 to prevent theplates outer plate 11 and theinner plate 16 from flexing due to the external pressure when the vacuum is formed therein, and proovided along its profile with pointed teeth 25' which are triangular in shape and have such dimensions that the surface of contact between thesaid spacer grid 12 and the two 11 and 16 is extremely reduced relative to the facing surface of theplates said spacer grid 12. Fixed to theinner plate 16 of thesidewalls 1* is afixing bracket 15 for fixing within thecompartment 20 the upper evaporator plate 3and the upper back wall 2 which are rigidly connected together. - The process for assembling the
freezer cell 20 described in relation to Fig. 3 is clearly apparent also from a study of the Fig. 2. The compartment is assembled separately and is then positioned in the refrigerator apparatus in such a way that it may eventuallybe easily removed and replaced by the technical service personnel. - As far as the construction of the
true compartment 20 is concerned, after having arranged the various elements as shown in Fig. 3 and will be described more in detail later, a suction pump is connected to theevacuation tube 13 and the suction of air commences. - In this phase, the use of the silicone grease which has been spread into the
grooves 24 of theseal 14 is indispensable because if the grease were not there the air would enter the cavity through the empty spaces wing to the imperfect contact between the two 11 and 16 and theplates seal 14, and the air which would be drawn from the cavity would enter from said empty spaces, thus preventing the formation of the vacuum. - The presence of the silicone grease; on the other hand, ensures that the said empty spaces are reduced to the minimum and very little air enters the cavity, so that it is possible to "prime the vacuum": i.e. a depression commences to form in the said cavity, so that the exeternal pressure presses the
seal 14 against the ends of the two 11 and 16, thus allowing s perfect seal to be formed.plates - The suction is continued until a degree of vacuum of 1/10 1/100 tor has been reached, and at this point (with the suction pump still working) the evacuating
tube 13 is throttled a,d hermetically closed. - It is not necessary to have a higher vacuum because the loss of cold due to other causes renders it superfluos.
- It is to be noted that the
spacer grid 12 is indispensable because otherwise the two 11 and 16, because of the external pressure, could even flex into contact with one another annulling the effects of the insulation due to the vacuum. This necessity, however, carries with it the disadvantage that a certain quantity of cold is dispersed by conduction through the saidplates spacer grid 12, so that to minimize these losses the meshes of the said grid are very wide, the material of which it is made is an excellent insulator, and moreover the profile which comes into contact with the two 11 and 16 is given a pointed shape such as to minimize ths said contact area. As has already been said previously, Figures from 6 to 9 show.in more detail thz process of realization of the thermal insulating system according to the present invention.plates - In fact, one starts from an
outer structure 30 made of plate (Fig. 6), in the form of a parallelepiped with the ends open, which forms theouter plate 11 shown in Fig. 3,and which is conveniently positioned in a respective mounting equipment comprising for example (Fig. 10) fourcentering rollers 50, fixed on abase 52, on which there is formed a housing for aseal 14, and bearing on each of the four outer sides of thestructure 30. Into said.structure 30 there -is inserted aninner structure 31 made of plate, also positionedby means of fourcentering rollers 51 inserted in its interior, on each side, and having the form of a parallelepiped with the ends open which forms theinner plate 16 shown in Fig. 3. Into the gap between the two 30 and 31 there is then introduced thestructures spacer grid 12 which in Fig. 7 is shown as being composed of fourportions 33 of equal shape, also formed by meshes crossed at right angles and also made of the same materials as already defined for thegrid 12. The teeth 25' which project from theportions 33 and which come into contact with the 30 and 31 are preferable defined by a profile forming an angle of 120°. In this way the area of contact between thestructures grid 12 and the 30 and 31 is very much reduced, by about 90%, and consequently there is obtained a reduction of the quantity of cold dispersed because of the conduction through the saidstructures grid 12. - As can be seen in Fig. 7, each
portion 33 is rectangular (or square) when seen in plan,with a substantially rectangularplane end wall 36 whose perimeter is defined by aplane section 37 on a smaller side, a plane section 38 on a larger side from which a plurality of teeth 25' originate towarts the outside, the first of which in the direction towards the plane section 37defines abeveledsection 40, opposed to thesection 37, and aplane section 41 provided with the teeth 25', opposed to the section 38; towards the end situated near thesection 37section 41 forms aplane step 42 projecting towards the outside. -
37 and 40 are then connected to the respective sections at the other end of theSections 33, 43 and 44 by means ofportions 43 and 44,respectively.plane walls - During the mounting into the gap between the
30 and 31 thestructures walls 43 rest on the inner surface of thestructure 30 and thewalls 44 of eachportion 33 rest on thesteps 42 of thecontiguous portions 33; the assembly of theportions 33, besides having advantageous characteristics of modularity, thanks to the described bearings of the various sections, forms acompact grid 12, with a stable positioning both reciprocally and thanks to the bearing onto thestructure 30. - Anyhow, the bearing of the
plane surface walls 43 on thestructure 30 does not deteriorate the thermal insulation between the 30 and 31, because the bearing of thestructures portions 33 on thestructure 31 takes place only by means of the teeth 25'. - It is to be note also that the insertion of the
portions 33 into the gap between the 30 and 31 is easy, because the thickness of the said gap is by about 1 mm larger than the height of thestructures portions 33. It is pointed out that with the use of the 50 and 51 it is very easy to position thecentering rollers 30 and 31 in such a way as to obtain the exact distance between thestructures 11 and 16, with a precision higher thanplates . - Subsequently, as shown in Fig. 8, the
seal 14 is applied also to the upper end of the gap between the 30 and 31, with the important modalities already described hereinabove, i.e. with the use of the silicone grease spread into thestructures grooves 24 of theseal 14. The vacuum is then created within the gap, as already described hereinabove, and with the described configurationof thegrid 12 provided with the pointed teeth 25' (Fig. 9) a deformation towards the interior of the gap of thestructures 30 and 31 (of about 0,5 0,3 mm), so that the teeth 25' engage the inner surface of the 30 and 31. This engagement ensures a stability of positioning of thestructures grid 12 within the gap between the 30 and 31, thus allowing to maintain the relative and parallel position between thestructures 30 and 31 and, consequently, a constant positioning of thestructures sels 14 against the edges of the 30 and 31, which ensures the keeping of the degree of vacuum created within the gap itself. In addition, thestructures seal 14 abuts agains the plane end walls of theportions 33. - Finally, it is to be noted that if the structure of the
spacer grid 12, its shaped and the material of which it is made minimize the cold lost by conduction, that if the vacuum reduces to the minimum the cold lost by convection, to minimize the losses due to radiation the inner walls of the two 11 and 16 are positioned parallel to one another and made specularly reflecting.plates - To obtain such specularity the inner walls can be chromium-plated or polished or painted by alluminizing or other similar technological processes.
- Since the average life of a refrigerator should be":at least 10-15 years, and since it is possible that with the ageing of the materials air molecules will enter the cavity between the two
11 and 16 degrading the vacuum which has been formed in it, it may be envisaged to provide the refrigerator apparatus with an instrument for measuring the degree of vacuum and to provide the evacuatingplates tube 13 with a valve accessible from the outside, in such a way that should the degree of vacuum become degraded to less than an optimum value it can be easily renewed, possible during a maintenance operation performed on the apparatus. - Turning to the manner of assembly of the complete apparatus, with reference also to Fig. 2 it can be said that the freezer compartment 20constructed in one of the ways mentioned hereinabove is then mounted on the refrigerator apparatus; from the side having the
fixing bracket 15 the are inserted into the apparatus the upper evaporator 3 and upper back wall 2, which are rigidly conneted to one another, until a perfect contact between the said upper back wall 2 and theseal 14 of the freezer compartment is obtained; from the opposite side the upper door 4 is introduced in such a way as to obtain a perfect contacto also between this latter and the seal 14 (by means of the coating wall 23). - The mounting of the upper back wall 2 and of the upper door 4 is carried out in such a way the
freezer compartment 20 can be easily removed and replaced in the event of the vacuum contained therein being degraded to below a level which would no more ensure a good degree of insulation. - Should it be desirable to use the same insulating system, forming the subject of the present invention, also for the
fresh food compartment 21, the way of assembling said system would be entirely similar to that just outlined. - From the above description the advantages of the insulating system for a refrigerator apparatus, forming the subject of the present invention, will be clear.
- In particular, these advantages are represented by the possibility of obtaining a significant saving of energy in the use of a refrigerating apparatus, in particular a freezer or the freezer compartment of a combined or double door refrigerator, by the use of technical means which allows a significant reduction of the losses through the walls of the apparatus itself, and with a very simple and relatively economical construction system.
- It is clear that numerous other variations may be made to the insulating system described by way of example, without departing from the scope of the principles of novelty inherent in the inventive idea.
- For example, the number of insulating walls obtained by using the technique described can be increased to obtain an improvement in the insulation or can be reduced depending on the objective which it is intended to achieve; among the possible solutions, the wall which separates the
freezer compartment 20 of a combined or double door refrigerator from thefresh food compartment 21 can - be insulated by known methods or can even be insulated by rendering less efficient the usual insulation for the purpose of supplying cold from thefreezer compartment 20 to thefresh food compartment 21.
Claims (30)
1. A thermal insulating system for a refrigerating apparatus comprising a compressor for compressing the refrigerant fluid, a condenser for condensing the refrigerant fluid coming from the compressor, means for expanding the refrigerant fluid coming from the condenser and for supplying it to at least one evaporator means, a return duct connecting the outlet of the evaporator means with the inlet of the compressor and at least one cooling compartment containing the evaporator means, characterized by the fact that at least one of the walls of the:cooling compartment is constituted by two plates of air-impermeable material (11, 16) maintained substantially parallel to one another and whose facing walls are specularly reflecting, and by a seal(14) which is also air-impermeable and which, together with the two plates (11, 16), forms a cavity in which a vacuum is formed for the purpose of increasing the thermal resistance of the wall and therefore allowing an improved conservation of cold within the cooling compartment itself.
2. An insulating system for a refrigerating apparatus according to Claim 1, characterized by the facto.that the walls are four and are disposed in such a way as to forma a hollow parallelepiped the interior of which constitutes the available space of the cooling compartment.
3. An insulating system for a refrigerating apparatus according to Claim 2, characterized by the fact that the said cooling compartment is completed by a back wall fitted to the said hollow parallelepiped, thermally insulated-by using a material of high thermal resistance,. and by a door which is also thermally insulated by means of a material having a high thermal resistance.
4. An insulating system for a refrigerating apparatus according to Claim 1, characterized by the fact that the said plates (11, 16) of air-impermeable material are made of steel.
5. An insulating system for a refrigerating apparatus according to Claims 1 and 4, characterized by the fact the facing walls of the said steel plates (11, 16) are rendered reflecting particularly by chromium-plating or polishing or alluminizing paint.
6. An insulating system for a refrigerating apparatus according to Claim 1, characterized by the fact that the said plates (11, 16) of air-impermeable material are maintened parallel to one another by thermally insulating support means.
7. An insulating system for a refrigerating apparatus according to Claim 6, characterized by the fact that the said thermally insulating support means are formed by a spacer grid (12).
8. An insulating system for a refrigerating apparatus according to Claim 7, characterized by the fact that the said spacer grid (12) is provided, along the profile which comes into contact with the said plates of air-impermeable material (11, 16), with teeth (15') which substantially reduce the area of contact between the said spacer grid (12) and the said plates of air-impermeable material (11, 16).
9.- An insulating system for a refrigerating apparatus according to Claim 8, characterized by the fact that the said teeth (25') are pointed in shape.
10. An insulating system for a refrigerating apparatus according to Claim 9, characterized by the fact that the said teeth '25') are defined by a profile Which forms an angle of about 120 .
11. An insulating system for a refrigerating apparatus according to one of the Claims from 7 to 10,characterized by the fact that the height of the said grid (12) is smaller than the height of the gap between the said plates (11,16) into which it is inserted.
13. An insulating system for a refrigerator apparatus according to Claim 12, characterized by the fact that each of the said portions (33), seen in plan, is rectangular or square.
14. An insulating system for a refrigerating apparatus according to Claim 13, characterized by the fact that the said portions (33) are four.
15. An insulating system for a refrigerating apparatus according to Claims 13 and 14, characterized by the fact that the said portions (33) are provided with sections (40, 42) for the reciprocal rest of contiguous portions and with sections (37) for a relatively extended rest on only one (11) of the said plates.
16. An insulating system for a refrigerating apparatus according to one of the Claims frcm 7 to 15, characterized by the fact that the sais spacer grid (12) is made of polystyrene.
17. An insulating system for a refrigerating apparatus according to one of the Clails from 7 to 15, characterized by the fact that the said spacer grid (12) is made of acryl butadiene styrene (ABS).
18. An insulating system for a refrigerating apparatus according to one of the Claims from 7 to 15, characterized by the fact that the said spacer grid (12) is made of charged polyvinyl chloride (PVC).
19. An insulating system for a refrigerating apparatus according to one of the preceding Claims, characterized by the fact that the said cooling compartment is the cooling compartment of a freezer.
20. An insulating system for a refrigerator apparatus according to one of the preceding Claims, characterized by the fact that the said cooling compartment is the freezer compartment (20) of a combined refrigerator.
21. An insulating system for a refrigerating apparatus according to one of the preceding Claims, characterized by the fact that the said cooling compartment (20) is the freezer compartment (22) of a two-door refrigerator.
22.- An insulating system for a refrigerating apparatus according to one of the preceding Claims, characterized by the fact that the said cooling compartment is the fresh food cooling compartment (21) of a refrigerator.
23. An insulating system for a refrigerating apparatus according to one of the preceding. Claims, characterized by the fact that the said seal (14) is made of hard; closed-cell rubber.
24. An.insulating system for a refrigerating apparatus according to Claim 23, characterized by the fact that the said seal (14) has grooves (24) which are spread with silicone grease to improve the air-impermeability thereof.
25. An insulating system for a refrigerating apparatus according to one of the preceding Claims, characterized by the fact that in one of the said two air-impermeable plates (11, 16) there is inserted an evacuation tube (13) which after the evacuation operation is hermetically closed.
26. An insulating system for a refrigerating apparatus according to Claim 25, characterized by the fact that at the end of the said evacuation tube (13) there is located a valve accessible from the exterior of-the said refrigerating apparatus in such a way as to allow restoring the vacuum if it should become degraded.
27. An insulating system for a refrigerating apparatus according to Claims 1 and 2, characterized by the fact that the said cooling compartment in the form of a hollow parallelepiped is positioned on the refrigerating apparatus, by the fact that on the side on which it is provided with w fixing bracket (15) there are inserted into the apparatus an upper evaporator (3) and an upper back wall (2) until a perfect contact between the said upper back wall (2) and the said seal (14) is obtained, and by the fact that from the opposite side an upper door (4) is inserted into the apparatus in such a way that also between the upper door (4) and the said seal (14) there is a perfect contact.
28. A process for the realization of a thermal insulating system for a refrigerating apparatus comprising a compressor for compressing the refrigerant fluid, a condenser for condensing the refrigerant fluid coming from the compressor, means for expanding the refrigerant fluid coming from the condenser and supplying it to at least one evaporator means, a return duct which connects the outlet of the evaporator means with the inlet of the compressor and at least one cooling compartment containing the evaporator means, characterized by the fact that it comprises a first phase of relative positioning of an outer structure (30) and an inner structure (31) in the form of a hollow parallelepiped open at the ends and forming a thermal insulating gap for the said cooling compartment, a second phase of introduction of a thermally insulating support means (12) into the said gap; a third phase of complete application of two seals (14), provided with grooves (24), onto the respective end edges of the said outer and inner structures (39, 31), into the said grooves (24) there having been previously introduced silicone grease; and a fourth phase for creating a vacuum in the said gap.
29. A processaccording to Claim 28, characterized by the fact that in the said first phase the said outet and inner structures (30, 31) are reciprocally positioned by means of a respective double plurality of positioning rollers (50, 51).
30. A process according to Claims 28 and 29, characterized by the fact that it is applied t0 a thermal insulating system for a refrigerating apparatus according to one of the Claims from 1 to 27.
Applications Claiming Priority (2)
| Application Number | Priority Date | Filing Date | Title |
|---|---|---|---|
| IT6798281 | 1981-07-16 | ||
| IT67982/81A IT1144387B (en) | 1981-07-16 | 1981-07-16 | INSULATION SYSTEM FOR A REFRIGERATOR |
Publications (1)
| Publication Number | Publication Date |
|---|---|
| EP0071090A1 true EP0071090A1 (en) | 1983-02-09 |
Family
ID=11306923
Family Applications (1)
| Application Number | Title | Priority Date | Filing Date |
|---|---|---|---|
| EP82106317A Ceased EP0071090A1 (en) | 1981-07-16 | 1982-07-14 | Thermal insulating system for refrigerating apparatus and relative realization process |
Country Status (2)
| Country | Link |
|---|---|
| EP (1) | EP0071090A1 (en) |
| IT (1) | IT1144387B (en) |
Cited By (47)
| Publication number | Priority date | Publication date | Assignee | Title |
|---|---|---|---|---|
| EP0608699A3 (en) * | 1993-01-28 | 1994-10-26 | Licentia Gmbh | Refrigerating apparatus. |
| WO1999020964A1 (en) * | 1997-10-16 | 1999-04-29 | BSH Bosch und Siemens Hausgeräte GmbH | Heat-insulating wall |
| WO1999020963A1 (en) * | 1997-10-16 | 1999-04-29 | BSH Bosch und Siemens Hausgeräte GmbH | Heat-insulating housing |
| EP0931996A1 (en) * | 1998-01-27 | 1999-07-28 | Mitsubishi Denki Kabushiki Kaisha | Heat insulation box body |
| WO2001007848A1 (en) * | 1999-07-23 | 2001-02-01 | BSH Bosch und Siemens Hausgeräte GmbH | Heat-insulating wall |
| RU2264588C2 (en) * | 1997-10-16 | 2005-11-20 | Бсх Бош Унд Сименс Хаусгерете Гмбх | Heat-insulating wall |
| US7688170B2 (en) | 2004-06-01 | 2010-03-30 | Abb Technology Ag | Transformer coil assembly |
| KR20120044559A (en) * | 2010-10-28 | 2012-05-08 | 엘지전자 주식회사 | A refrigerator comprising a vaccum space |
| KR20130048527A (en) * | 2011-11-02 | 2013-05-10 | 엘지전자 주식회사 | A refrigerator comprising a vacuum space |
| ITTO20121133A1 (en) * | 2012-12-21 | 2014-06-22 | Indesit Co Spa | REFRIGERATION APPLIANCE, IN PARTICULAR USE, FOR HOUSEHOLD USE, AND RELATIVE METHOD OF CONSTRUCTION |
| RU2537533C2 (en) * | 2010-08-31 | 2015-01-10 | Бсх Бош Унд Сименс Хаусгерете Гмбх | Refrigeration device |
| EP2995929A3 (en) * | 2014-08-12 | 2016-04-06 | Narr Isoliersysteme GmbH | Climate test chamber |
| KR20170048292A (en) * | 2017-04-24 | 2017-05-08 | 엘지전자 주식회사 | A refrigerator comprising a vaccum space |
| KR20180056629A (en) * | 2018-05-21 | 2018-05-29 | 엘지전자 주식회사 | A refrigerator comprising a vacuum space |
| KR20180057596A (en) * | 2018-05-21 | 2018-05-30 | 엘지전자 주식회사 | A refrigerator comprising a vacuum space |
| CN108139142A (en) * | 2015-10-19 | 2018-06-08 | 三星电子株式会社 | Refrigerator and its manufacturing method |
| KR20180097485A (en) * | 2018-08-22 | 2018-08-31 | 엘지전자 주식회사 | A refrigerator comprising a vacuum space |
| KR20180098192A (en) * | 2018-08-22 | 2018-09-03 | 엘지전자 주식회사 | A refrigerator comprising a vacuum space |
| US10228169B2 (en) | 2011-11-04 | 2019-03-12 | Lg Electronics Inc. | Refrigerator with vacuum insulation housing a heat interchanger |
| KR20190029557A (en) * | 2019-03-12 | 2019-03-20 | 엘지전자 주식회사 | A refrigerator comprising a vacuum space |
| US10330373B2 (en) | 2011-11-02 | 2019-06-25 | Lg Electronics Inc. | Refrigerator |
| KR20190093545A (en) * | 2019-08-02 | 2019-08-09 | 엘지전자 주식회사 | A refrigerator comprising a vacuum space |
| KR20190139190A (en) * | 2019-12-09 | 2019-12-17 | 엘지전자 주식회사 | A refrigerator comprising a vaccum space |
| US10514197B2 (en) | 2011-11-02 | 2019-12-24 | Lg Electronics Inc. | Refrigerator |
| KR20200015658A (en) * | 2020-01-31 | 2020-02-12 | 엘지전자 주식회사 | A refrigerator comprising a vacuum space |
| CN111854304A (en) * | 2015-08-04 | 2020-10-30 | Lg电子株式会社 | Vacuum insulator and refrigerator |
| KR20200133312A (en) * | 2020-01-31 | 2020-11-27 | 엘지전자 주식회사 | A refrigerator comprising a vacuum space |
| KR20210000710A (en) * | 2019-12-09 | 2021-01-05 | 엘지전자 주식회사 | A refrigerator comprising a vaccum space |
| KR20210008129A (en) * | 2019-10-02 | 2021-01-20 | 엘지전자 주식회사 | A refrigerator comprising a vacuum space |
| KR20210063300A (en) * | 2020-06-10 | 2021-06-01 | 엘지전자 주식회사 | A refrigerator comprising a vacuum space |
| KR20210148030A (en) * | 2020-11-17 | 2021-12-07 | 엘지전자 주식회사 | A refrigerator comprising a vacuum space |
| US11274785B2 (en) | 2015-08-03 | 2022-03-15 | Lg Electronics Inc. | Vacuum adiabatic body and refrigerator |
| KR20220078548A (en) * | 2021-01-13 | 2022-06-10 | 엘지전자 주식회사 | A refrigerator comprising a vacuum space |
| KR20230013189A (en) * | 2020-09-18 | 2023-01-26 | 엘지전자 주식회사 | A refrigerator comprising a vacuum space |
| US11573048B2 (en) | 2015-08-03 | 2023-02-07 | Lg Electronics Inc. | Vacuum adiabatic body and refrigerator |
| US11585591B2 (en) | 2015-08-03 | 2023-02-21 | Lg Electronics Inc. | Vacuum adiabatic body and refrigerator |
| US11592230B2 (en) | 2015-08-03 | 2023-02-28 | Lg Electronics Inc. | Vacuum adiabatic body and refrigerator |
| US11598573B2 (en) | 2015-08-03 | 2023-03-07 | Lg Electronics Inc. | Vacuum adiabatic body and refrigerator |
| US11796246B2 (en) | 2015-08-03 | 2023-10-24 | Lg Electronics Inc. | Vacuum adiabatic body, fabrication method for the vacuum adiabatic body, porous substance package, and refrigerator |
| US11920857B2 (en) | 2015-08-03 | 2024-03-05 | Lg Electronics Inc. | Vacuum adiabatic body and refrigerator |
| US11920858B2 (en) | 2015-08-03 | 2024-03-05 | Lg Electronics Inc. | Vacuum adiabatic body and refrigerator |
| US11920723B2 (en) | 2015-08-03 | 2024-03-05 | Lg Electronics Inc. | Vacuum adiabatic body and refrigerator |
| US11927386B2 (en) | 2015-08-03 | 2024-03-12 | Lg Electronics Inc. | Vacuum adiabatic body and refrigerator |
| US12078409B2 (en) | 2015-08-03 | 2024-09-03 | Lg Electronics Inc. | Vacuum adiabatic body and refrigerator |
| EP4538620A4 (en) * | 2023-06-13 | 2025-08-06 | Lg Electronics Inc | ADIABATIC VACUUM BODY |
| US12385686B2 (en) | 2015-08-03 | 2025-08-12 | Lg Electronics Inc. | Vacuum adiabatic body and refrigerator |
| US12392545B2 (en) | 2015-08-03 | 2025-08-19 | Lg Electronics Inc. | Vacuum adiabatic body and refrigerator |
Citations (15)
| Publication number | Priority date | Publication date | Assignee | Title |
|---|---|---|---|---|
| US1459280A (en) * | 1922-03-06 | 1923-06-19 | Calvin G Card | Refrigerator |
| US2065608A (en) * | 1932-11-25 | 1936-12-29 | Termisk Isolation Ab | Heat insulating cabinet |
| GB465602A (en) * | 1934-11-10 | 1937-05-10 | Termisk Isolation Ab | Improvements in or relating to heat insulating elements |
| DE675481C (en) * | 1937-04-08 | 1939-05-10 | Hermann Flemming | Double-walled cooling rooms with a framework between the walls |
| CH212271A (en) * | 1939-08-11 | 1940-11-15 | Stauffer Paul | Refrigerator insulation. |
| US2261307A (en) * | 1938-11-08 | 1941-11-04 | Still William George | Thermal insulating material |
| DE715485C (en) * | 1940-02-25 | 1941-12-22 | Siebel Flugzeugwerke G M B H | Double-walled insulating container |
| US2275365A (en) * | 1938-07-25 | 1942-03-03 | Hermes Patentverwertungs Gmbh | Refrigerator |
| GB653760A (en) * | 1948-05-03 | 1951-05-23 | C S A Ind Ltd | Improvements in or relating to refrigerators |
| FR1053262A (en) * | 1951-03-31 | 1954-02-01 | Fridge | |
| US2672025A (en) * | 1951-04-28 | 1954-03-16 | Gen Motors Corp | Two-temperature refrigerating apparatus |
| FR1152218A (en) * | 1955-04-27 | 1958-02-13 | Thomson Houston Comp Francaise | Improvements in thermal insulation of refrigerators |
| GB890372A (en) * | 1959-01-27 | 1962-02-28 | Union Carbide Corp | Vacuum panel insulation |
| FR1289361A (en) * | 1960-05-25 | 1962-03-30 | Johns Manville | All-metal thermal insulation |
| BE675515A (en) * | 1965-01-25 | 1966-05-16 |
-
1981
- 1981-07-16 IT IT67982/81A patent/IT1144387B/en active
-
1982
- 1982-07-14 EP EP82106317A patent/EP0071090A1/en not_active Ceased
Patent Citations (15)
| Publication number | Priority date | Publication date | Assignee | Title |
|---|---|---|---|---|
| US1459280A (en) * | 1922-03-06 | 1923-06-19 | Calvin G Card | Refrigerator |
| US2065608A (en) * | 1932-11-25 | 1936-12-29 | Termisk Isolation Ab | Heat insulating cabinet |
| GB465602A (en) * | 1934-11-10 | 1937-05-10 | Termisk Isolation Ab | Improvements in or relating to heat insulating elements |
| DE675481C (en) * | 1937-04-08 | 1939-05-10 | Hermann Flemming | Double-walled cooling rooms with a framework between the walls |
| US2275365A (en) * | 1938-07-25 | 1942-03-03 | Hermes Patentverwertungs Gmbh | Refrigerator |
| US2261307A (en) * | 1938-11-08 | 1941-11-04 | Still William George | Thermal insulating material |
| CH212271A (en) * | 1939-08-11 | 1940-11-15 | Stauffer Paul | Refrigerator insulation. |
| DE715485C (en) * | 1940-02-25 | 1941-12-22 | Siebel Flugzeugwerke G M B H | Double-walled insulating container |
| GB653760A (en) * | 1948-05-03 | 1951-05-23 | C S A Ind Ltd | Improvements in or relating to refrigerators |
| FR1053262A (en) * | 1951-03-31 | 1954-02-01 | Fridge | |
| US2672025A (en) * | 1951-04-28 | 1954-03-16 | Gen Motors Corp | Two-temperature refrigerating apparatus |
| FR1152218A (en) * | 1955-04-27 | 1958-02-13 | Thomson Houston Comp Francaise | Improvements in thermal insulation of refrigerators |
| GB890372A (en) * | 1959-01-27 | 1962-02-28 | Union Carbide Corp | Vacuum panel insulation |
| FR1289361A (en) * | 1960-05-25 | 1962-03-30 | Johns Manville | All-metal thermal insulation |
| BE675515A (en) * | 1965-01-25 | 1966-05-16 |
Non-Patent Citations (1)
| Title |
|---|
| MODERN PLASTICS INTERNATIONAL, vol. 1, no. 8, August 1971, pages 78,79, * |
Cited By (84)
| Publication number | Priority date | Publication date | Assignee | Title |
|---|---|---|---|---|
| EP0608699A3 (en) * | 1993-01-28 | 1994-10-26 | Licentia Gmbh | Refrigerating apparatus. |
| KR100419455B1 (en) * | 1997-10-16 | 2004-02-19 | 베에스하 보쉬 운트 지멘스 하우스게랫테 게엠베하 | Heat-insulating wall |
| WO1999020964A1 (en) * | 1997-10-16 | 1999-04-29 | BSH Bosch und Siemens Hausgeräte GmbH | Heat-insulating wall |
| WO1999020963A1 (en) * | 1997-10-16 | 1999-04-29 | BSH Bosch und Siemens Hausgeräte GmbH | Heat-insulating housing |
| RU2264588C2 (en) * | 1997-10-16 | 2005-11-20 | Бсх Бош Унд Сименс Хаусгерете Гмбх | Heat-insulating wall |
| RU2252377C2 (en) * | 1997-10-16 | 2005-05-20 | Бсх Бош Унд Сименс Хаусгерете Гмбх | Heat-insulating wall, as well as refrigerator and domestic oven with such walls |
| US6305768B1 (en) | 1998-01-27 | 2001-10-23 | Mitsubishi Denki Kabushiki Kaisha | Full vacuum heat insulation box body and method for producing and disassembling the same |
| US6336693B2 (en) * | 1998-01-27 | 2002-01-08 | Mitsubishi Denki Kabushiki Kaisha | Full vacuum heat insulation box body and method for producing and disassembling the same |
| EP0931996A1 (en) * | 1998-01-27 | 1999-07-28 | Mitsubishi Denki Kabushiki Kaisha | Heat insulation box body |
| US6725624B2 (en) | 1999-07-23 | 2004-04-27 | Bsh Bosch Und Siemens Aktiengesellschaft | Heat-insulating walling |
| WO2001007848A1 (en) * | 1999-07-23 | 2001-02-01 | BSH Bosch und Siemens Hausgeräte GmbH | Heat-insulating wall |
| CN1318813C (en) * | 1999-07-23 | 2007-05-30 | Bsh博施及西门子家用器具有限公司 | insulation wall |
| US7688170B2 (en) | 2004-06-01 | 2010-03-30 | Abb Technology Ag | Transformer coil assembly |
| RU2537533C2 (en) * | 2010-08-31 | 2015-01-10 | Бсх Бош Унд Сименс Хаусгерете Гмбх | Refrigeration device |
| EP2447638A3 (en) * | 2010-10-28 | 2014-01-29 | LG Electronics Inc. | Refrigerator comprising vacuum space |
| US11821678B2 (en) | 2010-10-28 | 2023-11-21 | Lg Electronics Inc. | Refrigerator comprising vacuum space |
| EP3553430B1 (en) * | 2010-10-28 | 2023-06-21 | Lg Electronics Inc. | Refrigerator comprising vacuum space |
| US8899068B2 (en) | 2010-10-28 | 2014-12-02 | Lg Electronics Inc. | Refrigerator comprising vacuum space |
| KR20120044559A (en) * | 2010-10-28 | 2012-05-08 | 엘지전자 주식회사 | A refrigerator comprising a vaccum space |
| US11384977B2 (en) | 2010-10-28 | 2022-07-12 | Lg Electronics Inc. | Refrigerator comprising vacuum space |
| US10337788B2 (en) | 2010-10-28 | 2019-07-02 | Lg Electronics Inc. | Refrigerator comprising vacuum space |
| US9651292B2 (en) | 2010-10-28 | 2017-05-16 | Lg Electronics Inc. | Refrigerator comprising vacuum space |
| US12196481B2 (en) | 2010-10-28 | 2025-01-14 | Lg Electronics Inc. | Refrigerator comprising vacuum space |
| US10330373B2 (en) | 2011-11-02 | 2019-06-25 | Lg Electronics Inc. | Refrigerator |
| US11732953B2 (en) | 2011-11-02 | 2023-08-22 | Lg Electronics Inc. | Refrigerator |
| KR20130048527A (en) * | 2011-11-02 | 2013-05-10 | 엘지전자 주식회사 | A refrigerator comprising a vacuum space |
| US11802728B2 (en) | 2011-11-02 | 2023-10-31 | Lg Electronics Inc. | Refrigerator |
| US11346594B2 (en) | 2011-11-02 | 2022-05-31 | Lg Electronics Inc. | Refrigerator |
| US11313613B2 (en) | 2011-11-02 | 2022-04-26 | Lg Electronics Inc. | Refrigerator |
| US10514197B2 (en) | 2011-11-02 | 2019-12-24 | Lg Electronics Inc. | Refrigerator |
| US12298061B2 (en) | 2011-11-02 | 2025-05-13 | Lg Electronics Inc. | Refrigerator |
| US12313309B2 (en) | 2011-11-04 | 2025-05-27 | Lg Electronics Inc. | Refrigerator with vacuum insulation housing a heat interchanger |
| US11698211B2 (en) | 2011-11-04 | 2023-07-11 | Lg Electronics Inc. | Refrigerator with vacuum insulation housing a heat interchanger |
| US10228169B2 (en) | 2011-11-04 | 2019-03-12 | Lg Electronics Inc. | Refrigerator with vacuum insulation housing a heat interchanger |
| ITTO20121133A1 (en) * | 2012-12-21 | 2014-06-22 | Indesit Co Spa | REFRIGERATION APPLIANCE, IN PARTICULAR USE, FOR HOUSEHOLD USE, AND RELATIVE METHOD OF CONSTRUCTION |
| EP2995929A3 (en) * | 2014-08-12 | 2016-04-06 | Narr Isoliersysteme GmbH | Climate test chamber |
| US12146702B2 (en) | 2015-08-03 | 2024-11-19 | Lg Electronics Inc. | Vacuum adiabatic body and refrigerator |
| US11585591B2 (en) | 2015-08-03 | 2023-02-21 | Lg Electronics Inc. | Vacuum adiabatic body and refrigerator |
| US11796246B2 (en) | 2015-08-03 | 2023-10-24 | Lg Electronics Inc. | Vacuum adiabatic body, fabrication method for the vacuum adiabatic body, porous substance package, and refrigerator |
| US12392545B2 (en) | 2015-08-03 | 2025-08-19 | Lg Electronics Inc. | Vacuum adiabatic body and refrigerator |
| US12385685B2 (en) | 2015-08-03 | 2025-08-12 | Lg Electronics Inc. | Vacuum adiabatic body and refrigerator |
| US12504218B2 (en) | 2015-08-03 | 2025-12-23 | Lg Electronics Inc. | Vacuum adiabatic body and refrigerator |
| US12385686B2 (en) | 2015-08-03 | 2025-08-12 | Lg Electronics Inc. | Vacuum adiabatic body and refrigerator |
| US12078409B2 (en) | 2015-08-03 | 2024-09-03 | Lg Electronics Inc. | Vacuum adiabatic body and refrigerator |
| US12050046B2 (en) | 2015-08-03 | 2024-07-30 | Lg Electronics Inc. | Vacuum adiabatic body and refrigerator |
| US11274785B2 (en) | 2015-08-03 | 2022-03-15 | Lg Electronics Inc. | Vacuum adiabatic body and refrigerator |
| US12320464B2 (en) | 2015-08-03 | 2025-06-03 | Lg Electronics Inc. | Vacuum adiabatic body and refrigerator |
| US12379151B2 (en) | 2015-08-03 | 2025-08-05 | Lg Electronics Inc. | Vacuum adiabatic body and refrigerator |
| US11927386B2 (en) | 2015-08-03 | 2024-03-12 | Lg Electronics Inc. | Vacuum adiabatic body and refrigerator |
| US11598573B2 (en) | 2015-08-03 | 2023-03-07 | Lg Electronics Inc. | Vacuum adiabatic body and refrigerator |
| US12467683B2 (en) | 2015-08-03 | 2025-11-11 | Lg Electronics Inc. | Vacuum adiabatic body and refrigerator |
| US11920723B2 (en) | 2015-08-03 | 2024-03-05 | Lg Electronics Inc. | Vacuum adiabatic body and refrigerator |
| US11920858B2 (en) | 2015-08-03 | 2024-03-05 | Lg Electronics Inc. | Vacuum adiabatic body and refrigerator |
| US11920857B2 (en) | 2015-08-03 | 2024-03-05 | Lg Electronics Inc. | Vacuum adiabatic body and refrigerator |
| US11573048B2 (en) | 2015-08-03 | 2023-02-07 | Lg Electronics Inc. | Vacuum adiabatic body and refrigerator |
| US11592230B2 (en) | 2015-08-03 | 2023-02-28 | Lg Electronics Inc. | Vacuum adiabatic body and refrigerator |
| US11365931B2 (en) | 2015-08-04 | 2022-06-21 | Lg Electronics Inc. | Vacuum adiabatic body and refrigerator |
| US12281840B2 (en) | 2015-08-04 | 2025-04-22 | Lg Electronics Inc. | Vacuum adiabatic body and refrigerator |
| CN111854304A (en) * | 2015-08-04 | 2020-10-30 | Lg电子株式会社 | Vacuum insulator and refrigerator |
| CN108139142B (en) * | 2015-10-19 | 2020-10-02 | 三星电子株式会社 | Refrigerator and method of making the same |
| CN108139142A (en) * | 2015-10-19 | 2018-06-08 | 三星电子株式会社 | Refrigerator and its manufacturing method |
| EP3336466A4 (en) * | 2015-10-19 | 2018-10-10 | Samsung Electronics Co., Ltd. | Refrigerator and manufacturing method therefor |
| US10533697B2 (en) | 2015-10-19 | 2020-01-14 | Samsung Electronics Co., Ltd. | Refrigerator and manufacturing method therefor |
| KR20170048292A (en) * | 2017-04-24 | 2017-05-08 | 엘지전자 주식회사 | A refrigerator comprising a vaccum space |
| KR20180056629A (en) * | 2018-05-21 | 2018-05-29 | 엘지전자 주식회사 | A refrigerator comprising a vacuum space |
| KR20180057596A (en) * | 2018-05-21 | 2018-05-30 | 엘지전자 주식회사 | A refrigerator comprising a vacuum space |
| KR20180097485A (en) * | 2018-08-22 | 2018-08-31 | 엘지전자 주식회사 | A refrigerator comprising a vacuum space |
| KR20180098192A (en) * | 2018-08-22 | 2018-09-03 | 엘지전자 주식회사 | A refrigerator comprising a vacuum space |
| KR20190029557A (en) * | 2019-03-12 | 2019-03-20 | 엘지전자 주식회사 | A refrigerator comprising a vacuum space |
| KR20190093545A (en) * | 2019-08-02 | 2019-08-09 | 엘지전자 주식회사 | A refrigerator comprising a vacuum space |
| KR20210008129A (en) * | 2019-10-02 | 2021-01-20 | 엘지전자 주식회사 | A refrigerator comprising a vacuum space |
| KR20210000710A (en) * | 2019-12-09 | 2021-01-05 | 엘지전자 주식회사 | A refrigerator comprising a vaccum space |
| KR20190139190A (en) * | 2019-12-09 | 2019-12-17 | 엘지전자 주식회사 | A refrigerator comprising a vaccum space |
| KR20200133312A (en) * | 2020-01-31 | 2020-11-27 | 엘지전자 주식회사 | A refrigerator comprising a vacuum space |
| KR20200015658A (en) * | 2020-01-31 | 2020-02-12 | 엘지전자 주식회사 | A refrigerator comprising a vacuum space |
| KR20210063300A (en) * | 2020-06-10 | 2021-06-01 | 엘지전자 주식회사 | A refrigerator comprising a vacuum space |
| KR20230010059A (en) * | 2020-06-10 | 2023-01-17 | 엘지전자 주식회사 | A refrigerator comprising a vacuum space |
| KR20230013189A (en) * | 2020-09-18 | 2023-01-26 | 엘지전자 주식회사 | A refrigerator comprising a vacuum space |
| KR20210148030A (en) * | 2020-11-17 | 2021-12-07 | 엘지전자 주식회사 | A refrigerator comprising a vacuum space |
| KR20210142579A (en) * | 2020-12-24 | 2021-11-25 | 엘지전자 주식회사 | A refrigerator comprising a vaccum space |
| KR20230002231A (en) * | 2020-12-24 | 2023-01-05 | 엘지전자 주식회사 | A refrigerator comprising a vaccum space |
| KR20230093232A (en) * | 2021-01-13 | 2023-06-27 | 엘지전자 주식회사 | A refrigerator comprising a vacuum space |
| KR20220078548A (en) * | 2021-01-13 | 2022-06-10 | 엘지전자 주식회사 | A refrigerator comprising a vacuum space |
| EP4538620A4 (en) * | 2023-06-13 | 2025-08-06 | Lg Electronics Inc | ADIABATIC VACUUM BODY |
Also Published As
| Publication number | Publication date |
|---|---|
| IT8167982A0 (en) | 1981-07-16 |
| IT1144387B (en) | 1986-10-29 |
Similar Documents
| Publication | Publication Date | Title |
|---|---|---|
| EP0071090A1 (en) | Thermal insulating system for refrigerating apparatus and relative realization process | |
| KR102845961B1 (en) | Vacuum adiabatic body and refrigerator | |
| KR102877009B1 (en) | Vacuum adiabatic body and refrigerator | |
| US3005321A (en) | Multiple temperature refrigerator | |
| US6428130B1 (en) | Refrigerator mullion | |
| JPH07198246A (en) | Variable capacity refrigerator | |
| KR102134510B1 (en) | Corner connecting panels for sandwich panels for refrigeration and refrigerator walls | |
| US12203694B2 (en) | Thermal frame with flange heat input | |
| JP2011220663A (en) | Refrigerator | |
| JP2006242439A (en) | Refrigerator and manufacturing method thereof | |
| US5269602A (en) | Thermal insulation box | |
| KR0149271B1 (en) | Door of refrigerator | |
| JP3959298B2 (en) | refrigerator | |
| JPS62200178A (en) | Refrigerator | |
| KR102151582B1 (en) | partition panel for refrigerator-freezer | |
| JPH10288453A (en) | Storage unit and manufacture thereof | |
| JPH0618171Y2 (en) | Prefabricated refrigerator / freezer | |
| CN222849571U (en) | High-barrier plastic suction plate for refrigerator door | |
| US2424434A (en) | Heat insulated receptacle | |
| CN220017811U (en) | Side by side combination refrigerator | |
| JPS6322474Y2 (en) | ||
| JP6913212B2 (en) | refrigerator | |
| CN223295116U (en) | Center sill structure and refrigerating device | |
| JPH08145546A (en) | Door device of refrigerator and the like | |
| US20100275640A1 (en) | Refrigerator |
Legal Events
| Date | Code | Title | Description |
|---|---|---|---|
| PUAI | Public reference made under article 153(3) epc to a published international application that has entered the european phase |
Free format text: ORIGINAL CODE: 0009012 |
|
| AK | Designated contracting states |
Designated state(s): DE FR GB IT NL SE |
|
| 17P | Request for examination filed |
Effective date: 19830621 |
|
| STAA | Information on the status of an ep patent application or granted ep patent |
Free format text: STATUS: THE APPLICATION HAS BEEN REFUSED |
|
| 18R | Application refused |
Effective date: 19850608 |
|
| RIN1 | Information on inventor provided before grant (corrected) |
Inventor name: CHIAPPARINO ALDO |
