DE102014213552B4 - Anzeigevorrichtung und Anzeigeverfahren für ein Fahrzeug - Google Patents

Anzeigevorrichtung und Anzeigeverfahren für ein Fahrzeug Download PDF

Info

Publication number
DE102014213552B4
DE102014213552B4 DE102014213552.4A DE102014213552A DE102014213552B4 DE 102014213552 B4 DE102014213552 B4 DE 102014213552B4 DE 102014213552 A DE102014213552 A DE 102014213552A DE 102014213552 B4 DE102014213552 B4 DE 102014213552B4
Authority
DE
Germany
Prior art keywords
mirror
controller
image
laser
laser beams
Prior art date
Legal status (The legal status is an assumption and is not a legal conclusion. Google has not performed a legal analysis and makes no representation as to the accuracy of the status listed.)
Active
Application number
DE102014213552.4A
Other languages
English (en)
Other versions
DE102014213552A1 (de
Inventor
Jong Bok Lee
Current Assignee (The listed assignees may be inaccurate. Google has not performed a legal analysis and makes no representation or warranty as to the accuracy of the list.)
Hyundai Motor Co
Original Assignee
Hyundai Motor Co
Priority date (The priority date is an assumption and is not a legal conclusion. Google has not performed a legal analysis and makes no representation as to the accuracy of the date listed.)
Filing date
Publication date
Application filed by Hyundai Motor Co filed Critical Hyundai Motor Co
Publication of DE102014213552A1 publication Critical patent/DE102014213552A1/de
Application granted granted Critical
Publication of DE102014213552B4 publication Critical patent/DE102014213552B4/de
Active legal-status Critical Current
Anticipated expiration legal-status Critical

Links

Images

Classifications

    • GPHYSICS
    • G02OPTICS
    • G02BOPTICAL ELEMENTS, SYSTEMS OR APPARATUS
    • G02B27/00Optical systems or apparatus not provided for by any of the groups G02B1/00 - G02B26/00, G02B30/00
    • G02B27/01Head-up displays
    • G02B27/0101Head-up displays characterised by optical features
    • GPHYSICS
    • G02OPTICS
    • G02BOPTICAL ELEMENTS, SYSTEMS OR APPARATUS
    • G02B26/00Optical devices or arrangements for the control of light using movable or deformable optical elements
    • G02B26/08Optical devices or arrangements for the control of light using movable or deformable optical elements for controlling the direction of light
    • G02B26/0816Optical devices or arrangements for the control of light using movable or deformable optical elements for controlling the direction of light by means of one or more reflecting elements
    • GPHYSICS
    • G02OPTICS
    • G02BOPTICAL ELEMENTS, SYSTEMS OR APPARATUS
    • G02B27/00Optical systems or apparatus not provided for by any of the groups G02B1/00 - G02B26/00, G02B30/00
    • G02B27/01Head-up displays
    • GPHYSICS
    • G02OPTICS
    • G02BOPTICAL ELEMENTS, SYSTEMS OR APPARATUS
    • G02B27/00Optical systems or apparatus not provided for by any of the groups G02B1/00 - G02B26/00, G02B30/00
    • G02B27/01Head-up displays
    • G02B27/0149Head-up displays characterised by mechanical features
    • GPHYSICS
    • G03PHOTOGRAPHY; CINEMATOGRAPHY; ANALOGOUS TECHNIQUES USING WAVES OTHER THAN OPTICAL WAVES; ELECTROGRAPHY; HOLOGRAPHY
    • G03BAPPARATUS OR ARRANGEMENTS FOR TAKING PHOTOGRAPHS OR FOR PROJECTING OR VIEWING THEM; APPARATUS OR ARRANGEMENTS EMPLOYING ANALOGOUS TECHNIQUES USING WAVES OTHER THAN OPTICAL WAVES; ACCESSORIES THEREFOR
    • G03B21/00Projectors or projection-type viewers; Accessories therefor
    • G03B21/14Details
    • G03B21/28Reflectors in projection beam
    • GPHYSICS
    • G03PHOTOGRAPHY; CINEMATOGRAPHY; ANALOGOUS TECHNIQUES USING WAVES OTHER THAN OPTICAL WAVES; ELECTROGRAPHY; HOLOGRAPHY
    • G03BAPPARATUS OR ARRANGEMENTS FOR TAKING PHOTOGRAPHS OR FOR PROJECTING OR VIEWING THEM; APPARATUS OR ARRANGEMENTS EMPLOYING ANALOGOUS TECHNIQUES USING WAVES OTHER THAN OPTICAL WAVES; ACCESSORIES THEREFOR
    • G03B21/00Projectors or projection-type viewers; Accessories therefor
    • G03B21/54Accessories
    • G03B21/56Projection screens
    • GPHYSICS
    • G02OPTICS
    • G02BOPTICAL ELEMENTS, SYSTEMS OR APPARATUS
    • G02B27/00Optical systems or apparatus not provided for by any of the groups G02B1/00 - G02B26/00, G02B30/00
    • G02B27/01Head-up displays
    • G02B27/0149Head-up displays characterised by mechanical features
    • G02B2027/015Head-up displays characterised by mechanical features involving arrangement aiming to get less bulky devices
    • GPHYSICS
    • G02OPTICS
    • G02BOPTICAL ELEMENTS, SYSTEMS OR APPARATUS
    • G02B27/00Optical systems or apparatus not provided for by any of the groups G02B1/00 - G02B26/00, G02B30/00
    • G02B27/01Head-up displays
    • G02B27/0149Head-up displays characterised by mechanical features
    • G02B2027/0154Head-up displays characterised by mechanical features with movable elements
    • G02B2027/0159Head-up displays characterised by mechanical features with movable elements with mechanical means other than scaning means for positioning the whole image
    • GPHYSICS
    • G02OPTICS
    • G02BOPTICAL ELEMENTS, SYSTEMS OR APPARATUS
    • G02B27/00Optical systems or apparatus not provided for by any of the groups G02B1/00 - G02B26/00, G02B30/00
    • G02B27/01Head-up displays
    • G02B27/0149Head-up displays characterised by mechanical features
    • G02B2027/0161Head-up displays characterised by mechanical features characterised by the relative positioning of the constitutive elements
    • G02B2027/0163Electric or electronic control thereof
    • GPHYSICS
    • G02OPTICS
    • G02BOPTICAL ELEMENTS, SYSTEMS OR APPARATUS
    • G02B27/00Optical systems or apparatus not provided for by any of the groups G02B1/00 - G02B26/00, G02B30/00
    • G02B27/01Head-up displays
    • G02B27/0149Head-up displays characterised by mechanical features
    • G02B2027/0165Head-up displays characterised by mechanical features associated with a head-down display

Landscapes

  • Physics & Mathematics (AREA)
  • General Physics & Mathematics (AREA)
  • Optics & Photonics (AREA)
  • Mechanical Optical Scanning Systems (AREA)
  • Instrument Panels (AREA)
  • Control Of Indicators Other Than Cathode Ray Tubes (AREA)

Abstract

Anzeigevorrichtung (5) für ein Fahrzeug, mit:einer Laserscanprojektionsvorrichtung (20), die eingerichtet ist, ein Bild auf eine vorbestimmte Projektionsfläche zu projizieren;einem ersten Spiegel (32), der eingerichtet ist, das von der Laserscanprojektionsvorrichtung (20) projizierte Bild zu reflektieren;einem zweiten Spiegel (34), der eingerichtet ist, das vom ersten Spiegel (32) reflektierte Bild zu reflektieren;einem dritten Spiegel (36), der eingerichtet ist, das vom zweiten Spiegel (34) reflektierte Bild zu reflektieren;einer ersten gewölbten Scheibe (12), die eingerichtet ist, das vom dritten Spiegel (36) reflektierte Bild anzuzeigen; gekennzeichnet durcheinen vierten Spiegel (38), der zwischen der Laserscanprojektionsvorrichtung (20) und dem ersten Spiegel (32) angeordnet ist;eine zweite gewölbte Scheibe (14), die eingerichtet ist, ein vom vierten Spiegel (38) reflektiertes Bild anzuzeigen; undeine Steuerung (40), die eingerichtet ist, das auf der ersten gewölbten Scheibe (12) und das auf der zweiten gewölbten Scheibe (14) angezeigte Bild zu bestimmen,wobei der vierte Spiegel (38) von einem Motor (50) um eine Rotationsachse (38a) drehbar angeordnet ist und eingerichtet ist, wählbar die von der Laserscanprojektionsvorrichtung (20) projizierten Bilder zu reflektierenwobei die Steuerung (40) eingerichtet ist, die Laserscanprojektionsvorrichtung (20) und den Motor (50) so zu betreiben, dass sie abwechselnd die Bilder, die auf der ersten (12) und zweiten (14) gewölbten Scheibe projiziert werden, zu vorbestimmten Zeiten anzeigt.

Description

  • Hintergrund
  • Gebiet der Erfindung
  • Die vorliegende Erfindung bezieht sich auf eine Anzeigevorrichtung für ein Fahrzeug und ein Verfahren zum Anzeigen von Ausgabebildern der Anzeigevorrichtung.
  • Stand der Technik
  • Eine gattungsgemäße Anzeigevorrichtung für ein Fahrzeug und ein gattungsgemäßes Verfahren zum Anzeigen von Ausgabebildern der Anzeigevorrichtung sind aus der EP 2 546 087 A1 bekannt.
  • Ganz allgemein wurde eine Head-up-Display (HUD) Vorrichtung entwickelt, um Fluginformationen einem Flugzeugpiloten zur Verfügung zu stellen und die HUD Vorrichtung wird innerhalb eines Luftfahrzeugs angebracht. In letzter Zeit wurde die HUD-Vorrichtung an einem Fahrzeug vorgesehen, um einem Fahrer komfortabel Fahrinformationen des Fahrzeugs anzuzeigen. Die HUD-Vorrichtung, die an dem Fahrzeug vorgesehen ist, projiziert ein Anzeigebild, das Fahrinformationen enthält, auf einem Windschutzscheibenglas. Das virtuelle Bild, das dem Anzeigebild entspricht, das auf das Windschutzscheibenglas projiziert ist, wird visuell von dem Fahrer wahrgenommen. Demzufolge kann der Fahrer Fahrinformationen wahrnehmen, während er eine nach vorne gerichtete Blickrichtung beibehält und daher wird der Komfort und die Sicherheit für den Fahrer verbessert.
  • Eine Mehrbereichsvorrichtung stellt unter Verwendung von Leuchten und Zeigern Informationen über eine Fahrzeuggeschwindigkeit, Informationen über eine Motordrehzahl, Informationen über eine Kühlmitteltemperatur, Informationen über einen Treibstofffüllstand und Informationen über einen Betriebszustand von verschiedenen Vorrichtungen dem Fahrer zur Verfügung. Demzufolge wird aktiv Forschung zum Anzeigen dieser Mehrbereichsinformationen als ein Bild betrieben. Um die Fahrinformationen auf dem Windschutzscheibenglas und an der Mehrbereichsvorrichtung anzuzeigen sind zwei Anzeigevorrichtungen erforderlich. Wenn jedoch die zwei Anzeigevorrichtungen innerhalb des Fahrzeugs vorgesehen werden, erhöhen sich die Produktionskosten, der Energieverbrauch und der Einbauplatzbedarf.
  • Die JP 2010-274 803 A offenbart ferner die Schaffung einer alternativen Projektionsfläche, um zwei Anzeigen zu ermöglichen. Ein weiteres HUD ist ferner aus der US 2009/0160736 A1 bekannt.
  • Darstellung der Erfindung
  • Die vorliegende Erfindung betrifft eine Anzeigevorrichtung für ein Fahrzeug, die den Vorteil bietet, gleichzeitig zwei verschiedene Bilder zur Verfügung zu stellen, wobei eine einzelne Laserscanprojektionsvorrichtung verwendet wird und ein Verfahren zum Ausgeben von Bildern der Anzeigevorrichtung.
  • Eine Anzeigevorrichtung für ein Fahrzeug gemäß der vorliegenden Erfindung beinhaltet die Merkmale in Anspruch 1. Insbesondere umfasst sie: eine Laserscanprojektionsvorrichtung, die eingerichtet ist, ein Bild auf eine vorbestimmte Projektionsfläche zu projizieren; einen ersten Spiegel, der eingerichtet ist, das von der Laserscanprojektionsvorrichtung projizierte Bild zu reflektieren; einen zweiten Spiegel, der eingerichtet ist, das vom ersten Spiegel reflektierte Bild zu reflektieren; einen dritten Spiegel, der eingerichtet ist, das vom zweiten Spiegel reflektierte Bild zu reflektieren; eine erste gewölbte Scheibe, die eingerichtet ist, das vom dritten Spiegel reflektierte Bild anzuzeigen; einen vierten Spiegel, der zwischen der Laserscanprojektionsvorrichtung und dem ersten Spiegel angeordnet ist; eine zweite gewölbte Scheibe, die eingerichtet ist, ein vom vierten Spiegel reflektiertes Bild anzuzeigen; und eine Steuerung, die eingerichtet ist, das auf der ersten gewölbten Scheibe und das auf der zweiten gewölbten Scheibe angezeigte Bild zu erfassen, wobei der vierte Spiegel entsprechend der Betätigung eines Motors um eine Rotationsachse gedreht werden kann und selektiv die von der Laserscanprojektionsvorrichtung projizierten Bilder reflektiert.
  • Die Steuerung ist eingerichtet, die Laserscanprojektionsvorrichtung und den Motor so zu betreiben, dass alternierend die Bilder, die auf der ersten gewölbten Scheibe und der zweiten gewölbten Scheibe angezeigt werden zu einer vorbestimmten Zeit angezeigt werden.
  • Ferner kann die Steuerung eingerichtet sein, den Motor so zu betreiben, dass er den vierten Spiegel zu einer vorbestimmten Zeit um einen vorbestimmten Winkel dreht. Der erste, zweite, dritte und vierte Spiegel können Planspiegel sein. Die Steuerung kann eingerichtet sein, ein Ausgabetiming einer Laserstrahlenausgabe der Laserscanprojektionsvorrichtung basierend auf Formen der ersten und zweiten gewölbten Scheibe einzustellen. Die erste gewölbte Scheibe kann ein Windschutzscheibenglas und die zweite gewölbte Scheibe kann an einer Oberfläche eines Armaturenbretts vorgesehen sein. Die Laserscanprojektionsvorrichtung kann einen Laserstrahlengenerator aufweisen, der eingerichtet ist, Laserstrahlen zu emittieren, einen Laserstrahlbündler (laser combiner), der eingerichtet ist, die Laserstrahlen, die von dem Laserstrahlgenerator projiziert werden, zu bündeln, und einen MEMS (mikroelektromechanisches System) Scanner, der eingerichtet ist, das Bild auf eine vorbestimmte Projektionsfläche durch Scannen der Laserstrahlen zu projizieren. DER MEMS-Scanner kann einen MEMS-Spiegel beinhalten, der eingerichtet ist, die Laserstrahlen abzutasten. Die Steuerung kann auch eingerichtet sein, die Richtung der Laserstrahlen, die durch den MEMS-Spiegel abgetastet wurden basierend auf Krümmungswerten der ersten und zweiten gewölbten Scheibe einzustellen.
  • Gemäß der vorliegenden Erfindung ist es möglich, gleichzeitig zwei verschiedene Bilder bei Verwendung der einen Laserscanprojektionsvorrichtung zur Verfügung zu stellen. Die Produktionskosten, der Energieverbrauch und der Einbauraum können durch Verwendung der einen Laserscanprojektionsvorrichtung reduziert werden. Ferner können durch den Einsatz der Laserscanprojektionsvorrichtung asphärische Spiegel entsprechend den Formen der gewölbten Scheiben entfallen und eine zusätzliche Vorrichtung zum Treffen eines Brennpunktes ebenfalls weggelassen werden.
  • Figurenliste
    • 1 und 2 sind beispielhafte schematische Darstellungen einer Anzeigevorrichtung für ein Fahrzeug gemäß einem Ausführungsbeispiel der vorliegenden Erfindung; und
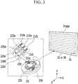
    • 3 ist eine beispielhafte schematisches Darstellung einer Laserscanprojektionsvorrichtung gemäß einem Ausführungsbeispiel der vorliegenden Erfindung.
  • Bezugszeichenliste
  • 5
    Anzeigevorrichtung
    12
    Erste gewölbte Scheibe
    14
    Zweite gewölbte Scheibe
    20
    Laserscanprojektionsvorrichtung
    32
    Erster Spiegel
    34
    Zweiter Spiegel
    36
    Dritter Spiegel
    38
    Vierter Spiegel
    40
    Steuerung
    50
    Motor
    60
    Armaturenbrett
  • Ausführliche Beschreibung bevorzugter Ausführungsformen
  • Es wird hier so verstanden, dass der Begriff „Fahrzeug“ oder „fahrzeug“ oder andere ähnliche Ausdrücke, wie sie hier verwendet werden, Motorfahrzeuge im Allgemeinen, wie z.B. Automobile beinhaltend Sports Utility Vehicles (SUV), Busse, LKW, verschiedene kommerzielle Fahrzeuge, Wasserfahrzeuge beinhaltend eine Vielfalt von Booten und Schiffen, Flugzeuge und dergleichen, Hybridfahrzeuge, elektrische Fahrzeuge, Verbrennungs- und hybridelektrische Fahrzeuge, wasserstoffgetriebene Fahrzeuge und andere mit alternativen Treibstoffen (z.B. Treibstoffe, die aus anderen Rohstoffen als Öl hergestellt sind) betriebene Fahrzeuge mit einschließen.
  • Obwohl eine beispielhafte Ausführungsform beschrieben wird, wobei eine Anzahl an Baugruppen zur Ausführung des beispielhaften Verfahrens verwendet wird, soll es so zu verstehen sein, dass das beispielhafte Verfahren auch durch ein oder eine Mehrzahl an Modulen ausgeführt werden kann. Ferner soll es so verstanden werden, dass der Ausdruck „Steuerungseinheit“ sich auf eine Hardwarevorrichtung bezieht, die Arbeitsspeicher und einen Prozessor beinhaltet. Der Arbeitsspeicher ist eingerichtet, Module zu speichern und der Prozessor ist insbesondere eingerichtet, diese Module auszuführen, um ein oder mehrere Verfahren durchzuführen, die weiter unten beschrieben sind.
  • Die Terminologie, die hierin verwendet wird, dient dem Zweck, lediglich einzelne Ausführungsformen zu beschreiben und ist nicht vorgesehen, die Erfindung einzuschränken. Die hierin verwendeten Singularformen „ein“, und „die“ sollen Pluralformen auch einschließen, es sei denn, dass der Kontext dem klar widerspricht. Es soll ferner verstanden werden, dass die Begriffe „aufweist“ und/oder „aufweisen“, wenn sie in der Beschreibung verwendet werden, das Vorhandensein von angegebenen Merkmalen, Zahlen, Verfahrensschritten, Elementen und/oder Komponenten angeben, aber nicht das Vorhandensein oder die Ergänzung von ein oder mehreren anderen Merkmalen, Zahlen, Verfahrensschritten, Elementen, Komponenten und/oder Gruppen davon bedingen. Der Begriff „und/oder“ wie er hierin verwendet wird, beinhaltet alle Kombinationen von einem oder mehreren der jeweils aufgelisteten Elemente.
  • Ferner kann die Steuerungslogik der vorliegenden Erfindung als nicht übertragbares computerlesbares Medium auf einem computerlesbaren Medium realisiert sein und ausführbare Programmbefehle zum Ausführen auf einem Prozessor, Controller oder Dergleichen enthalten. Beispiele des computerlesbaren Mediums beinhalten, sind aber nicht beschränkt auf: ROM, RAM, Compact Disc (CD)-ROMs, Magnetbänder, Disketten, Flash-Laufwerke, Smartcards und optische Datenspeichervorrichtungen. Das computerlesbare Aufnahmemedium kann auch in Netzwerk gekoppelten Computersystemen zur Verfügung gestellt werden, so dass das computerlesbare Medium in einer verteilten Weise gespeichert und ausgeführt werden kann, z.B. durch einen Telematic Server oder ein Controller Area Network (CAN).
  • Sofern nicht jeweils angegeben oder offensichtlich aus dem Kontext, wird der hier verwendete Ausdruck „etwa“ als innerhalb einer normalen Toleranz in der Technik, z.B. innerhalb von zwei Standardabweichungen vom Mittel angenommen. Somit kann „etwa“ als innerhalb von 10%, 9%, 8%, 7%, 6%, 5%, 4%, 3%, 2%, 1%, 0,5%, 0,1%, 0,05% oder 0,01% des genannten Wertes verstanden werden. Sofern es nicht anderweitig aus dem Kontext klar wird, werden alle numerischen Werte, die hier vorgesehen werden, als durch den Ausdruck „etwa“ modifiziert angesehen.
  • 1 und 2 sind beispielhafte schematische Darstellungen der Anzeigevorrichtung für ein Fahrzeug gemäß einem Ausführungsbeispiel der vorliegenden Erfindung. 3 ist eine beispielhafte schematische Darstellung einer Laserscanprojektionsvorrichtung gemäß einem Ausführungsbeispiel der vorliegenden Erfindung. Über die gesamte Beschreibung ist eine Horizontalachse einer Bildausgabe der Laserscanprojektionsvorrichtung 20 als eine X-Achse bezeichnet und die Vertikalachse des Bildes ist als eine Y-Achse angegeben. Bilder, die auf einer ersten gewölbten Scheibe 12 angezeigt werden, sind durch gepunktete Linien in 1 dargestellt, und Bilder, die auf einer zweiten gewölbten Scheibe 14 dargestellt werden, sind durch Strichpunktlinien in 2 dargestellt.
  • Wie in 1 und 2 dargestellt ist, kann eine Anzeigevorrichtung 5 für ein Fahrzeug gemäß einer beispielhaften Ausführungsform der Erfindung die erste gewölbte Scheibe 12, die zweite gewölbte Scheibe 14, die Laserscanprojektionsvorrichtung 20, einen ersten Spiegel 32, einen zweiten Spiegel 34, einen dritten Spiegel 36, einen vierten Spiegel 38 und eine Steuerung 40 aufweisen.
  • Die erste gewölbte Scheibe 12 kann ein Windschutzscheibenglas sein und die zweite gewölbte Scheibe 14 kann an einer Oberfläche eines Armaturenbretts 60 vorgesehen sein. Die zweite gewölbte Scheibe 14 kann aus transparentem Acryl-Material hergestellt sein. Bilder werden von der Laserscanprojektionsvorrichtung 20 auf die erste gewölbte Scheibe 12 und die zweite gewölbte Scheibe 14 projiziert und können visuell von einem Anwender, wie z.B. einem Fahrer, durch einen vorbestimmten Augenrahmen EB erkannt werden. Die Bilder, die auf die erste gewölbte Scheibe 12 projiziert werden, können Informationen über eine Fahrzeuggeschwindigkeit, Informationen über eine Fahrtroute und dergleichen beinhalten. Das heißt, dass die Bilder, die auf die erste gewölbte Scheibe 12 projiziert werden, Bilder sein können, die Informationen entsprechen, die von einer existierenden Head-up-Display-Vorrichtung zur Verfügung gestellt werden.
  • Ferner können die Bilder, die auf die zweite gewölbte Scheibe 14 projiziert werden, Informationen über die Fahrzeuggeschwindigkeit, Informationen über die Motordrehzahl, Informationen über die Kühlmitteltemperatur, Informationen über den Treibstofffüllstand, gesammelte, Informationen über Entfernungen, Informationen über Reisedistanzen, Informationen über Betriebszustände von Lampen (z.B. Blinksignallampen oder Fernlichtsignallampen) und Informationen über Betriebszustände von verschiedenen Vorrichtungen (z.B. Türen, Sicherheitsgurte oder einer Batterie) beinhalten. In anderen Worten, die Bilder, die auf die zweite gewölbte Scheibe 14 projiziert werden, können Bilder sein, die Informationen entsprechen, die von einer existierenden Baugruppenvorrichtung zur Verfügung gestellt werden.
  • Mit Bezug auf 3 weist die Laserscanprojektionsvorrichtung 20 einen Laserstrahlgenerator 210, einen Laserstrahlbündler 220, und einen Mikrolektrischen System (MEMS) Scanner 230 auf. Der Laserstrahlgenerator 210 kann eine rote Laserstrahlenquelle 210a beinhalten, die eingerichtet ist, einen roten Laserstrahl zu projizieren, eine grüne Laserstrahlenquelle 210b beinhalten, die eingerichtet ist, einen grünen Laserstrahl zu projizieren und eine blaue Laserstrahlenquelle 210c beinhalten, die eingerichtet ist, einen blauen Laserstrahl zu projizieren. Jede der roten Laserstrahlenquelle 210a, der grünen Laserstrahlenquelle 210b und der blauen Laserstrahlenquelle 210c kann eingerichtet sein, Laserstrahlen basierend auf Steuerungssignalausgaben der Steuerung 40 zu projizieren. Solche verschiedenen Laserstrahlen können gemischt werden, um eine Vielzahl von Farben wiederzugeben. Ferner, auf Grund der hohen Gerichtetheit, verlaufen die Laserstrahlen in einer im Wesentlichen geraden Linie ohne Streuung. Wenn die Laserstrahlen anstelle einer fluoreszierenden Lampe verwendet werden, kann es möglich sein, eine reine Farbe einer intensiven einzelnen Wellenlänge zu erhalten, sogar mit geringer Energie entsprechend den Eigenschaften des Laserstrahls. Demzufolge können Bilder mit grundsätzlich hoher Qualität zur Verfügung gestellt werden, unabhängig von den Distanzen zwischen der Laserscanprojektionsvorrichtung 20 und den gewölbten Scheiben 12 und 14, da ein Brennpunkt nicht getroffen werden braucht.
  • Der Laserstrahlbündler 220 kann eingerichtet sein, Laserstrahlen zu bündeln, die von dem Laserstrahlgenerator 210 projiziert werden. Der Laserstrahlbündler 220 kann eingerichtet sein, die von dem Laserstrahlgenerator 210 abgegebenen Laserstrahlen zu dem MEMS-Scanner 230 durch einen einzigen Weg durchzulassen. Der Laserstrahlbündler 220 kann eine Mehrzahl an Kollimatorlinsen 225a, 225b und 225c aufweisen und eine Mehrzahl von dichroitischen Spiegeln 220a, 220b und 220c aufweisen. Die Mehrzahl an Kollimatorlinsen 225a, 225b und 225c kann in einer Projektionsrichtung der Laserstrahlen, die von dem Laserstrahlgenerator 210 projiziert werden, angeordnet sein. Die Mehrzahl an Kollimatorlinsen 225a, 225b und 225c kann eingerichtet sein, die Laserstrahlen zu brechen, um parallele Laserstrahlen zu erzeugen.
  • Ein dichroitischer Spiegel kann eingerichtet sein, Laserstrahlen in einem spezifischen Frequenzband zu reflektieren und Laserstrahlen mit anderen Frequenzen als das spezifische Frequenzband durchzulassen (z.B. den Laserstrahlen erlauben dort durchzugehen). Insbesondere kann der dichroitische Spiegel 220a, der der Projektionsrichtung der roten Laserquelle 210a entspricht, eingerichtet sein, Laserstrahlen in einem roten Frequenzband zu reflektieren und Laserstrahlen mit anderen Frequenzen als das rote Frequenzband durchzulassen. Der dichroitische Spiegel 220b, der der Projektionsrichtung der grünen Laserquelle 210b entspricht, kann eingerichtet sein, Laserstrahlen in einem grünen Frequenzband zu reflektieren und Laserstrahlen mit anderen Frequenzen als dem grünen Frequenzband durchzulassen. Der dichroitische Spiegel 220c, der der Projektionsrichtung der blauen Laserquelle 210c entspricht, kann eingerichtet sein, Laserstrahlen in einem blauen Frequenzband zu reflektieren und Laserstrahlen mit anderen Frequenzen als dem blauen Frequenzband durchzulassen.
  • Jeder der dichroitischen Filter 220a, 220b und 220c kann eingerichtet sein, Laserstrahlen in Richtung auf den MEMS-Scanner 230 zu zu reflektieren. Der MEMS-Scanner 230 kann einen MEMS-Spiegel 235 aufweisen, der eingerichtet ist, Laserstrahlen entlang der X-Achsenrichtung und der Y-Achsenrichtung zu erfassen und einen Antriebsbereich (nicht dargestellt) aufweisen, der mit der Steuerung 40 verbunden ist. Der Antriebsbereich kann eingerichtet sein, den MEMS-Spiegel 235 im Hinblick auf die X-Achse oder die Y-Achse basierend auf Antriebssignalausgaben von der Steuerung 40 zu drehen. Der MEMS-Spiegel 235 kann eingerichtet sein, Bilder auf eine vorbestimmte Projektionsfläche durch Erfassen der Laserstrahlen zu projizieren.
  • Die Steuerung 40 kann mit einem oder mehreren Mikroprozessoren zum Ausführen eines vorbestimmten Programms realisiert sein. Das vorbestimmte Programm kann eine Anzahl von Befehlen zum Ausführen jedes Schrittes eines Verfahrens zum Steuern der Laserscanprojektionsvorrichtung 20 zum Anzeigen von Bildern entsprechend einer beispielhaften Ausführungsform der vorliegenden Erfindung beinhalten. Insbesondere kann die Steuerung 40 eingerichtet sein, ein Bild, dass auf der ersten gewölbten Scheibe 12 und ein Bild, das auf der zweiten gewölbten Scheibe 14 angezeigt werden soll, zu bestimmten. Die Steuerung 40 kann auch eingerichtet sein, Steuerungssignale an jede der Laserquellen 210a, 210b, 210c auszugeben, um die Laserstrahlen blinken zu lassen (z.B. schalte den Laserstrahl an und aus in einer blinkenden Weise). Die Steuerung 40 kann eingerichtet sein, die Antriebssignale zum MEMS-Scanner 230 auszugeben, um die Richtung der Laserstrahlen, die von dem MEMS-Spiegel 235 reflektiert werden, einzustellen, so dass die Laserstrahlen eine Scannlinie SL bilden.
  • Die Steuerung 40 kann eingerichtet sein, die Laserscanprojektionsvorrichtung 20 so zu betreiben, dass Laserstrahlen projiziert werden, die ein Bild auf einer Reflektionsoberfläche des ersten Spiegels 32 bilden. Insbesondere kann jeder Pixel des Bildes auf der Reflektionsfläche des ersten Spiegels 32 gebildet werden, in dem die blinkenden Laserstrahlen gescannt werden. Eine Rahmenzeit (d.h. die Zeit genommen für den MEMS-Spiegel um zu seiner ursprünglichen Stellung zurückzukehren, wenn Laserstrahlen sequentiell entsprechend der sequentiellen Scanntechnik gescannt werden) kann etwa 1/60 Sekunde betragen, ist jedoch nicht hierauf beschränkt. Das Bild, das auf dem ersten Spiegel 32 gebildet wird, kann in Richtung auf den zweiten Spiegel 34 zu reflektiert werden. Der zweite Spiegel 34 kann eingerichtet sein, die Laserstrahlen zu reflektieren, die von dem ersten Spiegel 32 in Richtung auf den dritten Spiegel 36 zu reflektiert werden. Der dritte Spiegel 36 kann eingerichtet sein, die Laserstrahlen zu reflektieren, die von dem zweiten Spiegel 34 in Richtung auf die erste gewölbte Scheibe 12 zu reflektiert werden. Die Laserstrahlen, die von dem dritten Spiegel 36 reflektiert werden, können durch eine Scheibe 16 durchtreten, die an einer oberen Oberfläche des Armaturenbretts 60 gebildet ist, und können auf die erste gewölbte Scheibe 12 projiziert werden.
  • Die Steuerung 40 kann eingerichtet sein, ein Ausgabetiming der Laserstrahlabgabe der Laserscanprojektionsvorrichtung 20 basierend auf der Form der ersten gewölbten Scheibe 12 auszuführen. Mit anderen Worten, die Steuerung 40 kann eingerichtet sein, die Richtung der Laserstrahlen, die von dem MEMS-Spiegel 235 erfasst werden basierend auf dem Krümmungswert der ersten gewölbten Scheibe 12 einzustellen. Demzufolge können der erste, zweite und dritte Spiegel 32, 34 und 36 Planspiegel sein eher dann als asphärische Spiegel. Da es schwierig ist, sphärische Spiegel herzustellen, können die Herstellungskosten gesenkt werden, wenn Planspiegel verwendet werden. Ergänzend, durch Verwendung des ersten, zweiten und dritten Spiegels 32, 34 und 36 kann die Tiefe des Laserstrahls, der zum Anzeigen eines Bildes auf der ersten gewölbten Scheibe 12 erforderlich ist, eingestellt werden, um die Größe der Anzeigevorrichtung 5, die in einem Fahrzeug installiert wird, zu verringern.
  • Die Steuerung 40 kann eingerichtet sein, die Laserscanprojektionsvorrichtung 20 zu betreiben, Laserstrahlen so zu projizieren, dass sie ein Bild auf der Reflektionsoberfläche des ersten Spiegels 32 bilden. Ein Bild, das auf dem vierten Spiegel 38 gebildet ist, kann in Richtung auf die zweite gekrümmte Scheibe 14 reflektiert werden. Die Steuerung 40 kann eingerichtet sein, das Ausgabetiming von der Laserstrahlenabgabe der Laserscanprojektionsvorrichtung 20 basierend auf der Form der zweiten gewölbten Scheibe 14 einzustellen. Demzufolge kann der vierte Spiegel 38 ein Planspiegel sein, eher als ein asphärischer Spiegel, der entsprechend der Form der zweiten gewölbten Scheibe 14 gestaltet ist.
  • Ein Motor 50 kann eingerichtet sein, den vierten Spiegel 38 um eine Rotationsachse 38a basierend auf einer Antriebssignalausgabe von der Steuerung 40 zu drehen. Der Motor 50 kann als Schrittmotor ausgeführt sein, der in der Lage ist, den vierten Spiegel 38 um einen vorbestimmten Winkel zu drehen. Der vierte Spiegel 38 kann um die Rotationsachse 38a basierend auf dem Betrieb des Motors 50 gedreht werden, um selektiv Bilder, die von der Laserscanprojektionsvorrichtung 20 projiziert werden, zu reflektieren.
  • Die Steuerung 40 kann eingerichtet sein, ein Bild zum Anzeigen auf der ersten gewölbte Scheibe 12 und ein Bild zum Anzeigen auf der zweiten gewölbten Scheibe 14 zu bestimmen, und die Laserscanprojektionsvorrichtung 20 so zu betreiben, dass die Bilder abwechselnd zu einer vorbestimmten Zeit angezeigt werden. Die vorbestimmte Zeit kann etwa 1/60 einer Sekunde als eine Rahmenzeit sein, ist jedoch nicht hierauf beschränkt. Die Steuerung 40 kann eingerichtet sein, den Motor 50 so zu betreiben, dass er den vierten Spiegel 38 zu einer vorbestimmten Zeit um einen vorbestimmten Winkel dreht. Der vorbestimmte Winkel kann von einem durchschnittlichen Fachmann auf dem Gebiet unter Berücksichtigung von Positionen der Laserscanprojektionsvorrichtung 20, des ersten Spiegels 32 und des vierten Spiegels 38 vorbestimmt werden.
  • Wie oben beschrieben wurde, kann es gemäß einer beispielhaften Ausführungsform der vorliegenden Erfindung möglich sein, gleichzeitig mehrere verschiedene Bilder unter Verwendung einer einzelnen Laserscanprojektionsvorrichtung 20 zur Verfügung zu stellen. Ferner können die Herstellungskosten, der Energieverbrauch und der Einbauplatzbedarf durch Verwendung der einzelnen Laserscanprojektionsvorrichtung 20 reduziert werden. Ferner können durch Verwendung der Laserscanprojektionsvorrichtung 20 asphärische Spiegel, die der Form der gewölbten Scheiben entsprechen, entfallen und es ist keine zusätzliche Vorrichtung zum Treffen eine Brennpunktes nötig.

Claims (15)

  1. Anzeigevorrichtung (5) für ein Fahrzeug, mit: einer Laserscanprojektionsvorrichtung (20), die eingerichtet ist, ein Bild auf eine vorbestimmte Projektionsfläche zu projizieren; einem ersten Spiegel (32), der eingerichtet ist, das von der Laserscanprojektionsvorrichtung (20) projizierte Bild zu reflektieren; einem zweiten Spiegel (34), der eingerichtet ist, das vom ersten Spiegel (32) reflektierte Bild zu reflektieren; einem dritten Spiegel (36), der eingerichtet ist, das vom zweiten Spiegel (34) reflektierte Bild zu reflektieren; einer ersten gewölbten Scheibe (12), die eingerichtet ist, das vom dritten Spiegel (36) reflektierte Bild anzuzeigen; gekennzeichnet durch einen vierten Spiegel (38), der zwischen der Laserscanprojektionsvorrichtung (20) und dem ersten Spiegel (32) angeordnet ist; eine zweite gewölbte Scheibe (14), die eingerichtet ist, ein vom vierten Spiegel (38) reflektiertes Bild anzuzeigen; und eine Steuerung (40), die eingerichtet ist, das auf der ersten gewölbten Scheibe (12) und das auf der zweiten gewölbten Scheibe (14) angezeigte Bild zu bestimmen, wobei der vierte Spiegel (38) von einem Motor (50) um eine Rotationsachse (38a) drehbar angeordnet ist und eingerichtet ist, wählbar die von der Laserscanprojektionsvorrichtung (20) projizierten Bilder zu reflektieren wobei die Steuerung (40) eingerichtet ist, die Laserscanprojektionsvorrichtung (20) und den Motor (50) so zu betreiben, dass sie abwechselnd die Bilder, die auf der ersten (12) und zweiten (14) gewölbten Scheibe projiziert werden, zu vorbestimmten Zeiten anzeigt.
  2. Anzeigevorrichtung nach Anspruch 1, wobei die Steuerung (40) eingerichtet ist, den Motor (50) so zu betreiben, dass er den vierten Spiegel (38) um einen vorbestimmten Winkel zu einer vorbestimmten Zeit dreht.
  3. Anzeigevorrichtung nach einem der vorhergehenden Ansprüche, wobei der erste (32), zweite (34), dritte (36) und vierte (38) Spiegel Planspiegel sind.
  4. Anzeigevorrichtung nach einem der vorhergehenden Ansprüche, wobei die Steuerung (40) eingerichtet ist, ein Ausgabetiming von Laserstrahlen von der Laserscanprojektionsvorrichtung (20) basierend auf Formen der ersten (12) und zweiten (14) gewölbten Scheibe einzustellen.
  5. Anzeigevorrichtung nach einem der vorhergehenden Ansprüche, wobei die erste gewölbte Scheibe (12) eine Windschutzscheibe und die zweite gewölbte Scheibe (14) an einer Oberfläche eines Armaturenbrettes angeordnet ist.
  6. Anzeigevorrichtung nach einem der vorhergehenden Ansprüche, wobei die Laserscanprojektionsvorrichtung (20) aufweist: einen Laserstrahlgenerator (210), der eingerichtet ist, Laserstrahlen zu emittieren; einen Laserstrahlbündler (220), der eingerichtet ist, die von dem Laserstrahlgenerator (210) projizierten Laserstrahlen zu bündeln; und ein MEMS-Scanner (230), der eingerichtet ist, das Bild auf die vorbestimmte Projektionsfläche durch Scannen der Laserstrahlen zu projizieren.
  7. Anzeigevorrichtung nach Anspruch 6, wobei der MEMS-Scanner (230) einen MEMS-Spiegel (235) beinhaltet, der eingerichtet ist die Laserstrahlen zu erfassen.
  8. Anzeigevorrichtung nach Anspruch 7, wobei die Steuerung (40) eingerichtet ist, die Richtung der Laserstrahlen, die von dem MEMS-Spiegel (235) erfasst werden, basierend auf Krümmungswerten der ersten (12) und zweiten (14) gewölbten Scheibe einzustellen.
  9. Verfahren zum Ausgeben von Bildern einer Anzeigevorrichtung (5) eines Fahrzeugs, umfassend: - einen Projektor (20) nutzend, mittels einer Steuerung (40), ein Bild auf eine vorbestimmte Projektionsfläche projizieren, wobei das projizierte Bild durch einen ersten Spiegel (32) reflektiert wird; - Anzeigen eines Bildes mittels der Steuerung (40), das von einem dritten Spiegel (36), reflektiert wird, auf einer ersten gewölbten Scheibe (12); wobei das Bild, das von dem dritten Spiegel (36) reflektiert wird, von einem zweiten Spiegel (34) reflektiert wurde; gekennzeichnet durch - Anzeigen eines Bildes mittels der Steuerung (40), das von einem vierten Spiegel (38), der zwischen dem Projektor und dem ersten Spiegel (32) angeordnet ist, reflektiert wird, auf einer zweiten gewölbten Scheibe (14); und - Bestimmen, mittels der Steuerung (40), des Bildes, das auf der ersten gewölbten Scheibe (12) angezeigt wird und des Bildes, das auf der zweiten gewölbten Scheibe (14) angezeigt wird, - Drehen des vierten Spiegels (38) mittels der Steuerung (40) um eine Drehachse (38a) und selektives Reflektieren der projizierten Bilder; - alternierendes Anzeigen, mittels der Steuerung (40), der Bilder auf der ersten (12) und zweiten (14) gewölbten Scheibe zu vorbestimmten Zeiten.
  10. Verfahren nach Anspruch 9, zusätzlich umfassend: den vierten Spiegel (38) mittels der Steuerung (40) um einen vorbestimmten Winkel zu einer vorbestimmten Zeit drehen.
  11. Verfahren nach Anspruch 10, wobei der erste (32), zweite (34), dritte (36) und vierte (38) Spiegel Planspiegel sind.
  12. Verfahren nach Anspruch 11, zusätzlich umfassend: Einstellen von Ausgabezeiten einer Laserstrahlenabgabe von dem Projektor (20) basierend auf Formen der ersten (12) und zweiten (14) gewölbten Scheibe mittels der Steuerung (40).
  13. Verfahren nach Anspruch 12, zusätzlich umfassend: Ausgeben von Laserstrahlen mittels der Steuerung (40); Kombinieren von projizierten Laserstrahlen mittels der Steuerung (40); und Projizieren mittels der Steuerung (40) des Bildes auf die vorbestimmte Projektionsfläche durch Scannen der Laserstrahlen unter Verwendung eines MEMS-Scanners (230).
  14. Verfahren nach Anspruch 13, wobei der MEMS-Scanner (230) einen MEMS-Spiegel (235) beinhaltet, der eingerichtet ist, die Laserstrahlen zu erfassen.
  15. Verfahren nach Anspruch 14, zusätzlich umfassend: Einstellen mittels der Steuerung (40) der Richtung der Laserstrahlen, die von dem MEMS-Spiegel (235) erfasst werden, basierend auf Krümmungswerten der ersten (12) und zweiten (14) gewölbten Scheibe.
DE102014213552.4A 2013-12-18 2014-07-11 Anzeigevorrichtung und Anzeigeverfahren für ein Fahrzeug Active DE102014213552B4 (de)

Applications Claiming Priority (2)

Application Number Priority Date Filing Date Title
KR1020130157983A KR101518932B1 (ko) 2013-12-18 2013-12-18 차량용 디스플레이 장치
KR10-2013-0157983 2013-12-18

Publications (2)

Publication Number Publication Date
DE102014213552A1 DE102014213552A1 (de) 2015-06-18
DE102014213552B4 true DE102014213552B4 (de) 2021-10-07

Family

ID=53192866

Family Applications (1)

Application Number Title Priority Date Filing Date
DE102014213552.4A Active DE102014213552B4 (de) 2013-12-18 2014-07-11 Anzeigevorrichtung und Anzeigeverfahren für ein Fahrzeug

Country Status (4)

Country Link
US (1) US9081180B2 (de)
KR (1) KR101518932B1 (de)
CN (1) CN104730712A (de)
DE (1) DE102014213552B4 (de)

Families Citing this family (20)

* Cited by examiner, † Cited by third party
Publication number Priority date Publication date Assignee Title
KR101640053B1 (ko) * 2015-01-02 2016-07-18 현대자동차주식회사 차량용 디스플레이 장치 및 이를 포함하는 차량
KR20170014497A (ko) * 2015-07-30 2017-02-08 주식회사 코리아하이텍 차량용 프로젝터 디스플레이 장치
DE202015008142U1 (de) 2015-11-26 2017-03-02 Gm Global Technology Operations, Llc Head-up-Display eines Kraftfahrzeugs sowie Kraftfahrzeug
CN105652443B (zh) * 2016-01-08 2018-09-28 北京乐驾科技有限公司 一种基于hud的光路传播系统、方法及装置
JP6628873B2 (ja) * 2016-05-20 2020-01-15 マクセル株式会社 投影光学系、ヘッドアップディスプレイ装置及び自動車
US9959818B2 (en) 2016-09-22 2018-05-01 Microsoft Technology Licensing, Llc Display engines for use with optical waveguides
CN107870420A (zh) * 2016-09-27 2018-04-03 上海蔚兰动力科技有限公司 抬头显示装置的可调式反射器及包含其的抬头显示装置
CN108107575A (zh) * 2016-11-25 2018-06-01 矽创电子股份有限公司 光学成像装置
WO2018168708A1 (ja) * 2017-03-14 2018-09-20 パイオニア株式会社 表示装置
JP7005107B2 (ja) * 2017-10-20 2022-02-04 矢崎総業株式会社 車両用表示装置
DE102017130376B4 (de) * 2017-12-18 2020-12-24 Valeo Schalter Und Sensoren Gmbh Anzeigevorrichtung als Head-up Display mit einfacher Eyebox-Verschiebung
US11378800B2 (en) 2018-01-11 2022-07-05 Samsung Electronics Co., Ltd. Image display apparatus
JP7354797B2 (ja) * 2019-11-27 2023-10-03 株式会社リコー 光偏向器、偏向装置、距離測定装置、画像投影装置、及び車両
CN113495423B (zh) * 2020-04-01 2022-05-31 宁波舜宇车载光学技术有限公司 投影设备及投影方法
CN111458862A (zh) * 2020-05-13 2020-07-28 苏州路之遥科技股份有限公司 一种平面反射式图像显示装置
KR20220054492A (ko) * 2020-10-23 2022-05-03 삼성디스플레이 주식회사 복수 표시 패널 결합형 표시 장치
CN113031280A (zh) * 2021-04-13 2021-06-25 上海天马微电子有限公司 显示装置和成像系统
US11803110B2 (en) * 2021-04-14 2023-10-31 Coretronic Corporation Projection device
CN114035324B (zh) * 2021-10-31 2023-09-22 东风商用车有限公司 一种hud光路投影系统及方法
CN115016125A (zh) * 2022-07-07 2022-09-06 业成科技(成都)有限公司 图像生成模组、抬头显示系统及交通工具

Citations (3)

* Cited by examiner, † Cited by third party
Publication number Priority date Publication date Assignee Title
US20090160736A1 (en) 2007-12-19 2009-06-25 Hitachi, Ltd. Automotive head up display apparatus
JP2010274803A (ja) 2009-05-29 2010-12-09 Kanto Auto Works Ltd 車両用表示装置
EP2546087A1 (de) 2010-03-11 2013-01-16 Toyota Jidosha Kabushiki Kaisha Vorrichtung zur bildpositionseinstellung

Family Cites Families (13)

* Cited by examiner, † Cited by third party
Publication number Priority date Publication date Assignee Title
FR2578330B1 (fr) * 1985-03-01 1989-03-31 Thomson Csf Systeme aeroporte de visualisation d'images collimatees
CN1906950A (zh) * 2003-12-31 2007-01-31 讯宝科技公司 用于可控制地补偿激光投影显示器中的失真的方法和设备
KR20080050669A (ko) 2006-12-04 2008-06-10 엘지전자 주식회사 차량용 헤드업 디스플레이 장치
KR20100078688A (ko) * 2008-12-30 2010-07-08 송혁규 프로젝션 디스플레이 장치 및 그를 이용한 디스플레이 방법
KR101182154B1 (ko) 2010-06-16 2012-09-13 한국건설기술연구원 운송수단의 허드 장치 및 그 동작 제어방법
DE102010013241A1 (de) * 2010-03-29 2011-09-29 Audi Ag Vorrichtung zur Anzeige von Informationen in einem Kraftfahrzeug
JP5093279B2 (ja) * 2010-03-30 2012-12-12 株式会社デンソー 車両用ヘッドアップディスプレイ装置
FR2960309B1 (fr) * 2010-05-20 2013-06-28 Delphi Tech Inc Systeme d'affichage tete haute
JP4907744B1 (ja) 2010-09-15 2012-04-04 パイオニア株式会社 表示装置
KR20120051831A (ko) * 2010-11-15 2012-05-23 삼성전자주식회사 프로젝터 및 그 구동 방법
KR20120062521A (ko) * 2010-12-06 2012-06-14 현대자동차주식회사 차량 디스플레이 시스템
JP5370427B2 (ja) 2011-07-24 2013-12-18 株式会社デンソー ヘッドアップディスプレイ装置
CN102514492B (zh) * 2011-11-22 2014-05-07 苏州科雷芯电子科技有限公司 基于机器视觉技术的汽车仪表盘

Patent Citations (3)

* Cited by examiner, † Cited by third party
Publication number Priority date Publication date Assignee Title
US20090160736A1 (en) 2007-12-19 2009-06-25 Hitachi, Ltd. Automotive head up display apparatus
JP2010274803A (ja) 2009-05-29 2010-12-09 Kanto Auto Works Ltd 車両用表示装置
EP2546087A1 (de) 2010-03-11 2013-01-16 Toyota Jidosha Kabushiki Kaisha Vorrichtung zur bildpositionseinstellung

Also Published As

Publication number Publication date
CN104730712A (zh) 2015-06-24
US20150168718A1 (en) 2015-06-18
US9081180B2 (en) 2015-07-14
KR101518932B1 (ko) 2015-05-11
DE102014213552A1 (de) 2015-06-18

Similar Documents

Publication Publication Date Title
DE102014213552B4 (de) Anzeigevorrichtung und Anzeigeverfahren für ein Fahrzeug
EP3847499B1 (de) Verfahren zum betreiben einer blickfeldanzeigevorrichtung für ein kraftfahrzeug
DE102012107423B4 (de) Head-Up-Displayeinrichtung mit einem Bildschirmelement mit einer Mehrzahl von optischen Elementen
EP3254152B1 (de) Vorrichtung zur dateneinspiegelung mittels holografischer optischer elemente
DE102017219145B4 (de) Fahrzeuganzeigevorrichtung
DE69624774T2 (de) Hintergrundbeleuchtete Farbanzeige
DE102014213057B4 (de) Head-Up-Anzeigevorrichtung und Anzeigeeinheit
DE102011083662B4 (de) Anzeigevorrichtung für einen Insassen eines Fahrzeugs, Fahrzeug und Verfahren zur Generierung einer Anzeige in einem Sichtfeld des Insassen
DE102018213820A1 (de) Verfahren zum Betreiben einer Blickfeldanzeigevorrichtung für ein Kraftfahrzeug
DE102012107424A1 (de) Head-Up-Displayeinrichtung, Bildschirmelement, Herstellungsverfahren dafür, und Bildprojektionsverfahren
DE102014003351B4 (de) Head-Up-Display und Darstellungsverfahren
DE102012107066A1 (de) Head-Up-Display-Einrichtung
EP1347641A1 (de) Projektionsfreie Anzeigevorrichtung
EP2894509A1 (de) Blickfeldanzeige für ein Fahrzeug zum Darstellen von Bildinformationen in zwei unabhängigen Bildern für einen Betrachter
DE102016203789A1 (de) Frontscheibenanzeige für ein Fahrzeug und Steuerverfahren dafür
DE112015001200T5 (de) Lichtemittierende Fahrzeug-Anzeigevorrichtung und Fahrzeug-Anzeigesystem
DE112015002814T5 (de) Anzeigevorrichtung für virtuelle Bilder
DE102014213355B4 (de) Anzeige-Einheit mit einer Headup-Display-Vorrichtung
DE102012211729A1 (de) Kamerasystem zum Erfassen der Position eines Fahrers eines Kraftfahrzeugs
DE112015002481T5 (de) Head-up-Display-Vorrichtung
DE102016111119A1 (de) Laser-Projektionsanordnung und Verfahren zur Erzeugung virtueller Bilder
DE102017130376B4 (de) Anzeigevorrichtung als Head-up Display mit einfacher Eyebox-Verschiebung
DE69123322T2 (de) Head-up-Anzeige zur Anzeige von Data an Bord eines Autos
DE102019121048A1 (de) Waveguide-basiertes Direktsichtdisplay
DE202016000640U1 (de) Head-up-Display eines Kraftfahrzeugs sowie Kraftfahrzeug

Legal Events

Date Code Title Description
R083 Amendment of/additions to inventor(s)
R012 Request for examination validly filed
R016 Response to examination communication
R018 Grant decision by examination section/examining division
R020 Patent grant now final