CN2800193Y - Refrigerator - Google Patents
Refrigerator Download PDFInfo
- Publication number
- CN2800193Y CN2800193Y CNU2004201174411U CN200420117441U CN2800193Y CN 2800193 Y CN2800193 Y CN 2800193Y CN U2004201174411 U CNU2004201174411 U CN U2004201174411U CN 200420117441 U CN200420117441 U CN 200420117441U CN 2800193 Y CN2800193 Y CN 2800193Y
- Authority
- CN
- China
- Prior art keywords
- refrigerator
- vacuum
- heat
- space
- vacuum heat
- Prior art date
- Legal status (The legal status is an assumption and is not a legal conclusion. Google has not performed a legal analysis and makes no representation as to the accuracy of the status listed.)
- Expired - Fee Related
Links
Images
Classifications
-
- F—MECHANICAL ENGINEERING; LIGHTING; HEATING; WEAPONS; BLASTING
- F25—REFRIGERATION OR COOLING; COMBINED HEATING AND REFRIGERATION SYSTEMS; HEAT PUMP SYSTEMS; MANUFACTURE OR STORAGE OF ICE; LIQUEFACTION SOLIDIFICATION OF GASES
- F25D—REFRIGERATORS; COLD ROOMS; ICE-BOXES; COOLING OR FREEZING APPARATUS NOT OTHERWISE PROVIDED FOR
- F25D23/00—General constructional features
- F25D23/06—Walls
- F25D23/065—Details
-
- F—MECHANICAL ENGINEERING; LIGHTING; HEATING; WEAPONS; BLASTING
- F16—ENGINEERING ELEMENTS AND UNITS; GENERAL MEASURES FOR PRODUCING AND MAINTAINING EFFECTIVE FUNCTIONING OF MACHINES OR INSTALLATIONS; THERMAL INSULATION IN GENERAL
- F16L—PIPES; JOINTS OR FITTINGS FOR PIPES; SUPPORTS FOR PIPES, CABLES OR PROTECTIVE TUBING; MEANS FOR THERMAL INSULATION IN GENERAL
- F16L59/00—Thermal insulation in general
- F16L59/06—Arrangements using an air layer or vacuum
- F16L59/065—Arrangements using an air layer or vacuum using vacuum
-
- B—PERFORMING OPERATIONS; TRANSPORTING
- B32—LAYERED PRODUCTS
- B32B—LAYERED PRODUCTS, i.e. PRODUCTS BUILT-UP OF STRATA OF FLAT OR NON-FLAT, e.g. CELLULAR OR HONEYCOMB, FORM
- B32B17/00—Layered products essentially comprising sheet glass, or glass, slag, or like fibres
- B32B17/02—Layered products essentially comprising sheet glass, or glass, slag, or like fibres in the form of fibres or filaments
-
- F—MECHANICAL ENGINEERING; LIGHTING; HEATING; WEAPONS; BLASTING
- F25—REFRIGERATION OR COOLING; COMBINED HEATING AND REFRIGERATION SYSTEMS; HEAT PUMP SYSTEMS; MANUFACTURE OR STORAGE OF ICE; LIQUEFACTION SOLIDIFICATION OF GASES
- F25D—REFRIGERATORS; COLD ROOMS; ICE-BOXES; COOLING OR FREEZING APPARATUS NOT OTHERWISE PROVIDED FOR
- F25D2201/00—Insulation
- F25D2201/10—Insulation with respect to heat
- F25D2201/12—Insulation with respect to heat using an insulating packing material
- F25D2201/124—Insulation with respect to heat using an insulating packing material of fibrous type
-
- F—MECHANICAL ENGINEERING; LIGHTING; HEATING; WEAPONS; BLASTING
- F25—REFRIGERATION OR COOLING; COMBINED HEATING AND REFRIGERATION SYSTEMS; HEAT PUMP SYSTEMS; MANUFACTURE OR STORAGE OF ICE; LIQUEFACTION SOLIDIFICATION OF GASES
- F25D—REFRIGERATORS; COLD ROOMS; ICE-BOXES; COOLING OR FREEZING APPARATUS NOT OTHERWISE PROVIDED FOR
- F25D2201/00—Insulation
- F25D2201/10—Insulation with respect to heat
- F25D2201/14—Insulation with respect to heat using subatmospheric pressure
-
- Y—GENERAL TAGGING OF NEW TECHNOLOGICAL DEVELOPMENTS; GENERAL TAGGING OF CROSS-SECTIONAL TECHNOLOGIES SPANNING OVER SEVERAL SECTIONS OF THE IPC; TECHNICAL SUBJECTS COVERED BY FORMER USPC CROSS-REFERENCE ART COLLECTIONS [XRACs] AND DIGESTS
- Y02—TECHNOLOGIES OR APPLICATIONS FOR MITIGATION OR ADAPTATION AGAINST CLIMATE CHANGE
- Y02B—CLIMATE CHANGE MITIGATION TECHNOLOGIES RELATED TO BUILDINGS, e.g. HOUSING, HOUSE APPLIANCES OR RELATED END-USER APPLICATIONS
- Y02B40/00—Technologies aiming at improving the efficiency of home appliances, e.g. induction cooking or efficient technologies for refrigerators, freezers or dish washers
Landscapes
- Engineering & Computer Science (AREA)
- General Engineering & Computer Science (AREA)
- Mechanical Engineering (AREA)
- Chemical & Material Sciences (AREA)
- Combustion & Propulsion (AREA)
- Physics & Mathematics (AREA)
- Thermal Sciences (AREA)
- Refrigerator Housings (AREA)
- Thermal Insulation (AREA)
Abstract
本实用新型的冰箱,其特征在于,将玻璃棉衬垫作成芯材收容在气体隔离容器内,将内部作真空排气而作为板体的真空绝热板(5、6)而贴附在冰箱腔体(1)的绝热空间内面上,在其余的空间中将聚氨酯泡沫体(8)发泡充填并将其埋设的结构中,将所述真空绝热板相对于绝热空间的厚度方向重叠配设2片以上。通过将真空绝热板相对于腔体的绝热空间有效地配设,能使绝热性能大幅度提高并增大节电效果或提高贮藏室的收容容积效率、并能容易地制造绝热效果大的腔体。
The refrigerator of the utility model is characterized in that the glass wool liner is made into a core material and stored in a gas isolation container, and the inside is vacuum-exhausted to be attached to the refrigerator cavity as a vacuum insulation board (5, 6) of the board body. On the inner surface of the heat insulating space of the body (1), in the structure where the polyurethane foam (8) is foamed and filled in the remaining space and embedded, the vacuum heat insulating panels are stacked 2 times with respect to the thickness direction of the heat insulating space. slice or more. By effectively arranging the vacuum insulation panels with respect to the insulation space of the cavity, the thermal insulation performance can be greatly improved, the power saving effect can be increased, the storage volume efficiency of the storage room can be improved, and a cavity with a large thermal insulation effect can be easily manufactured. .
Description
技术领域technical field
本发明涉及将真空绝热板贴附在腔体的绝热空间内并与发泡绝热材料一起形成绝热层的冰箱。The invention relates to a refrigerator in which a vacuum heat insulation panel is attached in the heat insulation space of a cavity and forms a heat insulation layer together with a foam heat insulation material.
背景技术Background technique
以往,作为冰箱的绝热箱体的绝热材料,使用导热率低、通过发泡充填使构成腔体的外箱及内箱一体化而具有刚性的聚氨酯泡沫体成为主流,但近年来,通过将冰箱腔体的绝热性能进一步提高并防止热泄漏而使消耗电力量降低,或由于使绝热壁厚减薄而提高冰箱的容积效率,故作为绝热材料的真空绝热板局部地被实用化。In the past, as the heat insulating material of the heat-insulating box of the refrigerator, it has become the mainstream to use polyurethane foam with low thermal conductivity and rigidity through the integration of the outer box and the inner box constituting the cavity by foam filling. Vacuum insulation panels are partially used as heat insulating materials to further improve the heat insulation performance of the cavity and reduce power consumption by preventing heat leakage, or to increase the volumetric efficiency of refrigerators by reducing the thickness of the heat insulating wall.
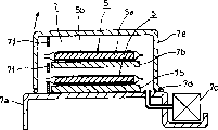
作为对于冰箱的采用例,图7中表示基本结构的真空绝热板55,为了抑制材料成本,使排气和真空度的维持容易,能获得长期可靠性的较高的内部压力下发挥作用,将形成微小空间并在大气压下能保持形态的连续气泡结构的树脂泡沫体或无机质的微细粉末、纤维用于芯材55a,用合成树脂与铝箔的层压薄膜制的气体隔离容器55b将该芯材55a包覆,在对容器55b内进行真空吸引后,将开口作成热密封部55c的密封结构。As an example of application to a refrigerator, a
又,为了能抑制从芯材55a发生的外气、和从气体隔离容器55b的密封面及从表面进入内部的透过气体等引起的内压上升产生的随时间的劣化并为了保持真空度,一般将钛、镁等的金属;钡·锂等的合金;氧化钴、氧化钙、沸石等的氧化物;活性炭等作为对水分、氧气、氮气等的空气成分;氢气等的气体进行吸附的物质构成的吸气剂55e进行封入。In addition, in order to suppress the deterioration over time caused by the increase in internal pressure caused by the external air generated from the
对于绝热性能,将珍珠岩等无机质的微细粉末作成芯材,由于微细粉末固体自身的壁厚较大,绝热用的空间容积小,故如图8所示,将连续气泡的树脂泡沫体作为芯材的结构,由于气泡颗粒的大小存在强度性限制,故作为真空绝热板的导热率,其限度为0.005~0.007W/mK程度。For heat insulation performance, inorganic fine powder such as perlite is used as the core material. Since the wall thickness of the fine powder solid itself is relatively large and the space volume for heat insulation is small, as shown in Figure 8, the continuous cell resin foam is used as the core material. The structure of the core material has strength limitations due to the size of the air bubble particles, so the thermal conductivity of the vacuum insulation panel has a limit of about 0.005 to 0.007 W/mK.
作为能获得其以下的导热率的材料,有纤维直径为数μm以下的玻璃棉,在将其作为芯材的场合由于形成大量小的空间,故能实现0.002W/mK程度的低的导热率,将该玻璃棉作为芯材的真空绝热板通过用带子固定及利用双面粘接带、或热熔来粘接固定地配设在冰箱及门的各内面上,并且,通过与硬质聚氨酯泡沫体并用来作成保持箱体强度并具有高的绝热性能的冰箱。(例如,参照专利文献1)As a material that can obtain a thermal conductivity lower than that, there is glass wool with a fiber diameter of several μm or less. When it is used as a core material, a large number of small spaces are formed, so a low thermal conductivity of about 0.002W/mK can be realized. The vacuum insulation panel with the glass wool as the core material is fixedly arranged on the inner surfaces of the refrigerator and the door by fixing with tape and using double-sided adhesive tape or hot-melt adhesive, and by bonding with rigid polyurethane foam Body and used to make a refrigerator that maintains the strength of the box and has high thermal insulation performance. (For example, refer to Patent Document 1)
[专利文献1]日本专利特开2003-28562号公报[Patent Document 1] Japanese Patent Laid-Open No. 2003-28562
真空绝热板55,如图9所示,被配设在冰箱51的外箱52及内箱53、以及门60、61等的绝热空间58侧的面上,作为改善真空绝热板的绝热性能的方法,有使真空绝热板的厚度加厚的方法,但是,对于板厚的加厚,作为真空吸引的前阶段中的芯材的玻璃棉衬垫,在原棉状态下由于是最终形态的5~10倍的厚度而成为体积变得非常大,在批量生产中需要大的暂放空间。As shown in FIG. 9, the
为了减小体积、有使用粘合剂并进行加热和加压成型的方法,但由于需要处理工序、且当仅将板厚加厚时因热桥(日文:ヒ一トブリツジ)作用、随厚度相应使导热率增大,故作为供实用的真空绝热板的厚度尺寸限于15mm左右。In order to reduce the volume, there is a method of using an adhesive and performing heat and pressure molding, but because of the need for processing steps, and when only increasing the thickness of the plate due to the effect of thermal bridges (Japanese: ヒ一トブリツジ), it depends on the thickness. The thermal conductivity is increased, so the thickness of a practical vacuum insulation panel is limited to about 15mm.
发明内容Contents of the invention
本发明,是考虑了上述问题而作成的,其目的在于,提供通过将真空绝热板相对于腔体的绝热空间有效地进行配设,使绝热性能大幅度提高并增大节电效果,或提高贮藏室的收容容积效率,并且,能容易地制造绝热效果大的腔体的冰箱。The present invention is made in consideration of the above-mentioned problems, and its object is to provide a vacuum insulation panel that can greatly improve the heat insulation performance and increase the power saving effect by effectively arranging the vacuum insulation panel with respect to the heat insulation space of the cavity, or improve The storage volume of the storage compartment is efficient, and a refrigerator having a cavity with a large heat insulating effect can be easily manufactured.
为了解决上述问题,本发明的冰箱,其特征在于,将玻璃棉衬垫作成芯材收容在气体隔离容器内,将对内部进行真空排气而作为板体的真空绝热板贴附在冰箱腔体的绝热空间内面上,在其余的空间中将聚氨酯泡沫体进行发泡充填并将其埋设的结构中,将所述真空绝热板相对于绝热空间的厚度方向重叠配设了2片以上。In order to solve the above-mentioned problems, the refrigerator of the present invention is characterized in that a glass wool gasket is used as a core material and stored in a gas isolation container, and a vacuum insulation panel as a plate body is attached to the cavity of the refrigerator by vacuum-exhausting the inside. In the structure in which polyurethane foam is foam-filled and embedded in the remaining space on the inner surface of the insulating space, two or more of the vacuum insulation panels are stacked with respect to the thickness direction of the insulating space.
采用该结构,能发现使用真空绝热板后的腔体的绝热效果,作为冰箱能起到大幅度节电的效果,并能减少在绝热腔体制造工序中的真空绝热板用的大规模的暂放空间。With this structure, the heat insulation effect of the cavity after using the vacuum insulation panel can be found, and the effect of saving electricity as a refrigerator can be greatly reduced, and the large-scale temporary maintenance of the vacuum insulation panel in the production process of the heat insulation cavity can be reduced. Make space.
附图说明Description of drawings
图1是表示本发明一实施形态的冰箱的正面的概略剖视图。Fig. 1 is a schematic cross-sectional view showing the front of a refrigerator according to an embodiment of the present invention.
图2是设置在图1中的真空绝热板的剖面详细图。Fig. 2 is a detailed cross-sectional view of the vacuum insulation panel provided in Fig. 1 .
图3是表示图2的真空绝热板的真空吸引状态的概略图。Fig. 3 is a schematic diagram showing a vacuum suction state of the vacuum insulation panel of Fig. 2 .
图4是表示配设真空绝热板状态的图1的纵剖视图。Fig. 4 is a longitudinal sectional view of Fig. 1 showing a state in which a vacuum insulation panel is arranged.
图5是详细表示真空绝热板的重叠状态的剖视图。Fig. 5 is a cross-sectional view showing in detail the overlapping state of the vacuum insulation panels.
图6是表示真空绝热板的贴附图形的冰箱的概略主视图。Fig. 6 is a schematic front view of a refrigerator showing a pattern attached to a vacuum insulation panel.
图7是表示真空绝热板的基本结构的剖视图。Fig. 7 is a cross-sectional view showing a basic structure of a vacuum insulation panel.
图8是表示芯材的真空度与导热率之差的比较曲线图。Fig. 8 is a comparative graph showing the difference between the degree of vacuum and the thermal conductivity of the core material.
图9是表示使用了以往的真空绝热板的冰箱的例子的纵剖视图。Fig. 9 is a longitudinal sectional view showing an example of a refrigerator using a conventional vacuum insulation panel.
具体实施方式Detailed ways
以下,根据附图对本发明的一实施形态进行说明。图1是本发明的冰箱的概略剖视图,在由形成本体外形的薄钢板构成的外箱2与形成贮藏室的合成树脂制的内箱3之间设有绝热空间而构成冰箱本体1。Hereinafter, an embodiment of the present invention will be described with reference to the drawings. 1 is a schematic sectional view of a refrigerator according to the present invention. The
在形成所述绝热空间的外箱2的两侧壁2a的内面,作为绝热体贴附有后面详细叙述的真空绝热板5、6,在与其余的内箱3的间隙中,利用现场发泡方式注入由聚氨酯泡沫体构成的发泡绝热材料8的原液,进行发泡充填将所述内外箱2、3与真空绝热板5一体地粘接固化而形成具有刚性的绝热腔体。On the inner surface of the two side walls 2a of the
所述真空绝热板5,如图2和表示板的真空吸引状态的图3所示,将细的玻璃纤维的棉状物、即玻璃棉作成芯材5a,将其形成衬垫状,并将该芯材5a插入于由铝箔与合成树脂的层压薄膜制成袋的厚度为80~100μm的气体隔离容器5b中,在插入芯材后,将容器5b设置在配置于基座7a上的真空室7内设置的2层式的载物台7b上,利用真空泵7c以0.03~30Pa的程度进行真空排气后,将容器的开口设有20~50mm的装订余量地进行闭塞,通过沿装订余量的10mm宽度进行热密封5c,形成将容器内部保持成真空减压状态的板状。The
玻璃棉的芯材5a,对于纤维直径,一般选择作为真空绝热板的绝热性能良好的小于等于10μm的材料,而在本实施例中,采用3~5μm直径的材料,对于纤维长度,也混入了大于等于50mm的长的纤维体,但以10mm左右的短纤维作为主体。并且,对于短纤维材料进行通常不采用的针织(日文:ニ一ドリング)加工,利用了短纤维玻璃棉具有的良好的绝热性能及形状保持特性。For the fiber diameter of the
上述形成的衬垫状芯材5a,被切断成规定的大小,或适当地将衬垫重叠成最终所需的厚度的状态下,插入于所述气体隔离容器5b中,与以往相比通过针织加工就使其厚度减薄成几分之一。并且,由于织物身骨硬,故能容易地进行向气体隔离容器5b的插入作业,与体积高的以往的衬垫形状相比、气体隔离容器5b自身的大小能减小,在真空板形成前的衬垫状态下的批量生产线中的暂放空间也减少,并且,容纳衬垫的真空室7的自身的大小也能缩小。The cushion-
并且,插入芯材5a后的气体隔离容器5b,在真空室7内进行真空吸引后将其开口部作成热密封部5c,然后,利用将室7内向大气开放引起的气压差、将芯材5a进一步压缩成1/2左右,故最终的厚度成为10~15mm。And, the
本实施例的场合,将厚度尺寸形成为12mm,将纵与横的尺寸分别形成为500mm、1400mm,将所述铰链部7d作为支轴、使室外套7e向上方的箭头方向转动,同样地将该真空绝热板5从上下移动的热密封杆7f的开放的开口进行滑动地取出。In the case of this embodiment, the thickness dimension is formed to be 12mm, and the vertical and horizontal dimensions are respectively formed to be 500mm and 1400mm, and the
由上述形成的真空绝热板5,是板面的中央部能作成小于等于0.003W/mK的导热率的构件,取出后的真空绝热板5,沿单侧面的大致整个面均匀地涂敷橡胶系的热塑性树脂即热熔粘接剂9,通过将其向在冰箱的组装线传送带上进行移动的平板状态的外箱2的内壁面的上方部供给、载置并加压,利用热熔粘接剂9的粘接力,在形成平面状的外箱2的两侧壁的绝热空间侧,从外箱的前后和上下端设有规定间隔地加以贴附。The
将真空绝热板5进行粘接、并在以下的工序中形成上面和两侧面地被倒U字形地折弯后的外箱2,还安装有底面板及背面板,形成为箱状,并且,与形成贮藏室的内箱3组合地进行聚氨酯密封处理,在内外箱间的其余部分利用对于空间进行的由聚氨酯泡沫体构成的发泡绝热材料8的发泡充填工序,将所述内外箱3、2与真空绝热板5一体地进行粘接固化,通过将冷藏空间作成50mm的绝热壁厚、将冷冻空间作成65mm的绝热壁厚,形成为具有刚性的绝热腔室。The
若在所述真空绝热板5与冰箱的外箱2之间存在有空间,则外箱外表面会带有凹陷、成为外观不佳、腔室刚性变弱的原因,又,在绝热空间侧因聚氨酯原液的流动受阻碍而聚氨酯泡沫体绝热材料8的未充填部分、即由于形成空隙而成为绝热性能降低的原因,故在所述真空绝热板5向冰箱的外箱固定时,需要注意不要在平坦的外箱内面中产生间隙。If there is a space between the
这时,在真空绝热板5的表面上,由于凹凸及挠曲少而呈平滑,向外箱2内面的固定也能在与热熔部9之间不产生空隙部分地可靠地进行密接。At this time, the surface of the
真空绝热板5,除了上述外箱2的两侧壁2a的内面以外,如图4的冰箱纵剖视图所示,被配设在本体背面2b和冷藏室10、蔬菜室11、冷冻室12的各门10a、11a、12a的外面材料的内面侧等上,若使用于平板状且具有比较大的面积的面,就能获得容易设置且良好的绝热效果。The
并且,所述外箱2及门外面板的内侧,其详细结构如图5所示,是将配设在绝热壁8的厚度方向上的由与真空绝热板5相同构成体构成的另一片真空绝热板6以重叠的状态贴附后的结构,例如,对于外箱2的侧壁内面等的平面部进行加压而贴附后的真空绝热板5,设有利用0.5mm程度的厚度的树脂片15作成的热绝缘层,在该树脂片15的外面载置第2片的真空绝热板6,与第1片的板5同样地利用热熔粘接剂9进行贴附,通过向第1片的板5的面推压而进行密接固定。In addition, the inside of the
如前所述,这是在真空吸引前阶段的批量生产工序中,出于玻璃棉衬垫的厚度引起的体积增高的衬垫的暂放空间的关系,是为了使15mm的厚度成为界限的真空绝热板5的绝热效果变得更大所使用的结构,在厚度小于等于15mm、在本实施例中通过将12mm厚的真空绝热板5、6的2片进行重叠而形成绝热壁,故不需要准备在批量生产线中暂放的衬垫用的大的空间,就能减少从绝热壁的热泄漏量。As mentioned above, in the mass production process before vacuum suction, the relationship between the temporary storage space of the spacer due to the increase in volume due to the thickness of the glass wool spacer is to make the thickness of 15mm the limit of the vacuum. The heat insulation effect of the
并且,通过将真空板5、6两片重叠并夹有用热绝缘物形成的树脂片15,能防止从壁面侧板5向内侧板6的导热,防止外箱2的外表面的热通过板5的层压薄膜制的气体隔离容器5b的周缘部向绝热壁的厚度方向传导的热回入的现象、即所谓的热桥、能有效地保持利用真空绝热板5、6的绝热效果。In addition, by laminating two
所述板5、6间的热绝缘,不限于所述树脂片15,只要夹有厚度5mm程度的聚氨酯泡沫体成型品的绝热板体,就能使绝热效果增大并更可靠地消除热桥。The heat insulation between the
根据本发明的实验,如前所述,将12mm厚的真空绝热板5、6两片重叠地配设场合的导热率λ,是0.0037W/mK,与以往不使用真空绝热板的情况相比能获得改善约18%的热泄漏防止效果。According to the experiment of the present invention, as mentioned above, the thermal conductivity λ in the case where the
该值,与将厚度作成24mm厚、用一片板形成真空绝热板场合的导热率(0.0047W/mK)相比,也有超过20%的改善,从其结果可知,即使相同厚度尺寸,将两片以上的板进行重叠的方法具有消除热桥及热泄漏的效果。This value is more than 20% better than the thermal conductivity (0.0047W/mK) in the case of making the vacuum insulation panel 24mm thick with one sheet. The method of overlapping the above plates has the effect of eliminating thermal bridges and thermal leakage.
因此,在将导热率低的12mm厚的真空绝热板2片使用于厚度50mm的绝热空间中的场合,其余空间的厚度成为26mm而能确保足够的聚氨酯泡沫体的流动空间,并能使向冰箱外的热泄漏量变得更少而能获得高效的绝热作用。Therefore, when two vacuum insulation panels with a thickness of 12 mm and low thermal conductivity are used in a heat insulating space with a thickness of 50 mm, the thickness of the remaining space becomes 26 mm to ensure sufficient flow space for the polyurethane foam, and it can be used in refrigerators. The amount of external heat leakage becomes less and efficient thermal insulation can be obtained.
真空绝热板5,如前所述,不仅两片地重叠于外箱2等的外面板内侧上,而且如表示板的贴附图形的图6中的A部所示,也可以将板6贴附在与外箱2的内面上贴附的板5的厚度方向相对的内箱3的壁面的绝热空间侧,还同样地如图6的B部所示,将第2片的板6配置在位于外箱2与内箱3的中间的绝热空间内,也可以在最终埋入于向绝热空间内注入发泡的聚氨酯泡沫体绝热材料8中。As mentioned above, the
在上述构成的场合,两片板5、6不成为密接状态,在板间充填利用现场发泡制成的聚氨酯泡沫体绝热材料8,板就被埋设在发泡绝热材料中,板成为芯材作为冰箱腔体能获得刚性增大的效果,但该场合,需要在板间确保使发泡过程的聚氨酯泡沫体能流动的最低10mm程度的间隙。In the case of the above structure, the two
又,若在贴附后的板1的绝热空间侧形成为没有凹凸的状态,聚氨酯原液的流动变得更顺利,能不形成空隙地进行充填,最终,能具有良好的绝热性能,并使发泡绝热材料8与内箱3及外箱2、和真空绝热板5的密接也变得牢固,能构成具有大的刚性的腔体1。In addition, if the adiabatic space side of the affixed
另外,在上述实施例中对两片重叠地构成真空绝热板5、6的场合作了说明,但重叠的板数并不局限于2片,当然也可重叠更多片,而对于采用重叠的部位,采用于与安装冰箱的场所的外气温度差大的冷冻空间12及温度切换室13的部分、和冷却器的设置部分,对于冷藏室10的侧壁部等与外气的温度差较少的部位,如图6的C部所示粘接1片等,对配设部位有选择地进行采用是有效的。In addition, in the above-mentioned embodiment, the case where two sheets of
又,即使采用于外箱侧温度增高的机械室16及散热管部,重叠后的板5、6的绝热效果也是有效的,尤其在向背面下部的机械室附近进行配设时,应该设置在与复杂化的结构零件缓冲地避开的位置,如前所述,需要考虑熟遮断以免通过外箱面的导热使绝热效果劣化。In addition, even if it is used in the
在上述实施例中,对真空绝热板用热熔粘接剂9贴附的结构作了说明,而对于粘接手段不限于热熔粘接剂,也可以利用双面粘接带进行密接地贴附,该场合,粘接带也大致全面地进行贴附、作成对于腔体面进行均匀地密接的状态。In the above-mentioned embodiment, the structure of attaching the vacuum insulation panel with the hot-
又,冰箱不限于家庭用的冰箱,同样适用于业务用及冷柜、自动销售机等的绝热箱体结构。In addition, the refrigerator is not limited to household refrigerators, but is also applicable to commercial use, freezers, automatic vending machines, and other heat-insulated box structures.
产业上的可利用性Industrial availability
本发明可利用于为了提高绝热性能、降低消耗电力、或扩大贮藏室容积而配设了真空绝热板的冰箱。The present invention can be applied to a refrigerator equipped with a vacuum insulation panel for improving heat insulation performance, reducing power consumption, or increasing the volume of a storage room.
Claims (6)
Applications Claiming Priority (2)
| Application Number | Priority Date | Filing Date | Title |
|---|---|---|---|
| JP2003388509A JP2005147591A (en) | 2003-11-18 | 2003-11-18 | Refrigerator |
| JP2003388509 | 2003-11-18 |
Publications (1)
| Publication Number | Publication Date |
|---|---|
| CN2800193Y true CN2800193Y (en) | 2006-07-26 |
Family
ID=34695549
Family Applications (1)
| Application Number | Title | Priority Date | Filing Date |
|---|---|---|---|
| CNU2004201174411U Expired - Fee Related CN2800193Y (en) | 2003-11-18 | 2004-11-18 | Refrigerator |
Country Status (3)
| Country | Link |
|---|---|
| JP (1) | JP2005147591A (en) |
| KR (1) | KR100617666B1 (en) |
| CN (1) | CN2800193Y (en) |
Cited By (14)
| Publication number | Priority date | Publication date | Assignee | Title |
|---|---|---|---|---|
| CN102003860A (en) * | 2009-09-03 | 2011-04-06 | 上海杜氏实业有限公司 | Energy-saving refrigerator |
| CN102285495A (en) * | 2011-07-15 | 2011-12-21 | 北京市农林科学院 | Cold storage type transport thermal container |
| CN102455106A (en) * | 2010-10-15 | 2012-05-16 | 株式会社东芝 | Refrigerator |
| CN102944098A (en) * | 2011-07-27 | 2013-02-27 | 三菱电机株式会社 | refrigerator |
| CN103196268A (en) * | 2013-04-22 | 2013-07-10 | 合肥华凌股份有限公司 | Box for refrigeration equipment and refrigeration equipment with box |
| CN103383176A (en) * | 2012-05-02 | 2013-11-06 | 三星电子株式会社 | Refrigerator and method of manufacturing door thereof |
| CN103733007A (en) * | 2011-06-14 | 2014-04-16 | 株式会社东芝 | refrigerator |
| CN106196859A (en) * | 2014-10-30 | 2016-12-07 | 东芝生活电器株式会社 | refrigerator |
| CN107869878A (en) * | 2016-09-26 | 2018-04-03 | 东芝生活电器株式会社 | Vacuum heat-insulation part and refrigerator |
| CN113544450A (en) * | 2019-03-05 | 2021-10-22 | 海尔智家股份有限公司 | Refrigerator and method of making the same |
| CN114719548A (en) * | 2017-12-13 | 2022-07-08 | Lg电子株式会社 | Vacuum insulator and refrigerator |
| US11768026B2 (en) | 2017-12-13 | 2023-09-26 | Lg Electronics Inc. | Vacuum adiabatic body and refrigerator |
| US11835290B2 (en) | 2017-12-13 | 2023-12-05 | Lg Electronics Inc. | Vacuum adiabatic body and refrigerator |
| US11933535B2 (en) | 2017-12-13 | 2024-03-19 | Lg Electronics Inc. | Vacuum adiabatic body and refrigerator |
Families Citing this family (14)
| Publication number | Priority date | Publication date | Assignee | Title |
|---|---|---|---|---|
| JP2007131329A (en) * | 2005-11-10 | 2007-05-31 | Corona Corp | Thermal insulation material for storage tank |
| KR100729177B1 (en) * | 2006-06-14 | 2007-06-19 | 주식회사 폴리테크 | Insulating Plate for Vending Machine |
| KR101482261B1 (en) * | 2008-01-21 | 2015-01-21 | 엘지전자 주식회사 | A home-bar door and the manufacturing method of the same |
| JP5401258B2 (en) * | 2009-10-26 | 2014-01-29 | 日立アプライアンス株式会社 | refrigerator |
| US9528749B2 (en) | 2011-11-02 | 2016-12-27 | Lg Electronics Inc. | Refrigerator |
| JP6005690B2 (en) * | 2014-06-06 | 2016-10-12 | 東芝ライフスタイル株式会社 | refrigerator |
| JP5984022B2 (en) * | 2014-08-19 | 2016-09-06 | 東芝ライフスタイル株式会社 | refrigerator |
| JP2016130613A (en) * | 2015-01-15 | 2016-07-21 | 日立アプライアンス株式会社 | refrigerator |
| US10422569B2 (en) * | 2015-12-21 | 2019-09-24 | Whirlpool Corporation | Vacuum insulated door construction |
| JP2019132499A (en) * | 2018-01-31 | 2019-08-08 | 日立グローバルライフソリューションズ株式会社 | refrigerator |
| JP6744383B2 (en) * | 2018-11-28 | 2020-08-19 | 東芝ライフスタイル株式会社 | refrigerator |
| JP2021063624A (en) * | 2019-10-16 | 2021-04-22 | 株式会社富士通ゼネラル | Switching unit |
| KR102488524B1 (en) * | 2020-09-18 | 2023-01-13 | 엘지전자 주식회사 | A refrigerator comprising a vacuum space |
| JP7600058B2 (en) * | 2021-09-08 | 2024-12-16 | 東芝ライフスタイル株式会社 | refrigerator |
-
2003
- 2003-11-18 JP JP2003388509A patent/JP2005147591A/en active Pending
-
2004
- 2004-11-16 KR KR1020040093362A patent/KR100617666B1/en not_active Expired - Fee Related
- 2004-11-18 CN CNU2004201174411U patent/CN2800193Y/en not_active Expired - Fee Related
Cited By (25)
| Publication number | Priority date | Publication date | Assignee | Title |
|---|---|---|---|---|
| CN102003860A (en) * | 2009-09-03 | 2011-04-06 | 上海杜氏实业有限公司 | Energy-saving refrigerator |
| CN102455106A (en) * | 2010-10-15 | 2012-05-16 | 株式会社东芝 | Refrigerator |
| CN103733007A (en) * | 2011-06-14 | 2014-04-16 | 株式会社东芝 | refrigerator |
| CN106871538B (en) * | 2011-06-14 | 2020-07-21 | 东芝生活电器株式会社 | Refrigerator with a door |
| CN103733007B (en) * | 2011-06-14 | 2017-03-08 | 东芝生活电器株式会社 | refrigerator |
| CN106871538A (en) * | 2011-06-14 | 2017-06-20 | 东芝生活电器株式会社 | Refrigerator |
| CN102285495A (en) * | 2011-07-15 | 2011-12-21 | 北京市农林科学院 | Cold storage type transport thermal container |
| CN102944098A (en) * | 2011-07-27 | 2013-02-27 | 三菱电机株式会社 | refrigerator |
| CN104132500A (en) * | 2011-07-27 | 2014-11-05 | 三菱电机株式会社 | Refrigerator |
| CN103383176A (en) * | 2012-05-02 | 2013-11-06 | 三星电子株式会社 | Refrigerator and method of manufacturing door thereof |
| CN103196268A (en) * | 2013-04-22 | 2013-07-10 | 合肥华凌股份有限公司 | Box for refrigeration equipment and refrigeration equipment with box |
| CN106196859B (en) * | 2014-10-30 | 2019-10-11 | 东芝生活电器株式会社 | Refrigerator |
| CN106196859A (en) * | 2014-10-30 | 2016-12-07 | 东芝生活电器株式会社 | refrigerator |
| CN107869878A (en) * | 2016-09-26 | 2018-04-03 | 东芝生活电器株式会社 | Vacuum heat-insulation part and refrigerator |
| CN107869878B (en) * | 2016-09-26 | 2021-04-23 | 东芝生活电器株式会社 | Vacuum insulation components and refrigerators |
| US11933535B2 (en) | 2017-12-13 | 2024-03-19 | Lg Electronics Inc. | Vacuum adiabatic body and refrigerator |
| CN114719548A (en) * | 2017-12-13 | 2022-07-08 | Lg电子株式会社 | Vacuum insulator and refrigerator |
| US11768026B2 (en) | 2017-12-13 | 2023-09-26 | Lg Electronics Inc. | Vacuum adiabatic body and refrigerator |
| US11781801B2 (en) | 2017-12-13 | 2023-10-10 | Lg Electronics Inc. | Vacuum adiabatic body and refrigerator |
| US11835290B2 (en) | 2017-12-13 | 2023-12-05 | Lg Electronics Inc. | Vacuum adiabatic body and refrigerator |
| CN114719548B (en) * | 2017-12-13 | 2024-04-26 | Lg电子株式会社 | Vacuum insulation and refrigerator |
| US12188712B2 (en) | 2017-12-13 | 2025-01-07 | Lg Electronics Inc. | Vacuum adiabatic body and refrigerator |
| US12313329B2 (en) | 2017-12-13 | 2025-05-27 | Lg Electronics Inc. | Vacuum adiabatic body and refrigerator |
| CN113544450B (en) * | 2019-03-05 | 2023-02-03 | 海尔智家股份有限公司 | Refrigerator and manufacturing method thereof |
| CN113544450A (en) * | 2019-03-05 | 2021-10-22 | 海尔智家股份有限公司 | Refrigerator and method of making the same |
Also Published As
| Publication number | Publication date |
|---|---|
| KR100617666B1 (en) | 2006-08-28 |
| JP2005147591A (en) | 2005-06-09 |
| KR20050048482A (en) | 2005-05-24 |
Similar Documents
| Publication | Publication Date | Title |
|---|---|---|
| CN2800193Y (en) | Refrigerator | |
| CN101539361B (en) | refrigerator | |
| JP3544653B2 (en) | refrigerator | |
| KR100691917B1 (en) | Refrigerator | |
| US7449227B2 (en) | Vacuum insulation panel and refrigerator incorporating the same | |
| KR101495127B1 (en) | Vacuum heat insulation member and refrigerator using same | |
| US20060261718A1 (en) | Vacuum insulating material, refrigerator using vacuum insulating material, vacuum insulating material manufacturing method, and vacuum insulating material manufacturing equipment | |
| CN102401216B (en) | Vacuum insulating material and fridge using vacuum insulating material | |
| JPWO2001081818A1 (en) | Insulation box and vacuum insulation material used therein | |
| CN108368963A (en) | Vacuum heat insulator, the manufacturing method with its heat insulation device and vacuum heat insulator | |
| JP6959808B2 (en) | refrigerator | |
| JP2003014368A (en) | Refrigerator | |
| JP2004011705A (en) | Vacuum heat insulating material, heat insulator, heat insulation box, heat insulation door, storage warehouse, and refrigerator | |
| JP5899395B2 (en) | Heat insulation box | |
| WO2010007706A1 (en) | Vacuum heat insulating material | |
| JP2005299972A (en) | Refrigerator | |
| KR20060063982A (en) | Vacuum Insulation Materials, Thermal Insulation Equipment and Freezers | |
| JP2004125394A (en) | Refrigerator | |
| JPH0763469A (en) | Vacuum insulation | |
| WO2014183622A1 (en) | Vacuum thermal-insulation layer having plurality of unit cavities, and method for producing same | |
| JPS6244308Y2 (en) | ||
| JP3488229B2 (en) | Insulated box and refrigerator | |
| JP2008106816A (en) | Door device and refrigerator | |
| JP2006029448A (en) | Vacuum insulation panel and refrigerator using the vacuum insulation panel | |
| JP5401422B2 (en) | Vacuum heat insulating material and refrigerator using the same |
Legal Events
| Date | Code | Title | Description |
|---|---|---|---|
| C14 | Grant of patent or utility model | ||
| GR01 | Patent grant | ||
| C19 | Lapse of patent right due to non-payment of the annual fee | ||
| CF01 | Termination of patent right due to non-payment of annual fee |
