CN218856525U - A derusting device - Google Patents
A derusting device Download PDFInfo
- Publication number
- CN218856525U CN218856525U CN202222682802.8U CN202222682802U CN218856525U CN 218856525 U CN218856525 U CN 218856525U CN 202222682802 U CN202222682802 U CN 202222682802U CN 218856525 U CN218856525 U CN 218856525U
- Authority
- CN
- China
- Prior art keywords
- workbench
- conveyor belt
- right sides
- motor
- pulley
- Prior art date
- Legal status (The legal status is an assumption and is not a legal conclusion. Google has not performed a legal analysis and makes no representation as to the accuracy of the status listed.)
- Active
Links
Images
Classifications
-
- Y—GENERAL TAGGING OF NEW TECHNOLOGICAL DEVELOPMENTS; GENERAL TAGGING OF CROSS-SECTIONAL TECHNOLOGIES SPANNING OVER SEVERAL SECTIONS OF THE IPC; TECHNICAL SUBJECTS COVERED BY FORMER USPC CROSS-REFERENCE ART COLLECTIONS [XRACs] AND DIGESTS
- Y02—TECHNOLOGIES OR APPLICATIONS FOR MITIGATION OR ADAPTATION AGAINST CLIMATE CHANGE
- Y02P—CLIMATE CHANGE MITIGATION TECHNOLOGIES IN THE PRODUCTION OR PROCESSING OF GOODS
- Y02P70/00—Climate change mitigation technologies in the production process for final industrial or consumer products
- Y02P70/10—Greenhouse gas [GHG] capture, material saving, heat recovery or other energy efficient measures, e.g. motor control, characterised by manufacturing processes, e.g. for rolling metal or metal working
Landscapes
- Finish Polishing, Edge Sharpening, And Grinding By Specific Grinding Devices (AREA)
Abstract
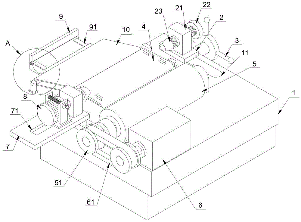
本实用新型公开了一种除锈装置,包括工作台,工作台上端左右两侧均设有移动槽,工作台前部设有集废槽,集废槽左右两侧均设有安装槽,工作台上端左右两侧均安装有安装座,安装座上端安装有安装板,安装板中部内贯穿有螺杆,螺杆右端固定连接有调节转盘,螺杆左端固定连接有锥形头,工作台右侧壁上安装有移动转盘,工作台上端前部安装有第一传送带,通过第一传送带将打磨后的开关金属件承载,并且将其向前传送至第二传送带,有第二传送带将其传送至放置台存放,无需人工搬运,节能人工体力,当放置台暂存一定数量后,即可将其进行捆绑运输,方便快捷,提高效率。
The utility model discloses a derusting device, which comprises a workbench. Moving grooves are arranged on the left and right sides of the upper end of the workbench. Mounting bases are installed on the left and right sides of the upper end of the table. A mounting plate is installed on the upper end of the mounting base. A screw runs through the middle of the mounting plate. A moving turntable is installed, and a first conveyor belt is installed at the front of the upper end of the workbench. The polished switch metal parts are carried by the first conveyor belt, and forwarded to the second conveyor belt, and then sent to the placement table by the second conveyor belt. Storage, no need for manual handling, energy-saving and labor-intensive, when a certain amount is temporarily stored on the placement table, it can be bundled and transported, which is convenient and fast, and improves efficiency.
Description
技术领域technical field
本实用新型涉及除锈装置领域,特别是涉及一种除锈装置。The utility model relates to the field of derusting devices, in particular to a derusting device.
背景技术Background technique
变电站发电厂的高压接线采用高压隔离开关,当线路负荷很大的时候,隔离开关发热,其触头内壁会生锈,此时就需要停电处理,增加了工作量,而且影响用户供电。The high-voltage wiring of the substation and power plant adopts a high-voltage isolating switch. When the line load is heavy, the isolating switch heats up and the inner wall of the contact will rust. At this time, a power outage is required, which increases the workload and affects the user's power supply.
现有的技术中,开关金属件打磨装置将开关金属件打磨完成后,需要人工将打磨后的开关金属件从工作台搬运下来,浪费人工体力,且严重降低工作效率,并且现有的开关金属件打磨装置没有废渣收集排放功能,当若干开关金属件打磨完毕后,工作台上会堆积大量废渣,不易清理,且影响工作台整洁。In the existing technology, after the switch metal parts grinding device finishes grinding the switch metal parts, it is necessary to manually transport the polished switch metal parts from the workbench, which wastes manual energy and seriously reduces work efficiency, and the existing switch metal parts The parts grinding device does not have the function of collecting and discharging waste slag. When several switch metal parts are polished, a large amount of waste slag will accumulate on the workbench, which is difficult to clean and affects the cleanliness of the workbench.
实用新型内容Utility model content
为了克服现有技术的不足,本实用新型提供一种除锈装置,包括工作台,所述工作台上端左右两侧均设有移动槽,所述工作台前部设有集废槽,所述集废槽左右两侧均设有安装槽,所述工作台上端左右两侧均安装有安装座,所述安装座上端安装有安装板,所述安装板中部内贯穿有螺杆,所述螺杆右端固定连接有调节转盘,所述螺杆左端固定连接有锥形头,所述工作台右侧壁上安装有移动转盘,所述工作台上端前部安装有第一传送带,所述第一传送带后侧安装有打磨辊,所述打磨辊左端转动连接有皮带轮,所述打磨辊后侧安装有第一电机,所述第一电机左端安装有皮带,所述皮带轮前部安装有托板,所述托板上设有滑槽,所述托板上端安装有第二电机,所述第二电机下端机左右两侧安装有固定板,所述固定板内侧安装有固定杆,所述工作台前部安装有第二传送带,所述第二传送带下部安装有多个支撑架,所述第二传送带前部安装有放置座,所述放置座内设有弹布,所述放置座左右两侧壁上均安装有松开件。In order to overcome the deficiencies of the prior art, the utility model provides a derusting device, including a workbench, the left and right sides of the upper end of the workbench are provided with moving grooves, and the front part of the workbench is provided with a waste collecting groove. There are installation grooves on the left and right sides of the waste collection tank, installation seats are installed on the left and right sides of the upper end of the workbench, the upper end of the installation seat is installed with a mounting plate, a screw rod runs through the middle of the mounting plate, and the right end of the screw rod An adjusting turntable is fixedly connected, a conical head is fixedly connected to the left end of the screw, a moving turntable is installed on the right side wall of the workbench, a first conveyor belt is installed on the front part of the upper end of the workbench, and the rear side of the first conveyor belt A grinding roller is installed, the left end of the grinding roller is connected with a belt pulley, the rear side of the grinding roller is equipped with a first motor, the left end of the first motor is equipped with a belt, and the front part of the belt pulley is equipped with a supporting plate. There is a chute on the board, a second motor is installed on the top of the pallet, fixing plates are installed on the left and right sides of the lower end of the second motor, a fixing rod is installed on the inner side of the fixing plate, and the front of the workbench is installed There is a second conveyor belt, a plurality of support frames are installed on the lower part of the second conveyor belt, a placement seat is installed on the front part of the second conveyor belt, and elastic cloth is arranged in the placement seat, and the left and right side walls of the placement seat are provided with Installed with loose parts.
作为本实用新型进一步的方案:所述工作台左右两侧均安装有锥形头,右侧锥形头通过安装座、移动槽和移动转盘的配合可以前后移动,且左侧锥形头通过滑槽的作用可左右移动。As a further solution of the utility model: the left and right sides of the workbench are equipped with conical heads, the right conical head can move forward and backward through the cooperation of the mounting seat, the moving groove and the moving turntable, and the left conical head can be moved through the sliding The role of the groove can move left and right.
作为本实用新型再进一步的方案:两个所述锥形头配合可将开关金属件固定在工作台上,首先将开关金属件一端要在右侧锥形头上,然后调节左侧锥形头位置将开关金属件另一端套在左侧锥形头上,然后手动调节转盘将右侧锥形头向前移动,将开关金属件夹紧,便于后续进行打磨。As a further solution of the utility model: the two conical heads cooperate to fix the switch metal part on the workbench, first place one end of the switch metal part on the right conical head, and then adjust the left conical head Place the other end of the switch metal piece on the left conical head, and then manually adjust the turntable to move the right conical head forward to clamp the switch metal piece for subsequent grinding.
作为本实用新型再进一步的方案:所述移动转盘贯穿工作台右侧壁通过齿轮与安装座低端啮合连接,手动移动转盘即可将两个夹紧开关金属件的锥形头连带开关金属件同步移动位置,直到开关金属件接触到打磨辊,然后通过工作台右侧壁上的卡扣将安装座限位在当前位置。As a further solution of the utility model: the moving turntable runs through the right side wall of the workbench and is connected to the lower end of the mounting seat through gears, and the two tapered heads of the clamping switch metal parts can be connected with the switch metal parts by manually moving the turntable. Move the position synchronously until the switch metal part touches the grinding roller, and then limit the mounting seat to the current position through the buckle on the right side wall of the workbench.
作为本实用新型再进一步的方案:所述第一电机通过皮带与皮带轮转动连接,且皮带轮通过转轴与打磨辊转动连接,使用时,启动第一电机,通过皮带和皮带轮联动打磨辊高速转动,对开关金属件进行打磨。As a further solution of the present invention: the first motor is rotationally connected with the pulley through the belt, and the pulley is rotationally connected with the grinding roller through the rotating shaft. When in use, start the first motor, and the grinding roller rotates at a high speed through the linkage of the belt and the pulley. The switch metal parts are polished.
作为本实用新型再进一步的方案:所述集废槽贯穿工作台至底部,使用时,集废槽用于收集开关金属件打磨时产生的废渣,并将其排放至工作台下部进行收集,便于后续进行处理,避免废渣大量堆积在工作台上。As a further solution of the utility model: the waste collection tank runs through the workbench to the bottom. When in use, the waste collection tank is used to collect the waste slag generated when the metal parts of the switch are polished, and discharge it to the lower part of the workbench for collection, which is convenient Subsequent processing to avoid accumulation of waste residue on the workbench.
作为本实用新型再进一步的方案:所述第一传送带上端表面左右两侧均安装有限位块,且第一传送带宽度与开关金属件长度匹配,当开关金属件打磨完成后,首先将开关金属件放置在第一传送带上,有限位块将其暂时限位,然后开启第一传送带将打磨后的开关金属件传送至第二传送带上,由第二传送带将其传送至放置座内暂存。As a further solution of the utility model: limit blocks are installed on the left and right sides of the upper surface of the first conveyor belt, and the width of the first conveyor belt matches the length of the switch metal parts. After the switch metal parts are polished, firstly the switch metal parts Placed on the first conveyor belt, the limited block will temporarily limit it, and then turn on the first conveyor belt to transfer the polished switch metal parts to the second conveyor belt, and then transfer it to the placement seat for temporary storage by the second conveyor belt.
与现有技术相比,本实用新型的有益效果是:Compared with the prior art, the beneficial effects of the utility model are:
在本装置中,通过第一传送带将打磨后的开关金属件承载,并且将其向前传送至第二传送带,有第二传送带将其传送至放置台存放,无需人工搬运,节能人工体力,当放置台暂存一定数量后,即可将其进行捆绑运输,方便快捷,提高效率;当开关金属件在进行打磨时,产生的废渣由集废槽将其收集,并且排放至工作台底部集中,便于后续进行处理,有利于保持工作台整洁,且方便实用。In this device, the polished switch metal parts are carried by the first conveyor belt and forwarded to the second conveyor belt, and the second conveyor belt transmits it to the placement table for storage, without manual handling, energy-saving and labor-intensive. After a certain amount is temporarily stored on the placement table, it can be bundled and transported, which is convenient and quick, and improves efficiency; when the switch metal parts are being polished, the waste residue generated is collected by the waste collection tank and discharged to the bottom of the workbench for concentration. It is convenient for subsequent processing, is conducive to keeping the workbench clean, and is convenient and practical.
附图说明Description of drawings
图1为本实用新型的结构示意图;Fig. 1 is the structural representation of the utility model;
图2为本实用新型中工作台的结构示意图;Fig. 2 is the structural representation of workbench in the utility model;
图3为本实用新型图1中A出放大图;Fig. 3 is an enlarged view of A in Fig. 1 of the utility model;
图4为本实用新型图2中B处放大图。Fig. 4 is an enlarged view of B in Fig. 2 of the present utility model.
图中:1、工作台;11、移动槽;12、集废槽;13、安装槽;2、安装座;21、安装板;22、调节转盘;23、锥形头;24、螺杆;3、移动转盘;4、第一传送带;5、打磨辊;51、皮带轮;6、第一电机;61、皮带;7、托板;71、滑槽;8、第二电机;81、固定板;82、固定杆;9、放置座;91、弹布;92、松开件;10、第二传送带;101、支撑架。In the figure: 1. workbench; 11. moving tank; 12. waste collecting tank; 13. installation tank; 2. mounting base; 21. mounting plate; 22. adjusting turntable; 23. conical head; , moving turntable; 4, first conveyor belt; 5, grinding roller; 51, pulley; 6, first motor; 61, belt; 7, pallet; 71, chute; 8, second motor; 81, fixed plate; 82. Fixed rod; 9. Placement seat; 91. Spring cloth; 92. Unclamping part; 10. Second conveyor belt; 101. Support frame.
具体实施方式Detailed ways
为了使本实用新型实现的技术手段、创作特征、达成目的与功效易于明白了解,下面结合具体实施例,进一步阐述本实用新型,但下述实施例仅仅为本实用新型的优选实施例,并非全部。基于实施方式中的实施例,本领域技术人员在没有做出创造性劳动的前提下所获得其它实施例,都属于本实用新型的保护范围。下述实施例中的实验方法,如无特殊说明,均为常规方法,下述实施例中所用的材料、试剂等,如无特殊说明,均可从商业途径得到。In order to make the technical means, creative features, goals and effects of the utility model realized easy to understand, the utility model will be further elaborated below in conjunction with specific examples, but the following examples are only preferred embodiments of the utility model, not all . Based on the examples in the implementation manners, other examples obtained by those skilled in the art without making creative efforts all belong to the protection scope of the present utility model. The experimental methods in the following examples, unless otherwise specified, are conventional methods, and the materials, reagents, etc. used in the following examples, unless otherwise specified, can be obtained from commercial sources.
实施例:Example:
请参阅图1~4,本实用新型实施例中,一种除锈装置,包括工作台1,工作台1上端左右两侧均设有移动槽11,工作台1前部设有集废槽12,集废槽12左右两侧均设有安装槽13,工作台1上端左右两侧均安装有安装座2,安装座2上端安装有安装板21,安装板21中部内贯穿有螺杆24,螺杆24右端固定连接有调节转盘22,螺杆24左端固定连接有锥形头23,工作台1右侧壁上安装有移动转盘3,工作台1上端前部安装有第一传送带4,第一传送带4后侧安装有打磨辊5,打磨辊5左端转动连接有皮带轮51,打磨辊5后侧安装有第一电机6,第一电机6左端安装有皮带61,皮带轮51前部安装有托板7,托板7上设有滑槽71,托板7上端安装有第二电机8,第二电机8下端机左右两侧安装有固定板81,固定板81内侧安装有固定杆82,工作台1前部安装有第二传送带10,第二传送带10下部安装有多个支撑架101,第二传送带10前部安装有放置座9,放置座9内设有弹布91,放置座9左右两侧壁上均安装有松开件92。Please refer to Figures 1 to 4. In the embodiment of the present utility model, a derusting device includes a
其中工作台1左右两侧均安装有锥形头23,右侧锥形头23通过安装座2、移动槽11和移动转盘3的配合可以前后移动,且左侧锥形头23通过滑槽71的作用可左右移动,两个锥形头23配合可将开关金属件固定在工作台1上,首先将开关金属件一端要在右侧锥形头23上,然后调节左侧锥形头23位置将开关金属件另一端套在左侧锥形头23上,然后手动调节转盘22将右侧锥形头23向前移动,将开关金属件夹紧,便于后续进行打磨,移动转盘3贯穿工作台1右侧壁通过齿轮与安装座2低端啮合连接,手动移动转盘3即可将两个夹紧开关金属件的锥形头23连带开关金属件同步移动位置,直到开关金属件接触到打磨辊5,然后通过工作台1右侧壁上的卡扣将安装座2限位在当前位置,第一电机6通过皮带61与皮带轮51转动连接,且皮带轮51通过转轴与打磨辊5转动连接,使用时,启动第一电机6,通过皮带61和皮带轮51联动打磨辊5高速转动,对开关金属件进行打磨,集废槽12贯穿工作台1至底部,使用时,集废槽12用于收集开关金属件打磨时产生的废渣,并将其排放至工作台1下部进行收集,便于后续进行处理,避免废渣大量堆积在工作台1上,第一传送带4上端表面左右两侧均安装有限位块,且第一传送带4宽度与开关金属件长度匹配,当开关金属件打磨完成后,首先将开关金属件放置在第一传送带4上,有限位块将其暂时限位,然后开启第一传送带4将打磨后的开关金属件传送至第二传送带10上,由第二传送带10将其传送至放置座9内暂存。Wherein the left and right sides of
本实用新型的工作原理是:工作台1左右两侧均安装有锥形头23,右侧锥形头23通过安装座2、移动槽11和移动转盘3的配合可以前后移动,且左侧锥形头23通过滑槽71的作用可左右移动,两个锥形头23配合可将开关金属件固定在工作台1上,首先将开关金属件一端要在右侧锥形头23上,然后调节左侧锥形头23位置将开关金属件另一端套在左侧锥形头23上,然后手动调节转盘22将右侧锥形头23向前移动,将开关金属件夹紧,便于后续进行打磨,移动转盘3贯穿工作台1右侧壁通过齿轮与安装座2低端啮合连接,手动移动转盘3即可将两个夹紧开关金属件的锥形头23连带开关金属件同步移动位置,直到开关金属件接触到打磨辊5,然后通过工作台1右侧壁上的卡扣将安装座2限位在当前位置,第一电机6通过皮带61与皮带轮51转动连接,且皮带轮51通过转轴与打磨辊5转动连接,使用时,启动第一电机6,通过皮带61和皮带轮51联动打磨辊5高速转动,对开关金属件进行打磨,集废槽12贯穿工作台1至底部,使用时,集废槽12用于收集开关金属件打磨时产生的废渣,并将其排放至工作台1下部进行收集,便于后续进行处理,避免废渣大量堆积在工作台1上,第一传送带4上端表面左右两侧均安装有限位块,且第一传送带4宽度与开关金属件长度匹配,当开关金属件打磨完成后,首先将开关金属件放置在第一传送带4上,有限位块将其暂时限位,然后开启第一传送带4将打磨后的开关金属件传送至第二传送带10上,由第二传送带10将其传送至放置座9内暂存。The working principle of the utility model is: the left and right sides of the
在本实用新型中,除非另有明确的规定和限定,第一特征在第二特征之“上”或之“下”可以包括第一和第二特征直接接触,也可以包括第一和第二特征不是直接接触而是通过它们之间的另外的特征接触。而且,第一特征在第二特征“之上”、“上方”和“上面”包括第一特征在第二特征正上方和斜上方,或仅仅表示第一特征水平高度高于第二特征。第一特征在第二特征“之下”、“下方”和“下面”包括第一特征在第二特征正下方和斜下方,或仅仅表示第一特征水平高度小于第二特征。In the present invention, unless otherwise clearly specified and limited, a first feature being "on" or "below" a second feature may include direct contact between the first and second features, and may also include the first and second features being in direct contact with each other. The features are not in direct contact but through another feature between them. Moreover, "above", "above" and "above" the first feature on the second feature include that the first feature is directly above and obliquely above the second feature, or simply means that the first feature is horizontally higher than the second feature. "Below", "beneath" and "under" the first feature to the second feature include that the first feature is directly below and obliquely below the second feature, or simply means that the first feature has a lower level than the second feature.
以上显示和描述了本实用新型的基本原理、主要特征和本实用新型的优点。本行业的技术人员应该了解,本实用新型不受上述实施例的限制,上述实施例和说明书中描述的仅为本实用新型的优选例,并不用来限制本实用新型,在不脱离本实用新型精神和范围的前提下,本实用新型还会有各种变化和改进,这些变化和改进都落入要求保护的本实用新型范围内。本实用新型要求保护范围由所附的权利要求书及其等效物界定。The basic principles, main features and advantages of the present utility model have been shown and described above. Those skilled in the industry should understand that the utility model is not limited by the above-mentioned embodiments. The above-mentioned embodiments and descriptions are only preferred examples of the utility model, and are not used to limit the utility model. Without departing from the utility model Under the premise of the spirit and scope, the utility model also has various changes and improvements, and these changes and improvements all fall within the scope of the claimed utility model. The scope of protection required by the utility model is defined by the appended claims and their equivalents.
Claims (7)
Priority Applications (1)
| Application Number | Priority Date | Filing Date | Title |
|---|---|---|---|
| CN202222682802.8U CN218856525U (en) | 2022-10-12 | 2022-10-12 | A derusting device |
Applications Claiming Priority (1)
| Application Number | Priority Date | Filing Date | Title |
|---|---|---|---|
| CN202222682802.8U CN218856525U (en) | 2022-10-12 | 2022-10-12 | A derusting device |
Publications (1)
| Publication Number | Publication Date |
|---|---|
| CN218856525U true CN218856525U (en) | 2023-04-14 |
Family
ID=87350177
Family Applications (1)
| Application Number | Title | Priority Date | Filing Date |
|---|---|---|---|
| CN202222682802.8U Active CN218856525U (en) | 2022-10-12 | 2022-10-12 | A derusting device |
Country Status (1)
| Country | Link |
|---|---|
| CN (1) | CN218856525U (en) |
-
2022
- 2022-10-12 CN CN202222682802.8U patent/CN218856525U/en active Active
Similar Documents
| Publication | Publication Date | Title |
|---|---|---|
| CN210588124U (en) | A last item and finish turning all-in-one for rotor | |
| CN218856525U (en) | A derusting device | |
| CN217344840U (en) | Bag sealer with stabilize pay-off structure | |
| CN212497147U (en) | Burnishing device is used in copper ingot casting | |
| CN212143585U (en) | Steel surface cleaning device | |
| CN211160799U (en) | Punch press garbage collection device | |
| CN221869431U (en) | Furniture board conveying and dust removing device | |
| CN209577673U (en) | A kind of high-effect moulding coal gas tank cleaning device | |
| CN219337247U (en) | Grinding device for shaft mechanical parts | |
| CN221211105U (en) | Polishing device for artificial crystal blocks | |
| CN213498597U (en) | Manual sand blasting machine suitable for optical lens production | |
| CN222309044U (en) | Waste residue recovery system | |
| CN219723796U (en) | Communication safety lithium battery production device | |
| CN209150960U (en) | High-precision new energy vehicle motor end cover fixing fixture | |
| CN223114729U (en) | Steel plate drilling and feeding platform | |
| CN221734991U (en) | Sawing machine feeding mechanism | |
| CN210756655U (en) | Be used for digit control machine tool material collecting device | |
| CN216655464U (en) | Template cleaning device for glass magnesium sheet production | |
| CN222243355U (en) | Welding bench convenient to clearance piece | |
| CN220240350U (en) | Automatic waste discharging device for laser cutting | |
| CN223353919U (en) | Edging formula case becomes shell horizontal polishing processing equipment | |
| CN219379957U (en) | Milling machine piece cleaning device | |
| CN219666187U (en) | Aluminum polishing equipment | |
| CN218984214U (en) | Chamfering grinding device for environment-friendly material bricks | |
| CN214780822U (en) | Discharging mechanism convenient for waste material cleaning for thermal power plant desulfurization wastewater treatment |
Legal Events
| Date | Code | Title | Description |
|---|---|---|---|
| GR01 | Patent grant | ||
| GR01 | Patent grant | ||
| TR01 | Transfer of patent right |
Effective date of registration: 20241112 Address after: 230000 No. 19, Dangshan Road, Hefei City, Anhui Province Patentee after: WENERGY HEFEI POWER GENERATION Co.,Ltd. Country or region after: China Address before: No. 46, De'an Industrial Zone, Sanyuan District (Wengdun City Logistics Park), Sanming City, Fujian Province, 365000 Patentee before: FUJIAN SANMING SWITCH Co.,Ltd. Country or region before: China |
|
| TR01 | Transfer of patent right |
