CN218809314U - Wrapping paper processing coiling mechanism - Google Patents
Wrapping paper processing coiling mechanism Download PDFInfo
- Publication number
- CN218809314U CN218809314U CN202223263120.XU CN202223263120U CN218809314U CN 218809314 U CN218809314 U CN 218809314U CN 202223263120 U CN202223263120 U CN 202223263120U CN 218809314 U CN218809314 U CN 218809314U
- Authority
- CN
- China
- Prior art keywords
- limiting plate
- wrapping paper
- paper processing
- winding
- thick bamboo
- Prior art date
- Legal status (The legal status is an assumption and is not a legal conclusion. Google has not performed a legal analysis and makes no representation as to the accuracy of the status listed.)
- Active
Links
- 230000007246 mechanism Effects 0.000 title claims abstract description 12
- 230000000670 limiting effect Effects 0.000 claims abstract description 55
- 238000004804 winding Methods 0.000 claims abstract description 34
- 235000017166 Bambusa arundinacea Nutrition 0.000 claims abstract description 28
- 235000017491 Bambusa tulda Nutrition 0.000 claims abstract description 28
- 235000015334 Phyllostachys viridis Nutrition 0.000 claims abstract description 28
- 238000005096 rolling process Methods 0.000 claims abstract description 24
- 241001330002 Bambuseae Species 0.000 claims abstract description 23
- 239000011425 bamboo Substances 0.000 claims abstract description 23
- 241000209128 Bambusa Species 0.000 claims description 5
- 230000008859 change Effects 0.000 abstract description 3
- 238000005516 engineering process Methods 0.000 abstract description 2
- 238000009434 installation Methods 0.000 abstract description 2
- 238000012856 packing Methods 0.000 description 2
- 238000004018 waxing Methods 0.000 description 2
- 230000006978 adaptation Effects 0.000 description 1
- 230000004075 alteration Effects 0.000 description 1
- 230000009286 beneficial effect Effects 0.000 description 1
- 230000000694 effects Effects 0.000 description 1
- 238000000034 method Methods 0.000 description 1
- 238000012986 modification Methods 0.000 description 1
- 230000004048 modification Effects 0.000 description 1
- 238000004806 packaging method and process Methods 0.000 description 1
- 238000010248 power generation Methods 0.000 description 1
- 230000003014 reinforcing effect Effects 0.000 description 1
- 238000006467 substitution reaction Methods 0.000 description 1
Images
Landscapes
- Winding Of Webs (AREA)
Abstract
The utility model discloses a wrapping paper processing coiling mechanism, the utility model relates to a wrapping paper processing technology field, including first limiting plate, one side of first limiting plate is rotated and is installed the handle, and the one end of handle is connected with the screw rod, and the outside of screw rod has connect the second limiting plate soon through the screw thread, winding motor is installed to one side top of first limiting plate, is provided with dismantlement formula rolling subassembly between output shaft of winding motor and the top one side of second limiting plate, the top front side of second limiting plate is provided with the guide. This wrapping paper processing coiling mechanism can be convenient for dismantle or installation work to the winding drum, and the winding drum of conveniently renewing, and drive the screw rod through rotating the handle and rotate, can adjust the interval between two location section of thick bamboo, the wind-up roll of the different length of easy to assemble to can the wrapping paper of rolling different width, need not to change the rolling equipment of corresponding size, practiced thrift economic cost.
Description
Technical Field
The utility model relates to a wrapping paper processing technology field specifically is wrapping paper processing coiling mechanism.
Background
The wrapping paper is a very common packing article, and the wrapping paper can increase the whole pleasing to the eye of commodity, is loved by masses deeply, adds man-hour at the wrapping paper, because wrapping paper length is longer, in order to give the wrapping paper accomodate, need carry out the rolling work to the wrapping paper.
The invention discloses a Chinese patent publication No. CN110884929B, which discloses a winder which clamps and draws paper through a winding shaft and a driving roller, and has the advantages of small paper bearing capacity and uniform waxing. The driving roller drives the paper, the diameter is unchanged, the linear speed is consistent when the paper is collected, and the waxing is uniform. The vertical plate type solar cell power generation device is characterized in that a plurality of cross beams are arranged between two fixed beams, reinforcing rods are arranged between the vertical plates and the fixed beams, two driving shafts are sleeved at the other ends of the two vertical plates, side cover plates are arranged at one ends of the driving shafts, driving rollers are arranged between the two side cover plates, the two ends of each driving roller are respectively sleeved in the two side cover plates, driving wheels are sleeved at the other ends of one of the driving shafts, and one ends of the two supporting rods are respectively and vertically arranged at the other ends of the two fixed beams.
But this coiling mechanism can only install the wind-up roll of fixed dimension, when the wrapping paper of the different width of needs rolling, then need change corresponding size's rolling equipment and carry out rolling work to the wrapping paper, and then can increase processing cost.
SUMMERY OF THE UTILITY MODEL
Not enough to prior art, the utility model provides a wrapping paper processing coiling mechanism has solved current wrapping paper rolling equipment, can only install the problem of fixed dimension's wind-up roll.
In order to achieve the above purpose, the utility model discloses a following technical scheme realizes: wrapping paper processing coiling mechanism, including first limiting plate, one side of first limiting plate is rotated and is installed the handle, and the one end of handle is connected with the screw rod, and the outside of screw rod has connect the second limiting plate through the screw thread soon, the rolling motor is installed to one side top of first limiting plate, is provided with dismantlement formula rolling subassembly between the output shaft of rolling motor and the top one side of second limiting plate, the top front side of second limiting plate is provided with the guide.
Furthermore, two corners of the lower side of the second limiting plate are provided with bumps, the other side of the lower side of the first limiting plate is provided with a bottom plate, and the bottom plate is arranged between the two bumps.
Furthermore, dismantlement formula rolling subassembly includes two location section of thick bamboos, and one of them location section of thick bamboo fixed connection is in winding motor's output shaft, and another location section of thick bamboo rotates and sets up in top one side of second limiting plate, and two location sections of thick bamboo are located same axis, and the slip cap is equipped with the winding drum between the outside of two location sections of thick bamboos.
Furthermore, the inner wall both sides of receipts reel all are provided with the draw-in groove, the both sides of two location section of thick bamboos all are provided with the card strip with draw-in groove looks adaptation, card strip slip joint in the inside of draw-in groove.
Further, the guide part is including setting up in the spacing seat of second limiting plate top front side, and one side of spacing seat is rotated and is installed the fly leaf, and the one end side of fly leaf is rotated and is installed the guide roll.
Furthermore, the front side of spacing seat is provided with the base, and servo motor is installed to the front side of base, and servo motor's output shaft has the worm, and the opposite side of spacing seat is rotated and is installed the worm wheel, and the one end of worm wheel is connected with the fly leaf, and the worm wheel meshes with the worm mutually.
Compared with the prior art, the utility model following beneficial effect possesses:
1. this wrapping paper processing coiling mechanism can be convenient for dismantle or installation work to the winding drum, and the winding drum of conveniently renewing, and drive the screw rod through rotating the handle and rotate, can adjust the interval between two location section of thick bamboo, the wind-up roll of the different length of easy to assemble to can the wrapping paper of rolling different width, need not to change the rolling equipment of corresponding size, practiced thrift economic cost.
2. This wrapping paper processing coiling mechanism through setting up the guide, at the in-process of wrapping paper rolling, can play the effect of direction to the wrapping paper, and under servo motor's work, can adjust the dynamics of direction to make the wrapping paper can be in the tensioning state, make it loose condition can not appear after the rolling.
Drawings
Fig. 1 is a schematic structural view of the present invention;
FIG. 2 is a schematic view of the present invention showing a part of the structure thereof;
fig. 3 is a schematic structural view of the guide of the present invention.
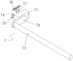
In the figure: 1. a first limit plate; 101. a base plate; 2. a handle; 3. a screw; 4. a second limiting plate; 41. a bump; 5. a winding motor; 6. a detachable winding component; 61. a positioning cylinder; 62. clamping the strip; 63. winding the roll; 64. a card slot; 7. a guide member; 71. a limiting seat; 72. a movable plate; 73. a guide roller; 74. a base; 75. a servo motor; 76. a worm; 77. a worm gear.
Detailed Description
The technical solutions in the embodiments of the present invention will be described clearly and completely with reference to the accompanying drawings in the embodiments of the present invention, and it is obvious that the described embodiments are only some embodiments of the present invention, not all embodiments. Based on the embodiments in the present invention, all other embodiments obtained by a person skilled in the art without creative efforts all belong to the protection scope of the present invention.
Referring to fig. 1-3, the present invention provides two technical solutions:
example one
Please refer to fig. 1, in the embodiment of the utility model, wrapping paper processing coiling mechanism, including first limiting plate 1, one side of first limiting plate 1 is rotated and is installed handle 2, and the one end of handle 2 is connected with screw rod 3, and the outside of screw rod 3 has connect second limiting plate 4 through the screw thread soon, and winding motor 5 is installed to one side top of first limiting plate 1, is provided with dismantlement formula rolling component 6 between output shaft of winding motor 5 and top one side of second limiting plate 4, and the top front side of second limiting plate 4 is provided with guide 7.
Referring to fig. 1, in the embodiment of the present invention, two corners of the lower side of the second limiting plate 4 are provided with the protruding blocks 41, the other side of the lower side of the first limiting plate 1 is provided with the bottom plate 101, the bottom plate 101 is disposed between the two protruding blocks 41, and when the second limiting plate 4 moves, the two protruding blocks 41 move to have a limiting effect.
Please refer to fig. 2, in the embodiment of the utility model, dismantlement formula rolling component 6 includes two location section of thick bamboo 61, one of them location section of thick bamboo 61 fixed connection is in the output shaft of rolling motor 5, another location section of thick bamboo 61 rotates and sets up in top one side of second limiting plate 4, two location section of thick bamboo 61 are located same axis, and the slip cover is equipped with receipts reel 63 between the outside of two location sections of thick bamboo 61, it rotates to rotate handle 2 and drive screw rod 3, screw rod 3 drives second limiting plate 4 and removes, adjust the interval between two location sections of thick bamboo 61, after adjusting, put corresponding size's a winding section of thick bamboo 63 between two location sections of thick bamboo 61, later reversal handle 2, make second limiting plate 4 move toward the direction of first limiting plate 1, let two location sections of thick bamboo 61 block respectively inside the both ends of receipts reel 63.
Referring to fig. 2, in the embodiment of the present invention, the two sides of the inner wall of the winding drum 63 are provided with the clamping grooves 64, the two sides of the two positioning drums 61 are provided with the clamping strips 62 adapted to the clamping grooves 64, the clamping strips 62 are slidably clamped inside the clamping grooves 64, so that the clamping strips 62 on the positioning drums 61 are clamped in the clamping grooves 64 on the winding drum 63, when the winding motor 5 rotates, the positioning drums 61 drive the winding drum 63 to rotate, and the winding drum 63 winds the packing paper.
The second embodiment is different from the first embodiment in that:
referring to fig. 3, in an embodiment of the present invention, the guiding element 7 includes a limiting seat 71 disposed on the front side above the second limiting plate 4, a movable plate 72 is rotatably mounted on one side of the limiting seat 71, a guiding roller 73 is rotatably mounted on one side of the movable plate 72, a base 74 is disposed on the front side of the limiting seat 71, a servo motor 75 is mounted on the front side of the base 74, an output shaft of the servo motor 75 is connected to a worm 76, a worm wheel 77 is rotatably mounted on the other side of the limiting seat 71, one end of the worm wheel 77 is connected to the movable plate 72, and the worm wheel 77 is engaged with the worm 76, when rolling, the servo motor 75 drives the worm 76 to rotate, the worm 76 drives the worm wheel 77 engaged therewith to rotate, the worm wheel 77 drives the movable plate 72 to rotate, the movable plate 72 drives the guiding roller 73 to revolve, thereby adjusting a guiding position of the guiding roller 73, and tensioning the guiding roller 73 can tension the wrapping paper.
By combining the structure, the working principle of the scheme is as follows: rotate handle 2 and drive screw rod 3 and rotate, screw rod 3 drives 4 removals of second limiting plate, adjust the interval between two location section of thick bamboo 61, after adjusting, put the winding drum 63 of corresponding size between two location section of thick bamboo 61, later reverse handle 2, make the direction removal of second limiting plate 4 toward first limiting plate 1, let inside two location section of thick bamboo 61 the both ends of sticking to winding drum 63 respectively, and make card strip 62 on the location section of thick bamboo 61 block in the draw-in groove 64 on the winding drum 63, will make location section of thick bamboo 61 drive winding drum 63 and rotate when winding motor 5 rotates like this, winding drum 63 carries out rolling work to the wrapping paper.
While winding, the servo motor 75 drives the worm 76 to rotate, the worm 76 drives the worm wheel 77 engaged with the worm to rotate, the worm wheel 77 drives the movable plate 72 to rotate, and the movable plate 72 drives the guide roller 73 to revolve, so that the guiding position of the guide roller 73 can be adjusted, and the guide roller 73 can tension the packaging paper.
The above-described embodiments are merely illustrative of the present invention and are not intended to limit the present invention. In the description of the present technical solution, it should be noted that the terms such as "upper", "inner", etc. indicate the orientation or positional relationship based on the orientation or positional relationship shown in the drawings, which are only for convenience of describing the technical solution and simplifying the description, and do not indicate or imply that the referred device or element must have a specific orientation, be constructed in a specific orientation, and operate, and thus, should not be construed as limiting the technical solution.
Meanwhile, in the description of the present technical solution, it should be noted that, unless explicitly specified or limited otherwise, the terms "fixed" and "matched" should be interpreted broadly, for example, they may be fixedly connected, detachably connected, or integrally connected; either directly or indirectly through intervening media, either internally or in any other relationship. The specific meaning of the above terms in the present technical solution can be understood by those of ordinary skill in the art according to specific situations.
Although embodiments of the present disclosure have been shown and described, it will be appreciated by those skilled in the art that various changes, modifications, substitutions and alterations can be made in these embodiments without departing from the principles and spirit of the disclosure, the scope of which is defined in the appended claims and their equivalents.
Claims (6)
1. Wrapping paper processing coiling mechanism, including first limiting plate (1), its characterized in that: handle (2) are installed in one side rotation of first limiting plate (1), and the one end of handle (2) is connected with screw rod (3), and the outside of screw rod (3) has connect second limiting plate (4) through the screw thread soon, winding motor (5) are installed to one side top of first limiting plate (1), are provided with dismantlement formula rolling component (6) between the output shaft of winding motor (5) and the top one side of second limiting plate (4), the top front side of second limiting plate (4) is provided with guide (7).
2. A wrapping paper processing and winding device according to claim 1, wherein: two corners of the lower side of the second limiting plate (4) are provided with bumps (41), the other side of the lower side of the first limiting plate (1) is provided with a bottom plate (101), and the bottom plate (101) is arranged between the two bumps (41).
3. A wrapping paper processing and winding apparatus as claimed in claim 1, wherein: dismantlement formula rolling component (6) include two location section of thick bamboos (61), and one of them location section of thick bamboo (61) fixed connection is in the output shaft of coiling motor (5), and another location section of thick bamboo (61) rotate and set up in the top one side of second limiting plate (4), and two location section of thick bamboos (61) are located same axis, and the slip cover is equipped with coiling section of thick bamboo (63) between the outside of two location sections of thick bamboo (61).
4. A wrapping paper processing and winding device according to claim 3, wherein: clamping grooves (64) are formed in two sides of the inner wall of the winding drum (63), clamping strips (62) matched with the clamping grooves (64) are arranged on two sides of the two positioning drums (61), and the clamping strips (62) are connected to the insides of the clamping grooves (64) in a sliding and clamping mode.
5. A wrapping paper processing and winding device according to claim 1, wherein: the guide piece (7) comprises a limiting seat (71) arranged on the front side above the second limiting plate (4), a movable plate (72) is rotatably mounted on one side of the limiting seat (71), and a guide roller (73) is rotatably mounted on one side face of one end of the movable plate (72).
6. A wrapping paper processing rolling device according to claim 5, characterized in that: the front side of the limiting seat (71) is provided with a base (74), a servo motor (75) is installed on the front side of the base (74), an output shaft of the servo motor (75) is connected with a worm (76), the other side of the limiting seat (71) is rotatably provided with a worm wheel (77), one end of the worm wheel (77) is connected with the movable plate (72), and the worm wheel (77) is meshed with the worm (76).
Priority Applications (1)
| Application Number | Priority Date | Filing Date | Title |
|---|---|---|---|
| CN202223263120.XU CN218809314U (en) | 2022-12-06 | 2022-12-06 | Wrapping paper processing coiling mechanism |
Applications Claiming Priority (1)
| Application Number | Priority Date | Filing Date | Title |
|---|---|---|---|
| CN202223263120.XU CN218809314U (en) | 2022-12-06 | 2022-12-06 | Wrapping paper processing coiling mechanism |
Publications (1)
| Publication Number | Publication Date |
|---|---|
| CN218809314U true CN218809314U (en) | 2023-04-07 |
Family
ID=87264686
Family Applications (1)
| Application Number | Title | Priority Date | Filing Date |
|---|---|---|---|
| CN202223263120.XU Active CN218809314U (en) | 2022-12-06 | 2022-12-06 | Wrapping paper processing coiling mechanism |
Country Status (1)
| Country | Link |
|---|---|
| CN (1) | CN218809314U (en) |
Cited By (1)
| Publication number | Priority date | Publication date | Assignee | Title |
|---|---|---|---|---|
| CN117530026A (en) * | 2023-12-11 | 2024-02-09 | 扬州大学 | A seedling-laying shaft connection device and its use method |
-
2022
- 2022-12-06 CN CN202223263120.XU patent/CN218809314U/en active Active
Cited By (1)
| Publication number | Priority date | Publication date | Assignee | Title |
|---|---|---|---|---|
| CN117530026A (en) * | 2023-12-11 | 2024-02-09 | 扬州大学 | A seedling-laying shaft connection device and its use method |
Similar Documents
| Publication | Publication Date | Title |
|---|---|---|
| CN112248341A (en) | Asphalt adjusting device for waterproof coiled material production line | |
| CN218809314U (en) | Wrapping paper processing coiling mechanism | |
| CN211998008U (en) | An adjustable winding mechanism for nanocrystalline alloy strip | |
| CN220316740U (en) | Film winding mechanism | |
| JPH0624615A (en) | Slitter equipped with film accumulator and film winding speed control device | |
| CN202697581U (en) | Automatic dough sheet winding device | |
| CN221318625U (en) | Film winding machine capable of preventing wrinkles | |
| CN216511825U (en) | Film storage rack | |
| CN214878857U (en) | Coreless paper roll rewinding mechanism of lining paper rewinding machine for cigarettes | |
| CN114056998B (en) | Adhesive tape rewinder with crease monitoring function | |
| CN215827984U (en) | Lapping device for highlight protective film | |
| CN216426174U (en) | Cloth storage machine with tension mechanism | |
| CN210619746U (en) | Fiber web guiding device for textile machinery | |
| CN223016009U (en) | A kind of coiling aid connecting support device and steel plate coiling machine | |
| CN218174106U (en) | Tensioning adjusting component for rewinding machine | |
| CN209871919U (en) | Small-size rewinding mechanism | |
| CN220316744U (en) | Mechanical winding adjusting mechanism | |
| CN219708656U (en) | Coiling machine with protection machanism | |
| CN220148705U (en) | Guiding device for carrier tape winding mechanism | |
| CN220641842U (en) | Winding drum fixing mechanism for winding machine | |
| CN219469144U (en) | Rolling machine with rolling limit function | |
| CN216763695U (en) | Hydraulic mechanical coil drawing machine | |
| CN219729982U (en) | Independent driving device for upper compression roller of winding | |
| CN222273599U (en) | Flexible machine outer cloth rolling mechanism | |
| CN219791834U (en) | PTFE deviation-adjusting winding machine |
Legal Events
| Date | Code | Title | Description |
|---|---|---|---|
| GR01 | Patent grant | ||
| GR01 | Patent grant |