CN218675932U - Computer machine case with quick detach curb plate - Google Patents
Computer machine case with quick detach curb plate Download PDFInfo
- Publication number
- CN218675932U CN218675932U CN202222903596.9U CN202222903596U CN218675932U CN 218675932 U CN218675932 U CN 218675932U CN 202222903596 U CN202222903596 U CN 202222903596U CN 218675932 U CN218675932 U CN 218675932U
- Authority
- CN
- China
- Prior art keywords
- heat dissipation
- case
- side plate
- plate
- moving
- Prior art date
- Legal status (The legal status is an assumption and is not a legal conclusion. Google has not performed a legal analysis and makes no representation as to the accuracy of the status listed.)
- Expired - Fee Related
Links
Images
Landscapes
- Cooling Or The Like Of Electrical Apparatus (AREA)
Abstract
本实用新型涉及一种具有快拆侧板的计算机机箱,包括机箱和散热侧板,所述机箱的为矩形机箱,所述机箱的左端面敞开,所述散热侧板可拆卸设置于机箱的左端面上且用于封闭机箱的左端面,所述散热侧板的外侧由上至下水平均匀设置有若干散热片,散热侧板的上均匀开设有若干贯穿散热侧板左端面和右端面的条形散热孔,条形散热孔水平设置于相邻的水平散热片之间的散热侧板上。本实用新型的散热侧板可拆卸设置于机箱上,在机箱温度过高时,可将散热侧板拆下,使机箱的左端面敞开,使计算机机箱内部的空气能直接与计算机机箱外部的空气进行交换,提高散热效率,避免计算机死机。
The utility model relates to a computer case with a quick-release side plate, comprising a case and a heat dissipation side plate, the case is a rectangular case, the left end face of the case is open, and the heat dissipation side plate is detachably arranged on the left end of the case It is used to close the left end face of the chassis. The outer side of the heat dissipation side plate is evenly provided with a number of heat sinks from top to bottom. On the top of the heat dissipation side plate, there are a number of strips running through the left end surface and the right end surface of the heat dissipation side plate. The strip-shaped heat dissipation holes are horizontally arranged on the heat dissipation side plates between adjacent horizontal heat dissipation fins. The heat dissipation side plate of the utility model is detachably arranged on the case. When the temperature of the case is too high, the heat dissipation side plate can be removed to open the left end face of the case, so that the air inside the computer case can be directly connected with the air outside the computer case. Perform exchange to improve heat dissipation efficiency and avoid computer crashes.
Description
技术领域technical field
本实用新型涉及计算机技术领域,具体的讲是一种具有快拆侧板的计算机机箱。The utility model relates to the technical field of computers, in particular to a computer case with quick-release side plates.
背景技术Background technique
计算机机箱是指计算机硬件系统中用于放置主板及其他主要部件的箱体。主机内包括CPU、内存、硬盘、电源以及其他输入/输出控制器和接口,如USB控制器、显卡、网卡、声卡等等。位于主机箱内的通常称为内设,而位于主机箱之外的通常称为外设(如显示器、键盘、鼠标、外接硬盘、外接光驱等)。The computer case refers to the box used to place the motherboard and other main components in the computer hardware system. Include CPU, memory, hard disk, power supply and other input/output controllers and interfaces in the host computer, such as USB controller, graphics card, network card, sound card and so on. Those located inside the main box are usually called internal devices, while those located outside the main box are usually called peripherals (such as monitors, keyboards, mice, external hard drives, external optical drives, etc.).
计算机部件中大量使用集成电路。众所周知,高温是集成电路的大敌。高温不但会导致系统运行不稳,使用寿命缩短,甚至有可能使某些部件烧毁。导致高温的热量不是来自计算机外,而是计算机内部,或者说是集成电路内部,计算机主机内的产热量高的部件有:CPU、显卡、主板、电源。计算机机箱上通常会开设一些散热孔以及配合散热器将计算机机箱内部的热量发散于外界空气中,来保证计算机机箱内部的元器件温度正常。Integrated circuits are heavily used in computer components. As we all know, high temperature is the enemy of integrated circuits. High temperature will not only lead to unstable operation of the system, shorten the service life, and may even burn some components. The heat that causes high temperature does not come from outside the computer, but from inside the computer, or inside the integrated circuit. The components with high heat generation in the host computer include: CPU, graphics card, motherboard, and power supply. Usually, some heat dissipation holes are provided on the computer case and the heat inside the computer case is dissipated into the outside air in cooperation with the radiator, so as to ensure that the temperature of the components inside the computer case is normal.
但在夏天,即使计算机内有散热装置,但由于机箱内温度过高,计算机周围的环境也处于较高的状态,仅通过计算机机箱上的散热孔以及散热器不能及时的将热量散发出去,计算机机箱内部热量过高会导至元器件降频运行、计算机死机等现象,使得计算机无法正常工作,现有的计算机侧板通常通过螺丝固定于机箱侧面,无法实现侧板的快速拆卸,且侧板上虽然开设有散热孔,但是散热效果不好。But in summer, even if there is a heat dissipation device in the computer, the environment around the computer is also in a relatively high state due to the high temperature in the case, and the heat cannot be dissipated in time only through the cooling holes and the radiator on the computer case. Excessive heat inside the chassis will lead to low-frequency operation of components and computer crashes, etc., making the computer unable to work normally. The existing computer side panels are usually fixed to the side of the chassis by screws, which cannot be quickly disassembled. Although there are cooling holes on the top, the cooling effect is not good.
实用新型内容Utility model content
本实用新型要解决的技术问题是针对以上不足,提供一种具有快拆侧板的计算机机箱。The technical problem to be solved by the utility model is to provide a computer case with quick-release side panels for the above deficiencies.
为解决以上技术问题,本实用新型采用以下技术方案:In order to solve the above technical problems, the utility model adopts the following technical solutions:
一种具有快拆侧板的计算机机箱,包括机箱和散热侧板,所述机箱的为矩形机箱,所述机箱的左端面敞开,所述散热侧板可拆卸设置于机箱的左端面上且用于封闭机箱的左端面,所述散热侧板的外侧由上至下水平均匀设置有若干散热片,散热侧板的上均匀开设有若干贯穿散热侧板左端面和右端面的条形散热孔,条形散热孔水平设置于相邻的水平散热片之间的散热侧板上。A computer case with a quick release side plate, including a case and a heat dissipation side plate, the case is a rectangular case, the left end face of the case is open, the heat dissipation side plate is detachably arranged on the left end face of the case and used On the left end face of the closed chassis, a number of cooling fins are evenly arranged on the outer side of the heat dissipation side plate from top to bottom, and a number of strip-shaped heat dissipation holes are evenly opened on the top of the heat dissipation side plate through the left end surface and the right end surface of the heat dissipation side plate. The strip-shaped heat dissipation holes are horizontally arranged on the heat dissipation side plates between adjacent horizontal heat dissipation fins.
进一步的,所述机箱与散热侧板上侧边和下侧边接触的一侧上均设置有固定条,位于机箱顶部的固定条的下表面开设有卡槽,位于机箱底部的固体条的上表面开设有卡槽,所述散热侧板的顶部和底部设置于卡槽内且可沿卡槽前后移动,所述固定条的后端设置有限位条,所述限位条用于限制散热侧板沿卡槽向后移动的极限位置,所述机箱的前端面水平设置有移动卡扣,所述移动卡扣用于限制散热侧板沿卡槽向前移动,使得散热侧板固定在卡槽内。Further, the side of the chassis in contact with the side and the lower side of the heat dissipation side plate is provided with a fixing strip, and the lower surface of the fixing strip at the top of the chassis is provided with a card slot, and the upper surface of the solid strip at the bottom of the chassis There is a card slot on the surface, and the top and bottom of the heat dissipation side plate are arranged in the card slot and can move forward and backward along the card slot. The rear end of the fixing bar is provided with a limit bar, and the limit bar is used to limit The limit position where the plate moves backward along the card slot, the front end of the chassis is horizontally provided with a mobile buckle, and the mobile buckle is used to limit the forward movement of the heat dissipation side plate along the card slot, so that the heat dissipation side plate is fixed in the card slot Inside.
进一步的,所述卡槽的前端设置有喇叭形的导入端。Further, the front end of the card slot is provided with a trumpet-shaped introduction end.
进一步的,所述限位条的前端面开设有竖直凹槽,所述竖直凹槽内设置有柔性垫条。Further, a vertical groove is opened on the front surface of the limiting bar, and a flexible pad is arranged in the vertical groove.
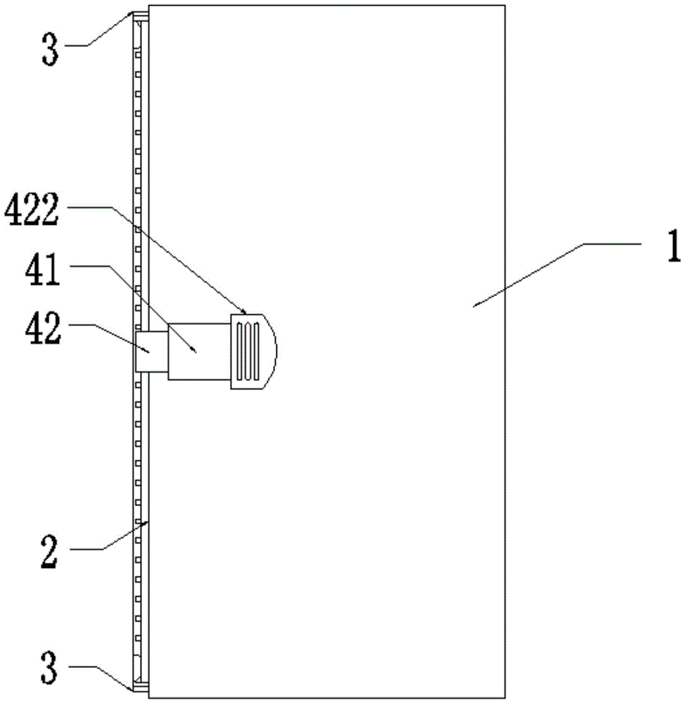
进一步的,所述移动卡扣包括安装套和移动板,所述移动板与散热侧板垂直,所述安装套设置于机箱的前端面上,所述移动板设置于安装套内且能在安装套内左右移动,所述移动板的后端面左侧设置有卡扣。Further, the moving buckle includes a mounting sleeve and a moving plate, the moving plate is perpendicular to the heat dissipation side plate, the mounting sleeve is arranged on the front surface of the chassis, the moving plate is arranged in the mounting sleeve and can be installed The sleeve moves left and right, and the left side of the rear end surface of the moving plate is provided with buckles.
进一步的,所述移动板的右端设置有手柄,所述手柄用于限制移动板向卡扣一端移动的极限距离。Further, a handle is provided on the right end of the moving plate, and the handle is used to limit the limit distance that the moving plate can move to one end of the buckle.
本实用新型采用以上技术方案后,与现有技术相比,具有以下优点:After the utility model adopts the above technical scheme, compared with the prior art, it has the following advantages:
本实用新型的散热侧板可拆卸设置于机箱上,在机箱温度过高时,可将散热侧板拆下,使机箱的左端面敞开,使计算机机箱内部的空气能直接与计算机机箱外部的空气进行交换,提高散热效率,避免计算机死机;The heat dissipation side plate of the utility model can be detachably arranged on the case. When the temperature of the case is too high, the heat dissipation side plate can be removed to open the left end face of the case so that the air inside the computer case can be directly connected with the air outside the computer case. Perform exchange to improve heat dissipation efficiency and avoid computer crashes;
且散热侧板的外侧开设有多个散热片,用于提高散热侧板与空气的接触面积,提高散热效率,且散热侧板上开设有多个条形散热孔,便于机箱内的空气向机箱外侧扩散,使得机箱内的热量向外扩散,通过散热侧板来提高机箱的散热性能。And the outer side of the heat dissipation side plate is provided with a plurality of heat sinks, which are used to increase the contact area between the heat dissipation side plate and the air, and improve the heat dissipation efficiency, and the heat dissipation side plate is provided with a plurality of strip-shaped heat dissipation holes, which is convenient for the air in the chassis to flow into the chassis. Outer diffusion makes the heat in the case diffuse outward, and improves the heat dissipation performance of the case through the heat dissipation side panels.
下面结合附图和实施例对本实用新型进行详细说明。The utility model is described in detail below in conjunction with accompanying drawing and embodiment.
附图说明Description of drawings
图1为本实用新型的主视图;Fig. 1 is the front view of the utility model;
图2为本实用新型的主视剖面图(省略散热侧板);Fig. 2 is the front sectional view of the utility model (omitting the heat dissipation side plate);
图3为本实用新型的固定条和限位条的左视图;Fig. 3 is the left view of the fixing bar and the limiting bar of the present utility model;
图4为图3的A-A剖面图;Fig. 4 is the A-A sectional view of Fig. 3;
图5为本实用新型的散热侧板的左视图;Fig. 5 is a left view of the heat dissipation side plate of the present utility model;
图6为本实用新型的散热侧板的主视图;Fig. 6 is the front view of the heat dissipation side plate of the present utility model;
图7为本实用新型的移动卡扣的俯视图。Fig. 7 is a top view of the mobile buckle of the present invention.
附图中,各标号所代表的部件列表如下:In the accompanying drawings, the list of parts represented by each label is as follows:
1、机箱;2、散热侧板;21、散热片;22、条形散热孔;3、固定条;31、卡槽;32、限位条;321、柔性垫条;41、安装套;42、移动板;421、卡扣;422、手柄。1. Chassis; 2. Heat dissipation side panel; 21. Heat sink; 22. Strip cooling holes; 3. Fixing strip; 31. Card slot; 32. Limiting strip; 321. Flexible gasket; 41. Installation sleeve; 42 , moving plate; 421, buckle; 422, handle.
具体实施方式Detailed ways
以下结合附图对本实用新型的原理和特征进行描述,所举实例只用于解释本实用新型,并非用于限定本实用新型的范围。The principles and features of the present utility model are described below in conjunction with the accompanying drawings, and the examples given are only used to explain the utility model, and are not used to limit the scope of the utility model.
在本实用新型的描述中,需要说明的是,术语“中心”、“上”、“下”、“左”、“右”、“竖直”、“水平”、“内”、“外”“顺时针”“逆时针”等指示的方位或位置关系为基于附图所示的方位或位置关系,仅是为了便于描述本实用新型和简化描述,而不是指示或暗示所指的装置或元件必须具有特定的方位、以特定的方位构造和操作,因此不能理解为对本实用新型的限制。In the description of the present utility model, it should be noted that the terms "center", "upper", "lower", "left", "right", "vertical", "horizontal", "inner", "outer" The orientation or positional relationship indicated by "clockwise", "counterclockwise", etc. is based on the orientation or positional relationship shown in the drawings, and is only for the convenience of describing the utility model and simplifying the description, rather than indicating or implying the referred device or element Must have a specific orientation, be constructed and operate in a specific orientation, and therefore should not be construed as limiting the invention.
如图1、图5和图6所示,一种具有快拆侧板的计算机机箱,包括机箱1和散热侧板2,所述机箱1的为矩形机箱1,所述机箱1的左端面敞开,所述散热侧板2可拆卸设置于机箱1的左端面上且用于封闭机箱1的左端面,所述散热侧板2的外侧由上至下水平均匀设置有若干散热片21,散热侧板2的上均匀开设有若干贯穿散热侧板2左端面和右端面的条形散热孔22,条形散热孔22水平设置于相邻的水平散热片21之间的散热侧板2上。As shown in Fig. 1, Fig. 5 and Fig. 6, a computer case with a quick release side plate includes a
如图3和图4所示,作为一种实施方式,所述机箱1与散热侧板2上侧边和下侧边接触的一侧上均设置有固定条3,位于机箱1顶部的固定条3的下表面开设有卡槽31,位于机箱1底部的固体条3的上表面开设有卡槽31,所述散热侧板2的顶部和底部设置于卡槽31内且可沿卡槽31前后移动,所述固定条3的后端设置有限位条32,所述限位条32用于限制散热侧板2沿卡槽31向后移动的极限位置,所述机箱1的前端面水平设置有移动卡扣,所述移动卡扣用于限制散热侧板2沿卡槽31向前移动,使得散热侧板2固定在卡槽内。As shown in Figures 3 and 4, as an embodiment, the side of the
作为一种实施方式,所述卡槽31的前端设置有喇叭形的导入端。As an embodiment, the front end of the
作为一种实施方式,所述限位条32的前端面开设有竖直凹槽,所述竖直凹槽内设置有柔性垫条321。As an implementation manner, a vertical groove is formed on the front end of the
如图7所示,作为一种实施方式,所述移动卡扣包括安装套41和移动板42,所述移动板42与散热侧板2垂直,所述安装套41设置于机箱1的前端面上,所述移动板42设置于安装套41内且能在安装套41内左右移动,所述移动板42的后端面左侧设置有卡扣421。As shown in FIG. 7 , as an embodiment, the moving buckle includes a mounting
作为一种实施方式,所述移动板42的右端设置有手柄422,所述手柄422用于限制移动板42向卡扣421一端移动的极限距离;As an implementation, the right end of the moving
具体的,移动卡扣在使用时,可通过推动手柄422以使移动板42左右移动,当散热侧板2未安装于卡槽31内时,当移动板42向左移动时,会阻挡散热侧板2与卡槽31卡合的路径,当移动板42向右移动时,会敞开散热侧板2与卡槽31卡合的路径;当散热侧板2安装于卡槽31内时,当移动板42向左移动时,卡扣421会卡在散热侧板2的左端面,并且移动板42会将散热侧板2固定于卡槽31内,当移动板向右移动时,卡扣421与散热侧板2脱离,此时可将散热侧板2从卡槽31内取出。Specifically, when the mobile buckle is in use, the
散热侧板的安装:Installation of cooling side panels:
通过手柄422推动移动板42向右移动,将散热板2的顶部和底部与对应的卡槽31对齐,将散热板2的顶部卡入位于机箱顶部的固定条3上的卡槽31内,将散热板2的底部卡入位于机箱底部的固定条3上的卡槽31内,随后推动散热侧板2沿卡槽31向后移动,直至散热侧板2的后端面与柔性垫条321贴合,通过手柄422推动移动板42向左移动,使卡扣321卡在散热侧板2的左端面上,通过移动板42和限位条32将散热侧板2限制于卡槽31内,完成安装;Use the
散热侧板的拆卸:Removal of the cooling side panel:
拨动移动板42使卡扣321脱离散热侧板2的左端面,通过手柄422推动移动板42向右移动,即可将散热侧板2从卡槽31内抽出,完成拆卸。Toggle the
以上所述为本实用新型最佳实施方式的举例,其中未详细述及的部分均为本领域普通技术人员的公知常识。本实用新型的保护范围以权利要求的内容为准,任何基于本实用新型的技术启示而进行的等效变换,也在本实用新型的保护范围之内。The above descriptions are examples of the best implementation modes of the present utility model, and the parts not mentioned in detail are the common knowledge of those skilled in the art. The protection scope of the present utility model is based on the content of the claims, and any equivalent transformation based on the technical inspiration of the present utility model is also within the protection scope of the present utility model.
Claims (6)
Priority Applications (1)
| Application Number | Priority Date | Filing Date | Title |
|---|---|---|---|
| CN202222903596.9U CN218675932U (en) | 2022-11-02 | 2022-11-02 | Computer machine case with quick detach curb plate |
Applications Claiming Priority (1)
| Application Number | Priority Date | Filing Date | Title |
|---|---|---|---|
| CN202222903596.9U CN218675932U (en) | 2022-11-02 | 2022-11-02 | Computer machine case with quick detach curb plate |
Publications (1)
| Publication Number | Publication Date |
|---|---|
| CN218675932U true CN218675932U (en) | 2023-03-21 |
Family
ID=85568031
Family Applications (1)
| Application Number | Title | Priority Date | Filing Date |
|---|---|---|---|
| CN202222903596.9U Expired - Fee Related CN218675932U (en) | 2022-11-02 | 2022-11-02 | Computer machine case with quick detach curb plate |
Country Status (1)
| Country | Link |
|---|---|
| CN (1) | CN218675932U (en) |
-
2022
- 2022-11-02 CN CN202222903596.9U patent/CN218675932U/en not_active Expired - Fee Related
Similar Documents
| Publication | Publication Date | Title |
|---|---|---|
| US8072753B2 (en) | Computer system | |
| CN210052088U (en) | Computer casing with heat radiation and high expansion convenience | |
| TWM565468U (en) | Heat dissipation assembly | |
| CN218675932U (en) | Computer machine case with quick detach curb plate | |
| CN210038684U (en) | A low-power cloud computer chassis cooling system | |
| CN220491249U (en) | All-in-one base and all-in-one with same | |
| CN217982830U (en) | Hard disk device and quick-release module thereof | |
| CN218446595U (en) | Laptop bottom dust removal and heat dissipation device | |
| CN211180752U (en) | Special computer cooling system for block chain | |
| CN211454460U (en) | An explosion-proof sealed industrial control computer | |
| CN210119749U (en) | Heat dissipation device and notebook computer | |
| CN202383577U (en) | Improved computer case | |
| CN218497446U (en) | Mainboard fixing device | |
| CN218957141U (en) | Computer host with good dustproof performance | |
| CN216719054U (en) | Computer heat radiation structure | |
| CN209132710U (en) | A heat dissipation structure for preventing air duct crosstalk | |
| CN110687978A (en) | A computer case structure | |
| CN217034688U (en) | Quick radiator unit of computer motherboard | |
| CN221962183U (en) | A U-shaped heat dissipation host structure | |
| CN222580770U (en) | A network attached storage device | |
| CN217484805U (en) | Cabinet | |
| CN222461985U (en) | A highly adaptable computer motherboard | |
| CN221901234U (en) | Double-sided heat dissipation type host structure | |
| CN219248477U (en) | Data monitoring device for information technology | |
| CN222939439U (en) | Cold water heat radiation module installed between computer main board and hard disk |
Legal Events
| Date | Code | Title | Description |
|---|---|---|---|
| GR01 | Patent grant | ||
| GR01 | Patent grant | ||
| CF01 | Termination of patent right due to non-payment of annual fee |
Granted publication date: 20230321 |
|
| CF01 | Termination of patent right due to non-payment of annual fee |
