CN218508774U - A portable ceiling bracket for interior architectural decoration - Google Patents
A portable ceiling bracket for interior architectural decoration Download PDFInfo
- Publication number
- CN218508774U CN218508774U CN202222197486.5U CN202222197486U CN218508774U CN 218508774 U CN218508774 U CN 218508774U CN 202222197486 U CN202222197486 U CN 202222197486U CN 218508774 U CN218508774 U CN 218508774U
- Authority
- CN
- China
- Prior art keywords
- rod
- user
- lamp
- portable
- groove
- Prior art date
- Legal status (The legal status is an assumption and is not a legal conclusion. Google has not performed a legal analysis and makes no representation as to the accuracy of the status listed.)
- Expired - Fee Related
Links
Images
Landscapes
- Non-Portable Lighting Devices Or Systems Thereof (AREA)
Abstract
本实用新型公开了一种室内建筑装饰用便捷式吊顶支架,包括固定板和充电器,所述固定板的下端左侧安装有伺服电机,所述槽杆的左右两侧均设置有滑槽一,所述滑动螺丝远离槽杆中轴线的一端安装有螺帽。该室内建筑装饰用便捷式吊顶支架,与现有的普通吊顶支架相比,该装置的各部件间设置有滑槽,使用者可以收缩折叠该装置,有利于使用者便捷的携带该装置,也有利于使用者根据需求调节装置的高度,同时该装置设有转动调节的模块,有利于多角度的展示室内建筑装饰品,该装置还配有射灯组件和应急照明组件,可以在夜晚或停电时提供光亮,有利于夜间展示装饰品,同时可以防止使用者在漆黑环境中碰撞该装置,有利于提高该装置的安全性。
The utility model discloses a convenient ceiling bracket for indoor architectural decoration, which comprises a fixed plate and a charger. A servo motor is installed on the left side of the lower end of the fixed plate, and a chute is arranged on the left and right sides of the groove rod. , the end of the sliding screw away from the central axis of the grooved rod is equipped with a nut. The portable ceiling bracket for interior building decoration, compared with the existing common ceiling bracket, is provided with a chute between the parts of the device, and the user can shrink and fold the device, which is beneficial to the user to carry the device conveniently, and also It is beneficial for users to adjust the height of the device according to their needs. At the same time, the device is equipped with a rotary adjustment module, which is conducive to displaying indoor architectural decorations from multiple angles. The device is also equipped with spotlight components and emergency lighting components, which can Provides light at all times, which is beneficial to display decorations at night, and can prevent users from colliding with the device in a dark environment, which is beneficial to improving the safety of the device.
Description
技术领域technical field
本实用新型涉及室内建筑装饰技术领域,具体为一种室内建筑装饰用便捷式吊顶支架。The utility model relates to the technical field of indoor architectural decoration, in particular to a portable ceiling bracket for indoor architectural decoration.
背景技术Background technique
建筑装饰主要是做保护建筑物主体结构、完善建筑物物理性能和使用功能、美化建筑物及建筑空间等工作的,是建筑装饰装修工程的简称,当然除了满足基本的室内外环境、各种生活条件外,在精神品味方面也有不错的作用,能促进居住者身心健康、展现不同情调内涵,在室内建筑装饰中,有时人们会使用到吊顶支架来安装电器或装饰品,以此提高室内装饰的功能性和设计感。Architectural decoration is mainly to protect the main structure of the building, improve the physical performance and use function of the building, beautify the building and the building space, etc. It is the abbreviation of the building decoration project. In addition to conditions, it also has a good effect on spiritual taste, which can promote the physical and mental health of residents and show different emotional connotations. In interior architectural decoration, sometimes people use ceiling brackets to install electrical appliances or decorations, so as to improve the quality of interior decoration. Functionality and design.
现有的公告号为CN208331702U,名为“吊顶支架”的专利,该装置立管组件伸缩通过单排组装穿孔安装,避免立管组件内横插螺栓,方便线缆在立管组件内容纳和穿过,避免发生螺栓与线缆干涉、卡置。The existing notification number is CN208331702U, a patent named "ceiling bracket". However, avoid the interference and clamping of the bolt and the cable.
上述装置在使用过程中虽然还可以收缩,但是在使用者收缩该装置时,由于该装置缺少滑槽的设置,使用者需要先拆除组装螺丝,将立管收缩后再从组装孔安装组装螺丝,该过程费时费力,导致人们无法方便的携带和运输该设备,针对上述情况,在现有的吊顶支架基础上进行技术创新。Although the above-mentioned device can be retracted during use, when the user retracts the device, because the device lacks the setting of the chute, the user needs to remove the assembly screw first, shrink the standpipe and then install the assembly screw from the assembly hole. This process is time-consuming and laborious, causing people to be unable to carry and transport the device conveniently. In view of the above situation, technical innovation is carried out on the basis of the existing ceiling bracket.
实用新型内容Utility model content
本实用新型的目的在于提供一种室内建筑装饰用便捷式吊顶支架,以解决上述背景技术中提出的问题。The purpose of this utility model is to provide a portable ceiling bracket for indoor architectural decoration, so as to solve the problems raised in the above-mentioned background technology.
为实现上述目的,本实用新型提供如下技术方案:一种室内建筑装饰用便捷式吊顶支架,包括固定板和充电器,所述固定板的下端左侧安装有伺服电机,且伺服电机的下端安装有槽杆,所述槽杆的左右两侧均设置有滑槽一,且滑槽一的下端安装有滑动螺丝,所述滑动螺丝远离槽杆中轴线的一端安装有螺帽,且滑动螺丝的外部设置有调节杆,所述调节杆的下端设置有转动连接,所述充电器位于固定板的下端中部。In order to achieve the above purpose, the utility model provides the following technical solutions: a portable ceiling bracket for indoor architectural decoration, including a fixed plate and a charger, a servo motor is installed on the left side of the lower end of the fixed plate, and the lower end of the servo motor is installed There is a groove bar, the left and right sides of the groove rod are provided with a chute one, and the lower end of the chute one is equipped with a sliding screw, and the end of the sliding screw away from the central axis of the groove rod is equipped with a nut, and the sliding screw An adjustment rod is arranged on the outside, and the lower end of the adjustment rod is provided with a rotating connection, and the charger is located at the middle part of the lower end of the fixing plate.
进一步的,所述转动连接的前端设置有紧定螺丝,且转动连接的下端安装有转动臂。Further, a set screw is provided at the front end of the rotating connection, and a rotating arm is installed at the lower end of the rotating connection.
进一步的,所述转动臂远离槽杆中轴线的一段安装有调节球头,且调节球头远离槽杆中轴线的一端安装有转动杆。Further, an adjusting ball head is installed on a section of the rotating arm away from the central axis of the grooved rod, and a rotating rod is installed on an end of the adjusting ball head away from the central axis of the grooved rod.
进一步的,所述转动杆的内侧设置有滑槽二,且滑槽二的内部设置有拉簧。Further, the inner side of the rotating rod is provided with a
进一步的,所述拉簧的上端连接有滑块,且滑块远离槽杆中轴线的一端安装有固定夹。Further, the upper end of the extension spring is connected with a slider, and the end of the slider away from the central axis of the groove rod is installed with a fixing clip.
进一步的,所述转动杆的下端设置有托板,且转动杆的上端设置有射灯组件,所述射灯组件包括灯杆、灯座、球头连接和灯头,所述灯杆远离槽杆中轴线的一段安装有灯座,且灯座的下端安装有球头连接,所述球头连接的下端设置有灯头。Further, the lower end of the rotating rod is provided with a supporting plate, and the upper end of the rotating rod is provided with a spotlight assembly, and the spotlight assembly includes a lamp post, a lamp holder, a ball joint and a lamp head, and the lamp post is far away from the groove bar A section of the central axis is installed with a lamp holder, and a ball joint is installed at the lower end of the lamp holder, and a lamp head is provided at the lower end of the ball joint.
进一步的,所述充电器的右端设置有应急照明组件,且应急照明组件包括蓄电池和照明灯,所述蓄电池的下端安装有照明灯。Further, an emergency lighting assembly is provided at the right end of the charger, and the emergency lighting assembly includes a storage battery and a lighting lamp, and the lighting lamp is installed at the lower end of the storage battery.
与现有技术相比,本实用新型的有益效果是:该装置的各部件间设置有滑槽,使用者可以收缩折叠该装置,有利于使用者便捷的携带该装置,也有利于使用者根据需求调节装置的高度,同时该装置设有转动调节的模块,有利于多角度的展示室内建筑装饰品,该装置还配有射灯组件和应急照明组件,可以在夜晚或停电时提供光亮,有利于夜间展示装饰品,同时可以防止使用者在漆黑环境中碰撞该装置,有利于提高该装置的安全性;Compared with the prior art, the beneficial effect of the utility model is that a chute is provided between the parts of the device, and the user can shrink and fold the device, which is beneficial for the user to carry the device conveniently, and is also beneficial for the user to carry the device according to the The height of the device needs to be adjusted. At the same time, the device is equipped with a rotation-adjustable module, which is conducive to multi-angle display of indoor architectural decorations. The device is also equipped with spotlight components and emergency lighting components, which can provide light at night or when there is a power failure. It is beneficial to display decorations at night, and at the same time, it can prevent users from colliding with the device in a dark environment, which is conducive to improving the safety of the device;
1.本实用新型通过槽杆、滑槽一、滑动螺丝、螺帽和调节杆的设置,当使用者需要携带或运输该装置时,使用者可将螺帽旋转松开,此时使用者可将调节杆沿着滑槽一向上滑动,滑动到滑槽一的顶端后使用者可拧紧螺帽,使调节杆固定在相应位置,当到达指定地点需要安装时,使用者可将螺帽松开,将调节杆根据需求滑动到指定高度并拧紧螺帽固定,通过上述操作,使用者可以折叠收缩该装置,减小了该装置的体积,有利于使用者便捷的携带该装置,也有利于使用者根据需求调节装置的高度;1. The utility model adopts the setting of the groove rod, the chute one, the sliding screw, the nut and the adjustment rod. When the user needs to carry or transport the device, the user can rotate the nut to loosen it. At this time, the user can Slide the adjusting rod upward along the chute one, and then the user can tighten the nut after sliding to the top of the chute one, so that the adjusting rod is fixed at the corresponding position. When it reaches the designated place and needs to be installed, the user can loosen the nut , slide the adjustment lever to the specified height according to the requirement and tighten the nut to fix it. Through the above operation, the user can fold and shrink the device, which reduces the volume of the device, which is conducive to the user's convenient carrying of the device and is also conducive to use. Or adjust the height of the device according to the demand;
2.本实用新型通过转动连接、转动臂、调节球头、转动杆、滑槽二、拉簧、固定夹和紧定螺丝的设置,当使用者需要调节该装置的展示角度时,可将转动连接前端的紧定螺丝松开,此时使用者可以转动连接为轴旋转转动臂,旋转到指定角度后使用者可固定紧定螺丝,并向上拉动固定夹,将所需要展示的相框或画框等装饰品放在托板上方,再松开固定夹,此时固定夹在拉簧的拉动下向下卡住,固定所展示的装饰品,使用者可通过调节球头来调节装饰品的朝向,使用者还可通过伺服电机来调整该装置的整体角度,通过上述操作,使用者可根据需要灵活调节该装置的朝向,有利于多角度的展示室内建筑装饰品;2. The utility model is provided with rotating connection, rotating arm, adjusting ball head, rotating rod,
3.本实用新型通过射灯组件、灯杆、灯座、球头连接、灯头、充电器、应急照明组件、蓄电池和照明灯的设置,当环境昏暗时,使用者可以打开灯头,并通过球头连接调节灯头的方向,使其以合适的角度照射装饰品,当有电时,充电器会为蓄电池充电,当停电时,使用者可以打开应急照明组件,此时照明灯通过蓄电池内储存的电力照明,通过上述操作,该装置可以在夜晚或停电时提供光亮,有利于夜间展示装饰品,同时可以防止使用者在漆黑环境中碰撞该装置,有利于提高该装置的安全性。3. The utility model is equipped with spotlight components, light poles, lamp holders, ball joints, lamp holders, chargers, emergency lighting components, batteries and lighting lamps. When the environment is dark, the user can turn on the lamp holders and pass the ball The head is connected to adjust the direction of the lamp head so that it can shine on the decoration at a suitable angle. When there is power, the charger will charge the battery. When the power fails, the user can turn on the emergency lighting component. Electric lighting, through the above operations, the device can provide light at night or when there is a power outage, which is beneficial to display decorations at night, and can prevent users from colliding with the device in a dark environment, which is conducive to improving the safety of the device.
附图说明Description of drawings
图1为本实用新型一种室内建筑装饰用便捷式吊顶支架的正视剖视结构示意图;Fig. 1 is a front view sectional structure schematic diagram of a portable ceiling bracket for indoor architectural decoration of the present invention;
图2为本实用新型一种室内建筑装饰用便捷式吊顶支架的槽杆和调节杆局部正视剖视结构示意图;Fig. 2 is a partial front view sectional structure schematic diagram of a groove bar and an adjusting bar of a portable ceiling bracket for indoor architectural decoration of the present invention;
图3为本实用新型一种室内建筑装饰用便捷式吊顶支架的转动连接和紧定螺丝立体结构示意图;Fig. 3 is a three-dimensional structural schematic diagram of a rotary connection and a set screw of a portable ceiling bracket for indoor architectural decoration of the present invention;
图4为本实用新型一种室内建筑装饰用便捷式吊顶支架的转动臂和转动干局部正视剖视结构示意图。Fig. 4 is a partial frontal cross-sectional structure diagram of a rotating arm and a rotating stem of a portable ceiling bracket for indoor architectural decoration of the present invention.
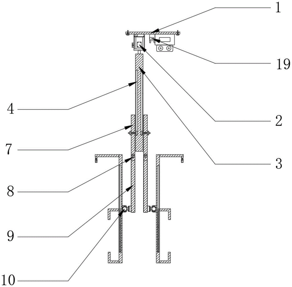
图中:1、固定板;2、伺服电机;3、槽杆;4、滑槽一;5、滑动螺丝;6、螺帽;7、调节杆;8、转动连接;9、转动臂;10、调节球头;11、转动杆;12、滑槽二;13、滑块;14、拉簧;15、固定夹;16、托板;17、射灯组件;1701、灯杆;1702、灯座;1703、球头连接;1704、灯头;18、紧定螺丝;19、充电器;20、应急照明组件;2001、蓄电池;2002、照明灯。In the figure: 1, fixed plate; 2, servo motor; 3, groove rod; 4, chute one; 5, sliding screw; 6, nut; 7, adjusting rod; 8, rotating connection; 9, rotating arm; 10 1. Adjusting ball head; 11. Rotating rod; 12.
具体实施方式Detailed ways
如图1-4所示,一种室内建筑装饰用便捷式吊顶支架,包括固定板1和充电器19,固定板1的下端左侧安装有伺服电机2,且伺服电机2的下端安装有槽杆3,槽杆3的左右两侧均设置有滑槽一4,且滑槽一4的下端安装有滑动螺丝5,滑动螺丝5远离槽杆3中轴线的一端安装有螺帽6,且滑动螺丝5的外部设置有调节杆7,调节杆7的下端设置有转动连接8,充电器19位于固定板1的下端中部,当使用者需要携带或运输该装置时,使用者可将螺帽6旋转松开,此时使用者可将调节杆7沿着滑槽一4向上滑动,滑动到滑槽一4的顶端后使用者可拧紧螺帽6,使调节杆7固定在相应位置,当到达指定地点需要安装时,使用者可将螺帽6松开,将调节杆7根据需求滑动到指定高度并拧紧螺帽6固定,通过上述操作,使用者可以折叠收缩该装置,减小了该装置的体积,有利于使用者便捷的携带该装置,也有利于使用者根据需求调节装置的高度,转动连接8的前端设置有紧定螺丝18,且转动连接8的下端安装有转动臂9,转动臂9远离槽杆3中轴线的一段安装有调节球头10,且调节球头10远离槽杆3中轴线的一端安装有转动杆11,转动杆11的内侧设置有滑槽二12,且滑槽二12的内部设置有拉簧14,拉簧14的上端连接有滑块13,且滑块13远离槽杆3中轴线的一端安装有固定夹15,当使用者需要调节该装置的展示角度时,可将转动连接8前端的紧定螺丝18松开,此时使用者可以转动连接8为轴旋转转动臂9,旋转到指定角度后使用者可固定紧定螺丝18,并向上拉动固定夹15,将所需要展示的相框或画框等装饰品放在托板16上方,再松开固定夹15,此时固定夹15在拉簧14的拉动下向下卡住,固定所展示的装饰品,使用者可通过调节球头10来调节装饰品的朝向,使用者还可通过伺服电机2来调整该装置的整体角度,通过上述操作,使用者可根据需要灵活调节该装置的朝向,有利于多角度的展示室内建筑装饰品。As shown in Figure 1-4, a portable ceiling bracket for indoor architectural decoration, including a
如图1、图2和图4所示,转动杆11的下端设置有托板16,且转动杆11的上端设置有射灯组件17,射灯组件17包括灯杆1701、灯座1702、球头连接1703和灯头1704,灯杆1701远离槽杆3中轴线的一段安装有灯座1702,且灯座1702的下端安装有球头连接1703,球头连接1703的下端设置有灯头1704,充电器19的右端设置有应急照明组件20,且应急照明组件20包括蓄电池2001和照明灯2002,蓄电池2001的下端安装有照明灯2002,当环境昏暗时,使用者可以打开灯头1704,并通过球头连接1703调节灯头1704的方向,使其以合适的角度照射装饰品,当有电时,充电器19会为蓄电池2001充电,当停电时,使用者可以打开应急照明组件20,此时照明灯2002通过蓄电池2001内储存的电力照明,通过上述操作,该装置可以在夜晚或停电时提供光亮,有利于夜间展示装饰品,同时可以防止使用者在漆黑环境中碰撞该装置,有利于提高该装置的安全性。As shown in Figure 1, Figure 2 and Figure 4, the lower end of the
工作原理:在使用该室内建筑装饰用便捷式吊顶支架时,首先当使用者需要调节该装置的展示角度时,可将转动连接8前端的紧定螺丝18松开,此时使用者可以转动连接8为轴旋转转动臂9,旋转到指定角度后使用者可固定紧定螺丝18,并向上拉动固定夹15,将所需要展示的相框或画框等装饰品放在托板16上方,再松开固定夹15,此时固定夹15在拉簧14的拉动下向下卡住,固定所展示的装饰品,使用者可通过调节球头10来调节装饰品的朝向,使用者还可通过伺服电机2来调整该装置的整体角度,通过上述操作,使用者可根据需要灵活调节该装置的朝向,当环境昏暗时,使用者可以打开灯头1704,并通过球头连接1703调节灯头1704的方向,使其以合适的角度照射装饰品,当有电时,充电器19会为蓄电池2001充电,当停电时,使用者可以打开应急照明组件20,此时照明灯2002通过蓄电池2001内储存的电力照明,通过上述操作,该装置可以在夜晚或停电时提供光亮,当使用者需要携带或运输该装置时,使用者可将螺帽6旋转松开,此时使用者可将调节杆7沿着滑槽一4向上滑动,滑动到滑槽一4的顶端后使用者可拧紧螺帽6,使调节杆7固定在相应位置,当到达指定地点需要安装时,使用者可将螺帽6松开,将调节杆7根据需求滑动到指定高度并拧紧螺帽6固定,通过上述操作,使用者可以折叠收缩该装置。Working principle: When using the portable ceiling bracket for indoor architectural decoration, first, when the user needs to adjust the display angle of the device, he can loosen the
Claims (7)
Priority Applications (1)
| Application Number | Priority Date | Filing Date | Title |
|---|---|---|---|
| CN202222197486.5U CN218508774U (en) | 2022-08-18 | 2022-08-18 | A portable ceiling bracket for interior architectural decoration |
Applications Claiming Priority (1)
| Application Number | Priority Date | Filing Date | Title |
|---|---|---|---|
| CN202222197486.5U CN218508774U (en) | 2022-08-18 | 2022-08-18 | A portable ceiling bracket for interior architectural decoration |
Publications (1)
| Publication Number | Publication Date |
|---|---|
| CN218508774U true CN218508774U (en) | 2023-02-21 |
Family
ID=85209194
Family Applications (1)
| Application Number | Title | Priority Date | Filing Date |
|---|---|---|---|
| CN202222197486.5U Expired - Fee Related CN218508774U (en) | 2022-08-18 | 2022-08-18 | A portable ceiling bracket for interior architectural decoration |
Country Status (1)
| Country | Link |
|---|---|
| CN (1) | CN218508774U (en) |
-
2022
- 2022-08-18 CN CN202222197486.5U patent/CN218508774U/en not_active Expired - Fee Related
Similar Documents
| Publication | Publication Date | Title |
|---|---|---|
| CN210989407U (en) | Industrial design exhibition frame convenient to height-adjusting and show direction | |
| CN218508774U (en) | A portable ceiling bracket for interior architectural decoration | |
| CN210398829U (en) | Adjustable telescopic stereo set light support | |
| CN222390743U (en) | Adjustable green energy-saving building curtain wall | |
| CN210203866U (en) | A detachable drawing device for environmental design | |
| CN218863938U (en) | Adjustable elevator car top maintenance lighting device | |
| CN211600524U (en) | Landscape street lamp convenient to inside cleanness of lamp shade | |
| CN212319588U (en) | Assembled LED wisdom street lamp | |
| CN219140657U (en) | Angle-adjustable solar lamp | |
| CN223610005U (en) | Tree-lighting lamp convenient to install | |
| CN214619160U (en) | LED floor lamp capable of freely adjusting height and lighting angle | |
| CN214172009U (en) | Simple lighting lamp holder for decoration | |
| CN223331648U (en) | Illumination range adjustable lighting device | |
| CN211857987U (en) | An advertising design blister light box | |
| CN220817644U (en) | Outdoor curtain wall brightening lamp mounting structure | |
| CN215570186U (en) | Integrated solar garden lamp | |
| CN206831350U (en) | A kind of novel street lamp of convenient regulation rising angle | |
| CN221463743U (en) | Street lamp cap with adjustable irradiation angle | |
| CN223690989U (en) | A camping lamp for tourism | |
| CN220489051U (en) | Night instrument ornament lamp convenient to adjust | |
| CN221171884U (en) | Make things convenient for solar street lamp lighting fixture of dismouting | |
| CN219160272U (en) | Multi-angle lighting lamp | |
| CN211780435U (en) | Folding type side fixing LED lamp decoration | |
| CN216976670U (en) | New forms of energy advertisement street lamp with adjustable | |
| CN223476784U (en) | But angle regulation's die-casting box linkage |
Legal Events
| Date | Code | Title | Description |
|---|---|---|---|
| GR01 | Patent grant | ||
| GR01 | Patent grant | ||
| CF01 | Termination of patent right due to non-payment of annual fee | ||
| CF01 | Termination of patent right due to non-payment of annual fee |
Granted publication date: 20230221 |
