CN218415090U - Large-current flat arc-shaped contact jack - Google Patents
Large-current flat arc-shaped contact jack Download PDFInfo
- Publication number
- CN218415090U CN218415090U CN202222469236.2U CN202222469236U CN218415090U CN 218415090 U CN218415090 U CN 218415090U CN 202222469236 U CN202222469236 U CN 202222469236U CN 218415090 U CN218415090 U CN 218415090U
- Authority
- CN
- China
- Prior art keywords
- flat
- arc
- contact piece
- shaped contact
- jack
- Prior art date
- Legal status (The legal status is an assumption and is not a legal conclusion. Google has not performed a legal analysis and makes no representation as to the accuracy of the status listed.)
- Active
Links
Images
Landscapes
- Connector Housings Or Holding Contact Members (AREA)
Abstract
本实用新型公开了一种大电流扁形弧形接触式插孔,涉及连接器设计领域,包括扁插外壳、弧形接触片和公头插片,扁插外壳的上侧成型有扁插孔,扁插孔呈U型结构,弧形接触片呈冠带结构,弧形接触片固定安装在扁插孔内,公头插片间隙配合插入扁插孔设置,弧形接触片压在公头插片下端的外侧完成电性连接;有益效果是:结构简单,生产效率高,成本低,可以做到接触电阻和温升的恒定;多种规格可以共用一套外壳型材模具,弧形接触片可以根据不同接触对切成多种规格,兼顾弧形接触片底部与扁插外壳之间的焊接工艺;弧形接触片在与扁插外壳组装后留有适当间隙,可以自动调节插拔力,可适用于公头插片斜插以及尺寸较大的公头插片,有效避免电性连接失效。
The utility model discloses a high-current flat arc-shaped contact jack, which relates to the field of connector design and comprises a flat plug shell, an arc-shaped contact piece and a male plug-in piece. The upper side of the flat plug shell is formed with a flat jack. The flat socket is U-shaped structure, and the arc-shaped contact piece is a crown-shaped structure. The arc-shaped contact piece is fixedly installed in the flat socket. The gap between the male plug is inserted into the flat socket. The outer side of the lower end of the sheet completes the electrical connection; the beneficial effects are: simple structure, high production efficiency, low cost, and constant contact resistance and temperature rise; multiple specifications can share a set of shell profile molds, and the arc-shaped contact sheet can According to different contact pairs, it is cut into various specifications, taking into account the welding process between the bottom of the arc-shaped contact piece and the flat-socket shell; after the arc-shaped contact piece is assembled with the flat-socket shell, there is a proper gap, which can automatically adjust the insertion force and can be used. It is suitable for oblique insertion of male plugs and larger male plugs, effectively avoiding electrical connection failure.
Description
技术领域technical field
本实用新型涉及连接器设计领域,尤其是涉及一种大电流扁形弧形接触式插孔。The utility model relates to the field of connector design, in particular to a large-current flat arc-shaped contact jack.
背景技术Background technique
电子连接器也常被称为电路连接器,电连接器,将一个回路上的两个导体桥接起来,使得电流或者讯号可以从一个导体流向另一个导体的导体设备。Electronic connectors are also often referred to as circuit connectors, electrical connectors, and bridges two conductors on a circuit so that current or signals can flow from one conductor to another conductor.
市面上的连接器存在如下缺陷:The connectors on the market have the following defects:
1、插孔内的接触结构采用:扭簧、转簧、弹片、线簧之中的任意一种,进而保证插头插入插孔后的稳定电性连接,由于这些连接器的插孔结构复杂,导致制造成本高,装配工序多,降低了连接器的生产效率,且电性连接的稳定性差异大,导致温升值变化大;1. The contact structure in the socket adopts any one of torsion spring, torsion spring, shrapnel, and wire spring to ensure a stable electrical connection after the plug is inserted into the socket. Due to the complex structure of these connectors, It leads to high manufacturing cost and many assembly processes, which reduces the production efficiency of the connector, and the stability of the electrical connection varies greatly, resulting in a large change in temperature rise;
2、插孔内的连接结构采用鱼鳞片结构,其簧片为手工组装,内孔容易发生变形,在插头插入插孔的尺寸配合上存在一定的间隙,簧片能够通过较大的配合间隙沿轴向滑动,导致连接器无法做到接触电阻和温升的恒定;2. The connection structure in the socket adopts fish scale structure. The reeds are assembled by hand, and the inner hole is easy to deform. There is a certain gap in the size matching of the plug inserted into the socket, and the reeds can pass through the large gap. Axial sliding makes the connector unable to achieve constant contact resistance and temperature rise;
3、连接器的插孔外套一般采用冲压件,冲压废料多,电性连接的接触件弹性较差。3. The jack jacket of the connector is generally made of stamping parts, and there are many stamping wastes, and the contact parts of the electrical connection have poor elasticity.
实用新型内容Utility model content
本实用新型为克服上述情况不足,提供了一种能解决上述问题的技术方案。In order to overcome the disadvantages of the above-mentioned situation, the utility model provides a technical solution capable of solving the above-mentioned problems.
一种大电流扁形弧形接触式插孔,包括扁插外壳、弧形接触片和公头插片,扁插外壳的上侧成型有扁插孔,扁插孔呈U型结构,弧形接触片呈冠带结构,弧形接触片固定安装在扁插孔内,公头插片间隙配合插入扁插孔设置,弧形接触片压在公头插片下端的外侧完成电性连接。A high-current flat arc-shaped contact jack, including a flat-insert housing, an arc-shaped contact piece, and a male plug-in piece. A flat jack is formed on the upper side of the flat-insert shell. The flat jack has a U-shaped structure and an arc-shaped contact. The blade is in the form of a crown band structure, the arc-shaped contact piece is fixedly installed in the flat socket, the gap between the male plug is inserted into the flat socket, and the arc-shaped contact piece is pressed on the outer side of the lower end of the male plug to complete the electrical connection.
作为本实用新型进一步的方案:扁插孔内的两端均成型有第一防脱边,弧形接触片的两端一一对应设置在第一防脱边的内侧。As a further solution of the present invention: both ends of the flat socket are formed with a first anti-off edge, and the two ends of the arc-shaped contact piece are arranged on the inner side of the first anti-off edge.
作为本实用新型进一步的方案:弧形接触片的两端均向外弯折成型有第二防脱边,第二防脱边一一对应设置在第一防脱边的内侧。As a further solution of the present invention: both ends of the arc-shaped contact piece are bent outward to form a second anti-off edge, and the second anti-off edge is arranged one by one on the inner side of the first anti-off edge.
作为本实用新型进一步的方案:弧形接触片的左右两侧均成型有若干个向内凹陷设置的弹性臂,公头插片下端的左右两侧一一对应通过若干个弹性臂压在弧形接触片内完成电性连接。As a further solution of the utility model: the left and right sides of the arc-shaped contact piece are formed with several elastic arms sunken inwards, and the left and right sides of the lower end of the male plug are pressed on the arc by several elastic arms one by one. The electrical connections are made within the contacts.
作为本实用新型进一步的方案:一种大电流扁形弧形接触式插孔可裁切成任意宽度。As a further solution of the utility model: a large-current flat arc-shaped contact jack can be cut into any width.
作为本实用新型进一步的方案:扁插孔内的两侧边沿均成型有倒斜角,公头插片通过两个倒斜角插入扁插孔设置。As a further solution of the utility model: the edges on both sides of the flat socket are formed with chamfered angles, and the male insert is inserted into the flat socket through the two chamfered angles.
作为本实用新型进一步的方案:弧形接触片的底部通过焊接工艺固定连接在扁插孔内的底侧。As a further solution of the present invention: the bottom of the arc-shaped contact piece is fixedly connected to the bottom side of the flat socket through a welding process.
作为本实用新型进一步的方案:弧形接触片的左右两侧间隙配合安装在扁插孔内。As a further solution of the utility model: the left and right sides of the arc-shaped contact sheet are installed in the flat socket with gap fit.
与现有技术相比,本实用新型的有益效果是:Compared with the prior art, the beneficial effects of the utility model are:
1、体积小,结构简单,有利于自动设备组装,效率高成本低,可以做到接触电阻和温升的恒定;1. Small size, simple structure, which is conducive to automatic equipment assembly, high efficiency and low cost, and can achieve constant contact resistance and temperature rise;
2、多种规格可以共用一套外壳型材模具,弧形接触片可以根据不同接触对切成多种规格,兼顾弧形接触片底部与扁插外壳之间的焊接工艺;2. Multiple specifications can share a set of shell profile molds, and the arc-shaped contact piece can be cut into various specifications according to different contact pairs, taking into account the welding process between the bottom of the arc-shaped contact piece and the flat insert shell;
3、插拔力小,弧形接触片在与扁插外壳组装后留有适当间隙,可以自动调节插拔力,可适用于公头插片斜插以及尺寸较大的公头插片,有效避免电性连接失效。3. The insertion and withdrawal force is small, and the arc-shaped contact piece has a proper gap after being assembled with the flat plug housing, and the insertion and withdrawal force can be automatically adjusted. It is suitable for oblique insertion of male plugs and larger-sized male plugs, effectively Avoid electrical connection failure.
本实用新型的附加方面和优点将在下面的描述中部分给出,部分将从下面的描述中变得明显,或通过本实用新型的实践了解到。Additional aspects and advantages of the invention will be set forth in the description which follows, and in part will be obvious from the description, or may be learned by practice of the invention.
附图说明Description of drawings
为了更清楚地说明本实用新型实施例或现有技术中的技术方案,下面将对实施例或现有技术描述中所需要使用的附图作简单地介绍,显而易见地,下面描述中的附图仅仅是本实用新型的一些实施例,对于本领域普通技术人员来讲,在不付出创造性劳动性的前提下,还可以根据这些附图获得其他的附图。In order to more clearly illustrate the technical solutions in the embodiments of the present invention or the prior art, the following will briefly introduce the accompanying drawings that need to be used in the description of the embodiments or the prior art. Obviously, the accompanying drawings in the following description These are only some embodiments of the utility model, and those skilled in the art can also obtain other drawings according to these drawings without any creative effort.
图1是本实用新型的结构示意图;Fig. 1 is the structural representation of the utility model;
图2是扁插外壳和弧形接触片的主视结构示意图;Figure 2 is a schematic diagram of the front view of the flat plug housing and the arc-shaped contact piece;
图3是图2的A处放大结构示意图;Fig. 3 is a schematic diagram of an enlarged structure at A in Fig. 2;
图4是扁插外壳和弧形接触片的俯视结构示意图;Fig. 4 is a top view structural schematic diagram of the flat plug housing and the arc-shaped contact piece;
图5是弧形接触片和公头插片的结构示意图。Fig. 5 is a structural schematic diagram of the arc-shaped contact piece and the male plug piece.
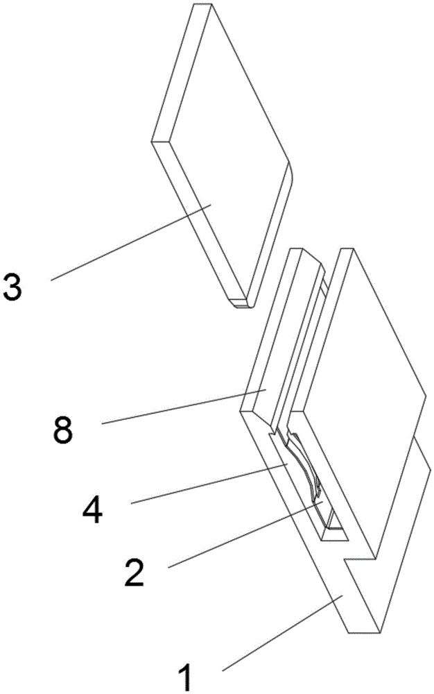
图中所示:1、扁插外壳;2、弧形接触片;3、公头插片;4、扁插孔;5、第一防脱边;6、第二防脱边;7、弹性臂;8、倒斜角。As shown in the figure: 1. Flat plug shell; 2. Curved contact piece; 3. Male plug piece; 4. Flat socket; 5. The first anti-off edge; 6. The second anti-off edge; 7. Elasticity arm; 8, chamfer.
具体实施方式Detailed ways
下面将结合附图对本实用新型的技术方案进行清楚、完整地描述,显然,所描述的实施例是本实用新型一部分实施例,而不是全部的实施例。The technical solutions of the utility model will be clearly and completely described below in conjunction with the accompanying drawings. Apparently, the described embodiments are part of the embodiments of the utility model, but not all of them.
通常在此处附图中描述和显示出的本实用新型实施例的组件可以以各种不同的配置来布置和设计。因此,以下对在附图中提供的本实用新型的实施例的详细描述并非旨在限制要求保护的本实用新型的范围,而是仅仅表示本实用新型的选定实施例。The components of the embodiments of the invention generally described and shown in the figures herein may be arranged and designed in a variety of different configurations. Therefore, the following detailed description of the embodiments of the present invention provided in the accompanying drawings is not intended to limit the scope of the claimed invention, but merely represents selected embodiments of the present invention.
基于本实用新型中的实施例,本领域普通技术人员在没有做出创造性劳动前提下所获得的所有其他实施例,都属于本实用新型保护的范围。Based on the embodiments of the present utility model, all other embodiments obtained by persons of ordinary skill in the art without making creative efforts belong to the scope of protection of the present utility model.
在本实用新型的描述中,需要说明的是,术语“中心”、“上”、“下”、“左”、“右”、“竖直”、“水平”、“内”、“外”等指示的方位或位置关系为基于附图所示的方位或位置关系,仅是为了便于描述本实用新型和简化描述,而不是指示或暗示所指的装置或元件必须具有特定的方位、以特定的方位构造和操作,因此不能理解为对本实用新型的限制。此外,术语“第一”、“第二”、“第三”仅用于描述目的,而不能理解为指示或暗示相对重要性。In the description of the present utility model, it should be noted that the terms "center", "upper", "lower", "left", "right", "vertical", "horizontal", "inner", "outer" The orientation or positional relationship indicated by etc. is based on the orientation or positional relationship shown in the drawings, which is only for the convenience of describing the utility model and simplifying the description, rather than indicating or implying that the device or element referred to must have a specific orientation, use a specific The azimuth structure and operation, therefore can not be construed as the limitation of the present utility model. In addition, the terms "first", "second", and "third" are used for descriptive purposes only, and should not be construed as indicating or implying relative importance.
在本实用新型的描述中,需要说明的是,除非另有明确的规定和限定,术语“安装”、“相连”、“连接”应做广义理解,例如,可以是固定连接,也可以是可拆卸连接,或一体地连接;可以是机械连接,也可以是电连接;可以是直接相连,也可以通过中间媒介间接相连,可以是两个元件内部的连通。对于本领域的普通技术人员而言,可以具体情况理解上述术语在本实用新型中的具体含义。In the description of the present utility model, it should be noted that, unless otherwise clearly stipulated and limited, the terms "installation", "connection" and "connection" should be understood in a broad sense, for example, it can be a fixed connection or a flexible connection. Detachable connection, or integral connection; it can be mechanical connection or electrical connection; it can be direct connection or indirect connection through an intermediary, and it can be the internal communication of two components. Those of ordinary skill in the art can understand the specific meanings of the above terms in the present utility model in specific situations.
如图1-5所示,本实用新型的一种大电流扁形弧形接触式插孔,包括扁插外壳1、弧形接触片2和公头插片3,扁插外壳1的上侧成型有扁插孔4,扁插孔4呈U型结构,弧形接触片2呈冠带结构,弧形接触片2固定安装在扁插孔4内,公头插片3间隙配合插入扁插孔4设置,弧形接触片2压在公头插片3下端的外侧完成电性连接;As shown in Figure 1-5, a large current flat arc-shaped contact jack of the utility model includes a
其原理是:公头插片3插入扁插孔4后,弧形接触片压住公头插片3完成电性连接,由于扁插孔4为U型结构,公头插片3插入时扁插孔4能够向外扩张并弹性复原,使得弧形接触片2能够稳定的压住公头插片3的两侧,且弧形接触片2为冠带结构,电性连接更加稳定;扁插孔4结构简单,通过与弧形接触片2的配合完成与公头插片3的电性连接,具有装配效率高,成本费用低的优势,且弧形接触片2固定在扁插孔4内,公头插片3插拔时弧形接触片2不会在扁插孔4内移动,保证电性连接的稳定性,可以做到接触电阻和温升值的恒定。The principle is: after the
作为本实用新型进一步的方案:扁插孔4内的两端均成型有第一防脱边5,弧形接触片2的两端一一对应设置在第一防脱边5的内侧;能够防止弧形接触片2脱出扁插孔4,保证弧形接触片2在扁插孔4内的稳定安装。As a further solution of the utility model: both ends in the
作为本实用新型进一步的方案:弧形接触片2的两端均向外弯折成型有第二防脱边6,第二防脱边6一一对应设置在第一防脱边5的内侧;能够保证弧形接触片2在扁插孔4内的稳定安装,公头插片3插入后与弧形接触片2的电性连接更加稳定。As a further solution of the utility model: both ends of the arc-shaped
作为本实用新型进一步的方案:弧形接触片2的左右两侧均成型有若干个向内凹陷设置的弹性臂7,公头插片3下端的左右两侧一一对应通过若干个弹性臂7压在弧形接触片2内完成电性连接;能够确保电性连接的稳定性。As a further solution of the utility model: the left and right sides of the arc-shaped
作为本实用新型进一步的方案:一种大电流扁形弧形接触式插孔可裁切成任意宽度;可以根据连接器的空间进行裁切;公头插片3和弧形接触片2根据负载的大小,确定接触对数后再进行裁切,大大提高了产品的使用率,可实现多规格的连接器产品,适用于不同场合。As a further solution of the utility model: a large current flat arc-shaped contact jack can be cut to any width; it can be cut according to the space of the connector; the
作为本实用新型进一步的方案:扁插孔4内的两侧边沿均成型有倒斜角8,公头插片3通过两个倒斜角8插入扁插孔4设置;能够方便于公头插片3插入到扁插孔4内。As a further solution of the utility model: both sides of the
作为本实用新型进一步的方案:弧形接触片2的底部通过焊接工艺固定连接在扁插孔4内的底侧;可兼容激光焊接,增强了弧形接触片2在扁插孔4内安装的稳定程度,可靠性提高。As a further solution of the utility model: the bottom of the arc-shaped
作为本实用新型进一步的方案:弧形接触片2的左右两侧间隙配合安装在扁插孔4内;组装完成后,弧形接触片2与扁插孔4留有适当间隙,该间隙可以自动调节公头插片3的插拔力,让公头插片3能够斜向插入到弧形接触片2内完成电性连接,同时可适用于尺寸较大的公头插片3,能够有效避免电性连接失效。As a further solution of the utility model: the left and right sides of the arc-shaped
本实用新型具有以下优势:The utility model has the following advantages:
1、将冠带结构的弧形接触片2装配在扁插孔4内,弧形接触片2安装完成后将连接器Socket装入塑胶壳体完成连接器的批量生产;1. Assemble the arc-shaped
2、弧形接触片2为冠带结构,弧形接触片2的弹性臂7左右对称,提高了装配效率和导电性能,扁插孔4内的两端具有防脱结构,同时兼容激光焊接,增强了扁插孔4的可靠性;2. The arc-shaped
3、扁插外壳1采用型材,可以根据连接器的空间进行任意裁切;公头插片3和弧形接触片2可根据负载大小,确定接触对数后进行裁切,可实现多规格的连接器产品,适用于不同场合。3. The
本实施例并非对本实用新型的形状、材料、结构等作任何形式上的限制,凡是依据本实用新型的技术实质对以上实施例所作的任何简单修改、等同变化与修饰,均属于本实用新型技术方案的保护范围。This embodiment does not impose any formal restrictions on the shape, material, structure, etc. of the utility model. Any simple modifications, equivalent changes and modifications made to the above embodiments according to the technical essence of the utility model belong to the technology of the utility model. protection scope of the program.
Claims (8)
Priority Applications (1)
| Application Number | Priority Date | Filing Date | Title |
|---|---|---|---|
| CN202222469236.2U CN218415090U (en) | 2022-09-16 | 2022-09-16 | Large-current flat arc-shaped contact jack |
Applications Claiming Priority (1)
| Application Number | Priority Date | Filing Date | Title |
|---|---|---|---|
| CN202222469236.2U CN218415090U (en) | 2022-09-16 | 2022-09-16 | Large-current flat arc-shaped contact jack |
Publications (1)
| Publication Number | Publication Date |
|---|---|
| CN218415090U true CN218415090U (en) | 2023-01-31 |
Family
ID=85031842
Family Applications (1)
| Application Number | Title | Priority Date | Filing Date |
|---|---|---|---|
| CN202222469236.2U Active CN218415090U (en) | 2022-09-16 | 2022-09-16 | Large-current flat arc-shaped contact jack |
Country Status (1)
| Country | Link |
|---|---|
| CN (1) | CN218415090U (en) |
-
2022
- 2022-09-16 CN CN202222469236.2U patent/CN218415090U/en active Active
Similar Documents
| Publication | Publication Date | Title |
|---|---|---|
| WO2020215742A1 (en) | Floating-type receptacle with self-return function and coaxial connector comprising same | |
| CN209374710U (en) | A kind of automobile terminal electric connector | |
| CN209860211U (en) | Floating Board-to-Board Female Connector | |
| CN209298388U (en) | A kind of straight crimp type power signal hybrid junctioin female end | |
| CN218415090U (en) | Large-current flat arc-shaped contact jack | |
| CN203491442U (en) | Bidirectional-insertion USB socket | |
| CN211556211U (en) | Fisheye terminal | |
| CN218569283U (en) | Spring piece type wiring terminal | |
| CN201562777U (en) | Electric connector with locking mechanism | |
| CN204966724U (en) | IDC male connector | |
| CN108511936A (en) | Side-standing connector | |
| CN210296757U (en) | Board is to board connecting terminal structure that floats | |
| CN209766685U (en) | electrical connector | |
| CN201498808U (en) | Electrical connector | |
| CN209389260U (en) | power connector | |
| CN202167642U (en) | electrical connector | |
| CN221226604U (en) | Hot plug rubber seat | |
| CN217769012U (en) | Board-to-board connector | |
| CN221885549U (en) | Charger connector female seat | |
| CN223297065U (en) | A board-to-board connector and PCB assembly | |
| CN220138743U (en) | Connector female end for efficient power supply and signal transmission of graphene application | |
| CN219267943U (en) | Multidirectional contact terminal reed | |
| CN223390805U (en) | Crimp terminal and crimp connector | |
| CN223743946U (en) | A connector terminal | |
| CN215732423U (en) | Arc-shaped deformation prevention structure of strip-shaped connector |
Legal Events
| Date | Code | Title | Description |
|---|---|---|---|
| GR01 | Patent grant | ||
| GR01 | Patent grant |
