CN218153747U - 一种新型防水灯泡 - Google Patents
一种新型防水灯泡 Download PDFInfo
- Publication number
- CN218153747U CN218153747U CN202222812911.7U CN202222812911U CN218153747U CN 218153747 U CN218153747 U CN 218153747U CN 202222812911 U CN202222812911 U CN 202222812911U CN 218153747 U CN218153747 U CN 218153747U
- Authority
- CN
- China
- Prior art keywords
- waterproof
- bulb
- guide column
- light guide
- lamp holder
- Prior art date
- Legal status (The legal status is an assumption and is not a legal conclusion. Google has not performed a legal analysis and makes no representation as to the accuracy of the status listed.)
- Active
Links
- 239000003292 glue Substances 0.000 claims abstract description 11
- 238000009434 installation Methods 0.000 claims abstract description 9
- 238000007789 sealing Methods 0.000 claims description 3
- 230000000694 effects Effects 0.000 abstract description 5
- 230000009977 dual effect Effects 0.000 abstract description 2
- 241000271510 Agkistrodon contortrix Species 0.000 description 3
- 238000010586 diagram Methods 0.000 description 2
- 230000001771 impaired effect Effects 0.000 description 1
- 238000004519 manufacturing process Methods 0.000 description 1
- 238000000034 method Methods 0.000 description 1
- 230000001681 protective effect Effects 0.000 description 1
- XLYOFNOQVPJJNP-UHFFFAOYSA-N water Substances O XLYOFNOQVPJJNP-UHFFFAOYSA-N 0.000 description 1
Images
Landscapes
- Arrangement Of Elements, Cooling, Sealing, Or The Like Of Lighting Devices (AREA)
- Fastening Of Light Sources Or Lamp Holders (AREA)
Abstract
本实用新型公开了一种新型防水灯泡,其包括灯头、导光柱、防水环、防水胶塞、发光光源、灯泡外罩,发光光源配装有导光柱,导光柱芯部开设朝上开口的光源安装腔室,发光光源嵌装于光源安装腔室内,发光光源顶部注入防水胶,发光光源的正、负极引脚分别穿过防水胶延伸至光源安装腔室外;防水环嵌装于导光柱开口端外部的凹槽内,导光柱的上端部卡固于灯头与灯泡外罩之间,灯头紧固于灯泡外罩的上端部;灯头设置有正、负极接电部,发光光源的正、负极引脚分别与灯头的正、负极接电部触接并电性导通。该新型防水灯泡在结构上增加了防水环和防水胶塞,使灯泡具有双重防水效果、结构稳定、使用寿命更长的优点。
Description
技术领域
本实用新型涉及灯泡技术领域,尤其涉及一种新型防水灯泡。
背景技术
现在灯泡内部的防水结构复杂,制造成本高,且防水效果较差。使用过程中,因环境、气候、雨水等原因,导致灯泡内部进水,影响灯泡发光效果,更严重的是使电路短路,危害使用安全。
实用新型内容
本实用新型的目的在于针对现有技术的不足,提供一种新型防水灯泡,该新型防水灯泡具有设计新颖、发光效果好、防水性能好的优点。
为达到上述目的,本实用新型通过以下技术方案来实现。
一种新型防水灯泡,包括灯头、导光柱、防水环、防水胶塞、发光光源、灯泡外罩,发光光源装于导光柱内腔,导光柱内腔注入防水胶,形成防水胶塞密封导光柱,防水环嵌装于导光柱开口端外部的凹槽内,导光柱的上端部卡固于灯头与灯泡外罩连接部之间,灯头紧固于灯泡外罩的上端部。
作为一种优选方案,所述发光光源装于导光柱内腔,导光柱内腔注入防水胶密封,发光光源的正、负极引脚分别穿过防水胶延伸至光源安装腔室开口外与灯头电性触接。
作为一种优选方案,所述导光柱的上端部设置有卡固挡肩,且导光柱的卡固挡肩卡固于灯泡外罩连接部与灯头之间;导光柱开口端外部开设有装置防水环的凹槽,防水环装于凹槽内。
作为一种优选方案,所述灯泡外罩的上端部设置有外罩连接部,灯头容置腔的内壁设置有内螺纹,外罩连接部的外圆周面设置有外螺纹,灯泡的外罩连接部嵌入至灯头容置腔内,灯泡外罩的外螺纹与接电铜头的内螺纹相螺接;
作为一种优选方案,所述灯头的外侧设置有外螺纹,所述外螺纹用于与外部灯座连接。
本实用新型的有益效果为:本实用新型所述的一种新型防水灯泡,在结构上增加了防水圈和防水胶塞,双重防水保障,使防水效果进一步提升,结构更加稳定,延长在湿度较大环境的使用寿命。
附图说明
下面利用附图来对本实用新型进行进一步的说明,但是附图中的实施例不构成对本实用新型的任何限制。
图1为本实用新型的剖视图。
图2为本实用新型的结构示意图。
图3为本实用新型的另一实施方式的结构示意图。
图4为本实用新型的导光柱另一实施方式的结构示意图。
图5为本实用新型的导光柱又一实施方式的结构示意图。
图6为本实用新型的灯泡外罩另一实施方式的结构示意图。
图7为本实用新型的灯泡外罩又一实施方式的结构示意图。
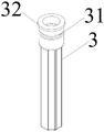
在图1至图7中包括有:
1——灯头 2——发光光源
21——电阻 3——导光柱
31——凹槽 32——卡固挡肩
4——防水环 5——灯泡外罩
51——外罩连接部 6——防水胶塞。
具体实施方式
下面结合具体的实施方式来对本实用新型进行说明。
如图1至图7所示,一种新型防水灯泡,灯头1、导光柱3、防水环4、防水胶塞6、发光光源2、灯泡外罩5,所述导光柱3朝上开口端外侧设置有凹槽31,防水环4嵌装于凹槽31内,发光光源2配装有导光柱3,导光柱3的芯部开设有朝上开口的光源安装腔室,发光光源2嵌装于导光柱3的光源安装腔室内,在安装腔室内注入防水胶,形成防水胶塞6,将导光柱3密封,发光光源2设置有正、负极引脚,正、负极引脚分别朝上穿过防水胶塞6伸出导光柱3的光源安装腔室的上端开口,发光光源2的正、负极引脚与接电铜头的接电部触接并电性导通。
具体的,防水环4嵌装于导光柱3开口端外部的凹槽31内,发光光源2装于导光柱3内腔,导光柱3内腔注入防水胶,形成防水胶塞6,将导光柱3密封,导光柱3的上端部设置有卡固挡肩32,卡固于灯头1与灯泡外罩5连接部之间,灯头1紧固于灯泡外罩5的上端部。特别的,根据灯泡的实际应用需要,可在发光光源2的一引脚设置电阻21,发光光源2装于导光柱3内腔,导光柱3内腔注入防水胶,形成防水胶塞6,电阻21密封于防水胶塞内部,既可以保护电阻21不受损又可以达到防水效果。
所述灯泡外罩5的上端部设置有外罩连接部51,灯头1容置腔的内壁设置有内螺纹,外罩连接部51的外圆周面设置有外螺纹,灯泡的外罩连接部51嵌入至灯头1容置腔内,灯泡外罩5的外螺纹与接电铜头的内螺纹相螺接;灯头1的外侧设置有外螺纹,所述外螺纹用于与外部灯座连接。
需要声明的是,以上内容仅为本实用新型的较佳实施例,对于本领域的普通技术人员,依据本实用新型的思想,在具体实施方式及应用范围上均会有改变之处,都应涵盖在本实用新型的保护范围内。
Claims (5)
1.一种新型防水灯泡,包括灯头、导光柱、防水环、防水胶塞、发光光源、灯泡外罩,其特征在于:发光光源装于导光柱内腔,导光柱内腔注入防水胶,形成防水胶塞密封导光柱,防水环嵌装于导光柱开口端外部的凹槽内,导光柱的上端部卡固于灯头与灯泡外罩连接部之间,灯头紧固于灯泡外罩的上端部。
2.根据权利要求1所述的一种新型防水灯泡,其特征在于:所述发光光源装于导光柱内腔,导光柱内腔注入防水胶密封,发光光源的正、负极引脚分别穿过防水胶延伸至光源安装腔室外与灯头电性触接。
3.根据权利要求2所述的一种新型防水灯泡,其特征在于:所述灯泡外罩连接部的外螺纹对应所述发光光源引脚开设有避空缺口。
4.根据权利要求1所述的一种新型防水灯泡,其特征在于:所述导光柱开口端外部开设有装置防水环的凹槽,防水环嵌装于凹槽内,导光柱的上端部设置有卡固挡肩,且导光柱的卡固挡肩卡固于灯泡外罩连接部与灯头之间。
5.根据权利要求1所述的一种新型防水灯泡,其特征在于:所述灯头的外侧设置有外螺纹,所述外螺纹用于与外部灯座连接。
Priority Applications (1)
| Application Number | Priority Date | Filing Date | Title |
|---|---|---|---|
| CN202222812911.7U CN218153747U (zh) | 2022-10-25 | 2022-10-25 | 一种新型防水灯泡 |
Applications Claiming Priority (1)
| Application Number | Priority Date | Filing Date | Title |
|---|---|---|---|
| CN202222812911.7U CN218153747U (zh) | 2022-10-25 | 2022-10-25 | 一种新型防水灯泡 |
Publications (1)
| Publication Number | Publication Date |
|---|---|
| CN218153747U true CN218153747U (zh) | 2022-12-27 |
Family
ID=84570699
Family Applications (1)
| Application Number | Title | Priority Date | Filing Date |
|---|---|---|---|
| CN202222812911.7U Active CN218153747U (zh) | 2022-10-25 | 2022-10-25 | 一种新型防水灯泡 |
Country Status (1)
| Country | Link |
|---|---|
| CN (1) | CN218153747U (zh) |
-
2022
- 2022-10-25 CN CN202222812911.7U patent/CN218153747U/zh active Active
Similar Documents
| Publication | Publication Date | Title |
|---|---|---|
| CN114183700A (zh) | 一种无需传统灯头的高防水高绝缘简易胶体灯泡 | |
| CN209762758U (zh) | 一种贴片led灯泡 | |
| US11703215B2 (en) | Sealed isolation type waterproof LED lamp bulb | |
| CN112815239A (zh) | 防水灯泡 | |
| US11477899B2 (en) | Vertical multi-function driving power | |
| US11920742B1 (en) | Bulb structure | |
| CN218153747U (zh) | 一种新型防水灯泡 | |
| CN201069112Y (zh) | 一种用于灯串的灯头 | |
| US12359801B1 (en) | Light string with waterproof structure | |
| US12234954B2 (en) | LED lamp structure | |
| CN201638796U (zh) | 卡口灯头 | |
| CN214198212U (zh) | 防水灯泡 | |
| CN218209418U (zh) | 一种灯头结构及灯具 | |
| CN215294639U (zh) | 一种便于自动化生产的防水条形灯 | |
| CN213119011U (zh) | 一种防尘防水的Led灯照明装置 | |
| CN214580582U (zh) | 一种带外接导线的防水灯具 | |
| CN218001202U (zh) | 一种新式灯泡结构 | |
| CN218671866U (zh) | 一种结构改良的灯泡 | |
| CN215259692U (zh) | 一种符合zhaga结构规范的保护帽 | |
| CN212156684U (zh) | 一种高密封防水led灯珠 | |
| CN207302544U (zh) | 一种注塑发光字防水结构 | |
| CN216563654U (zh) | 一种电源适配器用防尘式导电端子 | |
| CN220911406U (zh) | 一种户外防水灯泡 | |
| CN220688806U (zh) | 一种led灯具的防水密封结构 | |
| CN211902516U (zh) | 一种带独立接线腔的led防爆照明灯 |
Legal Events
| Date | Code | Title | Description |
|---|---|---|---|
| GR01 | Patent grant | ||
| GR01 | Patent grant |