CN218137673U - Pipeline mounting structure for fire-fighting equipment engineering - Google Patents
Pipeline mounting structure for fire-fighting equipment engineering Download PDFInfo
- Publication number
- CN218137673U CN218137673U CN202222719108.9U CN202222719108U CN218137673U CN 218137673 U CN218137673 U CN 218137673U CN 202222719108 U CN202222719108 U CN 202222719108U CN 218137673 U CN218137673 U CN 218137673U
- Authority
- CN
- China
- Prior art keywords
- installation structure
- fighting equipment
- base
- clamping plate
- center
- Prior art date
- Legal status (The legal status is an assumption and is not a legal conclusion. Google has not performed a legal analysis and makes no representation as to the accuracy of the status listed.)
- Expired - Fee Related
Links
Images
Landscapes
- Clamps And Clips (AREA)
Abstract
本实用新型公开了一种消防设施工程用管道安装结构,包括底座,所述底座的顶部固定安装有支撑台,所述支撑台的顶部固定安装有框架,所述底座顶部的靠两侧位置与框架内壁顶部的靠两侧位置均开设有滑槽,所述支撑台顶部的中心固定安装有放置座。该消防设施工程用管道安装结构,通过滑槽、活动板、滑块、第一夹持板、螺杆、第二夹持板、蜗杆、螺纹杆、转动杆和涡轮的互相配合,在对管道进行安装的过程中,通过旋转转动杆使涡轮带动蜗杆转动,从而使两个第一夹持板同时相对移动,进而使两个第一夹持板对管道的两侧进行压紧,再通过转动螺杆可使顶部的第二夹持板对管道的顶部压紧限位,安装过程快速且便捷,有效的保证了管道在安装后的稳固性。
The utility model discloses a pipe installation structure for fire-fighting facility engineering, which comprises a base, a support platform is fixedly installed on the top of the base, a frame is fixedly installed on the top of the support platform, and the positions on both sides of the top of the base are in line with the Both sides of the top of the inner wall of the frame are provided with slide grooves, and the center of the top of the support platform is fixedly equipped with a placement seat. The pipe installation structure used in the fire protection facility project, through the mutual cooperation of the chute, the movable plate, the slider, the first clamping plate, the screw, the second clamping plate, the worm, the threaded rod, the rotating rod and the turbine, is used to carry out the pipeline installation. During the installation process, the turbine drives the worm to rotate by rotating the rotating rod, so that the two first clamping plates move relatively at the same time, and then the two first clamping plates press the two sides of the pipe, and then rotate the screw The second clamping plate on the top can be pressed and limited to the top of the pipe, the installation process is fast and convenient, and the stability of the pipe after installation is effectively guaranteed.
Description
技术领域technical field
本实用新型涉及管道安装技术领域,具体为一种消防设施工程用管道安装结构。The utility model relates to the technical field of pipeline installation, in particular to a pipeline installation structure for fire-fighting facility engineering.
背景技术Background technique
消防工程设施是我们生活中的重要组成部分,特别是在人口密集的城市发生消防隐患的可能性更大,消防设施和工程的设计对于以后的使用有重要影响,消防工程设施包括对管道进行安装。Fire engineering facilities are an important part of our lives, especially in densely populated cities, the possibility of fire hazards is greater. The design of fire facilities and engineering has an important impact on future use. Fire engineering facilities include the installation of pipelines .
例如公告号为CN217003421U的中国授权专利(一种消防设施工程用管道安装结构)该消防设施工程用管道安装结构,将定位件插入固定梁中,利用定位件对管道进行放置,并通过螺杆调节活动梁的位置,使得活动梁下移将管道压紧在定位件上,如此完成固定,安装简单,且位置调节方便,可快速完成安装,节约时间,然而,在对管道进行安装时,只能对管道的顶部进行压紧固定,并不能对管道的两侧进行固定,从而降低了管道在安装后的稳定性,无法满足市场需求。For example, the Chinese authorized patent (a kind of pipeline installation structure for fire-fighting facilities engineering) whose notification number is CN217003421U uses the pipeline installation structure for fire-fighting facilities engineering. The position of the beam makes the movable beam move down to press the pipe on the positioning piece, so that the fixing is completed, the installation is simple, and the position is convenient to adjust, which can quickly complete the installation and save time. However, when installing the pipe, only the The top of the pipeline is compressed and fixed, but the two sides of the pipeline cannot be fixed, thereby reducing the stability of the pipeline after installation and failing to meet market demand.
实用新型内容Utility model content
本实用新型的目的在于提供一种消防设施工程用管道安装结构,以解决上述背景技术中提出在对管道进行安装时,只能对管道的顶部进行压紧固定,并不能对管道的两侧进行固定,从而降低了管道在安装后的稳定性,无法满足市场需求的问题。The purpose of this utility model is to provide a pipeline installation structure for fire-fighting facilities engineering to solve the above-mentioned background technology when installing pipelines, only the top of the pipeline can be pressed and fixed, and the two sides of the pipeline cannot be fixed. Fixed, which reduces the stability of the pipeline after installation and cannot meet the market demand.
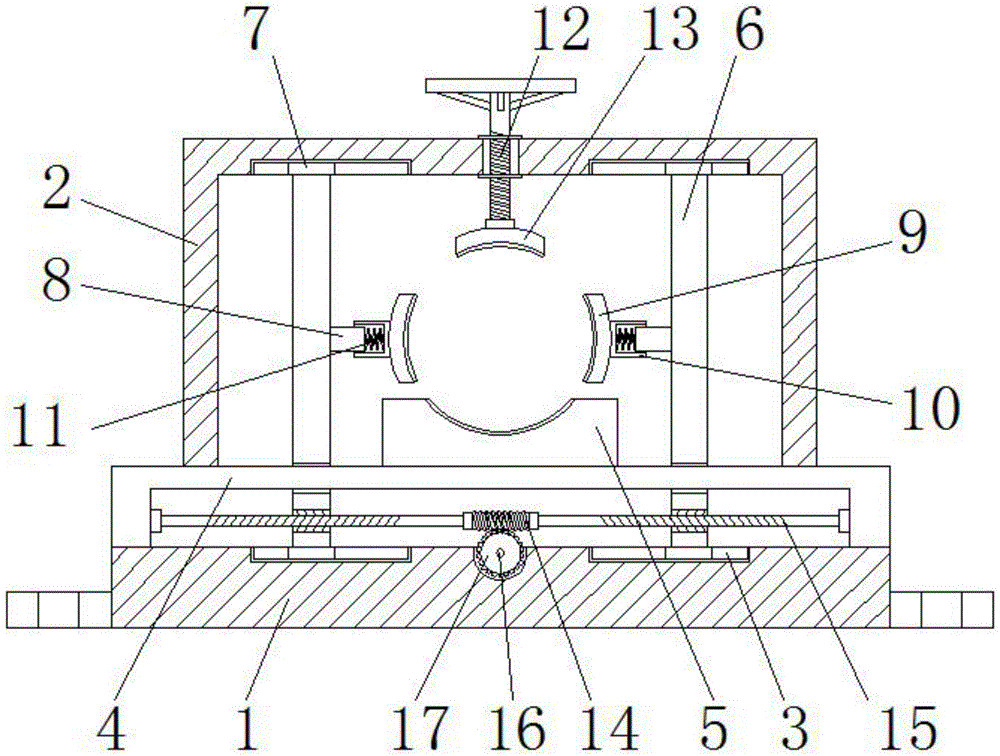
为实现上述目的,本实用新型提供如下技术方案:一种消防设施工程用管道安装结构,包括底座,所述底座的顶部固定安装有支撑台,所述支撑台的顶部固定安装有框架,所述底座顶部的靠两侧位置与框架内壁顶部的靠两侧位置均开设有滑槽,所述支撑台顶部的中心固定安装有放置座,所述支撑台内的中心设置有螺纹杆,所述螺纹杆表面的中心固定安装有蜗杆,所述螺纹杆表面的靠两侧位置均螺纹连接有活动板,两个活动板的顶部和底部均固定安装有滑块,两个活动板相对一侧的靠中心位置均固定连接有连接杆,两个连接杆相对的一侧均设置有缓冲套筒,所述缓冲套筒内的一侧固定连接有弹簧,两个缓冲套筒相对的一侧均固定安装有第一夹持板,所述框架顶部的中心螺纹连接有螺杆,所述螺杆的底部贯穿至框架的外部,所述螺杆的底部设置有第二夹持板,所述底座顶部的中心开设有弧形槽,弧形槽的内部设置有转动杆,所述转动杆的后部与弧形槽内壁后表面固定安装的轴承活动连接,所述转动杆的表面对应蜗杆的底部固定安装有涡轮,所述涡轮的顶部贯穿至弧形槽的外部并与蜗杆的底部啮合。In order to achieve the above purpose, the utility model provides the following technical solutions: a pipe installation structure for fire protection facilities engineering, including a base, a support platform is fixedly installed on the top of the base, a frame is fixedly installed on the top of the support platform, the Both sides of the top of the base and the top of the inner wall of the frame are provided with chutes, the center of the top of the support platform is fixedly installed with a placement seat, and the center of the support platform is provided with a threaded rod. The center of the rod surface is fixedly equipped with a worm screw, and the positions on both sides of the threaded rod surface are screwed with movable plates, the top and bottom of the two movable plates are fixedly installed with sliders, and the two movable plates are fixed on the opposite side. The center positions are fixedly connected with connecting rods, and the opposite sides of the two connecting rods are provided with buffer sleeves, one side of the buffer sleeves is fixedly connected with springs, and the opposite sides of the two buffer sleeves are fixedly installed There is a first clamping plate, the center of the top of the frame is screwed with a screw, the bottom of the screw penetrates to the outside of the frame, the bottom of the screw is provided with a second clamping plate, and the center of the top of the base is provided with a Arc-shaped groove, the interior of the arc-shaped groove is provided with a rotating rod, the rear part of the rotating rod is movably connected with the bearing fixedly installed on the rear surface of the inner wall of the arc-shaped groove, and the surface of the rotating rod is fixedly installed with a turbine corresponding to the bottom of the worm, The top of the worm wheel penetrates to the outside of the arc groove and engages with the bottom of the worm.
与现有技术相比,本实用新型的有益效果是:Compared with the prior art, the beneficial effects of the utility model are:
该消防设施工程用管道安装结构,通过滑槽、活动板、滑块、第一夹持板、螺杆、第二夹持板、蜗杆、螺纹杆、转动杆和涡轮的互相配合,在对管道进行安装的过程中,通过旋转转动杆使涡轮带动蜗杆转动,从而使两个第一夹持板同时相对移动,进而使两个第一夹持板对管道的两侧进行压紧,再通过转动螺杆可使顶部的第二夹持板对管道的顶部压紧限位,安装过程快速且便捷,有效的保证了管道在安装后的稳固性,缓冲套筒、弹簧和连接杆的互相配合,两个第一夹持板对管道进行夹持的过程中,可对管道在受力时起到缓冲的作用,避免对管道夹持的过程中使管受损,满足了市场需求。The pipe installation structure used in the fire protection facility project, through the mutual cooperation of the chute, the movable plate, the slider, the first clamping plate, the screw, the second clamping plate, the worm, the threaded rod, the rotating rod and the turbine, is used to carry out the pipeline installation. During the installation process, the turbine drives the worm to rotate by rotating the rotating rod, so that the two first clamping plates move relatively at the same time, and then the two first clamping plates press the two sides of the pipe, and then rotate the screw The second clamping plate on the top can press and limit the top of the pipe. The installation process is fast and convenient, which effectively ensures the stability of the pipe after installation. The mutual cooperation of the buffer sleeve, the spring and the connecting rod, the two When the first clamping plate clamps the pipeline, it can buffer the pipeline when it is stressed, avoiding damage to the pipeline during the clamping process, which meets the market demand.
附图说明Description of drawings
图1为本实用新型结构示意图;Fig. 1 is the structural representation of the utility model;
图2为本实用新型底座的结构俯视图;Fig. 2 is the top view of the structure of the base of the utility model;
图3为本实用新型结构主视图;Fig. 3 is a front view of the structure of the utility model;
图4为本实用新型活动板的结构立体图。Fig. 4 is a perspective view of the structure of the movable plate of the present invention.
图中:1、底座;2、框架;3、滑槽;4、支撑台;5、放置座;6、活动板;7、滑块;8、连接杆;9、第一夹持板;10、缓冲套筒;11、弹簧;12、螺杆;13、第二夹持板;14、蜗杆;15、螺纹杆;16、转动杆;17、涡轮;18、把手。In the figure: 1. base; 2. frame; 3. chute; 4. support platform; 5. placement seat; 6. movable plate; 7. slider; 8. connecting rod; 1, the buffer sleeve; 11, the spring; 12, the screw; 13, the second clamping plate; 14, the worm; 15, the threaded rod; 16, the rotating rod; 17, the turbine; 18, the handle.
具体实施方式detailed description
下面将结合本实用新型实施例中的附图,对本实用新型实施例中的技术方案进行清楚、完整地描述,显然,所描述的实施例仅仅是本实用新型一部分实施例,而不是全部的实施例。基于本实用新型中的实施例,本领域普通技术人员在没有做出创造性劳动前提下所获得的所有其他实施例,都属于本实用新型保护的范围。The technical solutions in the embodiments of the present invention will be clearly and completely described below in conjunction with the accompanying drawings in the embodiments of the present invention. Obviously, the described embodiments are only part of the embodiments of the present invention, not all of them. example. Based on the embodiments of the present utility model, all other embodiments obtained by persons of ordinary skill in the art without making creative efforts belong to the scope of protection of the present utility model.
请参阅图1-4,本实用新型提供一种技术方案:一种消防设施工程用管道安装结构,螺纹杆15的两端分别与支撑台4内壁两侧中心固定安装的轴承活动连接,螺纹杆15表面的两侧分别开设有正螺纹牙和反螺纹牙,两个活动板6的内部分别开设有正螺纹牙与反螺纹牙,螺纹杆15在转动时可同时带动两个活动板6相对或相背移动。Please refer to Fig. 1-4, the utility model provides a kind of technical scheme: a kind of pipeline installation structure for fire-fighting facility engineering, the two ends of threaded
两个活动板6前表面的靠底部位置均开设有凹槽,支撑台4的后端分别贯穿至两个凹槽的内部,使活动板6可顺着支撑台4进行移动。Grooves are provided at the bottom positions of the front surfaces of the two
上下设置的四个滑块7分别贯穿至四个滑槽3的内部并与滑槽3的内壁滑动连接,滑块7可在滑槽3的内部滑动。The four sliding
连接杆8的一端贯穿至缓冲套筒10的内部并与弹簧11的一侧固定连接,保证了弹簧11在受力时的稳定性。One end of the connecting
螺杆12的底部与第二夹持板13顶部中心固定安装的轴承活动连接,螺杆12在向下旋动的同时,可推动第二夹持板13向下移动,从而避免螺杆12旋转时带动第二夹持板13同时旋转。The bottom of the
底座1两侧的底部均固定安装有连接板,两个连接板的顶部均开设有安装孔,通过螺栓贯穿安装孔可将底座1固定在指定位置处。The bottoms on both sides of the
螺杆12的顶部固定安装有转轮,转动杆16的前端贯穿至底座1的外部并固定安装有把手18,通过转动转轮可使螺杆12带动第二夹持板13移动,通过转动把手18可使涡轮17啮合蜗杆14进行转动,从而对两个第一夹持板9进行移动。The top of the
工作原理:在对管道进行安装时,首先将底座1固定在指定位置,然后将管道放置在放置座5上,接着,先通过转动把手18使转动杆16带动涡轮17旋转,涡轮17啮合蜗杆14从而带动螺纹杆15转动,螺纹杆15转动带动两个活动板6同时进行相对移动,当两个活动板6上的第一夹持板9与管道的两侧接触时,缓冲套筒10的弹簧11被压缩,通过弹簧11可将管道在进行夹持的过程中起到缓冲的作用,当管道的两端固定后,通过转动转轮使螺杆12带动底部的第二夹持板13向下移动,从而对管道的顶部进行压紧限位。Working principle: When installing the pipeline, first fix the
综上所述:该消防设施工程用管道安装结构,通过滑槽3、活动板6、滑块7、第一夹持板9、螺杆12、第二夹持板13、蜗杆14、螺纹杆15、转动杆16和涡轮17的互相配合,在对管道进行安装的过程中,通过旋转转动杆16使涡轮17带动蜗杆14转动,从而使两个第一夹持板9同时相对移动,进而使两个第一夹持板9对管道的两侧进行压紧,再通过转动螺杆12可使顶部的第二夹持板13对管道的顶部压紧限位,安装过程快速且便捷,有效的保证了管道在安装后的稳固性,缓冲套筒10、弹簧11和连接杆8的互相配合,两个第一夹持板9对管道进行夹持的过程中,可对管道在受力时起到缓冲的作用,避免对管道夹持的过程中使管受损,满足了市场需求。To sum up: the pipeline installation structure for fire protection facilities engineering, through the
需要说明的是,在本文中,诸如第一和第二等之类的关系术语仅仅用来将一个实体或者操作与另一个实体或操作区分开来,而不一定要求或者暗示这些实体或操作之间存在任何这种实际的关系或者顺序。而且,术语“包括”、“包含”或者其任何其他变体意在涵盖非排他性的包含,从而使得包括一系列要素的过程、方法、物品或者设备不仅包括那些要素,而且还包括没有明确列出的其他要素,或者是还包括为这种过程、方法、物品或者设备所固有的要素。It should be noted that in this article, relational terms such as first and second are only used to distinguish one entity or operation from another entity or operation, and do not necessarily require or imply that there is a relationship between these entities or operations. There is no such actual relationship or order between them. Furthermore, the term "comprises", "comprises" or any other variation thereof is intended to cover a non-exclusive inclusion such that a process, method, article, or apparatus comprising a set of elements includes not only those elements, but also includes elements not expressly listed. other elements of or also include elements inherent in such a process, method, article, or device.
尽管已经示出和描述了本实用新型的实施例,对于本领域的普通技术人员而言,可以理解在不脱离本实用新型的原理和精神的情况下可以对这些实施例进行多种变化、修改、替换和变型,本实用新型的范围由所附权利要求及其等同物限定。Although the embodiments of the present invention have been shown and described, those skilled in the art can understand that various changes and modifications can be made to these embodiments without departing from the principle and spirit of the present invention , replacements and modifications, the scope of the present utility model is defined by the appended claims and their equivalents.
Claims (8)
Priority Applications (1)
| Application Number | Priority Date | Filing Date | Title |
|---|---|---|---|
| CN202222719108.9U CN218137673U (en) | 2022-10-17 | 2022-10-17 | Pipeline mounting structure for fire-fighting equipment engineering |
Applications Claiming Priority (1)
| Application Number | Priority Date | Filing Date | Title |
|---|---|---|---|
| CN202222719108.9U CN218137673U (en) | 2022-10-17 | 2022-10-17 | Pipeline mounting structure for fire-fighting equipment engineering |
Publications (1)
| Publication Number | Publication Date |
|---|---|
| CN218137673U true CN218137673U (en) | 2022-12-27 |
Family
ID=84570948
Family Applications (1)
| Application Number | Title | Priority Date | Filing Date |
|---|---|---|---|
| CN202222719108.9U Expired - Fee Related CN218137673U (en) | 2022-10-17 | 2022-10-17 | Pipeline mounting structure for fire-fighting equipment engineering |
Country Status (1)
| Country | Link |
|---|---|
| CN (1) | CN218137673U (en) |
Cited By (1)
| Publication number | Priority date | Publication date | Assignee | Title |
|---|---|---|---|---|
| CN117381679A (en) * | 2023-08-25 | 2024-01-12 | 江苏兴洋管业股份有限公司 | A pipe processing and clamping device |
-
2022
- 2022-10-17 CN CN202222719108.9U patent/CN218137673U/en not_active Expired - Fee Related
Cited By (1)
| Publication number | Priority date | Publication date | Assignee | Title |
|---|---|---|---|---|
| CN117381679A (en) * | 2023-08-25 | 2024-01-12 | 江苏兴洋管业股份有限公司 | A pipe processing and clamping device |
Similar Documents
| Publication | Publication Date | Title |
|---|---|---|
| CN218137673U (en) | Pipeline mounting structure for fire-fighting equipment engineering | |
| CN115026477A (en) | Welding seam grinding device for welding special-shaped steel pipes | |
| CN212085718U (en) | An electrical cable fixing device | |
| CN216422420U (en) | An assembly device for assembling an elevator drive spindle | |
| CN209380331U (en) | An adjustable jig device for machining pipe fittings | |
| CN212599483U (en) | Bolt machining equipment | |
| CN219282741U (en) | Pipeline butt joint bearing structure for construction | |
| CN217223091U (en) | Bending device for machine design and manufacture | |
| CN211757815U (en) | Bending device is used in steel structure processing | |
| CN205218623U (en) | Mechanical fixture assists cushion | |
| CN211305739U (en) | A high-efficiency grinding device for stainless steel pipe processing | |
| CN212653035U (en) | Pipe machining clamp | |
| CN220903233U (en) | Pipeline installation device for construction | |
| CN220943858U (en) | Welding auxiliary equipment for machining | |
| CN220428306U (en) | Clamp for machining frame | |
| CN218556804U (en) | A gas pipeline pressure detection device | |
| CN217441111U (en) | A plugging device for gas pipes | |
| CN220196764U (en) | A positioning mechanism for butt welding machine | |
| CN218119190U (en) | A wall-mounted lifting electronic video teaching board | |
| CN221909243U (en) | A CNC pipe bending machine for metal pipe processing | |
| CN219530049U (en) | Coiled tubing butt joint supporting equipment | |
| CN223466197U (en) | Automatic change transmission equipment's tool strutting arrangement | |
| CN221446733U (en) | Sand table for architectural design | |
| CN217776486U (en) | Processing equipment for crankshaft chamfering | |
| CN221817775U (en) | Metal plate welding tool |
Legal Events
| Date | Code | Title | Description |
|---|---|---|---|
| GR01 | Patent grant | ||
| GR01 | Patent grant | ||
| CF01 | Termination of patent right due to non-payment of annual fee | ||
| CF01 | Termination of patent right due to non-payment of annual fee |
Granted publication date: 20221227 |
