CN218119941U - 空调器 - Google Patents
空调器 Download PDFInfo
- Publication number
- CN218119941U CN218119941U CN202222007533.5U CN202222007533U CN218119941U CN 218119941 U CN218119941 U CN 218119941U CN 202222007533 U CN202222007533 U CN 202222007533U CN 218119941 U CN218119941 U CN 218119941U
- Authority
- CN
- China
- Prior art keywords
- plate
- air
- shell
- motor
- housing
- Prior art date
- Legal status (The legal status is an assumption and is not a legal conclusion. Google has not performed a legal analysis and makes no representation as to the accuracy of the status listed.)
- Active
Links
- 239000000725 suspension Substances 0.000 claims abstract description 26
- 238000007664 blowing Methods 0.000 claims abstract description 19
- 238000009423 ventilation Methods 0.000 claims description 13
- 238000003825 pressing Methods 0.000 claims description 10
- XLYOFNOQVPJJNP-UHFFFAOYSA-N water Substances O XLYOFNOQVPJJNP-UHFFFAOYSA-N 0.000 description 44
- 238000009434 installation Methods 0.000 description 35
- 210000002105 tongue Anatomy 0.000 description 26
- 230000003014 reinforcing effect Effects 0.000 description 24
- 238000000034 method Methods 0.000 description 17
- 230000008569 process Effects 0.000 description 15
- 238000004321 preservation Methods 0.000 description 11
- 238000012423 maintenance Methods 0.000 description 10
- 210000000078 claw Anatomy 0.000 description 8
- 238000004806 packaging method and process Methods 0.000 description 7
- 239000003507 refrigerant Substances 0.000 description 7
- 238000013461 design Methods 0.000 description 6
- 238000003780 insertion Methods 0.000 description 6
- 230000037431 insertion Effects 0.000 description 6
- 230000006872 improvement Effects 0.000 description 5
- 238000009413 insulation Methods 0.000 description 5
- 230000002787 reinforcement Effects 0.000 description 5
- 238000004519 manufacturing process Methods 0.000 description 4
- 230000015572 biosynthetic process Effects 0.000 description 3
- 230000000903 blocking effect Effects 0.000 description 3
- 239000000463 material Substances 0.000 description 3
- 239000002184 metal Substances 0.000 description 3
- 230000009467 reduction Effects 0.000 description 3
- 238000004378 air conditioning Methods 0.000 description 2
- 238000009395 breeding Methods 0.000 description 2
- 230000001488 breeding effect Effects 0.000 description 2
- 239000011435 rock Substances 0.000 description 2
- 241000894006 Bacteria Species 0.000 description 1
- 230000001580 bacterial effect Effects 0.000 description 1
- 230000008901 benefit Effects 0.000 description 1
- 230000008859 change Effects 0.000 description 1
- 230000005494 condensation Effects 0.000 description 1
- 238000009833 condensation Methods 0.000 description 1
- 238000005520 cutting process Methods 0.000 description 1
- 238000009826 distribution Methods 0.000 description 1
- 230000000694 effects Effects 0.000 description 1
- 238000005265 energy consumption Methods 0.000 description 1
- 238000005516 engineering process Methods 0.000 description 1
- 239000006260 foam Substances 0.000 description 1
- 238000011900 installation process Methods 0.000 description 1
- 230000001788 irregular Effects 0.000 description 1
- 238000003754 machining Methods 0.000 description 1
- 230000002093 peripheral effect Effects 0.000 description 1
- 230000008092 positive effect Effects 0.000 description 1
- 238000005057 refrigeration Methods 0.000 description 1
- 238000003860 storage Methods 0.000 description 1
- 238000006467 substitution reaction Methods 0.000 description 1
- 238000012546 transfer Methods 0.000 description 1
- 239000013585 weight reducing agent Substances 0.000 description 1
Images
Landscapes
- Air Filters, Heat-Exchange Apparatuses, And Housings Of Air-Conditioning Units (AREA)
Abstract
本实用新型公开了一种空调器,空调器包括:外壳,外壳中设置有支撑板,支撑板上设置有通风口,支撑板将外壳的内部间隔为进风腔体和出风腔体,外壳上设置有进风口和出风口,进风口连通进风腔体,出风口连通出风腔体;换热器,换热器位于出风腔体中;风机,风机包括电机、叶轮、蜗壳和电机支架,蜗壳设置有吸风口和吹风口,叶轮设置在蜗壳中,电机与叶轮连接,电机支架包括悬挂架和固定架,固定架的两侧部分别设置有连接孔和固定孔,悬挂架的两侧分别设置有挂钩和螺柱,挂钩勾住对应的连接孔,螺柱穿过固定孔并螺纹连接有紧固螺母,电机的两端部夹在悬挂架和固定架之间。通过分体式电机支架同时固定电机的两端部,实现提高组装效率。
Description
技术领域
本实用新型涉及空调技术领域,尤其涉及一种空调器。
背景技术
空调是人们日常生活中常用的家用电器,空调分为壁挂式空调和柜式空调。其中,空调通常包括室内机和室外机,室内机安装在室内侧,而室外机安装在室外侧。
现有技术中的室内机安装其安装方式不同,分为立式室内机、壁挂式室内机和吊顶式室内机。其中,吊顶式室内机因其占用室内有效空间较小,被广泛的推广使用。常规技术中的吊顶式室内机(通常称之为风管机),一般包括外壳、以及设置在外壳中的风机、换热器、接水盘和排水泵等部件。其中,外壳上配置有进风口和出风口,在使用时,从进风口吸入空气,经由换热器换热后从出风口输出。
其中,对于风机而言,风机通常包括电机、叶轮和蜗壳,电机一般采用电机支架固定安装在外壳中,例如:中国专利公告号CN 215001884 U公开了一种电空调室内机和空调设备,电机通过电机支架和两个周向保持件完成固定安装。在组装时,则需要分别在电机的两端部分别通过两个周向保持件进行固定,组装过程繁琐,导致组装效率较低。鉴于此,如何设计一种提高组装效率的技术是本实用新型所要解决的技术问题。
发明内容
针对背景技术中指出的问题,本实用新型提出一种空调器,通过分体式电机支架同时固定电机的两端部,实现提高组装效率。
为实现上述实用新型目的,本实用新型采用下述技术方案予以实现:
本申请一些实施例中,提供了一种空调器,包括:
外壳,所述外壳中设置有支撑板,所述支撑板上设置有通风口,所述支撑板将所述外壳的内部间隔为进风腔体和出风腔体,所述外壳上设置有进风口和出风口,所述进风口连通所述进风腔体,所述出风口连通所述出风腔体;
换热器,所述换热器位于所述出风腔体中;
风机,所述风机包括电机、叶轮、蜗壳和电机支架,所述蜗壳设置有吸风口和吹风口,所述叶轮设置在所述蜗壳中,所述电机与所述叶轮连接,所述电机支架包括悬挂架和固定架,所述固定架的两侧部分别设置有连接孔和固定孔,所述悬挂架的两侧分别设置有挂钩和螺柱,所述挂钩勾住对应的所述连接孔,所述螺柱穿过所述固定孔并螺纹连接有紧固螺母,所述电机的两端部夹在所述悬挂架和所述固定架之间;
其中,所述电机支架设置在所述支撑板上,所述吹风口与所述通风口连通。
与现有技术相比,本实用新型的优点和积极效果是:通过采用分体式的电机支架,悬挂架之间采用挂钩配合螺柱的方式与固定架连接,在组装时,通过一个固定架同时对电机的两端部完成固定安装,进而无需分两次来固定电机的端部,简化了组装过程并提高了组装效率。
附图说明
图1为本实用新型空调室内机一实施例的结构示意图;
图2为图1中去掉上盖板的局部结构示意图;
图3为本实用新型空调室内机一实施例的剖视图;
图4为图1中外壳的爆炸图;
图5为图4中A区域的局部放大示意图;
图6为图4中B区域的局部放大示意图;
图7为图1中下前板的局部结构示意图;
图8为图1中下后板的局部结构示意图;
图9为图1中支撑板的结构示意图;
图10为图1中上保温层的结构示意图;
图11为图1中换热器的结构示意图;
图12为图1中接水盘的结构示意图之一;
图13为图1中接水盘的结构示意图之二;
图14为图1中风机与支撑板的组装示意图之一;
图15为图1中风机与支撑板的组装示意图之二;
图16为图1中蜗壳的结构示意图;
图17为图16中第一壳体的结构示意图;
图18为图16中第二壳体的结构示意图;
图19为图1中电机与电机支架的组装图;
图20为图1中电机与电机支架的组装爆炸图;
图21为图20中固定架的结构示意图;
图22为图1中安装板的的结构示意图;
图23为图1中盒盖的的结构示意图;
图24为空调室内机处于组装状态下的局部结构示意图。
具体实施方式
下面将结合本申请实施例中的附图,对本申请实施例中的技术方案进行清楚、完整地描述,显然,所描述的实施例仅仅是本申请一部分实施例,而不是全部的实施例。基于本申请中的实施例,本领域普通技术人员在没有做出创造性劳动前提下所获得的所有其他实施例,都属于本申请保护的范围。
如图1-图24所示,本实用新型实施例中提供一种室内机,其包括外壳1、换热器2、风机3、电控盒4和接水盘5等部件组成。针对上述部件的改进设计结合附图具体说明如下。
实施例一,针对外壳1,为了解决现有技术中存在的多个技术问题,进行了如下相应的结构改进。
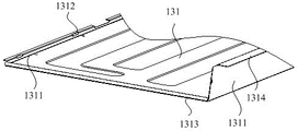
如图1-图10所示,外壳1包括上盖板11、两个侧板12、底板13和支撑板14,上盖板11布置在底板13的上方,两个侧板12布置在两侧并位于所述上盖板和底板13之间,支撑板14设置在所述上盖板和底板13之间,支撑板14的两端部分别与两侧的侧板12连接固定,支撑板14将外壳1内部分隔为进风腔体和出风腔体,外壳1上设置有进风口和出风口。
本申请一实施例中,为了解决现有技术中外壳组装使用螺钉数量多而导致组装效率低和组装质量差的技术问题。
支撑板14沿所述上盖板的长度方向延伸并固定在所述上盖板上,支撑板14的两端部分别设置有第一卡槽141;侧板12上设置有第一卡舌121;底板13包括下前板131和下后板132,下前板131和下后板132卡装在一起;其中,第一卡舌121卡在对应的第一卡槽141中,侧板12上边缘通过螺钉与所述上盖板连接,下前板131设置在支撑板14上,下前板131的两端部和下后板132的两端部分别通过螺钉与侧板12连接。
具体的,对于组成外壳1的多个部件,在实际组装过程中,通过在支撑板14的两端部对应的配置第一卡舌121,而侧板12上配置有第一卡槽141。
两个侧板12便可以通过第一卡舌121与第一卡槽141卡装以实现预装到支撑板14上,而支撑板14固定在所述上盖板上,进而实现侧板12预装在所述上盖板上,以使得侧板12与所述上盖板之间通过螺钉连接的孔位能够预对齐。
通过螺钉便可以再进一步的将侧板12与所述上盖板进行固定,而侧板12和所述上盖板之间由于预装在一起,可以有效的减少两者连接所需要的螺钉的数量。
而对于底板13而言,其采用分体式设计,组成底板13的下前板131和下后板132之间采用卡装的方式进行连接,下前板131的两端部和下后板132的两端部分别通过螺钉与侧板12连接。
通过在支撑板的两端部配置卡槽,相对应的,侧板则通过卡舌预装在支撑板上,采用卡舌与卡槽配合能够使得侧板与上盖板精确的预装在一起,然后,采用较少量的螺钉将侧板固定在上盖板上,以减少螺钉的使用量,并且,在组装时,由于侧板能够预装到上盖板上,以使得螺钉孔能够准确的对准,提高组装精确性并减少因螺钉孔未对齐造成板体受力不均而发生板体变形,提高了装配的精确性,实现提高组装效率和组装质量。
另一实施例中,下前板131的前后边缘分别设置有第一内折边1311,其中一第一内折边1311上设置有第二卡槽1312,下后板132的前后边缘分别设置有第二内折边1321,其中一第二内折边1321上设置有第二卡舌1322,第二卡舌1322卡在对应的第二卡槽1312中。
具体的,对于下前板131与下后板132的卡装方式,也是采用卡舌与卡槽卡装来实现。其中,第一内折边1311能够有效的提高下前板131的整体结构强度,以提高抗变形性能;同样的,第二内折边1321将提高下后板132的整体结构强度和抗变形性能。
一实施例中,下前板131的两侧还设置有弯折的定位折边1313,侧板12位于对应侧的定位折边1313的内侧。
具体的,为了进一步的提高组装精度和组装可靠性,通过在下前板131的两侧设置定位折边1313,定位折边1313贴靠在侧板12的外侧以提高组装定位精度,同时,定位折边1313与第一内折边1311配合能够进一步的提高下前板131的整体结构强度。
一实施例中,下前板131的前边缘处的第一内折边1311还设置有向外延伸的第一翻边1314,侧板12上靠近第一内折边1311的端部还设置有向外延伸的第二翻边122,所述上盖板的前边缘还设置有向外延伸的第三翻边111;
其中,第三翻边和第一翻边1314上下相对布置,第二翻边122位于第一翻边1314和第三翻边之间,第一翻边1314、第二翻边122和第三翻边构成出风口。
具体的,对于外壳1而言,所形成的出风口由第一翻边1314、两个第二翻边122和第三翻边构成出风口,进而在完成外壳1的组装操作后,便可以在外壳1上形成出风口。而对于外壳1上的进风口而言,则可以在外壳1上背向出风口的位置设置成进风口,进风口的设计可以参考常规技术中风管机的进风口结构,在此不做限制和赘述。
一实施例中,下前板131的后边缘处的第一内折边1311还设置有定位缺口1315,下后板132的前边缘还设置有朝外延伸的搭接边1323,搭接边1323插在定位缺口1315中并搭接在下前板131上。
具体的,对于底板13而言,在组装时,一方面通过第二卡舌1322与第二卡槽1312配合实现两者的卡装连接,另一方面下后板132还可以进一步的通过搭接边1323插在定位缺口1315中并搭接在下前板131上以方便后期维修时拆装下后板132。
一实施例中,所述上盖板上形成内凹的加强部112,所述加强筋沿所述上盖板的长度方向延伸,支撑板14的上边缘设置有第一加强折边142,支撑板14的下边缘设置有第二加强折边143,第一加强折边142通过螺钉固定连接在加强部112,下前板131通过螺钉固定在第二加强折边143上;
支撑板14的两端部分别设置有第三加强折边144,第三加强折边144上设置有第一卡槽141。
具体的,通过在所述上盖板上设置内凹的加强部112,加强部112从所述上盖板的外表面内凹并在内表面凸起。这样,通过加强部112能够增强所述上盖板的整体结构强度,以满足牢固安装承载支撑板14的要求。
一实施例中,支撑板14的上边缘的两端部分别设置有支撑折边145,支撑折边145高于第一加强折边142,支撑折边145贴靠在所述上盖板上。
具体的,通过在支撑板14上设置支撑折边145来与所述上盖板进行定位配合,在将支撑板14固定安装在所述上盖板的过程中,先通过支撑折边145抵靠在所述上盖板的内表面,进而使得第一加强折边142与加强部112能够预定位,更方便操作人员通过螺钉将第一加强折边142固定连接在加强部112上。
一实施例中,第一加强折边142的延伸方向与第二加强折边143的延伸方向背向布置。
具体的,背向延伸布置的第一加强折边142和第二加强折边143,能够更加平稳的支撑在所述上盖板和底板13之间,以提高连接可靠性。
一实施例中,至少一侧板12上设置有安装口123,外壳1组件还包括挡板124,挡板124的一端部上设置有第三卡舌1241,侧板12上设置有第三卡槽125,第三卡舌1241卡在第三卡槽125中,挡板124的另一端部通过螺钉固定在侧板12上。
具体的,外壳1中因安装有换热器2,换热器2向外伸出的管则可以通过安装口123伸出,而挡板124能够遮挡住安装口123的空余部分。
一实施例中,为了满足空调室内机吊装的安装要求,还包括吊钩15,吊钩15的下端部设置有第四卡舌151,第四卡舌151朝上延伸,侧板12上还设置有第四卡槽126,所述上盖板的两端部分别设置有下翻边113,第四卡舌151卡在第四卡槽126中,吊钩15的上端部通过螺钉固定在下翻边113上。
具体的,吊钩15采用第四卡舌151与第四卡槽126配合实现预装,然后,再通过螺钉将吊钩15与所述上盖板进行固定连接。而所述上盖板形成的下翻边113,一方面可以提高所述上盖板的结构强度,另一方面还可以满足吊钩15的固定安装要求。
本申请一实施例中,由于外壳1采用钣金件加工而成,为了解决现有技术中出风口受钣金件产生风阻而出现噪音导致用户使用体验性差的技术问题。
外壳1的内壁还设置有保温部件,所述保温部件靠近所述出风口的部位形成导风面16,所述导向面配置成引导从换热器2输出的气流流向所述出风口。
具体的,通过在外壳1的内壁上靠近所述出风口的位置设置所述保温部件,所述保温部件通常采用保温泡沫等材料制成,一方面能够起到保温的功能,另一方面还可以起到减震的作用,并且,保温部件上形成的导风面16能够引导气流顺畅的流向所述出风口,进而减少外壳1的钣金件所产生的风阻,以有效的降低风噪。
通过在外壳的内壁还设置有保温部件,保温部件靠近出风口的部位形成导风面,这样,对于风机启动后气流穿过换热器输送至出风口的过程中,出风口的边缘将借助导风面的导向,以引导气流顺畅的从出风口输出,进而有效的减小外壳的出风口边缘对气流产生较大的气阻而产生较大的噪音,实现减少吊顶式室内机的出风噪音,以提高用户使用体验性。
一实施例中,其中一侧板12上设置有第一安装架127,第一安装架127上设置有第一支撑板1271,底板13的前边缘还设置有第二安装架133,第二安装架133上设置有第二支撑板1331并靠近另一侧的侧板12,换热器2的端部对应的安装在第一支撑板1271和第二支撑板1331上。
具体的,在安装换热器2时,则将换热器2安装固定在第一支撑板1271和第二支撑板1331上,以通过第一支撑板1271和第二支撑板1331来支撑并固定安装换热器2。
所述保温部件包括上保温层161和第一侧保温层162,上保温层161设置在所述上盖板的内壁,上保温层161的下表面形成第一圆弧面,所述第一圆弧面为导风面16;第一侧保温层162设置在侧板12上,第一支撑板1271贯穿第一侧保温层162,第一侧保温层162靠近所述出风口的边缘形成第二圆弧面,所述第二圆弧面也为导风面16。
具体的,对于所述保温部件而言,其包括设置在所述上盖板上的上保温层161,而上保温层161靠近出风口的下表面形成第一圆弧面以构成导风面16进行引导气流流动。同样的,对于第一侧保温层162而言,其靠近出风口的边缘设置为第二圆弧面以形成导风面16。
而对于第二安装架133而言,其为独立部件可以根据换热器2的端部位置安装固定,并且,第二安装架133自身的侧部为平整面,以减少风阻进而降低风噪。
一些实施例中,第二安装架133与比邻侧的侧板12之间形成安装空间,换热器2端部连接的冷媒管位于所述安装空间中;上保温层161还设置有延长保温部1611,延长保温部1611布置在所述安装空间的上方,所述保温部件包括第二侧保温层163,第二侧保温层163设置在比邻第二安装架133侧的侧板12上。
具体的,第二安装架133与另一侧的侧板12之间形成安装空间以放置换热器2上外接的冷媒管以及电子膨胀阀等部件,进而充分的利用外壳1的内部空间。更重要的是,电子膨胀阀等部件设置在所述安装空间中被第二安装架133隔开,可以避免气流吹到电子膨胀阀等不规则的部件形成较大的风噪。
一实施例中,为了满足换热器2倾斜安装的要求,第一支撑板1271和第二支撑板1331均倾斜布置,换热器2由内至外倾斜朝上延伸。
具体的,倾斜布置的支撑板能够支撑换热器2倾斜安装,以满足增大换热器2换热面积的要求。
一实施例中,上保温层161上设置有倾斜设置的遮挡面1612,遮挡面1612遮盖住换热器2的上端部。
具体的,由于换热器2倾斜布置,则通过遮挡面1612来遮挡住换热器2的上端部的端面,一方面可以对换热器2起到支撑固定的作用,另一方面还可以减少气流从换热器2的上端部输出而与所述上盖板产生风噪。
实施例二,针对换热器2,为了解决现有技术中存在的多个技术问题,进行了如下相应的结构改进。
如图1和图11所示,换热器2包括冷媒管21、若干翅片22和两个管板23,翅片22设置在冷媒管21上并位于两个管板23之间,冷媒管21穿过管板23,翅片22上其中一对角分别设置有避让缺口221,管板23上其中一对角分别设置成平角231;避让缺口221与对应角部的平角231形成安装避让部;
其中,换热器2由内至外倾斜朝上延伸,换热器2顶部的安装避让部与所述上盖板相对布置,换热器2顶部的安装避让部与外壳1的底板相对布置。
具体的,换热器2倾斜安装在外壳1中,而换热器2的顶角和底角均形成安装避让部,这样,便可以在外壳1高度空间不变的情况下,有效的增大换热器2的倾斜角度,气流穿过换热器2的效率更高以提高换热效率。
另外,由于换热器2的顶角和底角均形成较为平坦的安装避让部,可以使得换热器2的角部更加的接近所述上盖板和底板13,并且,安装时,换热器2的角部抵靠在外壳1上也不会发生较大的形变而损坏换热器2。
通过在换热器的一对角上进行剪裁设计,使得翅片的对角形成避让缺口,相对应的,管板的对角形成平角,这样,在安装换热器时,对于换热器最高和最低的角部局形成安装避让部,进而可以增大换热器的安装倾斜角度,使得风机输出的气流能够高效的穿过换热器进行换热,以提高换热效率并降低能耗。
一些实施例中,外壳1的底板上还设置有接水盘5,接水盘5上设置有倾斜设置的支撑面50,换热器2的下端部抵靠在遮挡面1612上。
具体的,换热器2的上端部则可以通过所述上盖板上设置的上保温层161进行抵靠定位支撑,而对于换热器2的下端部则可以抵靠在支撑面50上,以通过接水盘5上形成的支撑面50进行辅助支撑。
与此同时,配合外壳1上配置的第一安装架127和第二安装架133,可以更好的对换热器2进行支撑和牢固固定。这样,在使用过程中,风机3产生的气流吹向换热器2,由于换热器2的两侧和上下端部均获得牢靠的支撑固定,减少换热器2发生晃动,进而有效的减少因气流导致换热器2晃动而产生噪音。
一些实施例中,支撑板14上还设置有辅助连接件146,辅助连接件146连接在其中一管板23的下端部。
具体的,为了更加牢固可靠的安装换热器2,在外壳1的内部,还进一步的通过辅助连接件146将换热器2与支撑板14连接固定在一起,这样,使得换热器2能够间接的连接在所述上盖板、底板13和两个侧板12之间,以最大限度的提高使用可靠性。
实施例三,针对接水盘5,为了解决现有技术中存在的多个技术问题,进行了如下相应的结构改进。
本申请一实施例中,为了解决现有技术中接水盘容易积存冷凝水进而导致接水盘中滋生细菌并使得送风质量降低的技术问题。
如图1、图12和图13所示,接水盘5中设置有相对布置的第一导流凸起51和第二导流凸起52,第一导流凸起51形成第一坡面511,第一坡面511沿接水盘5的一边缘倾斜朝下延伸布置,第二导流凸起52起形成第二坡面521,第二坡面521沿接水盘5的另一边缘倾斜朝下延伸布置,第一导流凸起51和第二导流凸起52之间形成导流槽53;接水盘5中在第一导流凸起51和第二导流凸起52的同一端部形成排水槽54,排水槽54的底部设置有排水管55,导流槽53连通排水槽54。
具体的,对于接水盘5而言,其内部形成相对布置的第一导流凸起51和第二导流凸起52,并且,两个导流凸起分别形成坡面,这样,在使用过程中,换热器2因冷凝形成的冷凝水经由坡面导向流入到导流槽53中,冷凝水经由导流槽53导向流入到排水槽54中。
排水槽54布置在接水盘5的一端部,排水槽54的面积小于接水盘5的整体面积,进而使得从导流槽53流入的冷凝水能够快速的从排水管55排出。同时,在停机后,排水槽54中积存的冷凝水较少,能够有效的减少冷凝水积存过多导致细菌滋生而影响出风制冷。
通过在接水盘中设置两个相对布置的导流凸起,两个导流凸起之间在接水盘的底部形成导流槽,并且,导流凸起的上表面形成坡面以使得冷凝水能够顺畅的流道底部的导流槽,导流槽中的冷凝水则流向一侧的排水槽中,而由于排水槽布置在接水盘的一端部且整体面积较小,使得排水槽中的冷凝水能够尽快的通过排水管排出,进而实现减少冷凝水的残留量,实现提高送风质量提高用户使用体验性。
一实施例中,第二坡面521靠近导流槽53的部位形成支撑面50,以通过支撑面50来支撑换热器2的下端部。而换热器2整体布置在第一导流凸起51的上方。
具体的,在使用时,换热器2上流下的冷凝水经由第一坡面511流向导流槽53,而第二坡面521底部形成的支撑面50能够对换热器2进行支撑。对于第一导流凸起51和第二导流凸起52则均沿着换热器2的长度方向延伸布置。
一实施例中,排水槽54中在第一导流凸起51的一侧设置有第三坡面541。
具体的,排水槽54位于第二安装架133与对应侧的侧板12形成的安装空间中,由于安装空间内布置换热器2外露的冷媒管,冷媒管上滴落的冷凝水经由第三坡面541能够顺畅的流到排水槽54的底部以通过排水管55顺畅的排出。
一实施例中,排水槽54中还设置有凹陷部542,排水管55的进口位于凹陷部3425的一侧,第三坡面541倾斜向下朝向凹陷部3425延伸。
具体的,为了更加高效的收集冷凝水并快速的排出至外部,则可以在排水槽54中进一步的形成凹陷部3425,冷凝水能够经由第三坡面541快速的流到述凹陷部处,凹陷部3425位于排水槽54的最低位置并在侧部设置排水管55,以实现快速的排出冷凝水。
一实施例中,接水盘5的下表面位于第一导流凸起51和第二导流凸起52的下方分别形成有减重槽56。
具体的,对于接水盘5而言,其底部采用形成减重槽56的方式来降低接水盘5的整体重量,并可以有效的减少物料的使用量。
而在减重槽56中还设置有多个加强板57,多个加强板57竖立并排布置。利用多个加强板57,可以进一步的增强接水盘5的整体结构强度。
实施例四,针对风机3,为了解决现有技术中存在的多个技术问题,进行了如下相应的结构改进。
如图14-图21所示,风机3通常包括电机31、蜗壳32、叶轮33和电机支架34,电机31固定安装在电机31支架上,其中,蜗壳32具有吸风口和吹风口。电机31通电驱动叶轮33在蜗壳32中转动,使得外界的空气经由吸风口吸入到蜗壳32中并从吹风口输出。
而由于风机3和换热器2布置在支撑板14的两侧,为了方便气流输送,还在支撑板14上设置有通风口147,吹风口输出的气流经由通风口147输出并流向换热器2。
本申请一实施例中,为了解决现有技术中因风机3较重导致组装难度大组装效率低的技术问题。
蜗壳32包括第一壳体321和第二壳体322,第一壳体321和第二壳体322的内壁均为弧面,第一壳体321的一侧的两端部分别设置有定位卡槽3211,第一壳体321的另一侧的两端部分别设置有插口3212,第二壳体322的一侧的两端部分别设置有定位卡舌3221,第二壳体322的另一侧的两端部分别设置有卡扣3222;其中,叶轮33位于第一壳体321和第二壳体322之间,定位卡舌3221插在定位卡槽3211中,卡扣3222插在插口3212中;第一壳体321和第二壳体322的端部之间形成吸风口,第一壳体321和第二壳体322的侧部形成吹风口。
具体的,蜗壳32采用上下分体结构,并且,第一壳体321和第二壳体322之间采用定位卡舌3221与定位卡槽3211配合实现定位,并通过卡扣3222与插口3212配合实现将第一壳体321和第二壳体322连接在一起。
而在组装时,将叶轮33放入到第一壳体321中,然后,在将第二壳体322上的定位卡舌3221和卡扣3222卡装到位便可以完成组装操作。
通过将蜗壳采用分体式设计,第一壳体和第二壳体之间通过定位卡舌进行定位并通过卡扣完成连接,在装配过程中,第一壳体可以准确的固定装配到空调室内机的外壳上,然后,再将电机和叶轮吊装并使得叶轮位于第一壳体中,最后,再将第二壳体卡装到第一壳体上,由于第一壳体可以预装到外壳上,以满足准确定位的要求,实现了风机分拆组装到外壳中而无需整体装配,并且,第一壳体和第二壳体在组装时采用卡装的方式以实现无螺钉化设计,以满足快捷的在外壳上组装风机,实现降低组装难度并提高组装效率。
一实施例中,第一壳体321的两端部形分别设置有第一弧形口3213,第二壳体322的两端部设置有第二弧形口3223,第一弧形口3213与对应的第二弧形口3223对接在一起形成所述吸风口。
而第一壳体321的一侧部设置有向外延伸的第一蜗舌(未标记),第二壳体322的一侧部设置有向外延伸的第二蜗舌(未标记),所述第一蜗舌与所述第二蜗舌之间形成所述吹风口。
另一实施例中,第一壳体321的另一侧部边缘设置有第一定位孔3214,第二壳体322的另一侧部边缘设置有第一定位柱3224,第一定位柱3224插在第一定位孔3214中。
具体的,在将第一壳体321与第二壳体322进行组装时,通过第一定位柱3224与第一定位孔3214配合实现导向定位,可以确保定位卡舌3221、卡扣3222能够准确的与定位卡槽3211、插口3212对应的插装连接。
另一实施例中,定位卡舌3221的一侧设置有第二定位柱3225,定位卡槽3211的一侧设置有第二定位孔3215,第二定位柱3225插在第二定位孔3215中。
具体的,在将第一壳体321与第二壳体322进行组装时,第一壳体321和第二壳体322的一侧部通过第一定位柱3224与第一定位孔3214定位预装后,第一壳体321和第二壳体322另一侧部则可以由第二定位柱3225与第二定位孔3215定位导向,进而实现第一壳体321和第二壳体322前后侧均获得定位导向,以更方便操作人员准确的组装蜗壳32。
一实施例中,卡扣3222的两侧设置有两个背向布置的弹性卡(未标记),所述弹性卡插在插口3212并卡在插口3212的边缘。
具体说,卡扣3222可以采用书包扣的方式,通过两侧的弹性卡插入插口3212中并卡在插口3212的两侧。
而卡扣3222还设置有支撑筋3226,支撑筋3226上设置有导向凹槽(未标记),支撑筋3226位于两个所述弹性卡之间,插口3212的内壁设置有导向筋(未标记),所述导向筋位于所述导向凹槽中。
具体的,所述弹性卡插入到插口3212中后,导向筋插入到将导向凹槽中,以引导卡扣3222顺畅的卡装到位,提高卡装的准确性和质量。
一实施例中,为了提高送风效率增大送风量,电机31的两端部分别设置有转轴,每个所述转轴上设置有叶轮33,电机31的两端部外侧分别设置有蜗壳32,叶轮33位于对应的蜗壳32中。
具体的,通过单个电机31同时驱动两个叶轮33转动以有效的提高送风量。并且,叶轮33分布在电机31的两侧,使得整体质量分布均衡,提高电机31的运行平稳性。
本申请一实施例中,为了解决现有技术中风机中电机转轴时需要分布固定两端部而导致组装过程繁琐且组装效率较低的技术问题。
针对电机31支架进行如下结构改进。电机31支架包括悬挂架341和固定架342,固定架342的两侧部分别设置有连接孔3421和固定孔3422,悬挂架341的两侧分别设置有挂钩3411和螺柱3412,挂钩3411勾住对应的连接孔3421,螺柱3412穿过固定孔3422并螺纹连接有紧固螺母(未图示),电机31的两端部夹在悬挂架341和固定架342之间;其中,电机31支架设置在支撑板14上。
具体的,在将电机31安装到外壳1上时,先将悬挂架341固定安装在支撑板14上,然后,电机31的两端部被悬挂架341上支撑起,再将固定架342两侧的连接孔3421对应的套在挂钩3411中进行预装配,转动固定架342以使得螺柱3412插入到固定孔3422中,此时,电机31的两端部同时被固定架342固定住,通过在螺柱3412上拧紧紧固螺母便可以实现将电机31一次性的安装固定。
通过采用分体式的电机支架,悬挂架之间采用挂钩配合螺柱的方式与固定架连接,在组装时,通过一个固定架同时对电机的两端部完成固定安装,进而无需分两次来固定电机的端部,简化了组装过程并提高了组装效率。
一实施例中,为了方便操作人员安装固定架342,固定架342呈U型结构,固定架342包括中间连接部3423和两个侧压部3424,侧压部3424布置在中间连接部3423的端部,连接孔3421设置在侧压部3424的自由端部,固定孔3422设置在侧压部3424并靠近中间连接部3423。
具体的,固定架342整体呈U型结构,两个侧压部3424用于将电机31的两端部固定在悬挂架341上。操作时,两个侧压部3424上的连接孔3421与挂钩3411勾在一起后,操作人员转动中间连接部3423以使得侧压部3424转动压在电机31的端部。
一实施例中,侧压部3424上形成凹陷部3425,悬挂架341的两侧的下部设置有安装凹槽3413,安装凹槽3413位于挂钩3411和螺柱3412之间;电机31的端部位于安装凹槽3413和凹陷部3425之间。
具体的,在组装时,电机31的端部先放置在安装凹槽3413进行预定位,然后,将固定架342装配到悬挂架341上后,凹陷部3425和安装凹槽3413配合形成卡箍结构以实现牢固的固定电机31的端部。
一实施例中,电机31的端部设置有环形凹槽311,侧压部3424呈扁平结构,凹陷部3425的内表面还设置有限位凸起3426,限位凸起3426位于环形凹槽311中。
具体的,通过在电机31的端部形成环形凹槽311,在电机31放置在安装凹槽3413中后,环形凹槽311能够与安装凹槽3413相互配合实现定位。而在将固定架342组装到悬挂架341上后,限位凸起34263425将位于环形凹槽311中,进一步的对电机31进行限位和固定。
一实施例中,悬挂架341包括固定面板3414和两个侧支架3415,侧支架3415设置在固定面板3414的侧部,侧支架3415的底部设置有安装凹槽3413。
具体的,悬挂架341通过固定面板3414固定安装在支撑板14的表面上,而侧支架3415则用于承载电机31并与固定架342配合实现固定电机31。
一实施例中,侧支架3415的顶部设置有连接支脚3416,连接支脚3416固定连接在外壳1的上盖板上,固定面板3414通过螺钉固定连接在支撑板14上设置的加强部112上。
具体的,悬挂架341除了通过固定面板3414完成安装固定外,还进一步的通过连接支脚3416与所述上盖板上的加强部112进行连接,以满足外壳1吊挂安装后,电机31能够通过电机31支架稳固的安装在所述上盖板上。
本申请一实施例中,为了解决现有技术中蜗壳需要借助额外的连接件与支撑板连接而导致制造成本增加且组装效率低的技术问题。
支撑板14上还设置有辅助孔148,蜗壳32上还设置有连接板320,连接板320布置在所述吹风口的外周圈,连接板320上还设置有定位凸起3201,蜗壳32的顶部还设置有限位板3202,限位板3202布置在连接板320的外侧,限位板3202与连接板320之间形成限位插槽;连接板320贴靠在支撑板14一表面上并通过螺钉固定在支撑板14上,限位板3202穿过通风口147并贴靠在支撑板14的另一表面,定位凸起3201插在所述辅助孔中。
具体的,当需要将蜗壳32安装到支撑板14上时,先将限位板3202从支撑板14一侧经通风口147穿过,然后,调整定位凸起3201的位置并使得定位凸起3201插入到所述辅助孔中。此时,通风口147的边缘便插入到限位板3202与连接板320之间形成的限位插槽中,并配合定位凸起3201定位实现将蜗壳32预装到支撑板14上。
由于蜗壳32通过定位凸起3201精确的定位,并利用限位板3202使得连接板320能紧密的贴靠在支撑板14上。这样,连接板320与支撑板14相对应的螺钉孔能够精确的对齐,并通过少量的螺钉便可以完成将蜗壳32装配到支撑板14上。
通过将蜗壳直接安装固定在外壳中设置的隔板上,而无需额外增加安装板辅助安装固定,一方面节省安装板的使用以有效的降低制造成本,另一方面蜗壳上配置有连接板和限位板,利用限位板将蜗壳预装并限位在支撑板上,然后,通过螺钉将连接部直接固定在支撑板上,进而简化额外组装安装板的过程,实现简化了组装过程、提高了组装效率并降低了制造成本。
一实施例中,连接板320与蜗壳32之间设置有第一加强筋(未标记),限位板3202与蜗壳32之间设置有第二加强筋(未标记)。
具体的,连接板320和限位板3202上配置的加强筋能够进一步的增加两者的结构强度,以使得蜗壳32与支撑板14的连接部位可靠连接。
另一个实施例中,限位板3202的上端部内表面形成朝上倾斜向外的延伸的倾斜面(未标记)。
具体的,倾斜面的设计可以使得限位插槽的开口呈喇叭口结构,进而在装配时,使得通风口147的边缘能够顺畅的插入到限位插槽中。
而对于连接板320而言,第一壳体321的第一蜗舌的外部设置有连接板320和限位板3202,第二壳体322的所述第二蜗舌的外部设置有连接板320。第一壳体321和第二壳体322上的连接板320连接形成环形结构,以通过连接板320可靠的贴靠在支撑板14上。
本申请一实施例中,为了解决现有技术中蜗壳的吹风口距离换热器较远而导致换热效率降低的技术问题。
通风口147的下边缘设置有辅助导板148,支撑板14上位于辅助导板148的两侧还设置有连通通风口147的缝隙1481;蜗壳32的吹风口设置有导风板323,导风板323的截面为U型结构;导风板323的两侧经由缝隙1481插入到通风口147中,导风板323与辅助导板148形成送风通道,所述送风通道朝向换热器2方向延伸布置。
具体的,蜗壳32的吹风口上设置有向外延伸的导风板323,利用导风板323来延长对所述吹风口输出气流的导向,相对应的,支撑板14上设置有辅助导板148来与导风板323配合形成送风通道,送风通道朝向换热器2方向延伸,以使得输出的气流能够快速到达换热器进行热交换,减少气流在外壳中乱流,进而提高风管式空调器的换热器效率。
而在组装时,为了方便操作人员将导风板323插入到通风口147中,还在辅助导板148的两侧设置有缝隙1481。装配时,导风板323的两侧部可以借助缝隙1481伸入到通风口147中,以方便组装。
而蜗壳32装配到支撑板14上后,导风板323位于辅助导板148的上方,两者形成送风通道。
通过在支撑板的通风口处配置辅助导板,而蜗壳上则设置有截面为U型的导风板,导风板能够经由通风口两侧的缝隙顺畅的插入到通风口中以满足延长导风板的要求,导风板与辅助导板配合形成送风通道并朝向换热器方向延伸布置靠近换热器,使得输出的气流能够快速到达换热器进行热交换,减少气流在外壳中乱流,进而提高风管式空调器的换热器效率。
其中,对于导风板323而言,其设置在第一壳体321上,导风板323穿过通风口147并朝向换热器2方向延伸布置。
一实施例中,辅助导板148倾斜朝下延伸设置,侧导风部3232的下边缘也倾斜朝下延伸设置。
具体的,为了充分的利用换热器2的换热面积进行充分的换热,辅助导板148倾斜朝下延伸设置以使得从送风通道输出的气流能够覆盖换热器2的下部区域。
一实施例中,导风板323包括上导风部3231和两个侧导风部3232,所述导风部位于两个侧导风部3232之间,侧导风部3232的下边缘沿辅助导板148的侧边朝下延伸设置。而上导风部3231朝上倾斜延伸布置,所述送风通道的送风面积沿气流方向逐渐增大。
具体的,上导风部3231朝上倾斜延伸布置,使得从送风通道输出的气流还能够覆盖换热器2的上部区域,进而最大限度的利用换热器2的换热面积进行充分的换热操作。
实施例五、针对所述电器盒,为了解决现有技术中存在的多个技术问题,进行了如下相应的结构改进。
本申请一实施例中,为了解决现有技术中空调室内机需要配置独立的电器盒而导致制造成本增加且体积较大的技术问题。
如图1、图22和图23所示,电控盒4包括电控板41、安装板42和盒盖43,安装板42的一侧设置有弯折的第一延长板421,安装板42的另一侧设置有弯折的第二延长板422,电控板41设置在安装板42上;
其中,安装板42设置在所述上盖板和底板13之间,第一延长板421设置在支撑板14上,盒盖43与所述第一侧板并排布置并设置在支撑板14上,盒盖43设置在支撑板14上并遮盖住电控板41。
具体的,电控盒4中的安装板42设置在所述上盖板和底板13之间并连接在支撑板14上,盒盖43、安装板42以及外壳1共同组装形成用于安装电控板41的电控腔体。
这样,便可以无需配置完全独立的电控盒4,充分的利用外壳1自身结构以及外壳1的内部空间来形成电控盒4。
通过将电控盒的安装板设置在外壳中,安装板固定安装在外壳的上盖板和底板之间并还与支撑板连接,而盒盖则安装在支撑板上,这样,使得电控盒集成在外壳中,在组装外壳的过程中实现将电控盒安装集成在外壳内,一方面无需单独组装独立的电控盒,另一方面电控盒集成在外壳内整体结构更加紧凑,提高组装效率并缩小空调室内机的整体体积。
一实施例中,安装板42上还设置有散热器44,散热器44位于所述电控腔体的外部。
具体的,散热器44能够对安装板42上的电控板41进行散热。其中,安装板42设置有散热口,散热器44与电控板41导热连接,散热器44穿出所述散热口。
一实施例中,安装板42的下端部设置有弯折的第三延长板423,盒盖43的下端部设置有弯折的第四延长板431,第四延长板431插接在第三延长板423上;其中,盒盖43、第一延长板421、第二延长板422、第三延长板423、第四延长板431和所述上盖板形成电控腔体,电控板41位于所述电控腔体中。
具体的,为了方便安装盒盖43,则在安装板42的下端部设置有第三延长板423,盒盖43在安装时,盒盖43通过第四延长板431与第三延长板423插接在一起以形成电控盒4的盒底。
一实施例中,支撑板14上设置有第一卡爪140,第一延长板421上设置有第一卡孔424,第一卡爪140卡在第一卡孔424中。
具体的,为了方便快速组装安装板42,则采用第一卡爪140与第一卡孔424配合,以使得安装板42能够预装在支撑板14上,然后,在通过螺钉将第一延长板421固定在支撑板14上。
一实施例中,第二延长板422的上边缘设置有朝向外侧翘起的第二卡爪425,第二卡爪425卡在所述上盖板的边缘。
具体的,在安装安装板42的过程中,第一延长板421与支撑板14之间通过第一卡爪140实现与装配,而安装板42的另一侧则通过第二延长板422上的第二卡爪425与所述上盖板实现预装配。
一实施例中,第二延长板422的上端部还设置有朝向所述第一侧板方向弯折的安装部428,安装部428上设置有第五卡槽429,其中一吊钩15的第四卡舌151卡在第五卡槽429中。
具体的,由于两个侧板12长度不一,对于较短的侧板12其角部安装有吊钩15,而较短的侧板12同侧的另一个角部的吊钩15在安装在安装部428上。
本申请一实施例中,为了解决现有技术电控盒走线需要将线缆在外壳内部穿过走线孔而导致组装效率低且维修难度大的技术问题。
所述出风腔体中设置有传感器,支撑板14的一端部设置有第一缺口结构149,安装板42位于在所述进风腔体中并设置在支撑板14靠近第一缺口结构149的端部,所述传感器上的线缆经由第一缺口结构149与电控板41连接,风机3上的线缆经由走线缺口426与电控板41连接。安装板42与风机3布置在支撑板14的同一侧,安装板42的边缘设置有走线缺口426,风机3上的线缆经由走线缺口426与电控板41连接。
具体的,电控盒4中的电控板41需要通过线缆与电控盒4外部的相关电器件进行连接,而电控盒4布置在所述进风腔体中并位于风机3的一侧,所述进风腔体中的风机3等电器件上的线缆则可以经由走线缺口426布线并与电控板41电连接。
而对于被支撑板14间隔开的所述出风腔体中的传感器6等电器件,所述传感器上的线缆则需要越过支撑板14才能够进入到电控盒4中与电控板41进行连接。为了减少线缆穿孔,则采用在支撑板14的一端部设置第一缺口结构149,这样,所述传感器上的线缆则仅需要绕过第一缺口结构149,便可以穿过支撑板14并与电控板41进行连接。
通过在支撑板的一端部设置第一缺口结构,以方便操作人员直接将线缆卡在第一缺口结构中完成进风腔体和出风腔体之间的布线,而对于进风腔体内的线缆布线,则可以将线缆卡在走线缺口中完成进风腔体内的布线,进而减少线缆穿孔的操作,简化组装过程;同时,在维修时,线缆能够方便的从缺口中直接拉出更换,有效的降低维修难度。
一实施例中,两个侧板12分为第一侧板和第二侧板,所述第一侧板的长度小于所述第二侧板的长度;其中,电控盒4和所述第一侧板并排布置在外壳1的同一侧,所述第一侧板上设置有第二缺口结构128,第二缺口结构128布置在第一缺口结构149的外侧。
具体的,在组装过程中,所述传感器上的线缆可以在未组装侧板12之前进行布线。而在后期维修过程中,为了方便操作人员维修操作,还可以在较短的侧板12的边缘设置第二缺口结构128,第二缺口结构128比邻在第一缺口结构149的一侧,这样,根据维修要求,使得线缆能够从第一缺口结构149拉入到第二缺口结构128中以方便维修操作。
而对于第二缺口结构128其可以连通第一侧板上设置有安装口123,这样,在维修过程中,可以借助开口空间更大的安装口123来进行维修操作。
一实施例中,第一延长板421上还设置有避让缺口427,第一缺口结构149布置在避让缺口221所在区域。
具体的,由于电控盒4所形成的电控腔体借助外壳1一同形成,为了更方便的走线,则在第一延长板421上设置避让缺口427来避让开第一缺口结构149,这样,线缆从第一缺口结构149走线便可以直接进入到电控腔体中与电控板41连接。
实施例六、基于上述实施例一实施例五,为了解决现有技术中依靠底板作为安装基础在组装过程中使用螺钉数量较多且组装精度和效率低的技术问题。
如图24所示,以所述上盖板作为组装基础,将相关零部件组装到所述上盖板上,以实现倒置式组装。为此,为了满足倒置式安装的要求,对于支撑板14上配置的第一卡爪140则朝下延伸布置,而对于除支撑板14上之外的卡舌、卡爪、则朝上延伸布置。
这样,在组装侧板12和安装板42的过程中,便可以由上至下将侧板12、安装板42等部件插装到支撑板14上。
一实施例中,对于风机3的组装,定位卡舌3221和卡扣3222均朝上延伸,叶轮33位于第一壳体321和第二壳体322之间,定位卡舌3221插在定位卡槽3211中,卡扣3222插在插口3212中;其中,第一壳体321位于第二壳体322的上方。
具体的,在组装时,先将第一壳体321安装到支撑板14上,并将悬挂架341安装在所述上盖板和支撑板14上,然后,将电机31连通叶轮33进行组装。
电机31则放置在悬挂架341上,而叶轮33则位于第一壳体321中;电机31进一步的通过固定架342固定安装,第二壳体322则装配到第一壳体321上,以使得叶轮33位于蜗壳32中。
一实施例中,对于换热器2的组装,辅助连接件146倾斜向下朝向第二支撑板1331方向延伸;换热器2的一端部固定在第一支撑板1271的下表面,换热器2的另一端部固定在第二支撑板1331与辅助连接件146之间。
具体的,换热器2的一端部通过第二支撑板1331与辅助连接件146进行支撑和固定,并且,使得换热器2夹在第二支撑板1331与辅助连接件146之间。
而换热器2的另一端部在组装时,由于外壳1整体倒置,则使得第一支撑板1271的下表面朝上,这样,换热器2的端部则对应的搭接在第一支撑板1271的下表面,进而方便操作人员进行组装。
一实施例中,对于电控盒4而言,安装板42采用向下插装的方式卡在支撑板14设置的第一卡爪140上以实现预定位,然后,在通过螺钉将第一延长板421固定在支撑板14上。
一实施例中,对于其他辅助器件的安装,主要集中在第二安装架133与比邻侧的侧板12之间形成安装空间中,安装空间中根据需要安装有所述传感器(如水位检测器)和排水泵7,所述水位检测器和所述排水泵位于所述安装空间中。
具体的,在组装时,以所述传感器为水位检测器为例,水位检测器可以通过固定支架61插装到第二安装架133上,而固定支架61也可以采用卡装的方式卡在第二安装架133的下部位置。
而对于所述排水泵而言,则其经由侧板12上其中一安装口123安装到安装空间中。而为了方便固定支撑所述排水泵,所述排水泵可以通过泵架安装在对应的挡板124上。
一实施例中,在组装好风机3和换热器2等相关部件后,再将接水盘5扣在换热器2上,最后,再安装底板13以完成整体的组装操作。
在上述实施方式的描述中,具体特征、结构、材料或者特点可以在任何的一个或多个实施例或示例中以合适的方式结合。
以上仅为本实用新型的具体实施方式,但本实用新型的保护范围并不局限于此,任何熟悉本技术领域的技术人员在本实用新型揭露的技术范围内,可轻易想到的变化或替换,都应涵盖在本实用新型的保护范围之内。因此,本实用新型的保护范围应以权利要求的保护范围为准。
Claims (10)
1.一种空调器,其特征在于,包括:
外壳,所述外壳中设置有支撑板,所述支撑板上设置有通风口,所述支撑板将所述外壳的内部间隔为进风腔体和出风腔体,所述外壳上设置有进风口和出风口,所述进风口连通所述进风腔体,所述出风口连通所述出风腔体;
换热器,所述换热器位于所述出风腔体中;
风机,所述风机包括电机、叶轮、蜗壳和电机支架,所述蜗壳设置有吸风口和吹风口,所述叶轮设置在所述蜗壳中,所述电机与所述叶轮连接,所述电机支架包括悬挂架和固定架,所述固定架的两侧部分别设置有连接孔和固定孔,所述悬挂架的两侧分别设置有挂钩和螺柱,所述挂钩勾住对应的所述连接孔,所述螺柱穿过所述固定孔并螺纹连接有紧固螺母,所述电机的两端部夹在所述悬挂架和所述固定架之间;
其中,所述电机支架设置在所述支撑板上,所述吹风口与所述通风口连通。
2.根据权利要求1所述的空调器,其特征在于,所述固定架呈U型结构,所述固定架包括中间连接部和两个侧压部,所述侧压部布置在所述中间连接部的端部,所述连接孔设置在所述侧压部的自由端部,所述固定孔设置在所述侧压部并靠近所述中间连接部。
3.根据权利要求2所述的空调器,其特征在于,所述侧压部上形成凹陷部,所述悬挂架的两侧的下部设置有安装凹槽,所述安装凹槽位于所述挂钩和所述螺柱之间;所述电机的端部位于所述安装凹槽和所述凹陷部之间。
4.根据权利要求3所述的空调器,其特征在于,所述电机的端部设置有环形凹槽,所述侧压部呈扁平结构,所述凹陷部的内表面还设置有限位凸起,所述限位凸起位于所述环形凹槽中。
5.根据权利要求3所述的空调器,其特征在于,所述悬挂架包括固定面板和两个侧支架,所述侧支架设置在所述固定面板的侧部,所述侧支架的底部设置有所述安装凹槽。
6.根据权利要求5所述的空调器,其特征在于,所述侧支架的顶部设置有连接支脚,所述连接支脚固定连接在所述外壳的上盖板上,所述固定面板通过螺钉固定连接在所述支撑板上。
7.根据权利要求1-6任一项所述的空调器,其特征在于,所述蜗壳包括第一壳体和第二壳体,所述第一壳体和所述第二壳体的内壁均为弧面,所述第一壳体的一侧的两端部分别设置有定位卡槽,所述第一壳体的另一侧的两端部分别设置有插扣,所述第二壳体的一侧的两端部分别设置有定位卡舌,所述第二壳体的另一侧的两端部分别设置有卡扣;
其中,所述叶轮位于所述第一壳体和所述第二壳体之间,所述定位卡舌插在所述定位卡槽中,所述卡扣插在所述插扣中;所述第一壳体和所述第二壳体的端部之间形成吸风口,所述第一壳体和所述第二壳体的侧部形成吹风口。
8.根据权利要求7所述的空调器,其特征在于,所述第一壳体的另一侧部边缘设置有第一定位孔,所述第二壳体的另一侧部边缘设置有第一定位柱,所述第一定位柱插在所述第一定位孔中;
和/或,所述定位卡舌的一侧设置有第二定位柱,所述定位卡槽的一侧设置有第二定位孔,所述第二定位柱插在所述第二定位孔中。
9.根据权利要求7所述的空调器,其特征在于,所述卡扣的两侧设置有两个背向布置的弹性卡,所述弹性卡插在所述插扣并卡在所述插扣的边缘。
10.根据权利要求9所述的空调器,其特征在于,所述卡扣还设置有支撑筋,所述支撑筋上设置有导向凹槽,所述支撑筋位于两个所述弹性卡之间,所述插扣的内壁设置有导向筋,所述导向筋位于所述导向凹槽中。
Priority Applications (1)
| Application Number | Priority Date | Filing Date | Title |
|---|---|---|---|
| CN202222007533.5U CN218119941U (zh) | 2022-08-01 | 2022-08-01 | 空调器 |
Applications Claiming Priority (1)
| Application Number | Priority Date | Filing Date | Title |
|---|---|---|---|
| CN202222007533.5U CN218119941U (zh) | 2022-08-01 | 2022-08-01 | 空调器 |
Publications (1)
| Publication Number | Publication Date |
|---|---|
| CN218119941U true CN218119941U (zh) | 2022-12-23 |
Family
ID=84520434
Family Applications (1)
| Application Number | Title | Priority Date | Filing Date |
|---|---|---|---|
| CN202222007533.5U Active CN218119941U (zh) | 2022-08-01 | 2022-08-01 | 空调器 |
Country Status (1)
| Country | Link |
|---|---|
| CN (1) | CN218119941U (zh) |
Cited By (2)
| Publication number | Priority date | Publication date | Assignee | Title |
|---|---|---|---|---|
| CN118499862A (zh) * | 2023-02-16 | 2024-08-16 | 青岛海信日立空调系统有限公司 | 空调室内机 |
| WO2025179692A1 (zh) * | 2024-03-01 | 2025-09-04 | 青岛海信日立空调系统有限公司 | 空调器 |
-
2022
- 2022-08-01 CN CN202222007533.5U patent/CN218119941U/zh active Active
Cited By (4)
| Publication number | Priority date | Publication date | Assignee | Title |
|---|---|---|---|---|
| CN118499862A (zh) * | 2023-02-16 | 2024-08-16 | 青岛海信日立空调系统有限公司 | 空调室内机 |
| WO2024169247A1 (zh) * | 2023-02-16 | 2024-08-22 | 青岛海信日立空调系统有限公司 | 空调器 |
| CN118499862B (zh) * | 2023-02-16 | 2025-12-19 | 青岛海信日立空调系统有限公司 | 空调室内机 |
| WO2025179692A1 (zh) * | 2024-03-01 | 2025-09-04 | 青岛海信日立空调系统有限公司 | 空调器 |
Similar Documents
| Publication | Publication Date | Title |
|---|---|---|
| CN218119941U (zh) | 空调器 | |
| KR19990082444A (ko) | 에어컨용스냅끼워맞춤필터 | |
| CN218495095U (zh) | 风管式空调机 | |
| CN218721866U (zh) | 风管机 | |
| CN218495094U (zh) | 空调室内机 | |
| CN218495093U (zh) | 外壳组件及空调室内机 | |
| CN218495105U (zh) | 吊挂式室内机 | |
| CN218119901U (zh) | 接水盘及空调室内机 | |
| KR100296892B1 (ko) | 에어컨의실내부분구조 | |
| CN117212892A (zh) | 管道式空调室内机 | |
| KR100264872B1 (ko) | 에어컨 실외부 구조 | |
| KR100271458B1 (ko) | 압축기장착장치 | |
| CN218154491U (zh) | 吊顶式室内机 | |
| CN217783826U (zh) | 风机及空调室内机 | |
| CN218721883U (zh) | 室内机 | |
| CN218495118U (zh) | 风管式空调器 | |
| CN215675499U (zh) | 空调器 | |
| CN220689209U (zh) | 管道式空调室内机 | |
| CN211261220U (zh) | 接水盘和窗式空调器 | |
| KR19990082440A (ko) | 에어컨용 팬 및 모터 조립체 | |
| KR100264871B1 (ko) | 에어컨용 모터 장착부 | |
| CN221923703U (zh) | 空调室内机 | |
| KR100353776B1 (ko) | 에어컨및에어컨용증발기모듈 | |
| PL218603B1 (pl) | Okap kuchenny z wyciągiem z obudową | |
| CN212179049U (zh) | 整体式空调器 |
Legal Events
| Date | Code | Title | Description |
|---|---|---|---|
| GR01 | Patent grant | ||
| GR01 | Patent grant |