CN218102154U - A high-voltage and low-voltage switch cabinet for power distribution room that is easy to maintain - Google Patents
A high-voltage and low-voltage switch cabinet for power distribution room that is easy to maintain Download PDFInfo
- Publication number
- CN218102154U CN218102154U CN202222336162.5U CN202222336162U CN218102154U CN 218102154 U CN218102154 U CN 218102154U CN 202222336162 U CN202222336162 U CN 202222336162U CN 218102154 U CN218102154 U CN 218102154U
- Authority
- CN
- China
- Prior art keywords
- cabinet
- power distribution
- seat
- cabinet body
- inner cavity
- Prior art date
- Legal status (The legal status is an assumption and is not a legal conclusion. Google has not performed a legal analysis and makes no representation as to the accuracy of the status listed.)
- Expired - Fee Related
Links
Images
Landscapes
- Patch Boards (AREA)
Abstract
本实用新型涉及一种配电室用便于检修的高低压开关柜,包括柜体,所述柜体正面的两侧均通过合页铰接有柜门,所述柜门的左侧嵌设有控制面板,所述柜门相向的中心处嵌设有锁具,所述柜体的背面固定连接有固定架,所述固定架和柜体相向的两侧均开设有竖槽,所述固定架的内腔设置有与柜体配合使用的调节机构。通过设置调节机构,由电动推杆提供驱动来源,再由滑轨座、升降座、连杆、推座、限位凸块和支架的配合,对元件安装架上的电器元件全部推至柜体外侧,使元件安装架上的电器元件裸露出来,方便维修人员对裸露出来的电器元件进行快速维修,无需深入柜体内进行维修工作,降低维修人员的维修难度和维修强度。
The utility model relates to a high-voltage and low-voltage switchgear for power distribution room which is convenient for maintenance. panel, a lock is embedded in the center of the cabinet door facing each other, a fixing frame is fixedly connected to the back of the cabinet body, vertical grooves are opened on the opposite sides of the fixing frame and the cabinet body, and the inner side of the fixing frame The cavity is provided with an adjustment mechanism used in conjunction with the cabinet body. By setting the adjustment mechanism, the driving source is provided by the electric push rod, and then all the electrical components on the component mounting frame are pushed to the cabinet by the cooperation of the slide rail seat, lifting seat, connecting rod, push seat, limit bump and bracket. On the outside, the electrical components on the component mounting rack are exposed, which is convenient for maintenance personnel to quickly repair the exposed electrical components without going deep into the cabinet for maintenance work, reducing the maintenance difficulty and intensity of maintenance personnel.
Description
技术领域technical field
本实用新型涉及高低压开关柜技术领域,尤其涉及一种配电室用便于检修的高低压开关柜。The utility model relates to the technical field of high and low voltage switch cabinets, in particular to a high and low voltage switch cabinet for power distribution rooms which is convenient for maintenance.
背景技术Background technique
高低压开关柜顾名思义就是接高压或低压线缆的设备,一般供电局、变电所都是用高压柜,然后经变压器降压再到低压柜,低压柜再到各个用电的配电箱,里面无非就是把一些开关断路器之类保护器件组装成一体的电气设备。As the name suggests, the high and low voltage switchgear is a device for connecting high-voltage or low-voltage cables. Generally, power supply bureaus and substations use high-voltage cabinets, which are then stepped down by transformers to low-voltage cabinets, and then to various power distribution boxes. It is nothing more than an electrical device that assembles some protective devices such as switch circuit breakers into one.
高低压开关柜为配电室中必不可少的一种电气控制柜,而对比例公开一种配电室用便于检修的高低压开关柜(授权号:CN216436596U)提出的:“通过底座、柜体、第一电机、螺纹杆﹑螺纹管、支撑板﹑盖板、滑轨板、进风管、制冷器、温湿度传感器、排风管、第二电机、扇叶、支架、固定板、安装导轨、固定杆、固定槽、拉手、限位杆和限位槽的配合使用,具备方便检修和散热效果好的优点,解决了现有的配电室用高低压开关柜不方便进行检修,维修人员需要探身进开关柜内部进行检修,非常不便,而且散热效果不好,从而容易降低配电室用高低压开关柜实用性的问题”,由于高低压开关柜电器元件安装位置较深,且对于没打开柜门位置的电器元件来说,维修人员仍需伸入高低压开关柜内进行维修,无法对高低压开关柜内部电器元件进行全部推出检修,提高维修人员的维修难度和劳动强度。The high and low voltage switchgear is an indispensable electrical control cabinet in the power distribution room, and the comparative example discloses a high and low voltage switchgear for power distribution room that is easy to overhaul (authorization number: CN216436596U): Body, first motor, threaded rod, threaded pipe, support plate, cover plate, slide rail plate, air inlet pipe, refrigerator, temperature and humidity sensor, exhaust pipe, second motor, fan blade, bracket, fixing plate, installation The combination of guide rails, fixing rods, fixing grooves, handles, limit rods and limit grooves has the advantages of convenient maintenance and good heat dissipation, and solves the problem of inconvenient maintenance and maintenance of the existing high and low voltage switch cabinets for power distribution rooms. Personnel need to lean into the switchgear for maintenance, which is very inconvenient, and the heat dissipation effect is not good, which easily reduces the practicality of the high and low voltage switchgear used in the power distribution room." For the electrical components without opening the cabinet door, the maintenance personnel still need to reach into the high and low voltage switchgear for maintenance, and it is impossible to push out and repair all the electrical components inside the high and low voltage switchgear, which increases the maintenance difficulty and labor intensity of the maintenance personnel.
实用新型内容Utility model content
本实用新型的目的是为了解决现有技术中存在无法对高低压开关柜内部电器元件进行全部推出检修,提高维修人员的维修难度和劳动强度的缺点,而提出的一种配电室用便于检修的高低压开关柜。The purpose of this utility model is to solve the shortcomings in the prior art that it is impossible to push out and overhaul all the electrical components inside the high and low voltage switchgear, and to improve the maintenance difficulty and labor intensity of maintenance personnel, and propose a power distribution room that is easy to overhaul. high and low voltage switchgear.
为了实现上述目的,本实用新型采用了如下技术方案:In order to achieve the above object, the utility model adopts the following technical solutions:
一种配电室用便于检修的高低压开关柜,包括柜体,所述柜体正面的两侧均通过合页铰接有柜门,所述柜门的左侧嵌设有控制面板,所述柜门相向的中心处嵌设有锁具,所述柜体的背面固定连接有固定架,所述固定架和柜体相向的两侧均开设有竖槽,所述固定架的内腔设置有与柜体配合使用的调节机构。A high-voltage and low-voltage switch cabinet for power distribution rooms that is easy to overhaul, including a cabinet body, cabinet doors are hinged on both sides of the front of the cabinet body, and a control panel is embedded on the left side of the cabinet door. A lock is embedded in the center of the cabinet door facing each other, a fixing frame is fixedly connected to the back of the cabinet body, vertical grooves are opened on the opposite sides of the fixing frame and the cabinet body, and the inner cavity of the fixing frame is provided with a The adjustment mechanism used in conjunction with the cabinet.
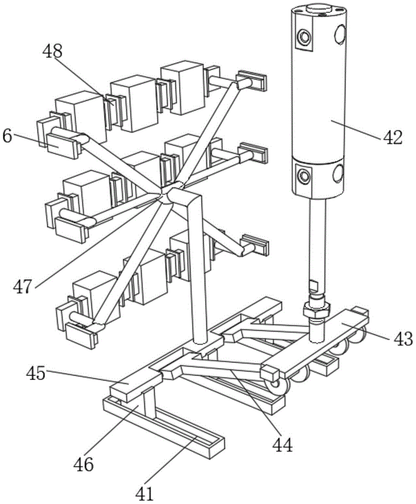
优选的,所述调节机构包括滑轨座,所述滑轨座从左至右依次固定在柜体内腔的底部,所述固定架的顶部竖向固定连接有电动推杆,所述电动推杆的活塞杆固定连接有升降座,所述升降座底部的两侧均铰接有与竖槽配合使用的连杆,所述连杆的另一侧铰接有推座且推座的底部从左至右依次固定连接有与滑轨座滑动配合的限位凸块,所述推座顶部的中心处固定连接有支架且支架的正面从上至下依次固定连接有元件安装架。Preferably, the adjustment mechanism includes a slide rail seat, and the slide rail seat is sequentially fixed on the bottom of the inner cavity of the cabinet from left to right, and an electric push rod is vertically fixedly connected to the top of the fixed frame, and the electric push rod The piston rod of the piston rod is fixedly connected with a lifting seat, and both sides of the bottom of the lifting seat are hinged with a connecting rod used in conjunction with the vertical groove, and the other side of the connecting rod is hinged with a push seat and the bottom of the push seat is from left to right. The limit projections which are slidingly matched with the slide rail seat are sequentially fixedly connected, the center of the top of the push seat is fixedly connected with a bracket and the front of the bracket is sequentially fixedly connected with a component mounting frame from top to bottom.
优选的,所述元件安装架的表面从左至右依次滑动连接有电器元件,所述元件安装架的表面从左至右依次固定连接有与电器元件配合使用的限位块。Preferably, electrical components are slidably connected to the surface of the component mounting frame from left to right in sequence, and limit blocks used in conjunction with electrical components are fixedly connected to the surface of the component mounting frame from left to right in sequence.
优选的,所述固定架内腔的两侧均竖向开设有限位滑槽且限位滑槽的内腔滑动连接有与升降座固定配合的限位滑块。Preferably, both sides of the inner cavity of the fixing frame are vertically provided with limiting chute, and the inner cavity of the limiting chute is slidably connected with a limiting slider fixedly matched with the lifting seat.
优选的,所述柜体内腔的两侧从上至下依次横向开设有T型滑槽,所述T型滑槽的内腔滑动连接有与元件安装架固定配合的T型滑块。Preferably, both sides of the inner cavity of the cabinet are horizontally provided with T-shaped chute from top to bottom sequentially, and the inner cavity of the T-shaped chute is slidably connected with a T-shaped slider fixedly matched with the component mounting frame.
优选的,所述柜门背面的左侧固定连接有与控制面板配合使用的温湿度传感器,所述柜体内腔两侧的中心处均嵌设有电动散热扇。Preferably, a temperature and humidity sensor used in conjunction with the control panel is fixedly connected to the left side of the back of the cabinet door, and electric cooling fans are embedded in the centers of both sides of the cabinet cavity.
优选的,所述柜体内腔的两侧均设置有导流格栅,所述导流格栅沿柜体的纵轴线呈对角状态分布,所述导流格栅格栅叶片的外侧转动连接有转轴。Preferably, both sides of the inner cavity of the cabinet are provided with diversion grilles, the diversion grilles are distributed diagonally along the longitudinal axis of the cabinet, and the outer sides of the vanes of the diversion grills are rotatably connected There is a rotating shaft.
本实用新型中,所述一种配电室用便于检修的高低压开关柜,通过设置调节机构,由电动推杆提供驱动来源,再由滑轨座、升降座、连杆、推座、限位凸块和支架的配合,对元件安装架上的电器元件全部推至柜体外侧,使元件安装架上的电器元件裸露出来,方便维修人员对裸露出来的电器元件进行快速维修,无需深入柜体内进行维修工作,降低维修人员的维修难度和维修强度。In the utility model, the high and low voltage switchgear for the power distribution room is convenient for maintenance. By setting the adjustment mechanism, the driving source is provided by the electric push rod, and then the sliding rail seat, the lifting seat, the connecting rod, the pushing seat, the limiter The cooperation between the bit bump and the bracket pushes all the electrical components on the component mounting frame to the outside of the cabinet, exposing the electrical components on the component mounting frame, which is convenient for maintenance personnel to quickly repair the exposed electrical components without going deep into the cabinet Maintenance work is carried out inside the body, reducing the maintenance difficulty and intensity of maintenance personnel.
通过限位块,对电器元件的滑动距离进行限位,防止相邻电器元件之间出现磕碰窜电,通过限位滑槽和限位滑块,对升降座提供辅助滑动支撑补偿,提高升降座升降时的平稳性,同时也防止升降座出现偏移晃动,通过T型滑槽和T型滑块,对元件安装架提供辅助滑动限位补偿,提高元件安装架推出和复位过程中的顺畅性,同时也对元件安装架进行受力承载。The sliding distance of the electrical components is limited by the limit block to prevent collision and electric current between adjacent electrical components, and the auxiliary sliding support compensation is provided for the lifting seat through the limit chute and the limit slider to improve the lift seat Stability during lifting, and at the same time prevent the lifting seat from shifting and shaking. Through the T-shaped chute and T-shaped slider, it provides auxiliary sliding limit compensation for the component mounting frame, and improves the smoothness of the component mounting frame in the process of pushing out and resetting. , and also bear the force on the component mounting frame.
通过温湿度传感器,对柜体内环境的温湿度变化进行实时感应,使柜体内的工作环境达到最佳状态,使元件安装架上电器元件的正常运行,通过电动散热扇,对柜体内的热量进行风力散热处理,降低柜体内的热量,提升元件安装架上电器元件的运行性能,通过沿柜体纵轴线呈对角状态分布的导流格栅,对柜体内的风力和热量进行对角导流换气处理,提高柜体内气流的流动性,通过转轴,对导流格栅上的格栅叶片进行转向处理,对不同方位的气流进行导流换气操作,避免气流在柜体内出现紊乱,散热不佳的情况。Through the temperature and humidity sensor, the temperature and humidity changes in the cabinet are sensed in real time, so that the working environment in the cabinet can reach the best state, and the electrical components on the component mounting rack can be operated normally. Through the electric cooling fan, the heat in the cabinet can be controlled. Wind heat dissipation treatment reduces the heat in the cabinet and improves the operating performance of the electrical components on the component mounting rack. Through the diversion grids distributed diagonally along the longitudinal axis of the cabinet, the wind and heat in the cabinet are diverted diagonally Ventilation treatment improves the fluidity of the airflow in the cabinet. Through the rotating shaft, the grille blades on the diversion grille are turned, and the airflow in different directions is diverted and ventilated, so as to avoid the disorder of the airflow in the cabinet and improve the heat dissipation. bad situation.
附图说明Description of drawings
图1为本实用新型提出的一种配电室用便于检修的高低压开关柜的结构示意图;Fig. 1 is a schematic structural view of a high and low voltage switchgear that is convenient for maintenance in a power distribution room proposed by the utility model;
图2为本实用新型提出的一种配电室用便于检修的高低压开关柜的结构后视图;Fig. 2 is a rear view of the structure of a high and low voltage switchgear that is convenient for maintenance in a power distribution room proposed by the utility model;
图3为本实用新型提出的一种配电室用便于检修的高低压开关柜的结构开启示意图;Fig. 3 is a schematic diagram of opening the structure of a high-voltage and low-voltage switchgear that is convenient for maintenance in a power distribution room proposed by the utility model;
图4为本实用新型提出的一种配电室用便于检修的高低压开关柜的结构局部侧视剖面图;Fig. 4 is a partial side sectional view of the structure of a high and low voltage switchgear for power distribution room that is convenient for maintenance proposed by the utility model;
图5为本实用新型提出的调节机构的结构局部侧视图。Fig. 5 is a partial side view of the structure of the adjustment mechanism proposed by the utility model.
图中:1、柜体;2、柜门;3、固定架;4、调节机构;41、滑轨座;42、电动推杆;43、升降座;44、连杆;45、推座;46、限位凸块;47、支架;48、元件安装架;5、T型滑槽;6、T型滑块;7、温湿度传感器;8、电动散热扇;9、导流格栅。In the figure: 1, cabinet body; 2, cabinet door; 3, fixed frame; 4, adjustment mechanism; 41, slide rail seat; 42, electric push rod; 43, lifting seat; 44, connecting rod; 45, push seat; 46. Limiting bump; 47. Bracket; 48. Component mounting frame; 5. T-shaped chute; 6. T-shaped slider; 7. Temperature and humidity sensor; 8. Electric cooling fan; 9. Guide grill.
具体实施方式detailed description
下面将结合本实用新型实施例中的附图,对本实用新型实施例中的技术方案进行清楚、完整地描述,显然,所描述的实施例仅仅是本实用新型一部分实施例,而不是全部的实施例。The technical solutions in the embodiments of the present invention will be clearly and completely described below in conjunction with the accompanying drawings in the embodiments of the present invention. Obviously, the described embodiments are only part of the embodiments of the present invention, not all of them. example.
实施例一Embodiment one
参照图1-5,一种配电室用便于检修的高低压开关柜,包括柜体1,柜体1正面的两侧均通过合页铰接有柜门2,柜门2的左侧嵌设有控制面板,柜门2相向的中心处嵌设有锁具,柜体1的背面固定连接有固定架3,固定架3和柜体1相向的两侧均开设有竖槽,固定架3的内腔设置有与柜体1配合使用的调节机构4,通过设置调节机构4,由电动推杆42提供驱动来源,再由滑轨座41、升降座43、连杆44、推座45、限位凸块46和支架47的配合,对元件安装架48上的电器元件全部推至柜体1外侧,使元件安装架48上的电器元件裸露出来,方便维修人员对裸露出来的电器元件进行快速维修,无需深入柜体1内进行维修工作,降低维修人员的维修难度和维修强度。Referring to Figures 1-5, a high and low voltage switchgear for power distribution rooms that is easy to overhaul includes a cabinet body 1, both sides of the front of the cabinet body 1 are hinged with a
实施例二Embodiment two
在实施例一的基础上改进:一种配电室用便于检修的高低压开关柜,包括柜体1,柜体1内腔两侧的中心处均嵌设有电动散热扇8,对柜体1内的热量进行风力散热处理,降低柜体1内的热量,提升元件安装架48上电器元件的运行性能,柜体1内腔的两侧均设置有导流格栅9,导流格栅9沿柜体1的纵轴线呈对角状态分布,对柜体1内的风力和热量进行对角导流换气处理,提高柜体1内气流的流动性,导流格栅9格栅叶片的外侧转动连接有转轴,对导流格栅9上的格栅叶片进行转向处理,对不同方位的气流进行导流换气操作,避免气流在柜体1内出现紊乱,散热不佳的情况,柜体1正面的两侧均通过合页铰接有柜门2,柜门2的左侧嵌设有控制面板,柜门2背面的左侧固定连接有与控制面板配合使用的温湿度传感器7,对柜体1内环境的温湿度变化进行实时感应,使柜体1内的工作环境达到最佳状态,使元件安装架48上电器元件的正常运行,柜门2相向的中心处嵌设有锁具,柜体1的背面固定连接有固定架3,固定架3和柜体1相向的两侧均开设有竖槽,固定架3的内腔设置有与柜体1配合使用的调节机构4,调节机构4包括滑轨座41,滑轨座41从左至右依次固定在柜体1内腔的底部,固定架3的顶部竖向固定连接有电动推杆42,电动推杆42的活塞杆固定连接有升降座43,固定架3内腔的两侧均竖向开设有限位滑槽且限位滑槽的内腔滑动连接有与升降座43固定配合的限位滑块,对升降座43提供辅助滑动支撑补偿,提高升降座43升降时的平稳性,同时也防止升降座43出现偏移晃动,升降座43底部的两侧均铰接有与竖槽配合使用的连杆44,连杆44的另一侧铰接有推座45且推座45的底部从左至右依次固定连接有与滑轨座41滑动配合的限位凸块46,推座45顶部的中心处固定连接有支架47且支架47的正面从上至下依次固定连接有元件安装架48,元件安装架48的表面从左至右依次滑动连接有电器元件,元件安装架48的表面从左至右依次固定连接有与电器元件配合使用的限位块,对电器元件的滑动距离进行限位,防止相邻电器元件之间出现磕碰窜电,柜体1内腔的两侧从上至下依次横向开设有T型滑槽5,T型滑槽5的内腔滑动连接有与元件安装架48固定配合的T型滑块6,对元件安装架48提供辅助滑动限位补偿,提高元件安装架48推出和复位过程中的顺畅性,同时也对元件安装架48进行受力承载,通过设置调节机构4,由电动推杆42提供驱动来源,再由滑轨座41、升降座43、连杆44、推座45、限位凸块46和支架47的配合,对元件安装架48上的电器元件全部推至柜体1外侧,使元件安装架48上的电器元件裸露出来,方便维修人员对裸露出来的电器元件进行快速维修,无需深入柜体1内进行维修工作,降低维修人员的维修难度和维修强度。Improvement on the basis of Embodiment 1: a high and low voltage switch cabinet for power distribution room that is easy to overhaul, including a cabinet body 1, and
本实用新型中,首先由温湿度传感器7实时对柜体1内温湿度环境进行监测,在柜体1内温湿度数据超过温湿度传感器7预设范围值时,控制两组电动散热扇8开启并产生风力气流,然后热量跟随风力气流经过两组对角分布的导流格栅9格栅叶片进行转动排出即可,使柜体1内的温湿度环境达到最佳状态;In the utility model, first, the temperature and
在维修人员对元件安装架48上的电器元件进行检修时,先打开柜体1上两侧柜门2,接着控制电动推杆42开启并带动升降座43下移,升降座43带动两根连杆44同步下移的同时,两根连杆44的倾角随之减小,由限位凸块46和滑轨座41对推座45提供滑动限位补偿,则两根连杆44同步带动推座45向外推动,由T型滑块6和T型滑槽5对元件安装架48提供滑动限位补偿,则推座45再通过支架47带动三组元件安装架48上的三组电器元件向外推动,直至三组元件安装架48上的三组电器元件到达柜体1外侧为止,最后维修人员再使用工具对裸露而出三组元件安装架48上的三组电器元件进行维修作业即可。When the maintenance personnel overhaul the electrical components on the
以上所述,仅为本实用新型较佳的具体实施方式,但本实用新型的保护范围并不局限于此,任何熟悉本技术领域的技术人员在本实用新型揭露的技术范围内,根据本实用新型的技术方案及其实用新型构思加以等同替换或改变,都应涵盖在本实用新型的保护范围之内。The above is only a preferred embodiment of the utility model, but the scope of protection of the utility model is not limited thereto. Any equivalent replacement or change of the new technical solution and the concept of the utility model shall be covered by the protection scope of the utility model.
Claims (7)
Priority Applications (1)
| Application Number | Priority Date | Filing Date | Title |
|---|---|---|---|
| CN202222336162.5U CN218102154U (en) | 2022-09-02 | 2022-09-02 | A high-voltage and low-voltage switch cabinet for power distribution room that is easy to maintain |
Applications Claiming Priority (1)
| Application Number | Priority Date | Filing Date | Title |
|---|---|---|---|
| CN202222336162.5U CN218102154U (en) | 2022-09-02 | 2022-09-02 | A high-voltage and low-voltage switch cabinet for power distribution room that is easy to maintain |
Publications (1)
| Publication Number | Publication Date |
|---|---|
| CN218102154U true CN218102154U (en) | 2022-12-20 |
Family
ID=84451988
Family Applications (1)
| Application Number | Title | Priority Date | Filing Date |
|---|---|---|---|
| CN202222336162.5U Expired - Fee Related CN218102154U (en) | 2022-09-02 | 2022-09-02 | A high-voltage and low-voltage switch cabinet for power distribution room that is easy to maintain |
Country Status (1)
| Country | Link |
|---|---|
| CN (1) | CN218102154U (en) |
Cited By (6)
| Publication number | Priority date | Publication date | Assignee | Title |
|---|---|---|---|---|
| CN115842293A (en) * | 2023-02-16 | 2023-03-24 | 国网山东省电力公司临朐县供电公司 | Power supply cabinet |
| CN117177502A (en) * | 2023-11-02 | 2023-12-05 | 博鼎精工智能科技(山东)有限公司 | Electric power energy storage control device |
| CN117394160A (en) * | 2023-11-01 | 2024-01-12 | 扬州工业职业技术学院 | A power distribution automation monitoring terminal |
| CN117542678A (en) * | 2024-01-08 | 2024-02-09 | 国网河南省电力公司新乡供电公司 | Dual-power supply change-over switch device |
| CN118920311A (en) * | 2024-07-31 | 2024-11-08 | 江苏鑫佑鹏科技有限公司 | Switch cabinet with leveling base |
| CN119209243A (en) * | 2024-09-27 | 2024-12-27 | 上海天洲电器集团有限公司 | A low voltage incoming line cabinet |
-
2022
- 2022-09-02 CN CN202222336162.5U patent/CN218102154U/en not_active Expired - Fee Related
Cited By (9)
| Publication number | Priority date | Publication date | Assignee | Title |
|---|---|---|---|---|
| CN115842293A (en) * | 2023-02-16 | 2023-03-24 | 国网山东省电力公司临朐县供电公司 | Power supply cabinet |
| CN117394160A (en) * | 2023-11-01 | 2024-01-12 | 扬州工业职业技术学院 | A power distribution automation monitoring terminal |
| CN117394160B (en) * | 2023-11-01 | 2024-03-29 | 扬州工业职业技术学院 | Automatic monitor terminal of distribution |
| CN117177502A (en) * | 2023-11-02 | 2023-12-05 | 博鼎精工智能科技(山东)有限公司 | Electric power energy storage control device |
| CN117177502B (en) * | 2023-11-02 | 2024-03-12 | 博鼎精工智能科技(山东)有限公司 | Electric power energy storage control device |
| CN117542678A (en) * | 2024-01-08 | 2024-02-09 | 国网河南省电力公司新乡供电公司 | Dual-power supply change-over switch device |
| CN117542678B (en) * | 2024-01-08 | 2024-05-03 | 国网河南省电力公司新乡供电公司 | Dual-power supply change-over switch device |
| CN118920311A (en) * | 2024-07-31 | 2024-11-08 | 江苏鑫佑鹏科技有限公司 | Switch cabinet with leveling base |
| CN119209243A (en) * | 2024-09-27 | 2024-12-27 | 上海天洲电器集团有限公司 | A low voltage incoming line cabinet |
Similar Documents
| Publication | Publication Date | Title |
|---|---|---|
| CN218102154U (en) | A high-voltage and low-voltage switch cabinet for power distribution room that is easy to maintain | |
| CN217116663U (en) | Energy power management system control cabinet | |
| CN116613658B (en) | Miniaturized armor formula cubical switchboard that moves away | |
| CN219477305U (en) | Wireless temperature measuring device for switch cabinet | |
| CN213243340U (en) | Protection type cubical switchboard with heat dissipation function | |
| CN212519839U (en) | Power communication equipment box | |
| CN115360612A (en) | Indoor metal armored central electrical switch equipment | |
| CN210247381U (en) | Temperature-adjustable combined electrical cabinet | |
| CN219513637U (en) | A switch cabinet with a constant temperature mechanism | |
| CN222261847U (en) | Electrical control cabinet | |
| CN222017015U (en) | A comprehensive energy management control cabinet | |
| CN218976077U (en) | Novel high-voltage loop-network switch cabinet structure | |
| CN221783681U (en) | Power supply cabinet | |
| CN219371836U (en) | Anti-condensation ring main unit | |
| CN207426537U (en) | A kind of draw-out type low-voltage switch cabinet structure | |
| CN211557744U (en) | Control cabinet of exhibition room intelligent control system | |
| CN221042038U (en) | Switch cabinet convenient to maintain | |
| CN222654650U (en) | A line protection low-voltage cabinet with line heat dissipation function | |
| CN215452299U (en) | Explosion-proof switch cabinet with heat radiation structure | |
| CN212968562U (en) | Low-voltage distribution switch cabinet capable of ventilating and radiating | |
| CN220978977U (en) | Laser cutting machine central control room convenient to accuse temperature | |
| CN221652007U (en) | JP cabinet heat radiation structure | |
| CN219394190U (en) | A multifunctional withdrawable switch cabinet | |
| CN220710924U (en) | Switch board convenient to maintenance | |
| CN221467232U (en) | Low-voltage switch cabinet |
Legal Events
| Date | Code | Title | Description |
|---|---|---|---|
| GR01 | Patent grant | ||
| GR01 | Patent grant | ||
| CF01 | Termination of patent right due to non-payment of annual fee |
Granted publication date: 20221220 |
