CN218026364U - Steel pipe pickling internal circulation device - Google Patents
Steel pipe pickling internal circulation device Download PDFInfo
- Publication number
- CN218026364U CN218026364U CN202221574701.2U CN202221574701U CN218026364U CN 218026364 U CN218026364 U CN 218026364U CN 202221574701 U CN202221574701 U CN 202221574701U CN 218026364 U CN218026364 U CN 218026364U
- Authority
- CN
- China
- Prior art keywords
- steel pipe
- pickling
- pipe
- outlet pipe
- air outlet
- Prior art date
- Legal status (The legal status is an assumption and is not a legal conclusion. Google has not performed a legal analysis and makes no representation as to the accuracy of the status listed.)
- Active
Links
Images
Landscapes
- Cleaning And De-Greasing Of Metallic Materials By Chemical Methods (AREA)
Abstract
本实用新型公开了一种钢管酸洗内循环装置,包括酸洗池、设置在酸洗池上方的安装支架和可浸入所述酸洗池内的钢管限位架,安装支架中部竖直安装有活塞杆端向下设置的限位架提升气缸,限位架提升气缸活塞杆端部固定安装在钢管限位架上,安装支架上开设有滑动槽,酸洗池内竖直设置有可水平移动的高压出气管,高压出气管相对钢管限位架方向竖向开设有多个出气管口,高压出气管上端延伸安装在滑动槽内,高压出气管侧方设置有活塞杆端朝向高压出气管设置的气管驱动气缸,气管驱动气缸活塞杆端部固定安装在高压出气管侧面,所述高压出气管顶部连接有高压进气管。本实用新型进一步提高酸洗效果和酸洗效率,同时提高了对无缝钢管外壁的酸洗效果。
The utility model discloses a steel pipe pickling internal circulation device, which comprises a pickling tank, a mounting bracket arranged above the pickling tank and a steel pipe limit frame that can be immersed in the pickling tank, and a piston is vertically installed in the middle of the mounting bracket The limit frame lifting cylinder with the rod end set downwards, the end of the piston rod of the limit frame lifting cylinder is fixedly installed on the steel pipe limit frame, a sliding groove is opened on the mounting bracket, and a horizontally movable high-pressure cylinder is installed vertically in the pickling tank. The air outlet pipe, the high-pressure air outlet pipe is vertically opened with multiple air outlet pipes relative to the direction of the steel pipe limit frame, the upper end of the high-pressure air outlet pipe is extended and installed in the sliding groove, and the side of the high-pressure air outlet pipe is provided with a pipe with the end of the piston rod facing the high-pressure air outlet pipe Drive the cylinder, and the end of the piston rod of the air pipe driving cylinder is fixedly installed on the side of the high-pressure air outlet pipe, and the top of the high-pressure air outlet pipe is connected with a high-pressure air inlet pipe. The utility model further improves the pickling effect and pickling efficiency, and at the same time improves the pickling effect on the outer wall of the seamless steel pipe.
Description
技术领域technical field
本实用新型涉及酸洗装置技术领域,尤其涉及钢管酸洗内循环装置。The utility model relates to the technical field of pickling devices, in particular to a steel pipe pickling internal circulation device.
背景技术Background technique
酸洗是无缝钢管生产过程中必不可少的一道工序,其利用酸溶液去除钢管内外表面上的氧化皮和锈蚀物,这样后续的加工工序才能更好的完成进而能的到品质更好的钢管成品,常规对无缝钢管的酸洗只是将钢管简单的吊放至酸洗池内,通过向酸洗池内加入酸液进行浸泡酸洗,由于钢管为细长状,在钢管内存在大量铁锈时,因为酸洗时间不能过长,同时钢管内部的酸液难以和外部酸液发生对流交换,进而影响钢管内部酸洗效果。因此,如何提供一种钢管酸洗内循环装置是本领域技术人员亟需解决的问题。Pickling is an indispensable process in the production process of seamless steel pipes. It uses acid solution to remove scale and rust on the inner and outer surfaces of steel pipes, so that the subsequent processing steps can be better completed and better quality can be obtained. For finished steel pipes, the conventional pickling of seamless steel pipes is simply to hang the steel pipes into the pickling pool, and add acid solution to the pickling pool for soaking and pickling. , because the pickling time should not be too long, and at the same time, the acid liquid inside the steel pipe is difficult to convectively exchange with the external acid liquid, which will affect the pickling effect inside the steel pipe. Therefore, how to provide a steel pipe pickling internal circulation device is an urgent problem to be solved by those skilled in the art.
实用新型内容Utility model content
本实用新型的一个目的在于提出钢管酸洗内循环装置,本实用新型通过高压空气插入无缝钢管,使得酸液在酸洗池内形成高压的循环冲洗,提高酸液与管壁的接触效果,进一步提高酸洗效果和酸洗效率,同时提高了对无缝钢管外壁的酸洗效果。One purpose of the utility model is to propose a steel pipe pickling internal circulation device. The utility model inserts the seamless steel pipe through high-pressure air, so that the acid solution forms a high-pressure cycle flushing in the pickling tank, which improves the contact effect between the acid solution and the pipe wall, and further The pickling effect and pickling efficiency are improved, and the pickling effect on the outer wall of the seamless steel pipe is improved at the same time.
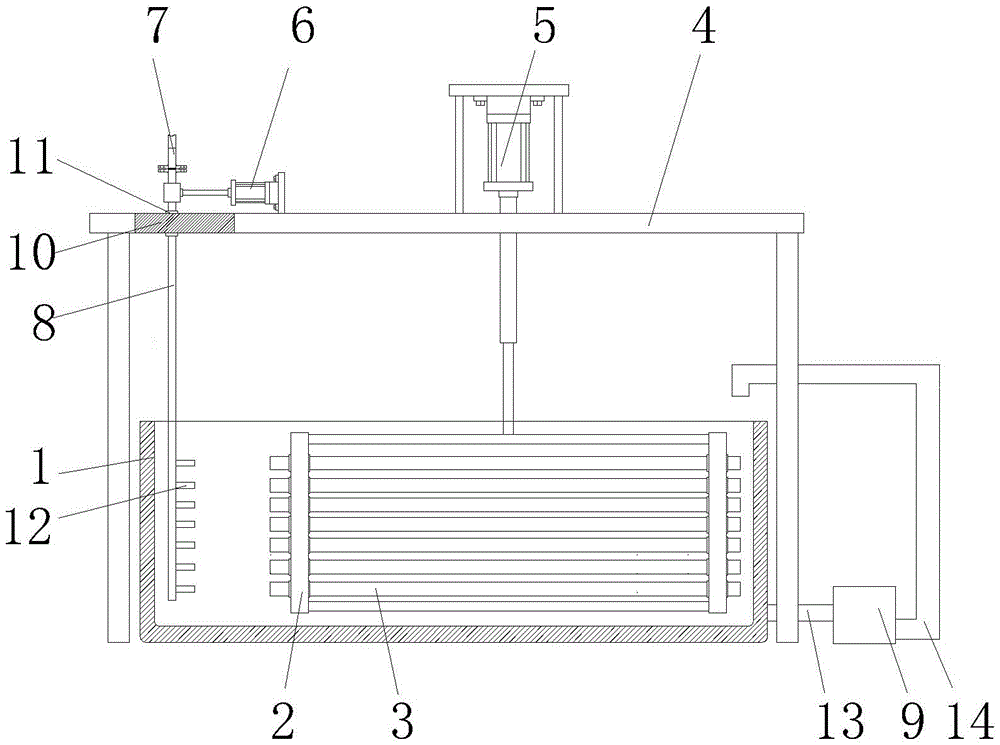
根据本实用新型实施例的一种钢管酸洗内循环装置,包括酸洗池、设置在酸洗池上方的安装支架和可浸入所述酸洗池内的钢管限位架,所述安装支架中部竖直安装有活塞杆端向下设置的限位架提升气缸,所述限位架提升气缸活塞杆端部固定安装在钢管限位架上,所述安装支架上开设有滑动槽,所述酸洗池内竖直设置有可水平移动的高压出气管,所述高压出气管相对钢管限位架方向竖向开设有多个出气管口,所述高压出气管上端延伸安装在滑动槽内,所述高压出气管侧方设置有活塞杆端朝向高压出气管设置的气管驱动气缸,所述气管驱动气缸活塞杆端部固定安装在高压出气管侧面,用于驱动高压出气管的水平移动,所述高压出气管顶部连接有高压进气管。A steel pipe pickling internal circulation device according to an embodiment of the present invention comprises a pickling tank, a mounting bracket arranged above the pickling tank, and a steel pipe limit frame that can be immersed in the pickling tank, and the middle part of the mounting bracket is vertical Directly installed with a limit frame lifting cylinder with the piston rod end downwards, the piston rod end of the limit frame lifting cylinder is fixedly installed on the steel pipe limit frame, a sliding groove is opened on the mounting bracket, and the pickling A horizontally movable high-pressure air outlet pipe is vertically arranged in the pool. The high-pressure air outlet pipe is vertically provided with a plurality of air outlet pipe ports relative to the steel pipe limit frame. The upper end of the high-pressure air outlet pipe is extended and installed in the sliding groove. On the side of the air outlet pipe, there is an air pipe drive cylinder with the piston rod end facing the high pressure air outlet pipe. The top of the trachea is connected with a high-pressure air intake pipe.
优选的,所述钢管限位架包括两块安装夹板和用于连接安装夹板的连接杆,所述安装夹板上安装有多个阵列设置的钢管套筒。Preferably, the steel pipe limit frame includes two installation splints and a connecting rod for connecting the installation splints, and a plurality of steel pipe sleeves arranged in an array are installed on the installation splints.
优选的,所述酸洗池底侧安装有循环出液管,所述循环出液管另一端连通安装在酸液过滤箱的进液端口处,所述酸液过滤箱的出液端口连通安装有循环进液管,所述循环进液管的出液端口设置在酸洗池上方。Preferably, a circulation outlet pipe is installed on the bottom side of the pickling tank, the other end of the circulation outlet pipe is connected and installed at the liquid inlet port of the acid filter box, and the outlet port of the acid solution filter box is connected and installed There is a circulating liquid inlet pipe, and the liquid outlet port of the circulating liquid inlet pipe is arranged above the pickling pool.
优选的,所述酸液过滤箱包括箱体,所述箱体内安装有过滤网。Preferably, the acid filter box includes a box body, and a filter screen is installed in the box body.
优选的,所述过滤网为电磁过滤网。Preferably, the filter is an electromagnetic filter.
优选的,所述循环出液管和所述循环进液管上均法兰安装有卸料泵。Preferably, a discharge pump is flange-mounted on both the circulating liquid outlet pipe and the circulating liquid inlet pipe.
优选的,位于所述滑动槽内的高压出气管外套设有与滑动槽相适配的滑块。Preferably, the outer sleeve of the high-pressure air outlet pipe located in the sliding groove is provided with a slider matching the sliding groove.
优选的,所述高压出气管上法兰安装有空气泵。Preferably, an air pump is installed on the upper flange of the high-pressure air outlet pipe.
本实用新型的有益效果是:The beneficial effects of the utility model are:
(1)本实用新型通过高压空气插入无缝钢管,使得酸液在酸洗池内形成高压的循环冲洗,提高酸液与管壁的接触效果,进一步提高酸洗效果和酸洗效率,同时提高了对无缝钢管外壁的酸洗效果;(1) The utility model inserts the seamless steel pipe through high-pressure air, so that the acid liquid forms a high-pressure circular flushing in the pickling pool, improves the contact effect between the acid liquid and the pipe wall, further improves the pickling effect and pickling efficiency, and simultaneously improves Pickling effect on the outer wall of seamless steel pipe;
(2)本实用新型通过酸液过滤箱内的电磁过滤网能将酸液内未腐蚀完全的大块铁锈进行过滤和吸附,对铁锈进行收集,防止酸液在循环时大量的铁锈再次进入酸洗池内影响后续酸洗的效果,有效的提高了对不锈钢钢管酸化处理时酸液循环中酸液的质量。(2) The utility model can filter and absorb the uncorroded large pieces of rust in the acid liquid through the electromagnetic filter screen in the acid liquid filter box, and collect the rust to prevent a large amount of rust from entering the acid liquid again when the acid liquid circulates. The effect of the subsequent pickling in the washing pool is effectively improved, and the quality of the acid solution in the acid solution cycle is effectively improved when the stainless steel pipe is acidified.
附图说明Description of drawings
在附图中:In the attached picture:
图1为本实用新型提出的钢管酸洗内循环装置的结构示意图;Fig. 1 is the structural representation of steel pipe pickling internal circulation device that the utility model proposes;
图2为本实用新型提出的钢管酸洗内循环装置中钢管限位架的结构示意图;Fig. 2 is the structural representation of the steel pipe limit frame in the steel pipe pickling internal circulation device proposed by the utility model;
图3为本实用新型提出的钢管酸洗内循环装置中高压出气管的结构示意图;Fig. 3 is the structural representation of the high-pressure air outlet pipe in the steel pipe pickling internal circulation device proposed by the utility model;
图4为本实用新型提出的钢管酸洗内循环装置中酸液过滤箱的结构示意图。Fig. 4 is a structural schematic diagram of the acid liquid filter box in the steel pipe pickling internal circulation device proposed by the utility model.
图中:1-酸洗池、2-钢管限位架、21-安装夹板、22-连接杆、23-钢管套筒、3-无缝钢管、4-安装支架、5-限位架提升气缸、6-气管驱动气缸、7-高压进气管、8-高压出气管、9-酸液过滤箱、91-箱体、92-过滤网、10-滑动槽、11-滑块、12-出气管口、13-循环出液管、14-循环进液管。In the figure: 1-pickling tank, 2-steel steel limit frame, 21-installation splint, 22-connecting rod, 23-steel pipe sleeve, 3-seamless steel pipe, 4-installation bracket, 5-limiting frame lifting cylinder , 6-tracheal drive cylinder, 7-high-pressure intake pipe, 8-high-pressure outlet pipe, 9-acid liquid filter box, 91-cabinet, 92-filter, 10-sliding groove, 11-slider, 12-outlet pipe Port, 13-circulation liquid outlet pipe, 14-circulation liquid inlet pipe.
具体实施方式detailed description
现在结合附图对本实用新型作进一步详细的说明。参考图1-4,一种钢管酸洗内循环装置,一种钢管酸洗内循环装置,包括酸洗池1、设置在酸洗池1上方的安装支架4和可浸入酸洗池1内的钢管限位架2,安装支架4中部竖直安装有活塞杆端向下设置的限位架提升气缸5,限位架提升气缸5活塞杆端部固定安装在钢管限位架2上,安装支架4上开设有滑动槽10,酸洗池1内竖直设置有可水平移动的高压出气管8,高压出气管8相对钢管限位架2方向竖向开设有多个出气管口12,高压出气管8上端延伸安装在滑动槽10内,位于滑动槽10内的高压出气管8外套设有与滑动槽10相适配的滑块11,高压出气管8侧方设置有活塞杆端朝向高压出气管8设置的气管驱动气缸6,气管驱动气缸6活塞杆端部固定安装在高压出气管8侧面,用于驱动高压出气管8的水平移动,高压出气管8顶部连接有高压进气管7。Now in conjunction with accompanying drawing, the utility model is described in further detail. Referring to Figures 1-4, a steel pipe pickling internal circulation device, a steel pipe pickling internal circulation device, includes a pickling tank 1, a
钢管限位架2包括两块安装夹板21和用于连接安装夹板21的连接杆22,安装夹板21上安装有多个阵列设置的钢管套筒23,钢管套筒23螺旋安装在安装夹板21上,同时可以通过改变钢管套筒23的内径进行对不同直径无缝钢管3进行安装固定。The steel
酸洗池1底侧安装有循环出液管13,循环出液管13另一端连通安装在酸液过滤箱9的进液端口处,酸液过滤箱9的出液端口连通安装有循环进液管14,循环进液管14的出液端口设置在酸洗池1上方。A
酸液过滤箱9包括箱体91,箱体91内安装有过滤网92,本实施方式中过滤网92为电磁过滤网92,电磁过滤网92能将酸液内未腐蚀完全的大块铁锈进行过滤和吸附,对铁锈进行收集,防止酸液在循环时大量的铁锈再次进入酸洗池1内影响后续酸洗的效果,有效的提高了对不锈钢钢管酸化处理时酸液循环中酸液的质量。The
循环出液管13和循环进液管14上均法兰安装有卸料泵,本实施方式中卸料泵选用自吸式耐酸碱防爆硫酸卸料泵。Discharge pumps are flange-mounted on the circulating
高压出气管8上法兰安装有空气泵,本实施方式中空气泵能够将高压进气管7的空气压力提高到2-5倍,仅需要将高压进气管7内空气作为气源即可,同时高压进气管7为可形变的波纹管。The flange on the high-pressure
可以理解的是,本实用新型中的空气泵、卸料泵、限位架提升气缸5、气管驱动气缸6的驱动方式可以采用外接电源线的方式进行驱动,空气泵、卸料泵、限位架提升气缸5、气管驱动气缸6的控制可以采用主控系统进行编程控制,其控制原理为现有控制技术能实现的。空气泵、卸料泵、限位架提升气缸5、气管驱动气缸6的型号不限于单一的类型可以为市场上现有适合与本实用新型的类型。It can be understood that the driving mode of the air pump, unloading pump, limit
工作原理:将需要酸洗的无缝钢管3安装在钢管限位架2上的钢管套筒23内,通过启动限位架提升气缸5将钢管限位架2浸入至酸洗池1内,启动气管驱动气缸6移动高压出气管8朝向无缝钢管3移动,将出气管口12依次移动插入至无缝钢管3内,通过出气管口12吹出的高压空气对无缝钢管3内壁进行高压冲洗,同时高压使得酸液在酸洗池1内进行循环对流,提高了对无缝钢管3外壁的清洗效果,同时酸洗后的酸液通过酸液过滤箱9的过滤能进行对无缝钢管3的多次酸洗,在不降低酸洗效果的前提下,降低的酸洗的成本。Working principle: install the
本实用新型通过高压空气插入无缝钢管3,使得酸液在酸洗池1内形成高压的循环冲洗,提高酸液与管壁的接触效果,进一步提高酸洗效果和酸洗效率,同时提高了对无缝钢管3外壁的酸洗效果,通过酸液过滤箱9内的电磁过滤网92能将酸液内未腐蚀完全的大块铁锈进行过滤和吸附,对铁锈进行收集,防止酸液在循环时大量的铁锈再次进入酸洗池1内影响后续酸洗的效果,有效的提高了对不锈钢钢管酸化处理时酸液循环中酸液的质量。The utility model inserts the
以上所述,仅为本实用新型较佳的具体实施方式,但本实用新型的保护范围并不局限于此,任何熟悉本技术领域的技术人员在本实用新型揭露的技术范围内,根据本实用新型的技术方案及其实用新型构思加以等同替换或改变,都应涵盖在本实用新型的保护范围之内。The above is only a preferred embodiment of the utility model, but the scope of protection of the utility model is not limited thereto. The equivalent replacement or change of the new technical solution and the concept of the utility model shall be covered by the protection scope of the utility model.
Claims (8)
Priority Applications (1)
| Application Number | Priority Date | Filing Date | Title |
|---|---|---|---|
| CN202221574701.2U CN218026364U (en) | 2022-06-22 | 2022-06-22 | Steel pipe pickling internal circulation device |
Applications Claiming Priority (1)
| Application Number | Priority Date | Filing Date | Title |
|---|---|---|---|
| CN202221574701.2U CN218026364U (en) | 2022-06-22 | 2022-06-22 | Steel pipe pickling internal circulation device |
Publications (1)
| Publication Number | Publication Date |
|---|---|
| CN218026364U true CN218026364U (en) | 2022-12-13 |
Family
ID=84378799
Family Applications (1)
| Application Number | Title | Priority Date | Filing Date |
|---|---|---|---|
| CN202221574701.2U Active CN218026364U (en) | 2022-06-22 | 2022-06-22 | Steel pipe pickling internal circulation device |
Country Status (1)
| Country | Link |
|---|---|
| CN (1) | CN218026364U (en) |
Cited By (2)
| Publication number | Priority date | Publication date | Assignee | Title |
|---|---|---|---|---|
| CN116904999A (en) * | 2023-07-25 | 2023-10-20 | 鞍钢股份有限公司 | Pickling device and pickling method for inner wall of small-aperture pipe fitting |
| CN117385371A (en) * | 2023-10-11 | 2024-01-12 | 徐州金鼎恒立液压件有限公司 | A pickling treatment device for hydraulic cylinder pipes |
-
2022
- 2022-06-22 CN CN202221574701.2U patent/CN218026364U/en active Active
Cited By (2)
| Publication number | Priority date | Publication date | Assignee | Title |
|---|---|---|---|---|
| CN116904999A (en) * | 2023-07-25 | 2023-10-20 | 鞍钢股份有限公司 | Pickling device and pickling method for inner wall of small-aperture pipe fitting |
| CN117385371A (en) * | 2023-10-11 | 2024-01-12 | 徐州金鼎恒立液压件有限公司 | A pickling treatment device for hydraulic cylinder pipes |
Similar Documents
| Publication | Publication Date | Title |
|---|---|---|
| CN218026364U (en) | Steel pipe pickling internal circulation device | |
| CN209613686U (en) | A kind of Full-automatic ultrasonic cleaner | |
| CN211888046U (en) | A hot-dip galvanized steel sheet cleaning device | |
| CN219670578U (en) | Cooling water circulation tank for aluminum casting | |
| CN222317833U (en) | Coiled pipe cleaning device | |
| CN201086071Y (en) | Through type cleaning machine | |
| CN116641007A (en) | Hot galvanizing piece cooling equipment | |
| CN208225850U (en) | Novel adamantine line silicon wafer stripping machine | |
| CN210595592U (en) | An integrated sewage treatment device | |
| CN209287882U (en) | A gynecological straw washing device | |
| CN116182628A (en) | An Online Cleaning System Based on Condenser | |
| CN220591552U (en) | Cooling sand removal device for cast parts | |
| CN223429041U (en) | A seafood fish pond filtering and oxygenating mechanism | |
| CN221652862U (en) | Circuit board pickling device | |
| CN221729588U (en) | Cleaning lifting device | |
| CN221848014U (en) | Food material belt cleaning device | |
| CN221488943U (en) | Sea cucumber cleaning and processing device | |
| CN220346697U (en) | Medical instrument cleaning equipment | |
| CN223397822U (en) | Anodizing device for stainless steel plate | |
| CN220166259U (en) | Hot galvanizing solution circulation tank | |
| CN218653366U (en) | High temperature resistant type filter convenient to it is clean | |
| CN223083374U (en) | Belt cleaning device is used in hardware fitting processing | |
| CN221527425U (en) | Drying room waste heat recovery device | |
| CN221157823U (en) | Aluminum slag cleaning device | |
| CN221133402U (en) | Ultrasonic cleaning machine for rail fittings |
Legal Events
| Date | Code | Title | Description |
|---|---|---|---|
| GR01 | Patent grant | ||
| GR01 | Patent grant | ||
| PE01 | Entry into force of the registration of the contract for pledge of patent right | ||
| PE01 | Entry into force of the registration of the contract for pledge of patent right |
Denomination of utility model: Steel pipe pickling internal circulation device Granted publication date: 20221213 Pledgee: Shanghai Bank Co.,Ltd. Fengxian Branch Pledgor: SHANGHAI MAXMOUNT SPECIAL STEEL CO.,LTD. Registration number: Y2024980027437 |
|
| PC01 | Cancellation of the registration of the contract for pledge of patent right | ||
| PC01 | Cancellation of the registration of the contract for pledge of patent right |
Granted publication date: 20221213 Pledgee: Shanghai Bank Co.,Ltd. Fengxian Branch Pledgor: SHANGHAI MAXMOUNT SPECIAL STEEL CO.,LTD. Registration number: Y2024980027437 |
