CN218018881U - Die-cutting adjustment assembly of a printing die-cutting machine - Google Patents
Die-cutting adjustment assembly of a printing die-cutting machine Download PDFInfo
- Publication number
- CN218018881U CN218018881U CN202221824984.1U CN202221824984U CN218018881U CN 218018881 U CN218018881 U CN 218018881U CN 202221824984 U CN202221824984 U CN 202221824984U CN 218018881 U CN218018881 U CN 218018881U
- Authority
- CN
- China
- Prior art keywords
- die
- fixed
- wall
- cutting
- fixed box
- Prior art date
- Legal status (The legal status is an assumption and is not a legal conclusion. Google has not performed a legal analysis and makes no representation as to the accuracy of the status listed.)
- Active
Links
Images
Landscapes
- Details Of Cutting Devices (AREA)
Abstract
本实用新型涉及模切机技术领域,具体为一种印刷模切机模切调节组件,包括固定箱,所述固定箱的内腔设置有调节组件,所述调节组件延伸至固定箱的外部并可滑动的调套接在固定箱的外部,所述固定箱的外壁左右两侧分别设置有连接杆,所述调节组件的外壁左右两侧分别可拆卸的套接有模切刀;所述调节组件包括有滑动组件、第二滑道、连接杆、移动框以及固定组件,所述滑动组件设置在固定箱的内腔,两个所述第二滑道分别开设在固定箱的上下两侧,所述滑动组件的左右两侧分别设置有一对连接杆。该印刷模切机模切调节组件解决了模切刀调节装置普遍存在着,需要将固定刀片的螺栓取下才能进行调节,调好之后再安装回去,操作麻烦的问题。
The utility model relates to the technical field of die-cutting machines, in particular to a die-cutting adjustment assembly of a printing die-cutting machine, including a fixed box, the inner cavity of the fixed box is provided with an adjustment assembly, and the adjustment assembly extends to the outside of the fixed box and The slidable adjustment sleeve is connected to the outside of the fixed box, and the left and right sides of the outer wall of the fixed box are respectively provided with connecting rods, and the left and right sides of the outer wall of the adjustment assembly are respectively detachably connected with die cutters; the adjustment The assembly includes a sliding assembly, a second slideway, a connecting rod, a moving frame and a fixed assembly, the sliding assembly is arranged in the inner cavity of the fixed box, and the two second slideways are set on the upper and lower sides of the fixed box respectively, A pair of connecting rods are respectively arranged on the left and right sides of the sliding assembly. The printing die-cutting machine die-cutting adjustment assembly solves the ubiquitous problem of the die-cutter adjusting device, which needs to be adjusted by removing the bolt of the fixed blade, and then installed back after adjustment, which is troublesome to operate.
Description
技术领域technical field
本实用新型涉及模切机技术领域,具体为一种印刷模切机模切调节组件。The utility model relates to the technical field of die-cutting machines, in particular to a die-cutting adjustment assembly of a printing die-cutting machine.
背景技术Background technique
模切刀是模切机上的重要组成部分,常用于印刷加工领域,在压力的作用下,通过使用模切刀将印刷品或其他圈装坯料轧切成所需形状,根据模切产品的需要,一般都设置有模切刀调节装置。The die-cutting knife is an important part of the die-cutting machine. It is often used in the field of printing processing. Under the action of pressure, the printed matter or other circle-packed blanks are rolled and cut into the required shape by using the die-cutting knife. According to the needs of die-cut products, Generally, a die cutter adjustment device is provided.
目前市场上存在多种模切刀调节装置,但是这些模切刀调节装置普遍存在着,需要将固定刀片的螺栓取下才能进行调节,调好之后再安装回去,操作麻烦,针对这个问题,提供了一种印刷模切机模切调节组件。At present, there are many kinds of die-cutter adjustment devices on the market, but these die-cutter adjustment devices are ubiquitous. It is necessary to remove the bolts that fix the blade to adjust, and then install them back after adjustment. The operation is troublesome. To solve this problem, provide A die-cutting adjustment assembly for a printing die-cutting machine is proposed.
实用新型内容Utility model content
本实用新型的目的在于提供一种印刷模切机模切调节组件,以解决上述背景技术中提出的问题。为实现上述目的,本实用新型提供如下技术方案:一种印刷模切机模切调节组件,包括固定箱,所述固定箱的内腔设置有调节组件,所述调节组件延伸至固定箱的外部并可滑动的调套接在固定箱的外部,所述固定箱的外壁左右两侧分别设置有固定杆,所述调节组件的外壁左右两侧分别可拆卸的套接有模切刀;The purpose of this utility model is to provide a die-cutting adjustment assembly of a printing die-cutting machine to solve the problems raised in the above-mentioned background technology. In order to achieve the above purpose, the utility model provides the following technical solutions: a die-cutting adjustment assembly of a printing die-cutting machine, including a fixed box, the inner cavity of the fixed box is provided with an adjustment assembly, and the adjustment assembly extends to the outside of the fixed box And the slidable adjustment socket is connected to the outside of the fixed box, the left and right sides of the outer wall of the fixed box are respectively provided with fixing rods, and the left and right sides of the outer wall of the adjustment assembly are respectively detachably fitted with die cutters;
所述调节组件包括有滑动组件、第二滑道、连接杆、移动框以及固定组件,所述滑动组件设置在固定箱的内腔,两个所述第二滑道分别开设在固定箱的上下两侧,所述滑动组件的左右两侧分别设置有一对连接杆,两个所述移动框分别可滑动的套接在固定箱的外壁左右两侧,两对所述连接杆贯穿第二滑道的内腔分别与两个移动框连接,四个所述固定组件分别设置在两个移动框的上下两端,两个所述模切刀分别可拆卸的套接在两个移动杆的外壁。The adjustment assembly includes a sliding assembly, a second slideway, a connecting rod, a moving frame and a fixing assembly, the sliding assembly is arranged in the inner cavity of the fixed box, and the two second slideways are set on the upper and lower sides of the fixed box respectively. On both sides, the left and right sides of the sliding assembly are respectively provided with a pair of connecting rods, and the two moving frames are respectively slidably socketed on the left and right sides of the outer wall of the fixed box, and the two pairs of connecting rods run through the second slideway The inner cavities of the two moving frames are respectively connected, the four fixed components are respectively arranged at the upper and lower ends of the two moving frames, and the two die cutting knives are respectively detachably socketed on the outer walls of the two moving bars.
优选的,所述滑动组件包括有马达、丝杆以及滑块,所述马达设置在固定箱的内腔右侧,所述丝杆的一端通过轴承转动连接在固定箱的内腔左侧,所述丝杆的另一端与马达的输出端固定连接,两个所述滑块分别螺接在丝杆的外壁左右两侧,两个所述滑块上分别设置有一对连接杆。Preferably, the sliding assembly includes a motor, a screw rod and a slider, the motor is arranged on the right side of the inner cavity of the fixed box, and one end of the screw rod is rotatably connected to the left side of the inner cavity of the fixed box through a bearing. The other end of the screw rod is fixedly connected to the output end of the motor, and the two sliders are respectively screwed to the left and right sides of the outer wall of the screw rod, and a pair of connecting rods are respectively arranged on the two sliders.
优选的,所述丝杆的外壁左右两侧螺纹呈相对设置。Preferably, the threads on the left and right sides of the outer wall of the screw rod are oppositely arranged.
优选的,每一个所述固定组件均包括有固定腔、挡板、固定块、第一滑道、移动杆、把手、限位组件以及弹簧,所述固定腔开设在移动框的外壁,所述挡板设置在固定框的外壁,所述固定块可滑动的插接在固定腔的内腔,所述第一滑道开设在固定腔内腔远离挡板的一侧,所述移动杆可滑动的内嵌在第一滑道的内腔,所述把手设置在移动杆远离固定腔的一端,所述移动杆远离把手的一侧与固定块的外壁连接,多个所述限位组件的一端均设置在固定腔的内腔,多个所述限位组件的另一端均与固定块的外壁连接,多个所述弹簧分别套接在多个限位组件的外壁。Preferably, each of the fixed components includes a fixed cavity, a baffle plate, a fixed block, a first slideway, a moving rod, a handle, a limit component and a spring, the fixed cavity is set on the outer wall of the moving frame, and the The baffle is arranged on the outer wall of the fixed frame, the fixed block is slidably plugged into the inner cavity of the fixed cavity, the first slideway is set on the side of the fixed cavity away from the baffle, and the moving rod can slide embedded in the inner cavity of the first slideway, the handle is arranged at the end of the moving rod away from the fixed cavity, the side of the moving rod far away from the handle is connected to the outer wall of the fixed block, and one end of the plurality of limit assemblies All are arranged in the inner cavity of the fixing cavity, the other ends of the plurality of limiting components are all connected to the outer wall of the fixing block, and the plurality of springs are respectively sleeved on the outer walls of the plurality of limiting components.
优选的,所述把手的外壁设置有防滑棱。Preferably, the outer wall of the handle is provided with anti-skid ribs.
优选的,每一个所述限位组件均包括有伸缩杆,所述伸缩杆的一端与固定腔的内腔连接,所述伸缩杆的另一端与固定块外壁连接,所述弹簧套接在伸缩杆的外壁。Preferably, each of the limiting components includes a telescopic rod, one end of the telescopic rod is connected to the inner cavity of the fixed cavity, the other end of the telescopic rod is connected to the outer wall of the fixed block, and the spring is sleeved on the telescopic the outer wall of the rod.
优选的,所述挡板与固定块之间的距离与模切刀的厚度相同。Preferably, the distance between the baffle plate and the fixed block is the same as the thickness of the die-cutting knife.
与现有技术相比,本实用新型的有益效果:Compared with the prior art, the utility model has the beneficial effects:
1、通过滑动组件的设置,可使移动框带动两个模切刀进行相对滑动,进而实现对两个模切刀之间距离的调节,方便模切刀对不同尺寸的印刷产品机型模切,提高了模切机在使用时的灵活性;1. Through the setting of the sliding component, the moving frame can drive the two die-cutters to slide relative to each other, and then realize the adjustment of the distance between the two die-cutters, which is convenient for the die-cutter to die-cut the printing products of different sizes , which improves the flexibility of the die-cutting machine in use;
2、通过固定组件的设置,可实现对模切刀的固定,使模切刀稳定的固定在移动框的外壁,方便模切刀的快速拆装更换,操作简单,使用方便,节约模切刀的更换时间。2. Through the setting of the fixed component, the die cutter can be fixed, so that the die cutter can be stably fixed on the outer wall of the moving frame, which is convenient for quick disassembly and replacement of the die cutter, easy to operate, easy to use, and saves the die cutter replacement time.
附图说明Description of drawings
图1为本实用新型的立体结构示意图;Fig. 1 is the three-dimensional structure schematic diagram of the present utility model;
图2为本实用新型移动框的立体结构示意图;Fig. 2 is the three-dimensional structure schematic diagram of the utility model mobile frame;
图3为本实用新型模切刀的结构示意图;Fig. 3 is the structural representation of the utility model die cutter;
图4为本实用新型固定箱的主视剖视图;Fig. 4 is the front sectional view of the fixed box of the present utility model;
图5为本实用新型图4的A处放大图。Fig. 5 is an enlarged view of A in Fig. 4 of the present invention.
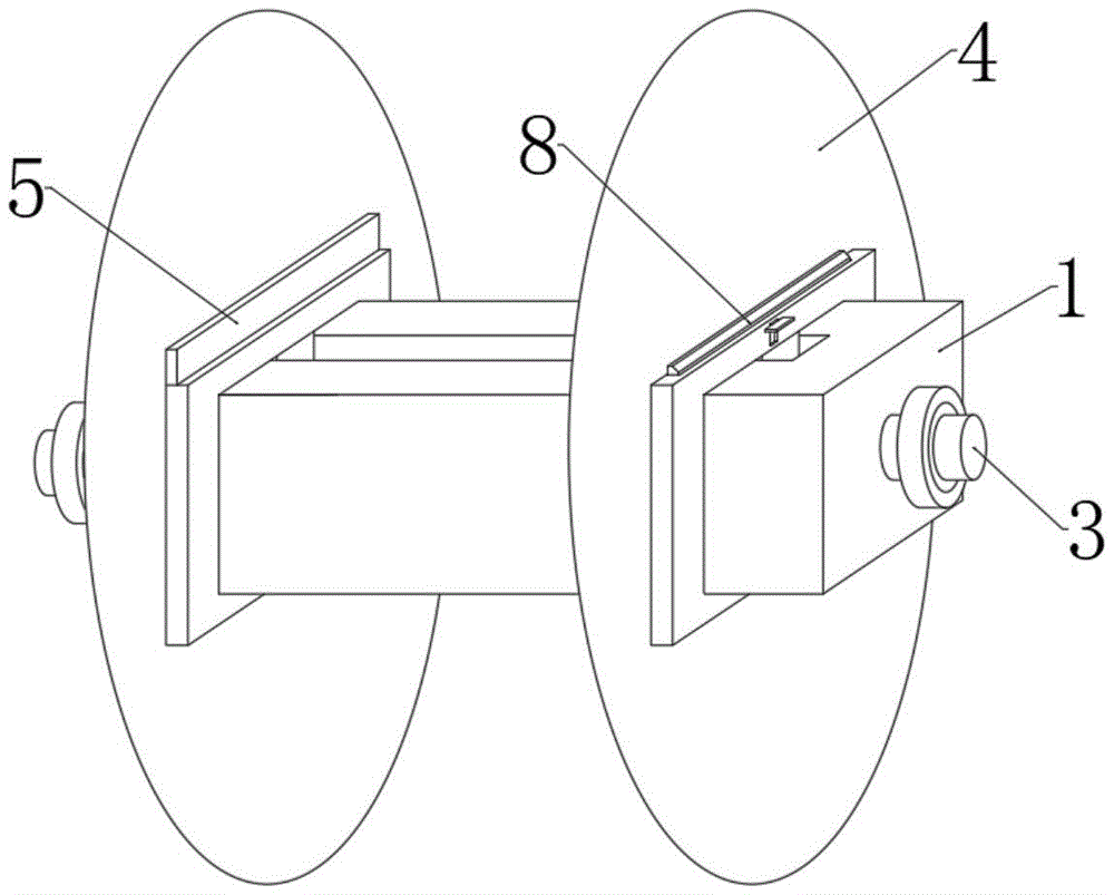
图中:1、固定箱;2、移动框;3、固定杆;4、模切刀;5、挡板;6、固定腔;7、第一滑道;8、固定块;9、移动杆;10、把手;11、伸缩杆;12、弹簧;13、马达;14、丝杆;15、第二滑道;16、滑块;17、连接杆。In the figure: 1, fixed box; 2, moving frame; 3, fixed rod; 4, die cutter; 5, baffle; 6, fixed cavity; 7, first slideway; 8, fixed block; 9, moving rod ; 10, handle; 11, telescopic rod; 12, spring; 13, motor; 14, screw mandrel;
具体实施方式detailed description
下面将结合本实用新型实施例中的附图,对本实用新型实施例中的技术方案进行清楚、完整地描述,显然,所描述的实施例仅仅是本实用新型一部分实施例,而不是全部的实施例。基于本实用新型中的实施例,本领域普通技术工作人员在没有做出创造性劳动前提下所获得的所有其他实施例,都属于本实用新型保护的范围。The technical solutions in the embodiments of the present invention will be clearly and completely described below in conjunction with the accompanying drawings in the embodiments of the present invention. Obviously, the described embodiments are only part of the embodiments of the present invention, not all of them. example. Based on the embodiments of the present utility model, all other embodiments obtained by persons of ordinary skill in the art without making creative efforts belong to the scope of protection of the present utility model.
请参阅图1至图5,本实用新型提供一种技术方案:一种印刷模切机模切调节组件,包括固定箱1,固定箱1的内腔设置有调节组件,通过滑动组件的设置,可使移动框2带动两个模切刀4进行相对滑动,进而实现对两个模切刀4之间距离的调节,方便模切刀4对不同尺寸的印刷产品机型模切,提高了模切机在使用时的灵活性,调节组件延伸至固定箱1的外部并可滑动的调套接在固定箱1的外部,固定箱1的外壁左右两侧分别设置有固定杆3,固定杆3为现有技术,用于将该装置与模切机连接,此处不做过多阐述,调节组件的外壁左右两侧分别可拆卸的套接有模切刀4;Please refer to Figures 1 to 5, the utility model provides a technical solution: a die-cutting adjustment assembly of a printing die-cutting machine, including a fixed box 1, the inner cavity of the fixed box 1 is provided with an adjustment assembly, and through the setting of the sliding assembly, The moving
调节组件包括有滑动组件、第二滑道15、连接杆17、移动框2以及固定组件,滑动组件设置在固定箱1的内腔,两个第二滑道15分别开设在固定箱1的上下两侧,滑动组件的左右两侧分别设置有一对连接杆17,两个移动框2分别可滑动的套接在固定箱1的外壁左右两侧,两对连接杆17贯穿第二滑道15的内腔分别与两个移动框2连接,四个固定组件分别设置在两个移动框2的上下两端,两个模切刀4分别可拆卸的套接在两个移动杆9的外壁,通过滑动组件的设置,可使移动框2带动两个模切刀4进行相对滑动,进而实现对两个模切刀4之间距离的调节,方便模切刀4对不同尺寸的印刷产品机型模切,提高了模切机在使用时的灵活性,通过固定组件的设置,可实现对模切刀4的固定,使模切刀4稳定的固定在移动框2的外壁,方便模切刀4的快速拆装更换,操作简单,使用方便,节约模切刀4的更换时间。The adjustment assembly includes a sliding assembly, a
本实施例中,滑动组件包括有马达13、丝杆14以及滑块16,马达13设置在固定箱1的内腔右侧,丝杆14的一端通过轴承转动连接在固定箱1的内腔左侧,丝杆14的另一端与马达13的输出端固定连接,两个滑块16分别螺接在丝杆14的外壁左右两侧,两个滑块16上分别设置有一对连接杆17,可启动马达13,使马达13带动丝杆14进行旋转,进而使丝杆14外壁左右两侧相对的螺纹产生相对的螺纹旋转力,使两个滑块16带动两对连接杆17以及两个移动框2相对滑动,进而使两个模切刀4之间的距离得到调节,方便模切刀4对不同尺寸的印刷产品机型模切,提高了模切机在使用时的灵活性。In this embodiment, the sliding assembly includes a
本实施例中,丝杆14的外壁左右两侧螺纹呈相对设置,可使丝杆14在旋转的时候其外壁左右两侧相对的螺纹产生相对的螺纹,进而使两个滑块16同时相对滑动。In this embodiment, the threads on the left and right sides of the outer wall of the
本实施例中,每一个固定组件均包括有固定腔6、挡板5、固定块8、第一滑道7、移动杆9、把手10、限位组件以及弹簧12,固定腔6开设在移动框2的外壁,挡板5设置在固定框的外壁,固定块8可滑动的插接在固定腔6的内腔,第一滑道7开设在固定腔6内腔远离挡板5的一侧,移动杆9可滑动的内嵌在第一滑道7的内腔,把手10设置在移动杆9远离固定腔6的一端,移动杆9远离把手10的一侧与固定块8的外壁连接,多个限位组件的一端均设置在固定腔6的内腔,多个限位组件的另一端均与固定块8的外壁连接,多个弹簧12分别套接在多个限位组件的外壁,当需要对模切刀4进行更换的时候,拉动把手10,使把手10带动移动杆9以及固定块8在伸缩杆11的限位作用下沿着直线收缩至固定腔6的内腔,进而使固定块8解除对模切刀4的固定,并使弹簧12受到固定块8的挤压之后产生相应的弹性形变,进而具有一定的弹力,此时,将模切刀4取下,将新的模切刀4套在移动框2的外壁,松开把手10,在弹簧12的弹力作用下,可使固定块8在伸缩杆11的限位作用下沿着直线恢复原位,进而在挡板5与固定块8之间的相互作用下实现对模切刀4的固定,便于对模切刀4进行更换,避免在更换模切刀4的时候小耗费大量的时间去拆卸安装多颗螺栓,节约了时间。In this embodiment, each fixed assembly includes a
本实施例中,把手10的外壁设置有防滑棱,可增大把手10与手指之间的摩擦力,进而可防止在拉动把手10的时候出现脱手的情况,提高了固定组件在使用时的稳定性。In this embodiment, the outer wall of the
本实施例中,每一个限位组件均包括有伸缩杆11,伸缩杆11的一端与固定腔6的内腔连接,伸缩杆11的另一端与固定块8外壁连接,弹簧12套接在伸缩杆11的外壁,通过伸缩杆11的设置,可使固定块8始终沿着直线上下滑动,提高了固定组件的稳定性。In this embodiment, each limit assembly includes a
本实施例中,挡板5与固定块8之间的距离与模切刀4的厚度相同,可使固定块8与挡板5将模切刀4固定在移动框2的外壁。In this embodiment, the distance between the
本实用新型的使用方法和优点:在使用时,工作过程如下:The use method and advantages of the utility model: when in use, the working process is as follows:
在调节两个模切刀4之间的距离的时候,可启动马达13,使马达13带动丝杆14进行旋转,进而使丝杆14外壁左右两侧相对的螺纹产生相对的螺纹旋转力,使两个滑块16带动两对连接杆17以及两个移动框2相对滑动,进而使两个模切刀4之间的距离得到调节,方便模切刀4对不同尺寸的印刷产品机型模切,提高了模切机在使用时的灵活性,当需要对模切刀4进行更换的时候,拉动把手10,使把手10带动移动杆9以及固定块8在伸缩杆11的限位作用下沿着直线收缩至固定腔6的内腔,进而使固定块8解除对模切刀4的固定,并使弹簧12受到固定块8的挤压之后产生相应的弹性形变,进而具有一定的弹力,此时,将模切刀4取下,将新的模切刀4套在移动框2的外壁,松开把手10,在弹簧12的弹力作用下,可使固定块8在伸缩杆11的限位作用下沿着直线恢复原位,进而在挡板5与固定块8之间的相互作用下实现对模切刀4的固定,便于对模切刀4进行更换,避免在更换模切刀4的时候小耗费大量的时间去拆卸安装多颗螺栓,节约了时间。When adjusting the distance between the two
以上显示和描述了本实用新型的基本原理、主要特征和本实用新型的优点。本行业的技术工作人员应该了解,本实用新型不受上述实施例的限制,上述实施例和说明书中描述的仅为本实用新型的优选例,并不用来限制本实用新型,在不脱离本实用新型精神和范围的前提下,本实用新型还会有各种变化和改进,这些变化和改进都落入要求保护的本实用新型范围内。本实用新型要求保护范围由所附的权利要求书及其等效物界定。The basic principles, main features and advantages of the present utility model have been shown and described above. Technical personnel in this industry should understand that the utility model is not limited by the above-mentioned embodiments, and the above-mentioned embodiments and descriptions are only preferred examples of the utility model, and are not used to limit the utility model, without departing from the utility model Under the premise of the new spirit and scope, the utility model also has various changes and improvements, and these changes and improvements all fall within the scope of the claimed utility model. The scope of protection required by the utility model is defined by the appended claims and their equivalents.
Claims (7)
Priority Applications (1)
| Application Number | Priority Date | Filing Date | Title |
|---|---|---|---|
| CN202221824984.1U CN218018881U (en) | 2022-07-14 | 2022-07-14 | Die-cutting adjustment assembly of a printing die-cutting machine |
Applications Claiming Priority (1)
| Application Number | Priority Date | Filing Date | Title |
|---|---|---|---|
| CN202221824984.1U CN218018881U (en) | 2022-07-14 | 2022-07-14 | Die-cutting adjustment assembly of a printing die-cutting machine |
Publications (1)
| Publication Number | Publication Date |
|---|---|
| CN218018881U true CN218018881U (en) | 2022-12-13 |
Family
ID=84382674
Family Applications (1)
| Application Number | Title | Priority Date | Filing Date |
|---|---|---|---|
| CN202221824984.1U Active CN218018881U (en) | 2022-07-14 | 2022-07-14 | Die-cutting adjustment assembly of a printing die-cutting machine |
Country Status (1)
| Country | Link |
|---|---|
| CN (1) | CN218018881U (en) |
-
2022
- 2022-07-14 CN CN202221824984.1U patent/CN218018881U/en active Active
Similar Documents
| Publication | Publication Date | Title |
|---|---|---|
| CN218018881U (en) | Die-cutting adjustment assembly of a printing die-cutting machine | |
| CN206872669U (en) | A new type of glass slice processing table with stepping mechanism | |
| CN220807501U (en) | Cutter mechanism for food slicer | |
| CN218736915U (en) | Food processing and forming device | |
| CN217393492U (en) | A stamping die for LED lamp power supply cover | |
| CN114227300B (en) | Tool apron of machine tool | |
| CN210062229U (en) | Quarto one rotary platform die cutting indentator | |
| CN107047675A (en) | A kind of deep-fried twisted dough sticks processing efficiently rolls cutting machine and its application method | |
| CN207789112U (en) | A kind of die-cutting machine easy to use | |
| CN219426945U (en) | Shearing mechanism is used in medical rubber production | |
| CN220807717U (en) | Laminating pressure adjustable rotary die cutting machine | |
| CN220796367U (en) | Abandonment power cord separation processingequipment | |
| CN221249569U (en) | Double-pinch-roller mechanism of tire trimming machine | |
| CN217834881U (en) | Clear useless device of carton processing cardboard center incision | |
| CN221140548U (en) | Slitter edge traction device of aluminum roll trimming equipment | |
| CN216988795U (en) | Primary frequency modulation active on-line monitoring module maintenance device | |
| CN204367019U (en) | A kind of sebific duct manually cuts frock | |
| CN222662282U (en) | Material removing structure for open mill | |
| CN219450241U (en) | A cutting and cutting device for processing bath towels | |
| CN223394408U (en) | Safety rolling piece flying shear | |
| CN221641076U (en) | Lubricated frock of TPE extruder blade | |
| CN214294007U (en) | Cross cutting die | |
| CN223381178U (en) | A recycled rubber filtering device that is easy to disassemble and clean | |
| CN216993030U (en) | Insert-through type blowing air duct mold | |
| CN222135174U (en) | Food cutting device capable of being quickly separated from a cutting knife |
Legal Events
| Date | Code | Title | Description |
|---|---|---|---|
| GR01 | Patent grant | ||
| GR01 | Patent grant | ||
| PE01 | Entry into force of the registration of the contract for pledge of patent right | ||
| PE01 | Entry into force of the registration of the contract for pledge of patent right |
Denomination of utility model: A die-cutting adjustment component for a printing die-cutting machine Granted publication date: 20221213 Pledgee: Lu'an finance Company limited by guarantee Pledgor: Anhui Aike Zhichuang Technology Co.,Ltd. Registration number: Y2024980037122 |
