CN217939566U - Self-ash-cleaning filter drum dust remover - Google Patents
Self-ash-cleaning filter drum dust remover Download PDFInfo
- Publication number
- CN217939566U CN217939566U CN202222270123.XU CN202222270123U CN217939566U CN 217939566 U CN217939566 U CN 217939566U CN 202222270123 U CN202222270123 U CN 202222270123U CN 217939566 U CN217939566 U CN 217939566U
- Authority
- CN
- China
- Prior art keywords
- dust
- filter cartridge
- self
- seat
- cartridge
- Prior art date
- Legal status (The legal status is an assumption and is not a legal conclusion. Google has not performed a legal analysis and makes no representation as to the accuracy of the status listed.)
- Active
Links
Images
Landscapes
- Filtering Of Dispersed Particles In Gases (AREA)
Abstract
本实用新型公开了一种自清灰滤筒除尘器,涉及滤筒除尘器,包括滤筒除尘器的机体和设在机体上的吸尘管、空气管和滤筒,所述滤筒上设有集尘装置,所述集尘装置用于收集滤筒过滤下的灰尘,所述集尘装置包括设在滤筒下方的收集座,所述收集座上设有且用于移动贴合接触滤筒底端的密封块,所述收集座安装在支撑板上,使得能够快速清理滤筒上灰尘,避免需要拆卸滤筒进行清理,同时防止清除时灰尘四处飘落,使得能够适用于多种情况,使得能够快速清理积灰盒,减少拆卸的步骤,本实用新型操作简单,实用性强,便于推广使用。
The utility model discloses a self-cleaning filter cartridge dust collector, which relates to a filter cartridge dust collector, comprising a body of the filter cartridge dust collector, a dust suction pipe, an air pipe and a filter cartridge arranged on the body, and the filter cartridge is provided with There is a dust collection device, the dust collection device is used to collect the dust filtered by the filter cartridge, the dust collection device includes a collection seat arranged under the filter cartridge, and the collection seat is provided and used to move and fit the contact filter The sealing block at the bottom of the cartridge, the collection seat is installed on the support plate, so that the dust on the filter cartridge can be quickly cleaned, avoiding the need to disassemble the filter cartridge for cleaning, and at the same time prevent the dust from falling around when cleaning, making it applicable to various situations, making The ash accumulation box can be quickly cleaned, and the steps of disassembly are reduced. The utility model is simple in operation, strong in practicability, and convenient for popularization and use.
Description
技术领域technical field
本实用新型涉及滤筒除尘器设备技术领域,具体为一种自清灰滤筒除尘器。The utility model relates to the technical field of filter cartridge dust collector equipment, in particular to a self-cleaning filter cartridge dust collector.
背景技术Background technique
滤筒除尘器是一种过滤气体灰尘的设备,含尘气体在负压作用下进入到除尘器,气流在穿透滤筒时,粉尘被滤筒阻挡,吸附在滤筒的外表面,过滤后的洁净气体穿透滤筒进入箱体并通过风机排放。现有滤筒除尘器,清理滤筒时需要将机体盖板拆卸下,然后将滤筒拆卸下来,通过压缩空气进行清灰,灰尘四处散落,影响了除尘效果,机器型号不同拆卸步骤不同,多数型号拆卸机体盖板后并不能直接拆除滤筒。The filter cartridge dust collector is a kind of equipment for filtering gas dust. The dusty gas enters the dust collector under the action of negative pressure. When the air flow passes through the filter cartridge, the dust is blocked by the filter cartridge and adsorbed on the outer surface of the filter cartridge. The clean gas penetrates the filter cartridge into the box and is discharged through the fan. For the existing filter cartridge dust collector, when cleaning the filter cartridge, the cover plate of the body needs to be disassembled, and then the filter cartridge is removed, and the dust is cleaned by compressed air. The dust is scattered everywhere, which affects the dust removal effect. The disassembly steps are different for different machine models. After removing the cover plate of the model, the filter cartridge cannot be removed directly.
现有技术中,需要拆卸滤筒清理,不能够快速清理滤筒上灰尘,同时清除滤筒时灰尘容易四处飘落,不能够适用于多种情况,现有技术中,操作复杂,实用性弱,不便于推广使用,为此我们提出一种自清灰滤筒除尘器用于解决上述问题。In the prior art, the filter cartridge needs to be disassembled for cleaning, and the dust on the filter cartridge cannot be cleaned quickly. When the filter cartridge is removed at the same time, the dust tends to fall around, which cannot be applied to many situations. In the prior art, the operation is complicated and the practicability is weak. It is not easy to promote and use, so we propose a self-cleaning filter cartridge dust collector to solve the above problems.
实用新型内容Utility model content
本实用新型的目的在于提供一种自清灰滤筒除尘器,以解决上述背景技术中提出的问题。The purpose of this utility model is to provide a self-cleaning filter cartridge dust collector to solve the problems raised in the above-mentioned background technology.
为实现上述目的,本实用新型提供如下技术方案:一种自清灰滤筒除尘器,包括滤筒除尘器的机体和设在机体上的吸尘管、空气管和滤筒,所述滤筒上设有集尘装置,所述集尘装置用于收集滤筒过滤下的灰尘,所述集尘装置包括设在滤筒下方的收集座,所述收集座上设有且用于移动贴合接触滤筒底端的密封块,所述收集座安装在支撑板上,所述支撑板底端连接拉绳一端,所述拉绳自由端移动贯穿弹簧和机体底部且连接在收卷轮上,所述收卷轮用于卷收拉绳。In order to achieve the above purpose, the utility model provides the following technical solutions: a self-cleaning filter cartridge dust collector, comprising a body of the filter cartridge dust collector and a dust suction pipe, an air pipe and a filter cartridge arranged on the body, the filter cartridge There is a dust collection device on the top, the dust collection device is used to collect the dust filtered by the filter cartridge, the dust collection device includes a collection seat under the filter cartridge, and the collection seat is provided and used for moving and fitting Contact the sealing block at the bottom of the filter cartridge, the collection seat is installed on the support plate, the bottom end of the support plate is connected to one end of the pull rope, the free end of the pull rope moves through the spring and the bottom of the body and is connected to the winding wheel, so The rewinding wheel is used to reel in the stay cord.
优选的,所述弹簧一侧的机体上设有密封装置,所述密封装置用于收集座移动至机体外侧。Preferably, a sealing device is provided on the body on one side of the spring, and the sealing device is used for the collection seat to move to the outside of the body.
优选的,所述密封装置包括机体侧壁上开设的贯穿孔,所述贯穿孔上滑动卡接有用于移动密封贯穿孔的隔板,所述隔板外侧设有且用于隔板竖向移动的把手。Preferably, the sealing device includes a through hole opened on the side wall of the body, and a partition for moving and sealing the through hole is slidably engaged on the through hole, and the outer side of the partition is used for vertical movement of the partition handle.
优选的,所述收集座外壁设有密封垫,所述收集座外壁贴合接触机体内壁,所述收集座外壁光滑。Preferably, a sealing gasket is provided on the outer wall of the collection seat, the outer wall of the collection seat fits in contact with the inner wall of the body, and the outer wall of the collection seat is smooth.
优选的,所述密封块设在收集座中心处,所述支撑板尺寸小于收集座的尺寸。Preferably, the sealing block is arranged at the center of the collection seat, and the size of the support plate is smaller than that of the collection seat.
优选的,所述弹簧用于推动支撑板向上移动,所述弹簧上端连接支撑板,所述弹簧上端连接机体内底。Preferably, the spring is used to push the support plate to move upward, the upper end of the spring is connected to the support plate, and the upper end of the spring is connected to the inner bottom of the body.
优选的,所述收卷轮转动设在机体下端,所述收卷轮驱动设备设在机体下端上。Preferably, the rotation of the winding wheel is arranged at the lower end of the body, and the driving device of the winding wheel is arranged at the lower end of the body.
优选的,所述贯穿孔为十字形结构,所述贯穿孔高度大于等于隔板高度的两倍,所述隔板高度大于收集座的高度。Preferably, the through hole is a cross-shaped structure, the height of the through hole is greater than or equal to twice the height of the partition plate, and the height of the partition plate is greater than the height of the collecting seat.
与现有技术相比,本实用新型的有益效果是:Compared with the prior art, the beneficial effects of the utility model are:
1.通过吸尘管将含尘气体吸入机体内,气流在穿透滤筒时,粉尘被滤筒阻挡,吸附在滤筒的外表面,过滤后的洁净气体穿透滤筒进入机体上端并通过机体上的风机排放,过滤接触后,吸尘管停止工作,滤筒外壁上的粉尘失去吸附力,掉落至收集座上进行收集,同时开启空气管向滤筒内输入压缩空气,气体由滤筒内部向外壁穿过,推动滤筒外壁上粘附的灰尘与滤筒分离,然后关闭空气管,被打落的灰尘落至收集座中进行收集,使得能够快速清理滤筒上灰尘,避免需要拆卸滤筒进行清理,同时防止清除时灰尘四处飘落,使得能够适用于多种情况。1. The dust-laden gas is sucked into the body through the dust suction pipe. When the airflow penetrates the filter cartridge, the dust is blocked by the filter cartridge and adsorbed on the outer surface of the filter cartridge. The filtered clean gas penetrates the filter cartridge and enters the upper end of the body and passes through The fan on the machine body discharges, after the filter is contacted, the dust suction pipe stops working, the dust on the outer wall of the filter cartridge loses its adsorption force, and falls to the collection seat for collection. The inside of the cartridge passes through the outer wall, pushing the dust adhered on the outer wall of the filter cartridge to separate from the filter cartridge, and then closing the air pipe, the knocked-off dust falls into the collection seat for collection, so that the dust on the filter cartridge can be quickly cleaned, avoiding the need to Disassemble the filter cartridge for cleaning, and at the same time prevent dust from falling around when cleaning, making it suitable for many situations.
2.当清除的灰尘落至收集座后,驱动收卷轮,收卷轮收卷拉绳,通过拉绳使支撑板向下移动,支撑板向下移动拉动收集座跟随移动,同时压缩弹簧,当收集座能从贯穿孔处横向移动处机体外侧时,停止驱动收卷轮,然后推动把手,使隔板向上移动,使贯穿孔处于开启装置,然后将收集座从支撑板上拉出,通过贯穿孔移动至机体外侧,然后清理收集座上的灰尘,使得能够快速清理积灰盒,减少拆卸的步骤,本实用新型操作简单,实用性强,便于推广使用。2. When the removed dust falls to the collection seat, drive the winding wheel, and the winding wheel winds up the pull rope, and the support plate moves downward through the pull rope, and the support plate moves downward to pull the collection seat to follow the movement, and at the same time compress the spring, When the collection seat can move laterally from the through hole to the outside of the machine body, stop driving the winding wheel, then push the handle to move the partition upwards so that the through hole is in the opening device, then pull the collection seat out of the support plate and pass through The through hole is moved to the outside of the body, and then the dust on the collecting seat is cleaned, so that the ash accumulation box can be cleaned quickly and the steps of disassembly are reduced. The utility model is simple in operation, strong in practicability, and convenient for popularization and use.
附图说明Description of drawings
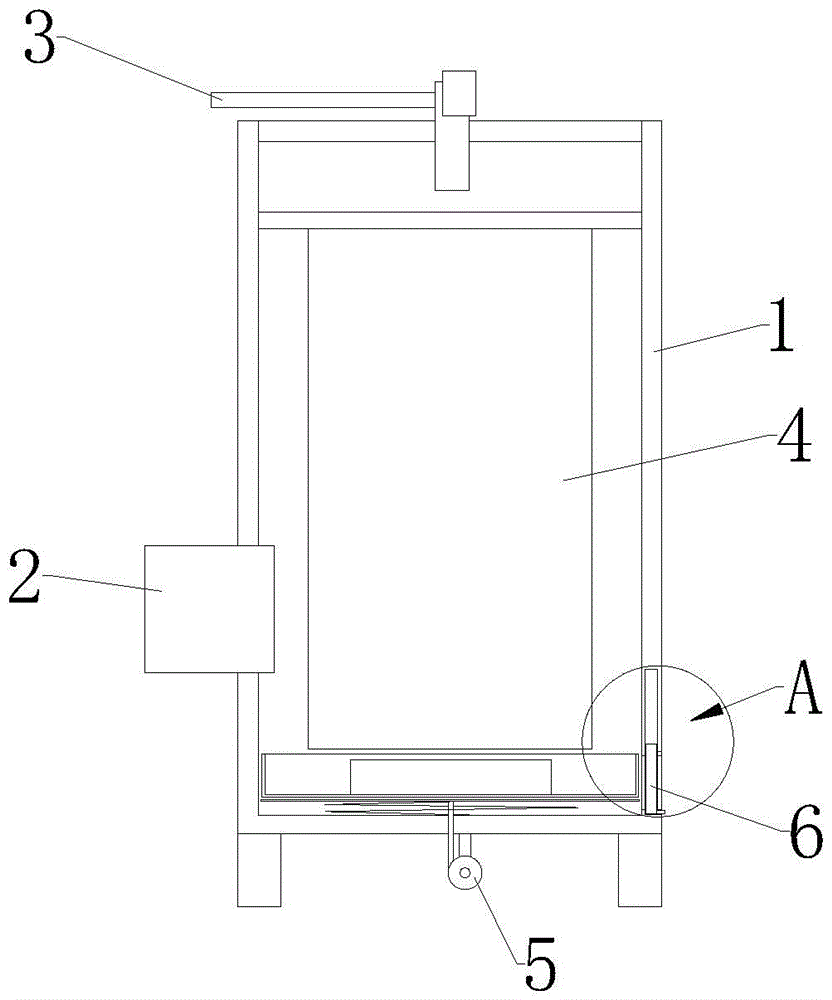
图1为本实用新型结构示意图;Fig. 1 is the structural representation of the utility model;
图2为本实用新型中集尘装置处结构示意图;Fig. 2 is a schematic diagram of the structure of the dust collecting device in the utility model;
图3为本实用新型图1中A处放大图。Fig. 3 is an enlarged view of A in Fig. 1 of the present utility model.
图中:1、机体;2、吸尘管;3、空气管;4、滤筒;5、集尘装置;51、收集座;52、密封块;53、支撑板;54、拉绳;55、弹簧;56、收卷轮、6、密封装置;61、贯穿孔;62、隔板;63、把手。In the figure: 1. Body; 2. Dust suction pipe; 3. Air pipe; 4. Filter cartridge; 5. Dust collecting device; 51. Collection seat; 52. Sealing block; 53. Support plate; 54. Pull rope; , spring; 56, winding wheel, 6, sealing device; 61, through hole; 62, partition; 63, handle.
具体实施方式Detailed ways
下面将结合本实用新型实施例中的附图,对本实用新型实施例中的技术方案进行清楚、完整地描述,显然,所描述的实施例仅仅是本实用新型一部分实施例,而不是全部的实施例。基于本实用新型中的实施例,本领域普通技术人员在没有做出创造性劳动前提下所获得的所有其他实施例,都属于本实用新型保护的范围。The technical solutions in the embodiments of the present invention will be clearly and completely described below in conjunction with the accompanying drawings in the embodiments of the present invention. Obviously, the described embodiments are only part of the embodiments of the present invention, not all of them. example. Based on the embodiments of the present utility model, all other embodiments obtained by persons of ordinary skill in the art without making creative efforts belong to the scope of protection of the present utility model.
请参阅图1-3,本实用新型提供一种技术方案:一种自清灰滤筒除尘器,包括滤筒除尘器的机体1和设在机体1上的吸尘管2、空气管3和滤筒4,机体1顶端设有风机,吸尘管2上设有用于将灰尘抽入机体1内的抽风机,空气管3设在机体1顶端用于清灰时向滤筒4内输入压缩空气,滤筒4安装在机体1上,滤筒4上设有集尘装置5,集尘装置5用于收集滤筒4过滤下的灰尘,集尘装置5包括设在滤筒4下方的收集座51,收集座51上设有且用于移动贴合接触滤筒4底端的密封块52,收集座51安装在支撑板53上,安装方式为快拆固定方式(如卡扣式),支撑板53底端连接拉绳54一端,拉绳54自由端移动贯穿弹簧55和机体1底部且连接在收卷轮56上,收卷轮56用于卷收拉绳54,收集座51外壁设有密封垫,收集座51外壁贴合接触机体1内壁,收集座51外壁光滑,收集座51和密封块52之间装有隔离栅格,防反灰,密封块52设在收集座51中心处,支撑板53尺寸小于收集座51的尺寸,弹簧55用于推动支撑板53向上移动,弹簧55上端连接支撑板53,弹簧55上端连接机体1内底,收卷轮56转动设在机体1下端,收卷轮56驱动设备设在机体1下端上。Please refer to Figure 1-3, the utility model provides a technical solution: a self-cleaning filter cartridge dust collector, including the
通过吸尘管2将含尘气体吸入机体1内,气流在穿透滤筒4时,粉尘被滤筒4阻挡,吸附在滤筒4的外表面,过滤后的洁净气体穿透滤筒4进入机体1上端并通过机体1上的风机排放,过滤接触后,吸尘管2停止工作,滤筒4外壁上的粉尘失去吸附力,掉落至收集座51上进行收集,同时开启空气管3向滤筒4内输入压缩空气,气体由滤筒4内部向外壁穿过,推动滤筒4外壁上粘附的灰尘与滤筒4分离,然后关闭空气管3,被打落的灰尘落至收集座51中进行收集,使得能够快速清理滤筒上灰尘,避免需要拆卸滤筒进行清理,同时防止清除时灰尘四处飘落,使得能够适用于多种情况。The dust-laden gas is sucked into the
弹簧55一侧的机体1上设有密封装置6,密封装置6用于收集座51移动至机体1外侧,密封装置6包括机体1侧壁上开设的贯穿孔61,贯穿孔61上滑动卡接有用于移动密封贯穿孔61的隔板62,隔板62外侧设有且用于隔板62竖向移动的把手63,贯穿孔61为十字形结构,贯穿孔61最大高度大于等于隔板62高度的两倍,贯穿孔61最小高度大于收集座51的高度,隔板62高度大于收集座51的高度。The
当清除的灰尘落至收集座51后,驱动收卷轮56,收卷轮56收卷拉绳54,通过拉绳54使支撑板53向下移动,支撑板53向下移动拉动收集座51跟随移动,同时压缩弹簧55(反向驱动收卷轮56上,拉绳54放松,弹簧55恢复原状推动支撑板53向上移动,收集座51跟随移动,推动密封块52移动贴合接触滤筒4的下端),当收集座51能从贯穿孔61处横向移动处机体1外侧时,停止驱动收卷轮56,然后推动把手63,使隔板62向上移动,使贯穿孔61处于开启装置,然后将收集座51从支撑板53上拉出,通过贯穿孔61移动至机体1外侧,然后清理收集座51上的灰尘,使得能够快速清理积灰盒,减少拆卸的步骤,本实用新型操作简单,实用性强,便于推广使用。After the removed dust falls to the
工作原理:本实用新型通过吸尘管2将含尘气体吸入机体1内,气流在穿透滤筒4时,粉尘被滤筒4阻挡,吸附在滤筒4的外表面,过滤后的洁净气体穿透滤筒4进入机体1上端并通过机体1上的风机排放,过滤接触后,吸尘管2停止工作,滤筒4外壁上的粉尘失去吸附力,掉落至收集座51上进行收集,同时开启空气管3向滤筒4内输入压缩空气,气体由滤筒4内部向外壁穿过,推动滤筒4外壁上粘附的灰尘与滤筒4分离,然后关闭空气管3,被打落的灰尘落至收集座51中进行收集,使得能够快速清理滤筒上灰尘,避免需要拆卸滤筒进行清理,同时防止清除时灰尘四处飘落,使得能够适用于多种情况,当清除的灰尘落至收集座51后,驱动收卷轮56,收卷轮56收卷拉绳54,通过拉绳54使支撑板53向下移动,支撑板53向下移动拉动收集座51跟随移动,同时压缩弹簧55(反向驱动收卷轮56上,拉绳54放松,弹簧55恢复原状推动支撑板53向上移动,收集座51跟随移动,推动密封块52移动贴合接触滤筒4的下端),当收集座51能从贯穿孔61处横向移动处机体1外侧时,停止驱动收卷轮56,然后推动把手63,使隔板62向上移动,使贯穿孔61处于开启装置,然后将收集座51从支撑板53上拉出,通过贯穿孔61移动至机体1外侧,然后清理收集座51上的灰尘,使得能够快速清理积灰盒,减少拆卸的步骤,本实用新型操作简单,实用性强,便于推广使用。Working principle: The utility model sucks the dust-containing gas into the
尽管已经示出和描述了本实用新型的实施例,对于本领域的普通技术人员而言,可以理解在不脱离本实用新型的原理和精神的情况下可以对这些实施例进行多种变化、修改、替换和变型,本实用新型的范围由所附权利要求及其等同物限定。Although the embodiments of the present invention have been shown and described, those skilled in the art can understand that various changes and modifications can be made to these embodiments without departing from the principle and spirit of the present invention , replacements and modifications, the scope of the present utility model is defined by the appended claims and their equivalents.
Claims (8)
Priority Applications (1)
| Application Number | Priority Date | Filing Date | Title |
|---|---|---|---|
| CN202222270123.XU CN217939566U (en) | 2022-08-26 | 2022-08-26 | Self-ash-cleaning filter drum dust remover |
Applications Claiming Priority (1)
| Application Number | Priority Date | Filing Date | Title |
|---|---|---|---|
| CN202222270123.XU CN217939566U (en) | 2022-08-26 | 2022-08-26 | Self-ash-cleaning filter drum dust remover |
Publications (1)
| Publication Number | Publication Date |
|---|---|
| CN217939566U true CN217939566U (en) | 2022-12-02 |
Family
ID=84211242
Family Applications (1)
| Application Number | Title | Priority Date | Filing Date |
|---|---|---|---|
| CN202222270123.XU Active CN217939566U (en) | 2022-08-26 | 2022-08-26 | Self-ash-cleaning filter drum dust remover |
Country Status (1)
| Country | Link |
|---|---|
| CN (1) | CN217939566U (en) |
-
2022
- 2022-08-26 CN CN202222270123.XU patent/CN217939566U/en active Active
Similar Documents
| Publication | Publication Date | Title |
|---|---|---|
| CN208382392U (en) | A kind of air cleaning facility convenient for clean replacement | |
| CN214287203U (en) | An industrial dust removal device | |
| CN112587029B (en) | Dust collector host and dust collector | |
| CN212378152U (en) | Plasma air purifier with dust collecting function | |
| CN217939566U (en) | Self-ash-cleaning filter drum dust remover | |
| CN111701974A (en) | Interior decoration dust isolation equipment | |
| CN212701174U (en) | Dust collector for mining | |
| CN211913075U (en) | Bag-type dust collector | |
| WO2022143096A1 (en) | Vacuum cleaner main unit, and vacuum cleaner | |
| CN115318033B (en) | Dispersed particle separation environmental protection equipment of dry-type cleaning machine | |
| CN220633524U (en) | Integrated dust removal equipment | |
| CN201299511Y (en) | Vacuum cleaner with automatic dust cleaning apparatus | |
| CN218485415U (en) | Bag-type dust collector capable of rapidly cleaning dust | |
| CN102772169B (en) | A kind of dust collect plant with compression function and control method thereof | |
| CN207739201U (en) | Sweeper | |
| CN216440276U (en) | Coal mine ventilation dust removal device | |
| CN214715142U (en) | Air detection and purification equipment based on artificial intelligence | |
| CN219333593U (en) | Filter structure of dust remover | |
| CN212326285U (en) | Dust removal bag structure suitable for dust catcher | |
| CN209952500U (en) | Dust removal unit suitable for powdery dust and smoke dust | |
| CN201445888U (en) | Three-stage dust removal unit | |
| CN219333566U (en) | Feed dust remover with filter bag upper caking removing structure | |
| CN223789111U (en) | Dust collection device with automatic synchronous displacement function | |
| CN218458909U (en) | Environmental protection filter bag for dust collecting equipment convenient to dismantle and wash | |
| CN221131417U (en) | Cloth bag dust remover for waste gas treatment |
Legal Events
| Date | Code | Title | Description |
|---|---|---|---|
| GR01 | Patent grant | ||
| GR01 | Patent grant |
