CN217897545U - 一种门禁锁 - Google Patents

一种门禁锁 Download PDF

Info

Publication number
CN217897545U
CN217897545U CN202221729699.1U CN202221729699U CN217897545U CN 217897545 U CN217897545 U CN 217897545U CN 202221729699 U CN202221729699 U CN 202221729699U CN 217897545 U CN217897545 U CN 217897545U
Authority
CN
China
Prior art keywords
plate
limiting
key
slot
lock
Prior art date
Legal status (The legal status is an assumption and is not a legal conclusion. Google has not performed a legal analysis and makes no representation as to the accuracy of the status listed.)
Active
Application number
CN202221729699.1U
Other languages
English (en)
Inventor
刘训喜
刘晓梅
陈学发
刘咏梅
Current Assignee (The listed assignees may be inaccurate. Google has not performed a legal analysis and makes no representation or warranty as to the accuracy of the list.)
Shanghai Nudange Safety Equipment Co ltd
Original Assignee
Shanghai Nudange Safety Equipment Co ltd
Priority date (The priority date is an assumption and is not a legal conclusion. Google has not performed a legal analysis and makes no representation as to the accuracy of the date listed.)
Filing date
Publication date
Application filed by Shanghai Nudange Safety Equipment Co ltd filed Critical Shanghai Nudange Safety Equipment Co ltd
Priority to CN202221729699.1U priority Critical patent/CN217897545U/zh
Application granted granted Critical
Publication of CN217897545U publication Critical patent/CN217897545U/zh
Active legal-status Critical Current
Anticipated expiration legal-status Critical

Links

Images

Landscapes

  • Lock And Its Accessories (AREA)

Abstract

本实用新型涉及一种门禁锁,属于门锁技术领域,包括底板、下板、上板、限位轴、第一弹簧、限位销、锁止块、第二弹簧、锁栓和钥匙。本实用新型通过锁止块、限位轴和限位销来与钥匙和锁栓配合,当钥匙插入后锁栓可以拔出,当锁栓拔出后,锁止块使得钥匙无法拔出;当重新插入锁栓时限位轴解锁,从而可以拔出钥匙,同时限位轴重新锁定锁栓;通过锁珠板实现了钥匙插入的唯一性,防护效果好,更加实用。

Description

一种门禁锁
技术领域
本实用新型涉及门锁技术领域,具体是一种门禁锁。
背景技术
门锁是顾名思义就是用来把门锁住,以防止他人打开这个门的设备。门锁的分类很多,在各个场合对门锁的要求不一样,普通家庭一般用防盗门禁锁。
目前类似钥匙无法实现门禁的联锁,本实用新型的门禁锁解决具体应用环境中对门的联锁,如清管站快开门、放射源开关门等。
实用新型内容
本实用新型的目的在于提供一种门禁锁,以解决上述背景技术中提出的问题。
为实现上述目的,本实用新型提供如下技术方案:
一种门禁锁,包括:
底板;
下板,安装在所述底板一侧,所述下板与底板之间形成供锁栓插入的第一插槽;
上板,安装在所述下板远离底板的一侧,所述上板与下板之间形成供钥匙插入的第二插槽;
限位轴,一端转动安装在所述上板内,另一端贯穿所述下板并延伸至第一插槽内,所述限位轴延伸至第一插槽的一端与锁栓相配合;
第一弹簧,一端与所述限位轴相连,另一端与上板相连;
限位销,固定安装在所述限位轴上并与钥匙相配合,当钥匙插入时驱动限位销带着限位轴转动来压缩第一弹簧,并通过限位轴解锁锁栓;
锁止块,一端通过第二弹簧与所述上板相连,另一端与所述锁栓相配合;
限位片,安装在所述限位轴上并与钥匙和锁止块相配合,当拔出锁栓时,锁止块在第二弹簧的作用下复位将限位片挡住,使得钥匙无法拔出;当插入锁栓时,推动锁止块压缩第二弹簧,此时限位片和限位轴解锁,拔出钥匙后限位轴在第一弹簧的作用下复位。
作为本实用新型的进一步技术方案,所述上板和下板之间安装第一限位板、第二限位板和第三限位板,所述第二限位板安装在远离第二插槽的一端,所述第一限位板和第三限位板分别设置在第二插槽相邻的两侧。
作为本实用新型的更进一步技术方案,所述下板与底板之间安装有第四限位板、第一盖板和第二盖板,所述第四限位板安装在远离第一插槽的一端,所述第一盖板和第二盖板分别设置在第一插槽相邻的两侧。
作为本实用新型的再进一步技术方案,所述上板内安装有与钥匙相配合的锁珠板。
作为本实用新型的再进一步技术方案,所述上板远离第一插槽的一端安装有与其转动连接的第一防尘片,所述第一防尘片与第二插槽相配合,所述上板靠近第一插槽的一端安装有与其转动连接的第二防尘片,所述第二防尘片与第一插槽相配合。
与现有技术相比,本实用新型的有益效果是:钥匙插入后通过限位销带着限位轴转动压缩第一弹簧,限位轴将锁栓解锁,锁栓可以拔出,与此同时,限位轴转动时带着限位片与钥匙接触;当锁栓拔出后,锁止块在第二弹簧的作用下复位,将限位片挡住,从而使得钥匙无法拔出;当重新插入锁栓时推动锁止块压缩第二弹簧,限位片不再被挡,此时限位轴解锁,从而可以拔出钥匙,同时限位轴在第一弹簧的作用下复位,重新锁定锁栓;通过锁珠板实现了钥匙插入的唯一性,防护效果好,更加实用。
附图说明
图1为门禁锁的俯视图;
图2为图1中A-A处的剖视图;
图3为图1中B-B处的剖视图;
图4为门禁锁的左视图。
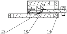
图中:1-上板、2-第一限位板、3-第二限位板、4-第三限位板、5-锁珠板、6-限位轴、7-钥匙、8-限位销、9-下板、10-第四限位板、11-底板、12-第一盖板、14-第二盖板、17-标识板、18-限位片、20-锁止块、21-锁栓、22-第一防尘片、24-第二防尘片。
具体实施方式
下面将结合本实用新型实施例中的附图,对本实用新型实施例中的技术方案进行清楚、完整地描述。
本实用新型实施例是这样实现的,如图1至图4所示的一种门禁锁,包括:
底板11;
下板9,安装在所述底板11一侧,所述下板9与底板11之间形成供锁栓21插入的第一插槽;
上板1,安装在所述下板9远离底板11的一侧,所述上板1与下板9之间形成供钥匙7插入的第二插槽;
限位轴6,一端转动安装在所述上板1内,另一端贯穿所述下板9并延伸至第一插槽内,所述限位轴6延伸至第一插槽的一端与锁栓21相配合;
第一弹簧,一端与所述限位轴6相连,另一端与上板1相连;
限位销8,固定安装在所述限位轴6上并与钥匙7相配合,当钥匙7插入时驱动限位销8带着限位轴6转动来压缩第一弹簧,并通过限位轴6解锁锁栓21;
锁止块20,一端通过第二弹簧与所述上板1相连,另一端与所述锁栓21相配合;
限位片18,安装在所述限位轴6上并与钥匙7和锁止块20相配合,当拔出锁栓21时,锁止块20在第二弹簧的作用下复位将限位片18挡住,使得钥匙7无法拔出;当插入锁栓21时,推动锁止块20压缩第二弹簧,此时限位片18和限位轴6解锁,拔出钥匙7后限位轴6在第一弹簧的作用下复位。
本实用新型在实际应用时,正常情况下锁止块20在锁栓21的作用下压缩第二弹簧,此时限位轴6解锁,可以插入钥匙7,钥匙7插入后通过限位销8带着限位轴6转动压缩第一弹簧,限位轴6将锁栓21解锁,锁栓21可以拔出,与此同时,限位轴6转动时带着限位片18与钥匙7接触;当锁栓21拔出后,锁止块20在第二弹簧的作用下复位,将限位片18挡住,从而使得钥匙7无法拔出;当重新插入锁栓21时推动锁止块20压缩第二弹簧,限位片18不再被挡,此时限位轴6解锁,从而可以拔出钥匙7,同时限位轴6在第一弹簧的作用下复位,重新锁定锁栓21。
如图2至图4所示,作为本实用新型一个优选的实施例,所述上板1和下板9之间安装第一限位板2、第二限位板3和第三限位板4,所述第二限位板3安装在远离第二插槽的一端,所述第一限位板2和第三限位板4分别设置在第二插槽相邻的两侧;所述下板9与底板11之间安装有第四限位板10、第一盖板12和第二盖板14,所述第四限位板10安装在远离第一插槽的一端,所述第一盖板12和第二盖板14分别设置在第一插槽相邻的两侧。
在本实施例的一种情况中,通过第一限位板2、第二限位板3和第三限位安装在上板1和下板9之间的三侧,便于从一端插入钥匙7进行稳定工作,非整体式结构拆装方便,同理,在第四限位板10、第一盖板12和第二盖板14的配合下可以保证锁栓21的稳定工作,而且便于进行拆装,更加实用。
如图3、图4所示,作为本实用新型另一个优选的实施例,所述上板1内安装有与钥匙7相配合的锁珠板5,所述上板1远离第一插槽的一端安装有与其转动连接的第一防尘片22,所述第一防尘片22与第二插槽相配合,所述上板1靠近第一插槽的一端安装有与其转动连接的第二防尘片24,所述第二防尘片24与第一插槽相配合。
在本实施例的一种情况中,通过设置锁珠板5可以保证钥匙7的唯一性,使用时更加安全,第一防尘片22可以在钥匙7拔出时对第二插槽进行防护,实现防水防尘,同理,第二防尘片24可以对第一插槽进行防护,更加安全实用,优选的,所述上板1上设有标识板17,便于识别。
对于本领域技术人员而言,显然本实用新型不限于上述示范性实施例的细节,而且在不背离本实用新型的精神或基本特征的情况下,能够以其他的具体形式实现本实用新型。因此,无论从哪一点来看,均应将实施例看作是示范性的,而且是非限制性的,本实用新型的范围由所附权利要求而不是上述说明限定,因此旨在将落在权利要求的等同要件的含义和范围内的所有变化囊括在本实用新型内。不应将权利要求中的任何附图标记视为限制所涉及的权利要求。
此外,应当理解,虽然本说明书按照实施方式加以描述,但并非每个实施方式仅包含一个独立的技术方案,说明书的这种叙述方式仅仅是为清楚起见,本领域技术人员应当将说明书作为一个整体,各实施例中的技术方案也可以经适当组合,形成本领域技术人员可以理解的其他实施方式。

Claims (5)

1.一种门禁锁,其特征在于,包括:
底板;
下板,安装在所述底板一侧,所述下板与底板之间形成供锁栓插入的第一插槽;
上板,安装在所述下板远离底板的一侧,所述上板与下板之间形成供钥匙插入的第二插槽;
限位轴,一端转动安装在所述上板内,另一端贯穿所述下板并延伸至第一插槽内,所述限位轴延伸至第一插槽的一端与锁栓相配合;
第一弹簧,一端与所述限位轴相连,另一端与上板相连;
限位销,固定安装在所述限位轴上并与钥匙相配合,当钥匙插入时驱动限位销带着限位轴转动来压缩第一弹簧,并通过限位轴解锁锁栓;
锁止块,一端通过第二弹簧与所述上板相连,另一端与所述锁栓相配合;
限位片,安装在所述限位轴上并与钥匙和锁止块相配合,当拔出锁栓时,锁止块在第二弹簧的作用下复位将限位片挡住,使得钥匙无法拔出;当插入锁栓时,推动锁止块压缩第二弹簧,此时限位片和限位轴解锁,拔出钥匙后限位轴在第一弹簧的作用下复位。
2.根据权利要求1所述的一种门禁锁,其特征在于,所述上板和下板之间安装第一限位板、第二限位板和第三限位板,所述第二限位板安装在远离第二插槽的一端,所述第一限位板和第三限位板分别设置在第二插槽相邻的两侧。
3.根据权利要求2所述的一种门禁锁,其特征在于,所述下板与底板之间安装有第四限位板、第一盖板和第二盖板,所述第四限位板安装在远离第一插槽的一端,所述第一盖板和第二盖板分别设置在第一插槽相邻的两侧。
4.根据权利要求1所述的一种门禁锁,其特征在于,所述上板内安装有与钥匙相配合的锁珠板。
5.根据权利要求4所述的一种门禁锁,其特征在于,所述上板远离第一插槽的一端安装有与其转动连接的第一防尘片,所述第一防尘片与第二插槽相配合,所述上板靠近第一插槽的一端安装有与其转动连接的第二防尘片,所述第二防尘片与第一插槽相配合。
CN202221729699.1U 2022-07-07 2022-07-07 一种门禁锁 Active CN217897545U (zh)

Priority Applications (1)

Application Number Priority Date Filing Date Title
CN202221729699.1U CN217897545U (zh) 2022-07-07 2022-07-07 一种门禁锁

Applications Claiming Priority (1)

Application Number Priority Date Filing Date Title
CN202221729699.1U CN217897545U (zh) 2022-07-07 2022-07-07 一种门禁锁

Publications (1)

Publication Number Publication Date
CN217897545U true CN217897545U (zh) 2022-11-25

Family

ID=84133696

Family Applications (1)

Application Number Title Priority Date Filing Date
CN202221729699.1U Active CN217897545U (zh) 2022-07-07 2022-07-07 一种门禁锁

Country Status (1)

Country Link
CN (1) CN217897545U (zh)

Similar Documents

Publication Publication Date Title
CN201756871U (zh) 一种多重防盗的数码保险箱
WO2015024202A1 (zh) 防盗子母排片锁
CN217897545U (zh) 一种门禁锁
CN210239400U (zh) 无源挂锁
CN202831845U (zh) 一种防盗可自锁锁芯
CN209990271U (zh) 一种电子防盗门锁
CN211653809U (zh) 基于人脸识别的主动报警装置
CN218716311U (zh) 一种具有防盗功能的无障碍单元门
CN215255365U (zh) 一种箱体锁具
CN206438857U (zh) 一种防盗门锁及含其的防盗门
CN105844794A (zh) 一种具有双锁控制开启功能的硬币回收箱
CN210483316U (zh) 一种u型锁锁体结构
CN108286369B (zh) 一种电子门锁
CN221481666U (zh) 一种自动电子锁
CN221442420U (zh) 一种安防工程用智能安防门
CN221346585U (zh) 一种门把手
CN205608878U (zh) 一种具有双锁控制开启功能的硬币回收箱
CN213359863U (zh) 一种带有遮板的防撬锁防盗门
CN220955117U (zh) 一种隐藏式箱锁结构
CN217001305U (zh) 铁路作业智能门锁
CN221503066U (zh) 带有安全门锁的开门结构
CN222745864U (zh) 一种智能锁具
CN217176366U (zh) 一种具有防砸门锁功能的防盗门
CN219754290U (zh) 一种智能门锁翻盖自锁结构及智能门锁
CN218275526U (zh) 一种配电柜用防止随意开启的防盗门

Legal Events

Date Code Title Description
GR01 Patent grant
GR01 Patent grant