CN217858095U - Cold-rolled steel bar feeding equipment - Google Patents
Cold-rolled steel bar feeding equipment Download PDFInfo
- Publication number
- CN217858095U CN217858095U CN202222145884.2U CN202222145884U CN217858095U CN 217858095 U CN217858095 U CN 217858095U CN 202222145884 U CN202222145884 U CN 202222145884U CN 217858095 U CN217858095 U CN 217858095U
- Authority
- CN
- China
- Prior art keywords
- hinged
- cylinder
- trolley
- support
- hollow shaft
- Prior art date
- Legal status (The legal status is an assumption and is not a legal conclusion. Google has not performed a legal analysis and makes no representation as to the accuracy of the status listed.)
- Active
Links
Images
Landscapes
- Winding, Rewinding, Material Storage Devices (AREA)
Abstract
一种冷轧钢筋上料设备,包括芯筒,在芯筒侧面固定安装有支架,托板铰接在支架上,托板与支架的铰接点偏离托板的两端,托举油缸的下端铰接在支架下部,托举油缸的缸杆与托板的外端之间铰接,在芯筒的前端下方设置有带驱动的小车,小车上安装有托辊油缸,托辊油缸的缸身铰接在小车上,小车上后部固定连接有铰接架,V形臂的下端铰接在托辊油缸的缸杆上,V形臂的上端转动连接有托辊,V形臂靠近V形底部位铰接在铰接架上,芯筒后端为锥形,在芯筒的后端转动连接有空心轴,空心轴的后端转动连接在支座上,在空心轴上靠近后端具有一段缺口,在空心轴上靠近前端固定连接有辊轮架,辊轮架上转动安装有两个平行的辊轮。在缺口上固定安装有定滑轮。本上可实现800米/分钟速度下可靠运行。
A cold-rolled steel bar feeding equipment, including a core tube, a bracket is fixedly installed on the side of the core tube, the support plate is hinged on the support, the hinge point of the support plate and the support deviates from the two ends of the support plate, and the lower end of the lifting cylinder is hinged on the The lower part of the bracket is hinged between the cylinder rod of the lifting cylinder and the outer end of the supporting plate. A trolley with a drive is arranged under the front end of the core barrel. A roller cylinder is installed on the trolley, and the cylinder body of the roller cylinder is hinged on the trolley. , the upper and rear parts of the trolley are fixedly connected with an articulated frame, the lower end of the V-shaped arm is hinged on the cylinder rod of the idler cylinder, the upper end of the V-shaped arm is rotatably connected with the idler, and the V-shaped arm is hinged on the articulated frame near the V-shaped bottom. , the rear end of the mandrel is conical, and a hollow shaft is rotatably connected to the rear end of the mandrel. A roller frame is fixedly connected, and two parallel rollers are rotatably installed on the roller frame. A fixed pulley is fixedly installed on the gap. Basically, it can realize reliable operation at a speed of 800 m/min.
Description
技术领域technical field
本实用新型涉及冷轧钢筋生产设备,特别涉及一种冷轧钢筋上料设备,属于冷轧钢筋技术领域。The utility model relates to cold-rolled steel bar production equipment, in particular to a cold-rolled steel bar feeding equipment, which belongs to the technical field of cold-rolled steel bars.
背景技术Background technique
在目前冷轧钢筋生产装备技术领域,在用上料机结构形式主要有卧式和立式两种结构形式。卧式上料机结构简单,一般采用两个“炮台”式芯筒,两个芯筒上的料卷首尾焊接实现连续上料,一般配套简易型生产线,由于上料时采用简单的拉出方式,容易发生缠料,上料、开卷速度一般不能高于200米/分钟。立式上料机分主要有双芯柱立式上料机和(单芯柱)立式上料机,双芯柱立式上料机并列有两个芯柱,交替上料和开卷。该设备相对设备规模不大(单套设备重约6吨),但是存在前后料卷首尾连接区段开卷时运行状态不可控的固有缺陷,开卷速度高于300米/分钟时故障率就明显上升。单芯柱立式上料机主要由上料小车、翻转装置及升降装置三部分组成。升降装置将翻转成竖直状态的料卷竖直同心堆叠在一起,克服了现有双芯柱立式上料机交替开卷的固有缺陷,开卷时由于重力的作用,料卷容易分开,将开卷速速突破性提升至1000米/分钟。但是这种上料设备规模大、制造成本高,并且设备占用较大的空间高度,需要将厂房分割开(单套设备重约20吨,高度10米以上),使生产厂房无法实现前后天车公用互通。另外,上述几种上料方式,都是将原料水平或竖直自然拉开的方式实现开卷,都无法避免原料卷形态变形较大情况下出现绕钢的运行故障。In the current technical field of cold-rolled steel bar production equipment, there are mainly two structural forms of the feeding machine in use: horizontal and vertical. The horizontal feeding machine has a simple structure, and generally adopts two "turret" type core barrels, and the material coils on the two core barrels are welded end to end to realize continuous feeding. Generally, it is equipped with a simple production line. , prone to entanglement, the feeding and uncoiling speeds generally cannot be higher than 200 m/min. The vertical feeder is mainly divided into double-stem vertical feeder and (single-stem) vertical feeder. The double-stem vertical feeder has two stems side by side, alternately feeding and uncoiling. The scale of this equipment is relatively small (a single set of equipment weighs about 6 tons), but it has the inherent defect that the operation state of the front and rear coil head-to-tail connection sections cannot be controlled when uncoiling, and the failure rate increases significantly when the uncoiling speed is higher than 300 m/min. . The single core column vertical feeding machine is mainly composed of three parts: feeding trolley, turning device and lifting device. The lifting device stacks the rolls that have been flipped into a vertical state vertically and concentrically, which overcomes the inherent defect of the existing double-column vertical feeder that unwinds alternately. Due to the action of gravity, the rolls are easy to separate when uncoiling The speed breakthrough has been increased to 1000 m/min. However, this kind of feeding equipment has a large scale, high manufacturing cost, and the equipment occupies a large space height. It is necessary to separate the workshop (a single set of equipment weighs about 20 tons and is more than 10 meters high), making it impossible for the production workshop to realize front and rear cranes. public interworking. In addition, the above-mentioned several feeding methods all realize the uncoiling by pulling the raw material horizontally or vertically naturally, which cannot avoid the operation failure of the steel winding when the shape of the raw material coil is greatly deformed.
发明内容Contents of the invention
本实用新型的目的在于克服目前的冷轧钢筋生产中上料设备存在的上述问题,提供一种冷轧钢筋上料设备。The purpose of the utility model is to overcome the above-mentioned problems existing in the feeding equipment in the current production of cold-rolled steel bars, and provide a kind of feeding equipment for cold-rolled steel bars.
为实现本实用新型的目的,采用了下述的技术方案:一种冷轧钢筋上料设备,包括芯筒,芯筒穿设在料卷的内孔中,在芯筒侧面固定安装有支架,托板铰接在支架上,托板与支架的铰接点偏离托板的两端,托举油缸的下端铰接在支架下部,托举油缸的缸杆与托板的外端之间铰接,在芯筒的前端下方固定安装有轨道,轨道上配合有带驱动的小车,小车上安装有托辊油缸,所述的托辊油缸的缸身铰接在小车上,小车上后部固定连接有铰接架,V形臂的下端铰接在托辊油缸的缸杆上,V形臂的上端转动连接有托辊,V形臂靠近V形底部位铰接在铰接架上,芯筒后端为锥形,锥形的大端部大于料卷的内孔,在芯筒的后端转动连接有空心轴,所述的空心轴的后端转动连接在支座上,在空心轴上靠近后端具有一段缺口,在空心轴上靠近前端固定连接有辊轮架,辊轮架上转动安装有至少两个平行的辊轮,至少两个辊轮之间为封闭空间;在缺口上固定安装有定滑轮。In order to achieve the purpose of the utility model, the following technical scheme is adopted: a cold-rolled steel bar feeding equipment, including a core tube, the core tube is set in the inner hole of the material roll, and a bracket is fixedly installed on the side of the core tube, The supporting plate is hinged on the bracket, the hinge point of the supporting plate and the supporting plate deviates from the two ends of the supporting plate, the lower end of the lifting cylinder is hinged at the lower part of the bracket, the cylinder rod of the lifting cylinder is hinged with the outer end of the supporting plate, and is in the core tube A track is fixedly installed under the front end of the car, and a trolley with a drive is fitted on the track. An idler cylinder is installed on the trolley. The cylinder body of the idler cylinder is hinged on the trolley. The lower end of the arm is hinged on the cylinder rod of the idler cylinder, the upper end of the V-arm is rotatably connected to the idler, and the V-arm is hinged on the hinged frame near the V-shaped bottom. The large end is larger than the inner hole of the material roll, and a hollow shaft is rotatably connected to the rear end of the core barrel. The rear end of the hollow shaft is rotatably connected to the support, and there is a gap near the rear end of the hollow shaft. A roller frame is fixedly connected near the front end on the shaft, and at least two parallel rollers are rotatably installed on the roller frame, and there is a closed space between at least two rollers; a fixed pulley is fixedly installed on the gap.
进一步的;在托板的内端上表面开设有弧形凹槽。Further; an arc-shaped groove is opened on the upper surface of the inner end of the supporting plate.
进一步的;在铰接架的左右两侧均固定连接有推板。Further; push plates are fixedly connected to the left and right sides of the hinged frame.
进一步的;在支座处的空心轴上安装有制动装置。Further; a braking device is installed on the hollow shaft at the support.
本实用新型的积极有益技术效果在于:本上料设备总体采用卧式结构,整体高度不超过两米,设备总重小于10吨,经过试验可实现800米/分钟速度下可靠运行。采用了空心轴旋转开卷,解决了卷形变形较大的情况下的料卷绕钢的问题。The positive and beneficial technical effects of the utility model are: the feeding equipment generally adopts a horizontal structure, the overall height does not exceed two meters, and the total weight of the equipment is less than 10 tons. After testing, it can realize reliable operation at a speed of 800 m/min. The hollow shaft is used to rotate and uncoil, which solves the problem of material winding steel under the condition of large deformation of the coil shape.
附图说明Description of drawings
图1是本实用新型的整体示意图。Fig. 1 is the overall schematic diagram of the utility model.
图2是本实用新型后视的部分示意图。Fig. 2 is a partial schematic view of the rear view of the utility model.
图3是空心轴处的示意图。Figure 3 is a schematic view of the hollow shaft.
图4是托举升降状态的示意图(虚线部分为升起状态)。Fig. 4 is a schematic diagram of lifting and lowering state (the dotted line part is the raised state).
图5是托辊升降状态的示意图(虚线部分为降下状态)。Figure 5 is a schematic diagram of the lifting state of the idler roller (the dotted line part is the lowering state).
具体实施方式Detailed ways
为了更充分的解释本实用新型的实施,提供本实用新型的实施实例。这些实施实例仅仅是对本实用新型的阐述,不限制本实用新型的范围。In order to more fully explain the implementation of the utility model, implementation examples of the utility model are provided. These implementation examples are only elaborations to the utility model, and do not limit the scope of the utility model.
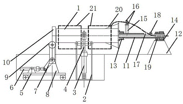
结合附图对本实用新型进一步详细的解释,附图中各标记为:1:芯筒;2:支架;3:托举油缸;4:托举板;401:弧形凹槽;5:小车;6:油缸;7:V形臂;8:铰接架;9:托辊;10:推板;11:空心轴;12:支座;13:前轴承座;14:后轴承座;15:辊轮架;16:辊轮;17:缺口;18:定滑轮;19:制动器;20:锥形;21:料卷。The utility model is further explained in detail in conjunction with the attached drawings, each mark in the attached drawings is: 1: core barrel; 2: bracket; 3: lifting cylinder; 4: lifting plate; 401: arc groove; 5: trolley; 6: Oil cylinder; 7: V-shaped arm; 8: Articulated frame; 9: Roller; 10: Push plate; 11: Hollow shaft; 12: Support; 13: Front bearing seat; 14: Rear bearing seat; 15: Roller Wheel frame; 16: roller; 17: gap; 18: fixed pulley; 19: brake; 20: cone; 21: roll.
如附图所示,在支座12上固定安装有后轴承座14,空心轴11的后端通过轴承转动安装在后轴承座上,在芯筒1的后端面上固定连接有前轴承座13,空心轴11的前端通过轴承转动安装在前轴承座上。As shown in the drawings, a
芯筒1的后端为锥形,锥形如20所示,锥形的大端部大于料卷的内孔,锥形可防止料卷21脱出,芯筒1穿设在料卷21的内孔中,在空心轴靠近后端具有一段缺口17,缺口上安装有一个定滑轮18,在空心轴靠近前端固定安装有辊轮架15,在辊轮架15上安装有两个平行的辊轮16,两个辊轮之间为封闭空间以保证钢筋不会脱出,封闭空间还可以是四个辊轮形成的封闭空间,四个辊轮在长方形的四个边上,钢筋经过两个辊轮之间再经过定滑轮之下后进入空心轴内,从空心轴的后端引出。为了保证生产线瞬时停机时空心轴能够及时的停下,在支座处的空心轴上安装有制动器12(制动装置),制动器动作可将空心轴制动。制动器目前可以应用的很多,如抱闸式制动器即可,如可采用某企业的YWZ型的抱闸制动器。The rear end of the
如图2所示,在芯筒1侧面固定安装有支架2,托板4铰接在支架上端,支架1上端向内弯曲,在托板的内端上表面开设有弧形凹槽401,弧形凹槽可以更好支撑芯筒,托板与支架的铰接点偏离托板的两端,托举油缸3的下端铰接在支架下部,托举油缸的缸杆与托板的外端之间铰接,在芯筒1的前端下方固定安装有轨道,轨道上配合有带驱动的小车5,托辊油缸6的缸身铰接在小车上,小车上后部固定连接有铰接架8,V形臂7的下端铰接在托辊油缸的缸杆上,V形臂的上端转动连接有托辊9,图中有两个托辊,两个托辊均为锥形,锥形的小端部相互靠近,V形臂靠近V形底部位铰接在铰接架8上,在铰接架的左右两侧均固定连接有推板10。推板10在小车向后行进时可推动料卷沿芯筒向后移动。As shown in Figure 2, a
本设备的上料过程如下:The feeding process of this equipment is as follows:
上料过程方法:Feeding process method:
1.初始状态下,托板处于升起状态,从中部托起芯筒。小车的V形臂处于降落状态,推料小车处于图1中所示的位置;1. In the initial state, the supporting plate is in a raised state, and the core barrel is supported from the middle. The V-shaped arm of the trolley is in the landing state, and the pushing trolley is in the position shown in Figure 1;
2.通过行车或其它方式将第一卷料卷放置于芯筒的前端,小车的V形臂升起并向后运动,当托辊可靠的托住芯筒的底部后,托板降落到底部。小车持续向后侧运动到达图1支架的位置,同时将料卷推至芯筒的后侧;2. Place the first coil on the front end of the core barrel by driving or other means, the V-shaped arm of the trolley rises and moves backward, when the supporting roller reliably supports the bottom of the core barrel, the supporting plate falls to the bottom . The trolley continues to move to the rear side to reach the position of the bracket in Figure 1, and at the same time push the material roll to the rear side of the core barrel;
3.小车反向运行,当图1中所示的位置,快要脱离芯筒时,托板升起托住芯筒,推料小车持续运行至后端,V形臂降落;3. The trolley runs in the reverse direction. When the position shown in Figure 1 is about to leave the core barrel, the supporting plate rises to hold the core barrel, the pushing trolley continues to run to the rear end, and the V-shaped arm descends;
4.将第二卷料卷放置于芯筒的后端,然后将两卷原料首尾对焊连接,同时将料卷1的钢筋从右端牵引出来,穿过辊轮,从空心轴的缺口经定滑轮到达空心轴内孔,最后从后端引出并至后续工序;4. Place the second coil on the rear end of the core barrel, and then connect the two coils of raw materials end to end by butt welding. At the same time, draw the steel bar of
5.在后续工序设备牵引条件下,上料机即可开始放卷;放卷过程中芯筒静止,空心轴高速旋转实现开卷,在生产线瞬时故障停机时,制动器动作,可及时停车;5. Under the condition of equipment traction in the subsequent process, the feeder can start unwinding; during the unwinding process, the core barrel is stationary, and the hollow shaft rotates at high speed to realize uncoiling. When the production line stops due to instantaneous failure, the brake acts to stop in time;
6.在料卷1接近放卷完成时,推料小车的摆臂升起并向后运动,将料卷2向后推送;6. When the
7.按上述流程,即可实现连续上料、对焊、放卷作业。7. According to the above process, continuous feeding, butt welding and unwinding operations can be realized.
向芯筒上上料、小车移动均可通过人工操作进行。Feeding to the core barrel and moving the trolley can be done manually.
在详细说明本实用新型的实施方式之后,熟悉该项技术的人士可清楚地了解,在不脱离上述申请专利范围与精神下可进行各种变化与修改,凡依据本实用新型的技术实质对以上实施例所作的任何简单修改、等同变化与修饰,均属于本实用新型技术方案的范围,且本实用新型亦不受限于说明书中所举实例的实施方式。After describing the implementation of the present utility model in detail, those who are familiar with the technology can clearly understand that various changes and modifications can be carried out without departing from the scope and spirit of the above-mentioned patent application. Any simple modifications, equivalent changes and modifications made in the examples all belong to the scope of the technical solution of the utility model, and the utility model is not limited to the implementation manners of the examples cited in the specification.
Claims (4)
Priority Applications (1)
| Application Number | Priority Date | Filing Date | Title |
|---|---|---|---|
| CN202222145884.2U CN217858095U (en) | 2022-08-16 | 2022-08-16 | Cold-rolled steel bar feeding equipment |
Applications Claiming Priority (1)
| Application Number | Priority Date | Filing Date | Title |
|---|---|---|---|
| CN202222145884.2U CN217858095U (en) | 2022-08-16 | 2022-08-16 | Cold-rolled steel bar feeding equipment |
Publications (1)
| Publication Number | Publication Date |
|---|---|
| CN217858095U true CN217858095U (en) | 2022-11-22 |
Family
ID=84076791
Family Applications (1)
| Application Number | Title | Priority Date | Filing Date |
|---|---|---|---|
| CN202222145884.2U Active CN217858095U (en) | 2022-08-16 | 2022-08-16 | Cold-rolled steel bar feeding equipment |
Country Status (1)
| Country | Link |
|---|---|
| CN (1) | CN217858095U (en) |
Cited By (1)
| Publication number | Priority date | Publication date | Assignee | Title |
|---|---|---|---|---|
| CN115106399A (en) * | 2022-08-16 | 2022-09-27 | 安阳复星合力新材料股份有限公司 | Cold-rolled steel bar feeding method |
-
2022
- 2022-08-16 CN CN202222145884.2U patent/CN217858095U/en active Active
Cited By (2)
| Publication number | Priority date | Publication date | Assignee | Title |
|---|---|---|---|---|
| CN115106399A (en) * | 2022-08-16 | 2022-09-27 | 安阳复星合力新材料股份有限公司 | Cold-rolled steel bar feeding method |
| CN115106399B (en) * | 2022-08-16 | 2024-05-17 | 安阳复星合力新材料股份有限公司 | A method for feeding cold-rolled steel bars |
Similar Documents
| Publication | Publication Date | Title |
|---|---|---|
| CN102414353A (en) | Ring Spinning Intelligent Doffing Machine | |
| CN207695928U (en) | A kind of vertical machine of H profile steel group | |
| CN217858095U (en) | Cold-rolled steel bar feeding equipment | |
| CN203737731U (en) | Vertical wire rod loading system | |
| CN111252699A (en) | Induction zinc pot water-cooled capacitor replacement trolley and operation method | |
| CN115106399B (en) | A method for feeding cold-rolled steel bars | |
| CN104624673A (en) | Vertical wire rod feeding system | |
| CN111498592B (en) | Wire winding and arranging machine | |
| CN201473084U (en) | Central shaft fabric winder | |
| CN211169253U (en) | Musical instrument steel wire take-up device for automobile seat system | |
| CN210594625U (en) | Steel strand wires pay-off | |
| CN216917928U (en) | Online positive and negative book device of battery separator | |
| CN203018487U (en) | Device for disassembling sleeve and waste tail roll from winding drum shaft | |
| CN107904371B (en) | Quenching frame integrated mobile water pouring device | |
| CN115744417A (en) | Working method of novel reel changing device | |
| CN216911588U (en) | Overhead pay-off rack with hydraulic turnover function | |
| CN214989047U (en) | Solvent-free composite aluminum foil high-position unwinding system | |
| CN218340689U (en) | Horizontal feeding and rotary distributing device for cold-rolled steel bars | |
| CN215047368U (en) | Gravity type non-woven fabric tension follow-up adjusting device | |
| CN217947048U (en) | Copper sheet processing rolling equipment | |
| CN215089780U (en) | A preparation device for producing cold-rolled weathering steel by acid continuous rolling | |
| CN222754058U (en) | Outlet guide plate device of hot rolling unit | |
| CN221955544U (en) | Wire taking-up mechanism in plum blossom wire dropping machine | |
| CN207434641U (en) | A kind of strip coil of strip device for regulating rotary | |
| CN218988242U (en) | Unreeling device capable of automatically conveying roller materials |
Legal Events
| Date | Code | Title | Description |
|---|---|---|---|
| GR01 | Patent grant | ||
| GR01 | Patent grant | ||
| CP03 | Change of name, title or address | ||
| CP03 | Change of name, title or address |
Address after: 455000 Changjiang Road, high tech Zone, Henan, Anyang, China, 285 Patentee after: Henan Nansteel HeLi New Materials Co., Ltd. Country or region after: China Address before: 455000 Changjiang Road, high tech Zone, Henan, Anyang, China, 285 Patentee before: ANYANG FUXING HELI NEW MATERIAL Co.,Ltd. Country or region before: China |
