CN217525374U - A multifunctional therapeutic disc - Google Patents
A multifunctional therapeutic disc Download PDFInfo
- Publication number
- CN217525374U CN217525374U CN202220649603.4U CN202220649603U CN217525374U CN 217525374 U CN217525374 U CN 217525374U CN 202220649603 U CN202220649603 U CN 202220649603U CN 217525374 U CN217525374 U CN 217525374U
- Authority
- CN
- China
- Prior art keywords
- shaped
- placement
- treatment disc
- magnet block
- placement area
- Prior art date
- Legal status (The legal status is an assumption and is not a legal conclusion. Google has not performed a legal analysis and makes no representation as to the accuracy of the status listed.)
- Active
Links
- 230000001225 therapeutic effect Effects 0.000 title claims description 5
- 239000003814 drug Substances 0.000 claims abstract description 18
- 239000008280 blood Substances 0.000 claims abstract description 13
- 210000004369 blood Anatomy 0.000 claims abstract description 13
- 238000012360 testing method Methods 0.000 claims abstract description 13
- 238000003825 pressing Methods 0.000 claims description 16
- 210000004204 blood vessel Anatomy 0.000 abstract description 4
- 238000004140 cleaning Methods 0.000 abstract description 3
- 230000000474 nursing effect Effects 0.000 abstract description 2
- 238000004659 sterilization and disinfection Methods 0.000 abstract description 2
- 229940079593 drug Drugs 0.000 description 5
- 229920000742 Cotton Polymers 0.000 description 2
- LFQSCWFLJHTTHZ-UHFFFAOYSA-N Ethanol Chemical compound CCO LFQSCWFLJHTTHZ-UHFFFAOYSA-N 0.000 description 2
- 230000009286 beneficial effect Effects 0.000 description 1
- 238000009534 blood test Methods 0.000 description 1
- 208000015181 infectious disease Diseases 0.000 description 1
- 238000000034 method Methods 0.000 description 1
- 230000004048 modification Effects 0.000 description 1
- 238000012986 modification Methods 0.000 description 1
- 238000005070 sampling Methods 0.000 description 1
Images
Landscapes
- Magnetic Treatment Devices (AREA)
Abstract
本实用新型公开了一种多功能治疗盘,包括治疗盘本体,所述治疗盘本体上设有药品放置区、抽血试管放置区和尖锐物放置区,所述尖锐物放置区、抽血试管放置区包括设置在治疗盘本体上的T型放置槽,所述T型放置槽内放置有放置盒,所述T型放置槽内转动连接有转动盖,所述转动盖上设有第一磁块,所述T型放置槽内设有与第一磁块位置配合的第二磁块,所述第一磁块与第二磁块相抵,所述治疗盘本体上设有驱动转动盖打开的按动机构。本实用新型可以将采集血管、锐器盒以及护理药品分别单独放置,进而便于使用以及处理,且可以将放置盒取出,便于对其进行彻底的清理以及消毒处理。
The utility model discloses a multifunctional treatment disc, comprising a treatment disc body, the treatment disc body is provided with a medicine placement area, a blood drawing test tube placement area and a sharp object placement area, the sharp object placement area, the blood drawing test tube The placement area includes a T-shaped placement slot set on the body of the treatment disc, a placement box is placed in the T-shaped placement slot, a rotating cover is rotatably connected in the T-shaped placement slot, and a first magnetic field is arranged on the rotating cover. The T-shaped placement slot is provided with a second magnet block that matches the position of the first magnet block. Press the mechanism. The utility model can separately place the collection blood vessel, the sharps box and the nursing medicine, which is convenient for use and disposal, and the placing box can be taken out, which is convenient for thorough cleaning and disinfection.
Description
技术领域technical field
本实用新型涉及医疗装置技术领域,尤其涉及一种多功能治疗盘。The utility model relates to the technical field of medical devices, in particular to a multifunctional treatment disc.
背景技术Background technique
目前的治疗盘虽可以放置使用的医疗物品,但是对于采集的血液样本管以及使用后的针头不能够较好的处理,尤其是使用后的针头,可能发生遗忘的情况,存在对他人造成伤害的可能性,且未妥善保存会造成不必要的感染。Although the current treatment tray can place medical items for use, it cannot handle the collected blood sample tubes and used needles well, especially the used needles, which may be forgotten and cause harm to others. Possibility of unnecessary infection if not stored properly.
因此,我们设计了一种多功能治疗盘来解决以上问题。Therefore, we designed a multifunctional therapeutic disc to solve the above problems.
实用新型内容Utility model content
本实用新型的目的是为了解决现有技术中存在的缺点,而提出的一种多功能治疗盘,其可以将采集血管、使用后的针头以及药品分别单独放置,进而便于使用以及处理,同时,按动按压块即可将转动盖打开,方便放置采集血管、使用后的针头,且可以将放置盒取出,便于清理。The purpose of this utility model is to solve the shortcomings of the prior art, and proposes a multifunctional treatment disc, which can separately place the blood vessel, the needle after use and the medicine, so as to facilitate the use and treatment, and at the same time, The rotating cover can be opened by pressing the pressing block, which is convenient for placing the collected blood vessels and the needles after use, and the placing box can be taken out for easy cleaning.
为了实现上述目的,本实用新型采用了如下技术方案:In order to achieve the above-mentioned purpose, the utility model adopts the following technical scheme:
一种多功能治疗盘,包括治疗盘本体,所述治疗盘本体上设有药品放置区、抽血试管放置区和尖锐物放置区,所述尖锐物放置区、抽血试管放置区包括设置在治疗盘本体上的T型放置槽,所述T型放置槽内放置有放置盒,所述T型放置槽内转动连接有转动盖,所述转动盖上设有第一磁块,所述T型放置槽内设有与第一磁块位置配合的第二磁块,所述第一磁块与第二磁块相抵,所述治疗盘本体上设有驱动转动盖打开的按动机构。A multifunctional treatment disc, comprising a treatment disc body, the treatment disc body is provided with a medicine placement area, a blood drawing test tube placement area and a sharp object placement area, the sharp object placement area and the blood drawing test tube placement area include a A T-shaped placement slot on the body of the treatment disc, a placement box is placed in the T-shaped placement slot, a rotating cover is rotatably connected in the T-shaped placement slot, and a first magnetic block is arranged on the rotating cover, and the T-shaped placement slot is A second magnet block that matches the position of the first magnet block is arranged in the type placement slot, the first magnet block and the second magnet block abut, and a push mechanism for driving the rotating cover to open is provided on the treatment disc body.
优选地,所述第一磁块与第二磁块相对的一面磁极极性相反。Preferably, the polarities of the opposite sides of the first magnet block and the second magnet block are opposite to each other.
优选地,所述转动盖与治疗盘本体的转动连接处之间安装有扭簧。Preferably, a torsion spring is installed between the rotating connection between the rotating cover and the treatment disc body.
优选地,所述按动机构包括设置在治疗盘本体上且与T型放置槽连通的L型槽,所述L型槽内转动连接有L型杆,所述L型杆的上端与转动盖的底部相抵设置,所述L型槽内滑动连接有按压块,所述按压块通过连接绳与L型杆相连接。Preferably, the pressing mechanism includes an L-shaped groove arranged on the body of the treatment disc and communicated with the T-shaped placement groove, an L-shaped rod is rotatably connected in the L-shaped groove, and the upper end of the L-shaped rod is connected to the rotating cover The bottoms of the L-shaped grooves are arranged against each other, a pressing block is slidably connected in the L-shaped groove, and the pressing block is connected with the L-shaped rod through a connecting rope.
优选地,所述转动盖的转动处远离药品放置区设置。Preferably, the rotating part of the rotating cover is disposed away from the medicine placing area.
优选地,所述药品放置区上设有放置凹槽,所述放置凹槽的形状有矩形槽和圆形槽。Preferably, the medicine placement area is provided with a placement groove, and the shape of the placement groove includes a rectangular groove and a circular groove.
本实用新型与现有技术相比,其有益效果为:Compared with the prior art, the utility model has the following beneficial effects:
通过药品放置区可以放置棉签、酒精、碘伏等药品,方便拿取使用,且不易散乱;设置带转动盖的尖锐物放置区和抽血试管放置区,可以将锐器盒收纳于尖锐物放置区内,符合护理规范,此外,放置采血试管的放置盒呈栅格状设置,方便对采样管进行限位;本实用新型可以将采集血管、锐器盒以及护理药品分别单独放置,进而便于使用以及处理,且可以将放置盒取出,便于对其进行彻底的清理以及消毒处理。Cotton swabs, alcohol, iodophor and other drugs can be placed in the drug placement area, which is easy to take and use, and is not easy to be scattered; a sharp object placement area with a rotating cover and a blood drawing test tube placement area are provided, and the sharps box can be stored in the sharp object placement area. In addition, the placement box for placing the blood collection test tube is arranged in a grid shape, which is convenient for limiting the sampling tube; the utility model can place the collection blood vessel, the sharps box and the nursing medicine separately, which is convenient for use. and disposal, and the storage box can be taken out for thorough cleaning and disinfection.
附图说明Description of drawings
图1为本实用新型提出的一种多功能治疗盘的结构示意图;Fig. 1 is the structural representation of a kind of multifunctional therapeutic disc proposed by the utility model;
图2为本实用新型提出的一种多功能治疗盘中部分结构截面图;Fig. 2 is a sectional view of a part of the structure of a multifunctional treatment tray proposed by the utility model;
图3为图2中A处结构放大图。FIG. 3 is an enlarged view of the structure at A in FIG. 2 .
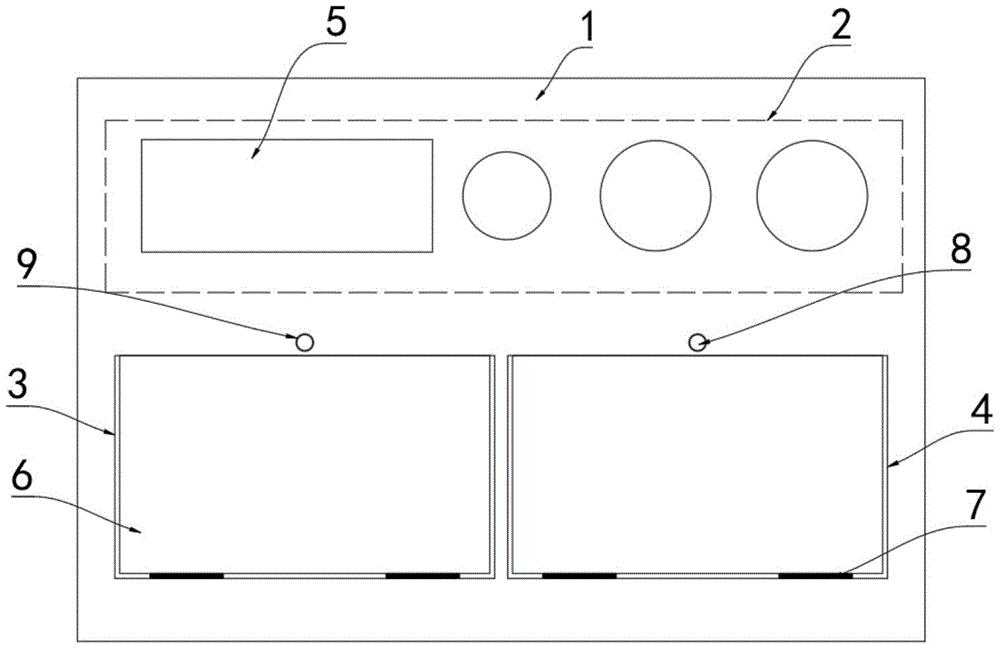
图中:1治疗盘本体、2药品放置区、3抽血试管放置区、4尖锐物放置区、5放置凹槽、6转动盖、7扭簧、8按压块、9L型槽、10T型放置槽、11放置盒、12第一磁块、13第二磁块、14L型杆。In the picture: 1. Treatment plate body, 2. Drug placement area, 3. Blood-drawing test tube placement area, 4. Sharp object placement area, 5. Placement groove, 6. Turning cover, 7. Torsion spring, 8. Pressing block, 9L-shaped groove, 10T-shaped placement Slot, 11 Placement Box, 12 First Magnet, 13 Second Magnet, 14 L-Bar.
具体实施方式Detailed ways
下面将结合本实用新型实施例中的附图,对本实用新型实施例中的技术方案进行清楚、完整地描述,显然,所描述的实施例仅仅是本实用新型一部分实施例,而不是全部的实施例。The technical solutions in the embodiments of the present utility model will be clearly and completely described below with reference to the accompanying drawings in the embodiments of the present utility model. Obviously, the described embodiments are only a part of the embodiments of the present utility model, rather than all the implementations. example.
参照图1-3,一种多功能治疗盘,包括治疗盘本体1,治疗盘本体1上设有药品放置区2、抽血试管放置区3和尖锐物放置区4,药品放置区2上设有放置凹槽5,放置凹槽5的形状有矩形槽和圆形槽;尖锐物放置区4、抽血试管放置区3包括设置在治疗盘本体1上的T型放置槽10,T型放置槽10内放置有放置盒11,放置采血试管的放置盒11呈栅格状设置;T型放置槽10内转动连接有转动盖6,转动盖6与治疗盘本体1的转动连接处之间安装有扭簧7,转动盖6盖上时扭簧7具有扭力,第一磁块12与第二磁块13的吸力大于扭簧7的扭力;转动盖6的转动处远离药品放置区2设置,不会影响药品放置区2部分的使用。1-3, a multifunctional treatment disc includes a
转动盖6上设有第一磁块12,T型放置槽10内设有与第一磁块12位置配合的第二磁块13,第一磁块12与第二磁块13相抵,第一磁块12与第二磁块13相对的一面磁极极性相反。The rotating
治疗盘本体1上设有驱动转动盖6打开的按动机构,按动机构包括设置在治疗盘本体1上且与T型放置槽10连通的L型槽9,L型槽9内转动连接有L型杆14,L型杆14的上端与转动盖6的底部相抵设置,L型槽9内滑动连接有按压块8,按压块8通过连接绳与L型杆14相连接。The
本实用新型使用时,通过药品放置区2可以放置棉签、酒精、碘伏等药品,方便拿取使用,且不易散乱;When the utility model is used, medicines such as cotton swabs, alcohol, iodophor, etc. can be placed through the
医护人员手动按动按压块8,按压块8下移带动L型杆14转动,L型杆14转动向上顶起转动盖6,使得第一磁块12与第二磁块13分离,在扭簧7的作用下,转动盖6打开,如此可以将锐器盒放置在尖锐物放置区4的放置盒11内,将采血试管放置在抽血试管放置区3内放置盒11内,使用完成后盖上转动盖6即可,此时第一磁块12与第二磁块13相吸,可以对转动盖6固定,使其不易转动;The medical staff manually presses the
使用完成后,医护人员可以打开转动盖6,将放置盒11取出,可以对其进行彻底的清理以及消毒处理。After use, the medical staff can open the rotating
以上所述,仅为本实用新型较佳的具体实施方式,但本实用新型的保护范围并不局限于此,任何熟悉本技术领域的技术人员在本实用新型揭露的技术范围内,根据本实用新型的技术方案及其实用新型构思加以等同替换或改变,都应涵盖在本实用新型的保护范围之内。The above description is only a preferred embodiment of the present invention, but the protection scope of the present invention is not limited to this. Equivalent replacement or modification of the new technical solution and its utility model concept shall be included within the protection scope of the present utility model.
Claims (6)
Priority Applications (1)
| Application Number | Priority Date | Filing Date | Title |
|---|---|---|---|
| CN202220649603.4U CN217525374U (en) | 2022-03-23 | 2022-03-23 | A multifunctional therapeutic disc |
Applications Claiming Priority (1)
| Application Number | Priority Date | Filing Date | Title |
|---|---|---|---|
| CN202220649603.4U CN217525374U (en) | 2022-03-23 | 2022-03-23 | A multifunctional therapeutic disc |
Publications (1)
| Publication Number | Publication Date |
|---|---|
| CN217525374U true CN217525374U (en) | 2022-10-04 |
Family
ID=83429372
Family Applications (1)
| Application Number | Title | Priority Date | Filing Date |
|---|---|---|---|
| CN202220649603.4U Active CN217525374U (en) | 2022-03-23 | 2022-03-23 | A multifunctional therapeutic disc |
Country Status (1)
| Country | Link |
|---|---|
| CN (1) | CN217525374U (en) |
-
2022
- 2022-03-23 CN CN202220649603.4U patent/CN217525374U/en active Active
Similar Documents
| Publication | Publication Date | Title |
|---|---|---|
| CN217525374U (en) | A multifunctional therapeutic disc | |
| CN109330706B (en) | Portable nursing device for diabetes nursing | |
| CN219782554U (en) | Medical science inspection hemostix | |
| WO2018196038A1 (en) | Convenient patient sputum collecting and sampling apparatus | |
| CN203647632U (en) | Treatment disc with sharps container | |
| CN216167895U (en) | Needle device is inhaled on operating room ground | |
| CN209678683U (en) | Nursing device for portable diabetes care | |
| CN212547541U (en) | A dressing tray for nursing | |
| CN213588506U (en) | Treatment disc capable of rotating at fixed time | |
| CN209075690U (en) | Bedside infusion pad towel | |
| CN221061242U (en) | Acupuncture instrument tray | |
| CN220293785U (en) | A kind of injection drug configuration box | |
| CN216376000U (en) | Hospital infection is with medical waste collection device that can prevent leaking | |
| CN215536567U (en) | Acupuncture and moxibustion therapy is with needle utensil disinfection box | |
| CN222899896U (en) | A portable disposable sharps collection box | |
| CN222383367U (en) | Portable diagnosis and treatment box | |
| CN113335803A (en) | Energy-concerving and environment-protective medical waste auxiliary transportation device | |
| CN219250190U (en) | An integrated device for blood glucose detection and blood collection | |
| CN219729133U (en) | Sample collection device for psychiatric care | |
| CN208625716U (en) | A portable lancet | |
| CN212952106U (en) | Portable insulin injection receiver | |
| CN218305424U (en) | Multifunctional movable nursing operation table | |
| CN216535527U (en) | Tourniquet case convenient to take and carry | |
| CN213156499U (en) | A portable medicine box for ENT care | |
| CN201930171U (en) | Device for discharging vomit of emergency patient after gastric lavage |
Legal Events
| Date | Code | Title | Description |
|---|---|---|---|
| GR01 | Patent grant | ||
| GR01 | Patent grant |
