CN217061386U - LED electronic guide board - Google Patents

LED electronic guide board Download PDF

Info

Publication number
CN217061386U
CN217061386U CN202220631395.5U CN202220631395U CN217061386U CN 217061386 U CN217061386 U CN 217061386U CN 202220631395 U CN202220631395 U CN 202220631395U CN 217061386 U CN217061386 U CN 217061386U
Authority
CN
China
Prior art keywords
led electronic
solar panel
connection
display screen
removal case
Prior art date
Legal status (The legal status is an assumption and is not a legal conclusion. Google has not performed a legal analysis and makes no representation as to the accuracy of the status listed.)
Active
Application number
CN202220631395.5U
Other languages
Chinese (zh)
Inventor
黄福生
黄承亮
黄丽娟
Current Assignee (The listed assignees may be inaccurate. Google has not performed a legal analysis and makes no representation or warranty as to the accuracy of the list.)
Hebei Lexun Electronic Technology Co ltd
Original Assignee
Ganzhou Chengliang Technology Co ltd
Priority date (The priority date is an assumption and is not a legal conclusion. Google has not performed a legal analysis and makes no representation as to the accuracy of the date listed.)
Filing date
Publication date
Application filed by Ganzhou Chengliang Technology Co ltd filed Critical Ganzhou Chengliang Technology Co ltd
Priority to CN202220631395.5U priority Critical patent/CN217061386U/en
Application granted granted Critical
Publication of CN217061386U publication Critical patent/CN217061386U/en
Active legal-status Critical Current
Anticipated expiration legal-status Critical

Links

Images

Landscapes

  • Photovoltaic Devices (AREA)

Abstract

The utility model discloses a LED electron direction tablet, including removal case, location main section of thick bamboo, solar panel and branch, the top and the internal connection of removal case are provided with connecting rod, and the positive position connection of removal case outside is provided with the chamber door, and one side of connecting rod is connected and is provided with location main section of thick bamboo, and connecting rod's opposite side is connected and is provided with the location and assists a section of thick bamboo, and connecting rod's top fixedly connected with LED electronic display screen, the switch module is installed to the positive one end bottom of LED electronic display screen. The utility model discloses a can realize that the solar panel left end reciprocates at flexible equipment, the supplementary angle slope work that rotates adaptation solar panel of solar panel right-hand member position when removing, and then it is unanimous as for the sun illumination angle that makes solar panel adjustable, improves solar energy absorption efficiency, then if accessible battery power generation control LED electronic display screen lights under the no sun condition, dual-purpose improvement direction tablet's practicality.

Description

LED electronic guide board
Technical Field
The utility model relates to a direction tablet technical field specifically is a LED electron direction tablet.
Background
The signboard is a direction-indicating card, also called a billboard, and signboard, such as a toilet directional card, a guideboard and the like can be called a signboard which has wider definition, and is a hall signboard for hotels and guest houses. The LED is a rapidly developing door made of indicating board materials, can replace neon lamps, and can be used in lamp box signboards and luminous characters of restaurants, shopping malls, convenience stores, open squares and buildings. The LED lamp has the advantages of high brightness, long service life (up to 15 ten thousand hours without maintenance), high efficiency, convenient installation, reliable performance, high cost performance and the like, and is widely applied. And also as an indication of a generally low outdoor height.
The existing guide board has mobility but poor placement stability, and is easy to have the problems of displacement and the like during use.
SUMMERY OF THE UTILITY MODEL
An object of the utility model is to provide a LED electron direction tablet to solve the current direction tablet that proposes in the above-mentioned background art, it is relatively poor nevertheless to have the mobility to place stability, appears the scheduling problem of displacement when using easily.
In order to achieve the above object, the utility model provides a following technical scheme: the utility model provides a LED electron direction tablet, is including removing case, location main section of thick bamboo, solar panel and branch, the top and the internal connection of removing the case are provided with the mobile jib, it is provided with the chamber door to remove the outside positive position connection of case, one side connection of mobile jib is provided with a location main section of thick bamboo, the opposite side connection of mobile jib is provided with the location auxiliary cylinder, the top fixedly connected with LED electronic display screen of mobile jib, switch module is installed to the positive one end of bottom of LED electronic display screen, the top connection of LED electronic display screen is provided with solar panel, the bottom connection of solar panel one end is provided with telescopic equipment, the bottom connection of the solar panel other end is provided with the connecting axle.
Preferably, both sides of the movable box are connected with supporting rods, the bottom of each supporting rod is fixedly connected with a friction increasing foot plate, and the bottom of the movable box is connected with movable wheels.
Preferably, the internal connection of connecting the mobile jib is provided with a plurality of locating holes, the internal connection of location main section of thick bamboo is provided with the locating lever, the top and the bottom of locating lever are connected and are provided with the slider, the inside top and the bottom of locating lever are connected and are provided with the spout.
Preferably, the bottom fixedly connected with slide of connecting the mobile jib, the internal connection at slide both ends is provided with the slide bar, the slide bar is fixed in the inside both sides position of removal case.
Preferably, the outside connection of locating lever is provided with compression spring, the inside one side connection of the supplementary section of thick bamboo of location is provided with the constant head tank.
Preferably, the internal connection of branch is provided with the fixed orifices, the external connection of branch intermediate position is provided with the adapter sleeve, adapter sleeve and removal case both sides fixed connection, the inside of adapter sleeve and fixed orifices is provided with clamping screw, the inside one side connection of adapter sleeve is provided with the fixed slot.
Preferably, the bottom of the sliding rod is fixedly connected with a partition plate, storage batteries are installed at the bottom of the interior of the moving box and below the partition plate, and a controller is installed on one side of each storage battery.
Compared with the prior art, the beneficial effects of the utility model are that:
(1) according to the LED electronic guide board, the telescopic equipment can realize the up-and-down movement of the left end of the solar panel through the solar panel, the telescopic equipment and the connecting shaft accessory, the right end position of the solar panel is assisted to rotate to adapt to the angle inclination work of the solar panel while moving, so that the solar panel can be adjusted to be consistent in the sun irradiation angle, the solar energy absorption efficiency is improved, and if the LED electronic display screen can be controlled to be lightened through the storage battery power generation under the condition of no sun, the practicability of the guide board is improved;
(2) according to the LED electronic guide board, the connecting main rod, the positioning main cylinder, the positioning auxiliary cylinder, the sliding seat, the sliding rod and other accessories are arranged, the heights of the connecting main rod and the LED electronic display screen can be adjusted through the action of the sliding seat and the sliding rod, the positioning rod can be directly clamped into the positioning hole and the positioning groove to fix the height of the connecting main rod under the action of the sliding block in the positioning main cylinder, the height adjustment and the fixing performance of controllability are improved, and the adjusting performance of the guide board body is effectively improved;
(3) this kind of LED electron direction tablet, through at branch with increase accessories such as the sole of rubbing, utilize branch to insert the fixed orifices and realize fixing with the fixed slot joint at adapter sleeve inside removal and through clamping screw, then satisfy and fix increasing the sole position state of rubbing, increase and rub the sole and can realize the increase friction dynamics after the ground contact, avoid the tablet to appear the problem of displacement when using.
Drawings
Fig. 1 is a schematic front view of the present invention;
FIG. 2 is a schematic view of the front view of the internal structure of the present invention;
FIG. 3 is a schematic view of the connection between the strut and the connecting sleeve according to the present invention;
fig. 4 is a schematic view of the connection structure of the connection main rod, the positioning main cylinder and the positioning auxiliary cylinder of the present invention.
Fig. 5 is the utility model discloses LED electronic display screen is connected with solar panel and is overlooked the structure sketch map.
In the figure: 1. a mobile box; 101. a box door; 2. connecting the main rod; 201. positioning holes; 3. positioning the main cylinder; 301. positioning a rod; 302. a slider; 303. a chute; 304. a compression spring; 4. positioning an auxiliary cylinder; 401. positioning a groove; 5. an LED electronic display screen; 6. a switch module; 7. a solar panel; 8. a telescopic device; 9. a connecting shaft; 10. a strut; 1001. increasing the friction of the foot plate; 1002. a fixing hole; 1003. connecting sleeves; 1004. fixing the screw rod; 1005. a fixing groove; 11. a moving wheel; 12. a slide base; 13. a slide bar; 14. a partition plate; 15. a storage battery; 16. and a controller.
Detailed Description
The technical solution in the embodiment of the present invention will be clearly and completely described below with reference to the drawings in the embodiment of the present invention, and all other embodiments obtained by a person of ordinary skill in the art without creative work belong to the scope of the present invention.
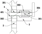
Referring to fig. 1-5, the present invention provides an embodiment: an LED electronic guide board comprises a movable box 1, a positioning main barrel 3, a solar panel 7 and a supporting rod 10, wherein a connecting main rod 2 is arranged at the top and inside of the movable box 1 in a connected mode, a box door 101 is arranged at the front position outside the movable box 1 in a connected mode, a plurality of positioning holes 201 are formed in the inside of the connecting main rod 2 in a connected mode, a positioning rod 301 is arranged inside the positioning main barrel 3 in a connected mode, a compression spring 304 is arranged outside the positioning rod 301 in a connected mode, a positioning groove 401 is arranged on one side inside an auxiliary positioning barrel 4 in a connected mode, and elasticity of the compression spring 304 can help the positioning rod 301 to rebound to the inside of the positioning groove 401;
the top and the bottom of the positioning rod 301 are provided with sliding blocks 302 in a connecting manner, the top and the bottom inside the positioning rod 301 are provided with sliding grooves 303 in a connecting manner, and the sliding grooves 303 and the sliding blocks 302 are in sliding connection;
one side of the connecting main rod 2 is connected with a positioning main barrel 3, the other side of the connecting main rod 2 is connected with a positioning auxiliary barrel 4, the top of the connecting main rod 2 is fixedly connected with an LED electronic display screen 5, one end of the front bottom of the LED electronic display screen 5 is provided with a switch module 6, the top of the LED electronic display screen 5 is connected with a solar panel 7, the bottom of one end of the solar panel 7 is connected with a telescopic device 8, the bottom of the other end of the solar panel 7 is connected with a connecting shaft 9, and the switch module 6 can control the LED electronic display screen 5 to be switched on and off;
the two sides of the movable box 1 are both connected with supporting rods 10, the bottom of each supporting rod 10 is fixedly connected with a friction increasing foot plate 1001, and the bottom of the movable box 1 is both connected with movable wheels 11;
the bottom of the connecting main rod 2 is fixedly connected with a sliding seat 12, the inner parts of two ends of the sliding seat 12 are connected with sliding rods 13, and the sliding rods 13 are fixed at two side positions in the movable box 1;
a fixing hole 1002 is formed in the interior of the supporting rod 10, a connecting sleeve 1003 is connected to the exterior of the middle position of the supporting rod 10, the connecting sleeve 1003 is fixedly connected with two sides of the movable box 1, fixing screws 1004 are arranged in the connecting sleeve 1003 and the fixing hole 1002, and a fixing groove 1005 is formed in one side of the interior of the connecting sleeve 1003;
the bottom of the sliding rod 13 is fixedly connected with a partition plate 14, a storage battery 15 is arranged at the bottom inside the movable box 1 and below the partition plate 14, and a controller 16 is arranged at one side of the storage battery 15.
When the embodiment of the application is used: slide 12 and slide bar 13's effect can be adjusted connecting main rod 2 and LED electronic display screen 5's height, then utilize slider 302 to realize at the inside gliding effect of location barrel 3 that locating lever 301 can directly block into locating hole 201 and the inside work of fixing highly the realizing connecting main rod 2 of constant head tank 401, telescopic equipment 8 can realize that solar panel 7 left end reciprocates, the supplementary rotation of solar panel 7 right-hand member position adapts to solar panel 7's angle slope work when moving, make solar panel 7 adjustable be unanimous as to the sun exposure angle, improve solar energy absorption efficiency, it is fixed with fixed slot 1005 joint realization to utilize branch 10 to remove and insert fixed orifices 1002 through set screw 1004 in adapter sleeve 1003 inside, then satisfy and fix the footboard 1001 position state that increases to rub, avoid the tablet problem that the displacement appears when using.

Claims (7)

1. The LED electronic guide board is characterized by comprising a movable box (1), a positioning main cylinder (3), a solar panel (7) and a support rod (10), wherein a connecting main rod (2) is arranged at the top of the movable box (1) and connected with the inside of the movable box, a box door (101) is connected with the external front position of the movable box (1), the positioning main cylinder (3) is connected with one side of the connecting main rod (2), a positioning auxiliary cylinder (4) is connected with the other side of the connecting main rod (2), an LED electronic display screen (5) is fixedly connected with the top of the connecting main rod (2), a switch module (6) is installed at one end of the front bottom of the LED electronic display screen (5), the solar panel (7) is connected with the top of the LED electronic display screen (5), and a telescopic device (8) is connected with the bottom of one end of the solar panel (7), and the bottom of the other end of the solar panel (7) is connected with a connecting shaft (9).
2. An LED electronic sign according to claim 1, wherein: both sides of removal case (1) all connect and are provided with branch (10), the bottom fixedly connected with of branch (10) increases and rubs sole (1001), the bottom of removal case (1) all connects and is provided with removal wheel (11).
3. An LED electronic sign according to claim 1, wherein: the internal connection of connecting main rod (2) is provided with a plurality of locating holes (201), the internal connection of location main section of thick bamboo (3) is provided with locating lever (301), the top and the bottom of locating lever (301) are connected and are provided with slider (302), inside top and the bottom of locating lever (301) are connected and are provided with spout (303).
4. An LED electronic sign according to claim 3, wherein: the bottom fixedly connected with slide (12) of connecting mobile jib (2), the internal connection at slide (12) both ends is provided with slide bar (13), slide bar (13) are fixed in the inside both sides position of removal case (1).
5. An LED electronic sign according to claim 3, wherein: the outside connection of locating lever (301) is provided with compression spring (304), the inside one side connection of location auxiliary cylinder (4) is provided with constant head tank (401).
6. An LED electronic sign according to claim 2, wherein: the internal connection of branch (10) is provided with fixed orifices (1002), the external connection of branch (10) intermediate position is provided with adapter sleeve (1003), adapter sleeve (1003) and removal case (1) both sides fixed connection, the inside of adapter sleeve (1003) and fixed orifices (1002) is provided with set screw (1004), the inside one side connection of adapter sleeve (1003) is provided with fixed slot (1005).
7. An LED electronic sign according to claim 4, wherein: the bottom fixedly connected with baffle (14) of slide bar (13), battery (15) are installed to the bottom of removal case (1) inside and the below of baffle (14), controller (16) are installed to one side of battery (15).
CN202220631395.5U 2022-03-22 2022-03-22 LED electronic guide board Active CN217061386U (en)

Priority Applications (1)

Application Number Priority Date Filing Date Title
CN202220631395.5U CN217061386U (en) 2022-03-22 2022-03-22 LED electronic guide board

Applications Claiming Priority (1)

Application Number Priority Date Filing Date Title
CN202220631395.5U CN217061386U (en) 2022-03-22 2022-03-22 LED electronic guide board

Publications (1)

Publication Number Publication Date
CN217061386U true CN217061386U (en) 2022-07-26

Family

ID=82490231

Family Applications (1)

Application Number Title Priority Date Filing Date
CN202220631395.5U Active CN217061386U (en) 2022-03-22 2022-03-22 LED electronic guide board

Country Status (1)

Country Link
CN (1) CN217061386U (en)

Similar Documents

Publication Publication Date Title
CN106439426B (en) A kind of photovoltaic board mount of tilt adjustable
CN217061386U (en) LED electronic guide board
CN210891408U (en) Solar street lamp convenient to disassemble and assemble
CN216353056U (en) Landmark sign with illumination function and height-adjustable conveniently
CN220911326U (en) Energy-saving garden lamp convenient to install and detach
CN213114390U (en) But height-adjusting's limit for height pole for town road fast
CN214249425U (en) Solar energy canal tourism ornament lamp with guide function
CN115331566A (en) Construction warning sign based on bore hole 3D technique
CN219376014U (en) Multifunctional body-building device
CN221548597U (en) Solar street lamp capable of improving solar energy utilization rate
CN216212222U (en) Billboard supporting device convenient to adjust
CN221194511U (en) Municipal bridge safety device
CN218447142U (en) Novel advertising publicity column
CN112254035A (en) Directional lighting LED lamp
CN223308742U (en) Adjustable display Chen Zhijia
CN215376817U (en) Scenic spot is with signpost that has function of lighting
CN219933758U (en) Portable lighting stage board
CN222256406U (en) Garden lamp with rotation function
CN219867693U (en) Support piece of solar lamp body
CN217928378U (en) A kind of LED energy-saving lamp
CN220749881U (en) Outdoor lamp mounting structure
CN209785479U (en) Outdoor advertising board
CN222513951U (en) A solar street light
CN218378550U (en) Measuring device
CN219033009U (en) Luminous road sign board

Legal Events

Date Code Title Description
GR01 Patent grant
GR01 Patent grant
TR01 Transfer of patent right

Effective date of registration: 20240511

Address after: Room 2303, Unit 1, Building 5, No. 8 Tangu East Street, Chang'an District, Shijiazhuang City, Hebei Province, 050000

Patentee after: Hao Julong

Country or region after: China

Address before: 342400 Ganzhou Chengliang Technology Co., Ltd., zone B, Xingguo Economic Development Zone, Ganzhou City, Jiangxi Province

Patentee before: Ganzhou Chengliang Technology Co.,Ltd.

Country or region before: China

TR01 Transfer of patent right
TR01 Transfer of patent right

Effective date of registration: 20240905

Address after: 1st Floor, West Building, No. 172 Xinhua Road, Xinhua District, Shijiazhuang City, Hebei Province, China 050000

Patentee after: Hebei Lexun Electronic Technology Co.,Ltd.

Country or region after: China

Address before: Room 2303, Unit 1, Building 5, No. 8 Tangu East Street, Chang'an District, Shijiazhuang City, Hebei Province, 050000

Patentee before: Hao Julong

Country or region before: China

TR01 Transfer of patent right