CN217016226U - Mixing device of efficient glue-pouring machine - Google Patents

Mixing device of efficient glue-pouring machine Download PDF

Info

Publication number
CN217016226U
CN217016226U CN202122656418.6U CN202122656418U CN217016226U CN 217016226 U CN217016226 U CN 217016226U CN 202122656418 U CN202122656418 U CN 202122656418U CN 217016226 U CN217016226 U CN 217016226U
Authority
CN
China
Prior art keywords
stirring
fixedly connected
tank
annular
pipe
Prior art date
Legal status (The legal status is an assumption and is not a legal conclusion. Google has not performed a legal analysis and makes no representation as to the accuracy of the status listed.)
Expired - Fee Related
Application number
CN202122656418.6U
Other languages
Chinese (zh)
Inventor
宋伟
常发伟
Current Assignee (The listed assignees may be inaccurate. Google has not performed a legal analysis and makes no representation or warranty as to the accuracy of the list.)
Yantai Hailitai Adhesive Material Co ltd
Original Assignee
Yantai Hailitai Adhesive Material Co ltd
Priority date (The priority date is an assumption and is not a legal conclusion. Google has not performed a legal analysis and makes no representation as to the accuracy of the date listed.)
Filing date
Publication date
Application filed by Yantai Hailitai Adhesive Material Co ltd filed Critical Yantai Hailitai Adhesive Material Co ltd
Priority to CN202122656418.6U priority Critical patent/CN217016226U/en
Application granted granted Critical
Publication of CN217016226U publication Critical patent/CN217016226U/en
Expired - Fee Related legal-status Critical Current
Anticipated expiration legal-status Critical

Links

Images

Landscapes

  • Mixers Of The Rotary Stirring Type (AREA)

Abstract

本实用新型公开了一种高效灌胶机的混合装置,包括搅拌罐与设置在搅拌罐上的罐盖,所述罐盖内底部转动连接有搅拌轴,所述搅拌轴侧壁固定连接有多个搅拌叶片,所述搅拌罐内设有用于清理搅拌叶片的清理机构,所述清理机构包括滑动连接在罐盖内壁的环形板,所述环形板内壁通过多个第一安装件固定连接有第一环形管。本实用新型设置了可以升降的环形板,环形板移动过程中可以刮除搅拌罐内壁的胶水,从而可以起到清理罐壁的目的,另外设置了第一喷头、第二喷头、第一环形管与第二环形管,可以吹走搅拌叶片与搅拌轴上的胶水并对它们进行清洗,做到了自动清理搅拌叶片与搅拌轴,不需要拆卸设备,从而提高了装置的实用性。

Figure 202122656418

The utility model discloses a mixing device of a high-efficiency glue filling machine, which comprises a stirring tank and a tank cover arranged on the stirring tank, wherein a stirring shaft is rotatably connected to the inner bottom of the tank cover, and the side walls of the stirring shaft are fixedly connected with multiple a stirring blade, the stirring tank is provided with a cleaning mechanism for cleaning the stirring blades, the cleaning mechanism includes an annular plate slidably connected to the inner wall of the tank cover, and the inner wall of the annular plate is fixedly connected with a first an annular tube. The utility model is provided with an annular plate that can be lifted and lowered. During the movement of the annular plate, the glue on the inner wall of the mixing tank can be scraped off, so as to clean the tank wall. In addition, a first spray head, a second spray head and a first annular pipe are provided. With the second annular tube, the glue on the stirring blade and the stirring shaft can be blown away and cleaned, so that the stirring blade and the stirring shaft can be cleaned automatically without disassembling the equipment, thereby improving the practicability of the device.

Figure 202122656418

Description

Mixing device of efficient glue-pouring machine
Technical Field
The utility model relates to the technical field of glue-pouring machines, in particular to a mixing device of a high-efficiency glue-pouring machine.
Background
The glue-pouring machine, also called as a glue-dispensing machine, is an automatic machine which is specially used for controlling fluid and dripping, coating and encapsulating liquid on the surface of a product or in the product.
The current glue-pouring machine is behind the encapsulating, often adhesion glue on (mixing) shaft and the stirring vane in the mixing arrangement, because glue has viscidity, lead to (mixing) shaft and stirring vane to be convenient for clear up, and mixing arrangement sets up inside the device, difficult dismantlement, thereby cause (mixing) shaft and stirring vane to wash the difficulty, the mixing arrangement who does not wash clean is when using next time, the problem of leaking glue, glue dripping appears more easily, so, need design a high-efficient glue-pouring machine's mixing arrangement to solve above-mentioned problem.
SUMMERY OF THE UTILITY MODEL
The utility model aims to solve the defects in the prior art and provides a mixing device of a high-efficiency glue-pouring machine.
In order to achieve the purpose, the utility model adopts the following technical scheme:
the utility model provides a mixing arrangement of high-efficient glue-pouring machine, includes agitator tank and the cover of setting on the agitator tank, the bottom rotates in the cover and is connected with the (mixing) shaft, a plurality of stirring vane of (mixing) shaft lateral wall fixedly connected with, be equipped with the clearance mechanism that is used for clearing up stirring vane in the agitator tank, clearance mechanism includes the annular slab of sliding connection at the cover inner wall, the annular slab inner wall is through the first toroidal tube of a plurality of first installed part fixedly connected with, the annular slab inner wall is through a plurality of second installed part fixedly connected with second toroidal tube, the equidistant intercommunication of first toroidal tube lateral wall is equipped with a plurality of first shower nozzles, the equidistant intercommunication of second toroidal tube lateral wall is equipped with a plurality of second shower nozzles, be equipped with the actuating mechanism who is used for driving the annular slab to remove on the cover.
Preferably, the driving mechanism comprises a reciprocating lead screw penetrating through the upper end of the tank cover, the reciprocating lead screw is rotatably connected with the tank cover, the lower end of the reciprocating lead screw penetrates through the lower end of the annular plate, a second motor is fixedly connected to the upper end of the tank cover, a rotating shaft is fixedly connected with an output shaft of the second motor, the rotating shaft and the reciprocating lead screw are coaxially and fixedly connected with belt pulleys, and the two belt pulleys are connected through belt transmission.
Preferably, two fixed cylinders are symmetrically arranged at the upper end of the tank cover in a penetrating manner, an air inlet pipe is arranged at the upper end of the fixed cylinder on the left side in a penetrating manner, and the lower end of the air inlet pipe is communicated with the second annular pipe.
Preferably, be located the right side the fixed cylinder upper end is run through and is equipped with the inlet tube, inlet tube lower extreme and first ring pipe intercommunication, cover upper end fixedly connected with water pump, the one end that first ring pipe was kept away from to the inlet tube communicates with the play water end of water pump.
Preferably, the bottom fixedly connected with montant in the agitator tank, the montant upper end runs through the annular plate upper end.
Preferably, a water outlet pipe communicated with the interior of the stirring tank is arranged on the stirring tank, a valve is arranged on the water outlet pipe, a first motor is fixedly connected to the upper end of the tank cover, and an output shaft of the first motor is fixedly connected to the upper end of the stirring shaft.
The utility model has the following beneficial effects:
1. the device is provided with a driving mechanism, a second motor is started, an output shaft of the second motor drives a rotating shaft to rotate, the rotating shaft drives a reciprocating lead screw to rotate through belt transmission, an annular plate reciprocates up and down, and the annular plate can scrape glue on the inner wall of the stirring tank in the downward movement process, so that the aim of cleaning the tank wall can be fulfilled;
2. this device has set up clearance mechanism, in the air got into the second ring pipe through the intake pipe, the air in the second ring pipe is finally followed the second shower nozzle blowout, the cleaning solution gets into in the first ring pipe finally by first shower nozzle blowout, the air can blow away stirring vane and the epaxial glue of stirring, the spun cleaning solution can be washd stirring vane and (mixing) shaft and has been done automatic clearance stirring vane and (mixing) shaft, need not dismantle equipment to the practicality of device has been improved.
Drawings
Fig. 1 is a schematic structural diagram of a mixing device of an efficient glue-pouring machine according to the present invention;
FIG. 2 is an enlarged view of the structure at A in FIG. 1;
fig. 3 is an assembly view of an annular plate and a second annular pipe of the mixing device of the high-efficiency glue-pouring machine provided by the utility model.
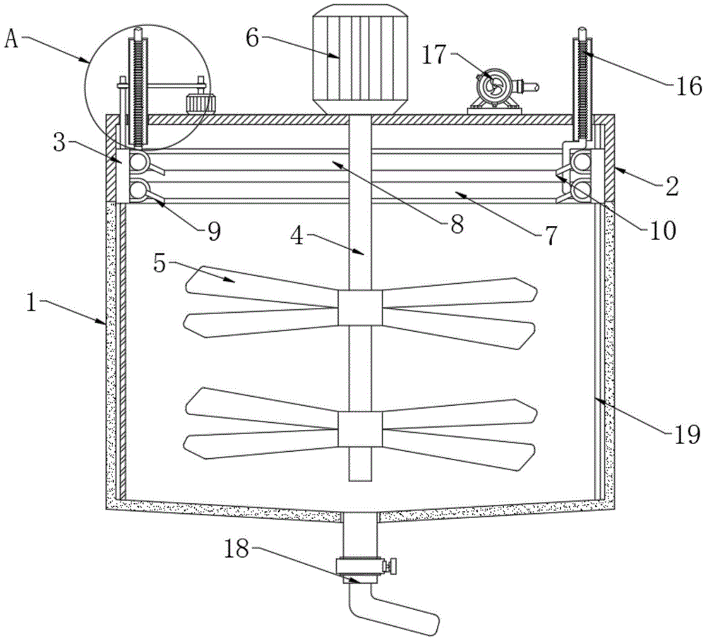
In the figure: 1 agitator tank, 2 cover, 3 annular plate, 4 (mixing) shafts, 5 stirring vane, 6 first motor, 7 first annular pipe, 8 second annular pipe, 9 first shower nozzle, 10 second shower nozzle, 11 reciprocal lead screws, 12 second motor, 13 fixed cylinder, 14 intake pipe, 15 axis of rotation, 16 inlet tubes, 17 water pump, 18 outlet pipes, 19 montants.
Detailed Description
The technical solutions in the embodiments of the present invention will be clearly and completely described below with reference to the drawings in the embodiments of the present invention, and it is obvious that the described embodiments are only a part of the embodiments of the present invention, and not all of the embodiments.
In the description of the present invention, it is to be understood that the terms "upper", "lower", "front", "rear", "left", "right", "top", "bottom", "inner", "outer", and the like, indicate orientations or positional relationships based on the orientations or positional relationships shown in the drawings, are merely for convenience in describing the present invention and simplifying the description, and do not indicate or imply that the device or element being referred to must have a particular orientation, be constructed and operated in a particular orientation, and thus, should not be construed as limiting the present invention.
Referring to fig. 1-3, the mixing device of the high-efficiency glue-pouring machine comprises a stirring tank 1 and a tank cover 2 arranged on the stirring tank 1, wherein a stirring shaft 4 is rotatably connected to the bottom in the tank cover 2, a plurality of stirring blades 5 are fixedly connected to the side wall of the stirring shaft 4, a water outlet pipe 18 communicated with the inside of the stirring tank 1 is arranged on the stirring tank 1, a valve is arranged on the water outlet pipe 18, a first motor 6 is fixedly connected to the upper end of the tank cover 2, and an output shaft of the first motor 6 is fixedly connected to the upper end of the stirring shaft 4.
Be equipped with the clearance mechanism that is used for clearing up stirring vane 5 in agitator tank 1, clearance mechanism includes the annular slab 3 of sliding connection at 2 inner walls of cover, 3 inner walls of annular slab are through the first ring pipes 7 of a plurality of first installed part fixedly connected with, 3 inner walls of annular slab are through a plurality of second installed part fixedly connected with second ring pipes 8, 7 equidistant intercommunications of first ring pipe lateral wall are equipped with a plurality of first shower nozzles 9, 8 equidistant intercommunications of second ring pipe lateral wall are equipped with a plurality of second shower nozzles 10.
Be equipped with the actuating mechanism who is used for driving the removal of annular plate 3 on the cover 2, actuating mechanism is including running through the reciprocal lead screw 11 that sets up in cover 2 upper end, reciprocal lead screw 11 rotates with cover 2 to be connected, reciprocal lead screw 11 lower extreme runs through annular plate 3 lower extreme, 2 upper end fixedly connected with second motor 12 of cover, the output shaft fixedly connected with axis of rotation 15 of second motor 12, equal coaxial fixedly connected with band pulley on axis of rotation 15 and the reciprocal lead screw 11, two band pulleys pass through belt transmission and connect.
According to the utility model, two fixed cylinders 13 are symmetrically arranged at the upper end of the tank cover 2 in a penetrating manner, an air inlet pipe 14 is arranged at the upper end of the fixed cylinder 13 positioned on the left side in a penetrating manner, the lower end of the air inlet pipe 14 is communicated with the second annular pipe 8, one end of the air inlet pipe 14, which is far away from the second annular pipe 8, is communicated with external air pumping equipment, the external air pumping equipment comprises an air blower and the like, the second nozzle 10 is one of high-pressure touch nozzles, and high-pressure air is pumped into the second annular pipe 8 by the external air pumping equipment.
In the utility model, a water inlet pipe 16 penetrates through the upper end of the fixed cylinder 13 positioned on the right side, the lower end of the water inlet pipe 16 is communicated with the first annular pipe 7, a water pump 17 is fixedly connected to the upper end of the tank cover 2, one end of the water inlet pipe 16, which is far away from the first annular pipe 7, is communicated with the water outlet end of the water pump 17, the water inlet end of the water pump 17 is communicated with external cleaning solution storage equipment through a pipeline, and the air inlet pipe 14 and the water inlet pipe 16 are partially corrugated pipes.
According to the utility model, the bottom in the stirring tank 1 is fixedly connected with the vertical rod 19, the upper end of the vertical rod 19 penetrates through the upper end of the annular plate 3, and the vertical rod 19 limits the annular plate 3, so that the annular plate 3 cannot rotate when the reciprocating screw rod 11 rotates, and the annular plate 3 can only vertically move.
When the glue cleaning device is used, the first motor 6 is started, the output shaft of the first motor 6 drives the stirring shaft 4 to rotate, the stirring shaft 4 drives the stirring blade 5 to rotate, the mixing and stirring of glue are realized, after the stirring is finished, the valve on the water outlet pipe 18 is opened to discharge the glue, the second motor 12 is started, the output shaft of the second motor 12 drives the rotating shaft 15 to rotate, the rotating shaft 15 drives the reciprocating screw rod 11 to rotate through belt transmission, the annular plate 3 starts to reciprocate up and down under the limit of the vertical rod 19, the glue on the inner wall of the stirring tank 1 can be scraped in the downward movement process of the annular plate 3, and therefore the purpose of cleaning the tank wall can be achieved;
when the second motor 12 is started, the external air pumping equipment is opened, air enters the second annular pipe 8 through the air inlet pipe 14, the air in the second annular pipe 8 is finally sprayed out from the second spray head 10, and the sprayed air can blow away glue on the stirring blades 5 and the stirring shaft 4, so that the purpose of automatically cleaning the stirring blades 5 and the stirring shaft 4 is achieved, the equipment does not need to be disassembled, and the practicability of the device is improved;
close outside pump gas equipment after a period, open water pump 17, water pump 17 sends into first ring pipe 7 through inlet tube 16 with the cleaning solution in the outside cleaning solution storage facilities in, the cleaning solution in the first ring pipe 7 is finally by first shower nozzle 9 blowout, spun cleaning solution can wash stirring vane 5 and (mixing) shaft 4, mixing shaft 4 continues to rotate, can be through stirring vane 5 and (mixing) shaft 4 cleaning performance, sewage is from outlet pipe 18 blowout.
The above description is only for the preferred embodiment of the present invention, but the scope of the present invention is not limited thereto, and any person skilled in the art should be considered as the technical solutions and practical concepts of the present invention within the technical scope of the present invention.

Claims (6)

1.一种高效灌胶机的混合装置,包括搅拌罐(1)与设置在搅拌罐(1)上的罐盖(2),其特征在于,所述罐盖(2)内底部转动连接有搅拌轴(4),所述搅拌轴(4)侧壁固定连接有多个搅拌叶片(5),所述搅拌罐(1)内设有用于清理搅拌叶片(5)的清理机构,所述清理机构包括滑动连接在罐盖(2)内壁的环形板(3),所述环形板(3)内壁通过多个第一安装件固定连接有第一环形管(7),所述环形板(3)内壁通过多个第二安装件固定连接有第二环形管(8),所述第一环形管(7)侧壁等间距连通设有多个第一喷头(9),所述第二环形管(8)侧壁等间距连通设有多个第二喷头(10),所述罐盖(2)上设有用于驱动环形板(3)移动的驱动机构。1. a mixing device of a high-efficiency glue filling machine, comprising a stirring tank (1) and a tank cover (2) arranged on the stirring tank (1), characterized in that the inner bottom of the tank cover (2) is rotatably connected with A stirring shaft (4), a plurality of stirring blades (5) are fixedly connected to the side wall of the stirring shaft (4), and a cleaning mechanism for cleaning the stirring blades (5) is provided in the stirring tank (1). The mechanism comprises an annular plate (3) slidably connected to the inner wall of the tank cover (2), the inner wall of the annular plate (3) is fixedly connected with a first annular pipe (7) through a plurality of first mounting parts, and the annular plate (3) ) The inner wall is fixedly connected with a second annular pipe (8) through a plurality of second mounting pieces, the side wall of the first annular pipe (7) is connected with a plurality of first nozzles (9) at equal intervals, and the second annular A plurality of second spray heads (10) are connected to the side wall of the pipe (8) at equal intervals, and a driving mechanism for driving the annular plate (3) to move is provided on the tank cover (2). 2.根据权利要求1所述的一种高效灌胶机的混合装置,其特征在于,所述驱动机构包括贯穿设置在罐盖(2)上端的往复丝杠(11),所述往复丝杠(11)与罐盖(2)转动连接,所述往复丝杠(11)下端贯穿环形板(3)下端,所述罐盖(2)上端固定连接有第二电机(12),所述第二电机(12)的输出轴固定连接有转动轴(15),所述转动轴(15)与往复丝杠(11)上均同轴固定连接有带轮,两个所述带轮通过皮带传动连接。2. The mixing device of a high-efficiency glue filling machine according to claim 1, wherein the driving mechanism comprises a reciprocating screw (11) disposed through the upper end of the tank cover (2), the reciprocating screw (11) is rotatably connected to the tank cover (2), the lower end of the reciprocating screw (11) penetrates the lower end of the annular plate (3), the upper end of the tank cover (2) is fixedly connected with a second motor (12), the first The output shafts of the two motors (12) are fixedly connected with a rotating shaft (15), and both the rotating shaft (15) and the reciprocating screw (11) are coaxially and fixedly connected with pulleys, and the two pulleys are driven by belts connect. 3.根据权利要求2所述的一种高效灌胶机的混合装置,其特征在于,所述罐盖(2)上端对称贯穿设有两个固定筒(13),位于左侧的所述固定筒(13)上端贯穿设有进气管(14),所述进气管(14)下端与第二环形管(8)连通。3. The mixing device of a high-efficiency glue filling machine according to claim 2, wherein the upper end of the tank cover (2) is symmetrically provided with two fixed cylinders (13), and the fixed cylinder (13) located on the left An air inlet pipe (14) is provided through the upper end of the cylinder (13), and the lower end of the air inlet pipe (14) is communicated with the second annular pipe (8). 4.根据权利要求3所述的一种高效灌胶机的混合装置,其特征在于,位于右侧的所述固定筒(13)上端贯穿设有进水管(16),所述进水管(16)下端与第一环形管(7)连通,所述罐盖(2)上端固定连接有水泵(17),所述进水管(16)远离第一环形管(7)的一端与水泵(17)的出水端连通。4. The mixing device of a high-efficiency glue filling machine according to claim 3, characterized in that a water inlet pipe (16) is provided through the upper end of the fixed cylinder (13) on the right side, and the water inlet pipe (16) ) The lower end is communicated with the first annular pipe (7), the upper end of the tank cover (2) is fixedly connected with a water pump (17), and the end of the water inlet pipe (16) away from the first annular pipe (7) is connected with the water pump (17) The water outlet is connected. 5.根据权利要求1所述的一种高效灌胶机的混合装置,其特征在于,所述搅拌罐(1)内底部固定连接有竖杆(19),所述竖杆(19)上端贯穿环形板(3)上端。5. The mixing device of a high-efficiency glue filling machine according to claim 1, wherein a vertical rod (19) is fixedly connected to the inner bottom of the stirring tank (1), and the upper end of the vertical rod (19) penetrates through The upper end of the annular plate (3). 6.根据权利要求1所述的一种高效灌胶机的混合装置,其特征在于,所述搅拌罐(1)上设有与其内部连通的出水管(18),所述出水管(18)上设有阀门,所述罐盖(2)上端固定连接有第一电机(6),所述第一电机(6)的输出轴与搅拌轴(4)上端固定连接。6 . The mixing device of a high-efficiency glue filling machine according to claim 1 , wherein the mixing tank ( 1 ) is provided with a water outlet pipe ( 18 ) communicating with the inside thereof, and the water outlet pipe ( 18 ) A valve is provided thereon, a first motor (6) is fixedly connected to the upper end of the tank cover (2), and the output shaft of the first motor (6) is fixedly connected to the upper end of the stirring shaft (4).
CN202122656418.6U 2021-10-29 2021-10-29 Mixing device of efficient glue-pouring machine Expired - Fee Related CN217016226U (en)

Priority Applications (1)

Application Number Priority Date Filing Date Title
CN202122656418.6U CN217016226U (en) 2021-10-29 2021-10-29 Mixing device of efficient glue-pouring machine

Applications Claiming Priority (1)

Application Number Priority Date Filing Date Title
CN202122656418.6U CN217016226U (en) 2021-10-29 2021-10-29 Mixing device of efficient glue-pouring machine

Publications (1)

Publication Number Publication Date
CN217016226U true CN217016226U (en) 2022-07-22

Family

ID=82438292

Family Applications (1)

Application Number Title Priority Date Filing Date
CN202122656418.6U Expired - Fee Related CN217016226U (en) 2021-10-29 2021-10-29 Mixing device of efficient glue-pouring machine

Country Status (1)

Country Link
CN (1) CN217016226U (en)

Cited By (1)

* Cited by examiner, † Cited by third party
Publication number Priority date Publication date Assignee Title
CN117258655A (en) * 2023-11-22 2023-12-22 长沙维度新材料科技有限公司 Mixing device used in oily paint preparation process

Cited By (2)

* Cited by examiner, † Cited by third party
Publication number Priority date Publication date Assignee Title
CN117258655A (en) * 2023-11-22 2023-12-22 长沙维度新材料科技有限公司 Mixing device used in oily paint preparation process
CN117258655B (en) * 2023-11-22 2024-02-02 长沙维度新材料科技有限公司 Mixing device used in oily paint preparation process

Similar Documents

Publication Publication Date Title
CN217016226U (en) Mixing device of efficient glue-pouring machine
CN212663326U (en) Batching jar convenient to clearance
CN210613426U (en) An easy-to-clean medicine stirring device
CN213493333U (en) Blendor with cleaning device
CN119867534A (en) Milk cover machine convenient for automatic cleaning
CN220496191U (en) Homogenizing emulsifying machine
CN112425449A (en) Edible mushroom fermentation device
CN217189206U (en) A kind of isovitamin C sodium extraction device
CN218775252U (en) Component cleaning mechanism for machining middle chuck gas source plate
CN215276921U (en) Dispersion devices for preparing degradable porous biological membrane
CN214638635U (en) Automatic cleaning machine
CN213223646U (en) Cleaning device for spraying storage liquid box of fused brick sand mold coating
CN210699669U (en) Building material agitated vessel
CN212758078U (en) Yoghourt emulsifying device
CN222290829U (en) A foaming machine for sponge production
CN221391674U (en) A mixing device for producing thermal insulation wall panels
CN217910359U (en) Washing pump for producing chemical alkaline catalyst
CN221656328U (en) Fodder agitated vessel
CN120272294B (en) Ageing tank for mature vinegar fermentation
CN221160920U (en) Concrete mixer
CN222658442U (en) High-rotation-speed uniform mixing device for hair dye paste preparation
CN223055216U (en) A high-efficiency separation mechanism for solid-liquid separation
CN220987399U (en) Stirring device for cake preparation
CN217459394U (en) Fermentation equipment capable of enabling materials to be uniformly and thoroughly fermented
CN218250247U (en) Enamel reaction kettle for synthesis of 2-bromopropionic acid

Legal Events

Date Code Title Description
GR01 Patent grant
GR01 Patent grant
CF01 Termination of patent right due to non-payment of annual fee
CF01 Termination of patent right due to non-payment of annual fee

Granted publication date: 20220722