CN217014604U - A positioning device for general surgery - Google Patents
A positioning device for general surgery Download PDFInfo
- Publication number
- CN217014604U CN217014604U CN202220690126.6U CN202220690126U CN217014604U CN 217014604 U CN217014604 U CN 217014604U CN 202220690126 U CN202220690126 U CN 202220690126U CN 217014604 U CN217014604 U CN 217014604U
- Authority
- CN
- China
- Prior art keywords
- block
- wall
- hole
- sliding
- base
- Prior art date
- Legal status (The legal status is an assumption and is not a legal conclusion. Google has not performed a legal analysis and makes no representation as to the accuracy of the status listed.)
- Expired - Fee Related
Links
- 238000002682 general surgery Methods 0.000 title claims abstract description 10
- 239000008280 blood Substances 0.000 claims description 11
- 210000004369 blood Anatomy 0.000 claims description 11
- 238000001125 extrusion Methods 0.000 claims description 3
- 230000006978 adaptation Effects 0.000 claims 1
- 210000004204 blood vessel Anatomy 0.000 claims 1
- 230000007246 mechanism Effects 0.000 abstract description 5
- 238000010586 diagram Methods 0.000 description 5
- 238000003780 insertion Methods 0.000 description 5
- 230000037431 insertion Effects 0.000 description 5
- 238000001356 surgical procedure Methods 0.000 description 4
- 230000006835 compression Effects 0.000 description 3
- 238000007906 compression Methods 0.000 description 3
- 230000009471 action Effects 0.000 description 2
- 239000000645 desinfectant Substances 0.000 description 2
- 208000032984 Intraoperative Complications Diseases 0.000 description 1
- 206010028980 Neoplasm Diseases 0.000 description 1
- 206010062255 Soft tissue infection Diseases 0.000 description 1
- 206010043376 Tetanus Diseases 0.000 description 1
- 208000024799 Thyroid disease Diseases 0.000 description 1
- 230000009286 beneficial effect Effects 0.000 description 1
- 238000004891 communication Methods 0.000 description 1
- 201000010099 disease Diseases 0.000 description 1
- 208000037265 diseases, disorders, signs and symptoms Diseases 0.000 description 1
- 208000015181 infectious disease Diseases 0.000 description 1
- 238000000034 method Methods 0.000 description 1
- 238000012986 modification Methods 0.000 description 1
- 230000004048 modification Effects 0.000 description 1
Images
Landscapes
- Accommodation For Nursing Or Treatment Tables (AREA)
Abstract
本实用新型公开了一种普外科手术的定位装置,包括底座,所述底座的下表面设置有夹持机构,所述底座的上表面开设有通孔,且通孔的内壁通过轴承转动连接有转动柱,所述转动柱的顶端固定连接有定位板,所述定位板的上表面开设有滑动槽,且滑动槽的内壁滑动连接有滑动块,所述滑动块的上表面开设有夹持槽,且夹持槽的内壁滑动连接有移动块,所述移动块的上表面固定连接有夹持块。该普外科手术的定位装置,通过拧松固定螺栓,使滑动块移动,根据夹持的区域,对滑动块进行调节,同时旋转转动块,使正反牙丝杆带动移动块移动,并使每组夹持块将对患者肢体进行固定,从而夹持更加紧,有效防止患者肢体移动,保障手术的正常进行。
The utility model discloses a positioning device for general surgery, comprising a base, the lower surface of the base is provided with a clamping mechanism, the upper surface of the base is provided with a through hole, and the inner wall of the through hole is rotatably connected with a bearing through a bearing. A rotating column, the top of the rotating column is fixedly connected with a positioning plate, the upper surface of the positioning plate is provided with a sliding groove, and the inner wall of the sliding groove is slidably connected with a sliding block, and the upper surface of the sliding block is provided with a clamping groove , and the inner wall of the clamping groove is slidably connected with a moving block, and the upper surface of the moving block is fixedly connected with a clamping block. The positioning device for general surgery moves the sliding block by loosening the fixing bolts, adjusts the sliding block according to the clamping area, and rotates the rotating block at the same time, so that the positive and negative screw rods drive the moving block to move, and make each block move. The group clamping block will fix the patient's limb, so that the clamping is tighter, effectively preventing the patient's limb from moving, and ensuring the normal operation of the operation.
Description
技术领域technical field
本实用新型涉及医疗器械技术领域,特别涉及一种普外科手术的定位装置。The utility model relates to the technical field of medical instruments, in particular to a positioning device for general surgery.
背景技术Background technique
普通外科是外科系比较大的科室。主要看的疾病有体表肿瘤、各种软组织感染、特殊感染破伤风、甲状腺的各种疾病等。General Surgery is a relatively large department of the Department of Surgery. The main diseases to look at are surface tumors, various soft tissue infections, special infections, tetanus, and various thyroid diseases.
在对患者肢体进行手术时,为防止患者肢体移动造成手术伤害,一般都是利用绑带对肢体进行捆绑定位,而在肢体手术部位两侧均需要固定,存在固定不紧的问题,使患者肢体仍然可以移动,影响手术的正常进行。When performing surgery on a patient's limb, in order to prevent the patient's limb from moving and causing surgical injury, the limb is generally bound and positioned with a bandage, but both sides of the limb surgery site need to be fixed, and there is a problem of not being fixed tightly, making the patient's limb Can still move, affecting the normal operation of the operation.
基于此,需要提出进一步的改进。Based on this, further improvements need to be proposed.
实用新型内容Utility model content
本实用新型的目的在于提供一种普外科手术的定位装置,以解决上述背景技术中提出的在对患者肢体进行手术时,传统绑带存在固定不紧,使患者肢体仍然可以移动,影响手术正常进行的问题。The purpose of this utility model is to provide a positioning device for general surgery, so as to solve the problem in the above-mentioned background art that when performing surgery on a patient's limb, the traditional bandage is not tightly fixed, so that the patient's limb can still be moved, which affects the normal operation of the operation. issue.
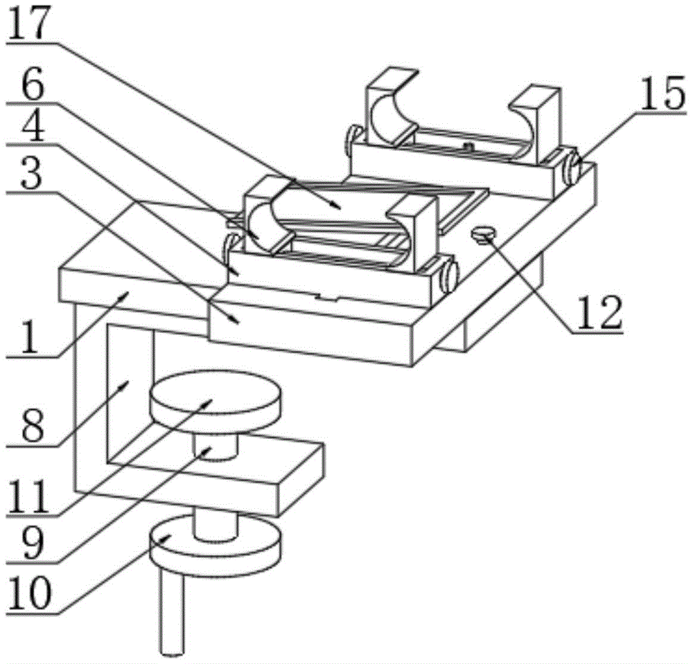
为实现上述目的,本实用新型提供如下技术方案:一种普外科手术的定位装置,包括底座,所述底座的下表面设置有夹持机构,所述底座的上表面开设有通孔,且通孔的内壁通过轴承转动连接有转动柱,所述转动柱的顶端固定连接有定位板,所述定位板的上表面开设有滑动槽,且滑动槽的内壁滑动连接有滑动块,所述滑动块的上表面开设有夹持槽,且夹持槽的内壁滑动连接有移动块,所述移动块的上表面固定连接有夹持块,所述夹持槽的两侧内壁通过轴承转动连接有正反牙丝杆。In order to achieve the above purpose, the present invention provides the following technical solutions: a positioning device for general surgery, comprising a base, the lower surface of the base is provided with a clamping mechanism, the upper surface of the base is provided with a through hole, and the The inner wall of the hole is rotatably connected with a rotating column through a bearing, the top of the rotating column is fixedly connected with a positioning plate, the upper surface of the positioning plate is provided with a sliding groove, and the inner wall of the sliding groove is slidably connected with a sliding block, the sliding block There is a clamping groove on the upper surface of the clamping groove, and the inner wall of the clamping groove is slidably connected with a moving block, the upper surface of the moving block is fixedly connected with a clamping block, and the inner walls on both sides of the clamping groove are rotated through bearings. Anti-thread screw.
优选的,所述夹持机构包括固定连接在底座下表面的匚型块,所述匚型块的下表面开设有螺纹孔,且螺纹孔的内壁螺纹连接有螺杆,所述螺杆的底端固定连接有旋钮,所述螺杆的顶端固定连接有压紧块。Preferably, the clamping mechanism includes a mold block fixedly connected to the lower surface of the base, the lower surface of the mold block is provided with a threaded hole, and the inner wall of the threaded hole is threadedly connected with a screw rod, and the bottom end of the screw rod is fixed A knob is connected, and a pressing block is fixedly connected to the top end of the screw rod.
优选的,所述定位板的上表面开设有台阶孔,且台阶孔的内壁滑动连接有台阶柱,所述台阶柱的外表面套设有挤压弹簧,所述挤压弹簧的两端分别与台阶柱的台阶面和台阶孔的台阶面搭接,所述底座的上表面周向等距开设有若干个与台阶柱适配的卡接槽。Preferably, the upper surface of the positioning plate is provided with a stepped hole, and the inner wall of the stepped hole is slidably connected with a stepped column, the outer surface of the stepped column is sleeved with a compression spring, and the two ends of the compression spring are respectively connected with The step surface of the step column is overlapped with the step surface of the step hole, and the upper surface of the base is provided with a plurality of clamping grooves adapted to the step column at equal distances in the circumferential direction.
优选的,所述滑动块和夹持槽的数量均为两个,两个所述滑动块的上表面均开设有限位螺纹孔,所述限位螺纹孔的内壁螺纹连接有固定螺栓,所述固定螺栓的螺纹端与滑动槽的内底壁搭接。Preferably, the number of the sliding blocks and the clamping grooves is two, the upper surfaces of the two sliding blocks are provided with limit threaded holes, and the inner walls of the limit threaded holes are threadedly connected with fixing bolts. The threaded end of the fixing bolt is overlapped with the inner bottom wall of the sliding groove.
优选的,所述移动块的数量为四个,每两个移动块为一组,且两组移动块分别设置在两个夹持槽的内壁。Preferably, the number of the moving blocks is four, every two moving blocks is a group, and the two groups of moving blocks are respectively arranged on the inner walls of the two clamping grooves.
优选的,所述移动块的侧面开设有与正反牙丝杆适配的螺纹通孔,所述正反牙丝杆的一端延伸至滑动块的两端并固定连接有转动块。Preferably, the side surface of the moving block is provided with a threaded through hole adapted to the positive and negative thread screw, and one end of the positive and negative thread screw extends to both ends of the sliding block and is fixedly connected with the rotating block.
优选的,所述定位板的上表面开设有插槽,且插槽的内壁插接有插接柱,所述插接柱的顶端固定连接有倾斜的导血板。Preferably, a slot is formed on the upper surface of the positioning plate, and an insertion column is inserted into the inner wall of the slot, and an inclined blood guide plate is fixedly connected to the top of the insertion column.
与现有技术相比,本实用新型的有益效果是:该普外科手术的定位装置便于;Compared with the prior art, the beneficial effects of the present utility model are: the positioning device for general surgery is convenient;
(1)通过拧松固定螺栓,使滑动块移动,根据夹持的区域,对滑动块进行调节,同时旋转转动块,使正反牙丝杆带动移动块移动,并使每组夹持块将对患者肢体进行固定,从而夹持更加紧,有效防止患者肢体移动,保障手术的正常进行;(1) Move the sliding block by loosening the fixing bolt, adjust the sliding block according to the clamping area, and rotate the rotating block at the same time, so that the positive and negative screw rods drive the moving block to move, and each group of clamping blocks will Fix the patient's limb, so as to clamp more tightly, effectively prevent the patient's limb from moving, and ensure the normal operation of the operation;
(2)通过拉动台阶柱,便于使定位板转动,而松开台阶柱,在挤压弹簧的作用下,使台阶柱卡入底座的卡接槽内固定,对定位板的角度进行调节,从而更加实用。(2) By pulling the step column, it is convenient to rotate the positioning plate, and the step column is loosened. Under the action of the squeeze spring, the step column is clamped into the clamping groove of the base and fixed, and the angle of the positioning plate is adjusted, so as to adjust the angle of the positioning plate. more practical.
附图说明Description of drawings
为了更清楚地说明本实用新型实施例或现有技术中的技术方案,下面将对实施例或现有技术描述中所需要使用的附图作简单地介绍,显而易见地,下面描述中的附图是本实用新型的一些实施例,对于本领域普通技术人员来讲,在不付出创造性劳动的前提下,还可以根据这些附图获得其他的附图。In order to more clearly illustrate the embodiments of the present utility model or the technical solutions in the prior art, the following briefly introduces the accompanying drawings that need to be used in the description of the embodiments or the prior art. Obviously, the accompanying drawings in the following description These are some embodiments of the present invention. For those of ordinary skill in the art, other drawings can also be obtained from these drawings without creative efforts.
图1为本实用新型的立体结构示意图;Fig. 1 is the three-dimensional structure schematic diagram of the present utility model;
图2为本实用新型的正剖结构示意图;Fig. 2 is the front sectional structure schematic diagram of the present utility model;
图3为本实用新型的图2中A处放大结构示意图;Fig. 3 is the enlarged structural schematic diagram of A place in Fig. 2 of the present utility model;
图4为本实用新型的侧剖结构示意图;Fig. 4 is the side sectional structure schematic diagram of the utility model;
图5为本实用新型的滑动块正剖结构示意图。FIG. 5 is a schematic diagram of the front cross-sectional structure of the sliding block of the present invention.
图中的附图标记说明:1、底座;2、转动柱;3、定位板;4、滑动块;5、移动块;6、夹持块;7、正反牙丝杆;8、匚型块;9、螺杆;10、旋钮;11、压紧块;12、台阶柱;13、挤压弹簧;14、固定螺栓;15、转动块;16、插接柱;17、导血板。Description of the reference signs in the figure: 1, base; 2, rotating column; 3, positioning plate; 4, sliding block; 5, moving block; 6, clamping block; 7, positive and negative thread screw; 8, type block; 9, screw; 10, knob; 11, pressing block; 12, step column; 13, squeeze spring; 14, fixing bolt; 15, rotating block; 16, inserting column; 17, blood guide plate.
具体实施方式Detailed ways
为使本实用新型实施例的目的、技术方案和优点更加清楚,下面将结合本实用新型实施例中的附图,对本实用新型实施例中的技术方案进行清楚、完整地描述,显然,所描述的实施例是本实用新型一部分实施例,而不是全部的实施例。基于本实用新型中的实施例,本领域普通技术人员在没有作创造性劳动前提下所获得的所有其他实施例,都属于本实用新型保护的范围。In order to make the purposes, technical solutions and advantages of the embodiments of the present utility model more clear, the technical solutions in the embodiments of the present utility model will be described clearly and completely below in conjunction with the accompanying drawings in the embodiments of the present utility model. The embodiments described above are part of the embodiments of the present invention, but not all of the embodiments. Based on the embodiments of the present invention, all other embodiments obtained by those of ordinary skill in the art without creative work fall within the protection scope of the present invention.
请参阅图1-5,本实用新型提供的一种实施例:一种普外科手术的定位装置,包括底座1,底座1的下表面设置有夹持机构,夹持机构包括固定连接在底座1下表面的匚型块8,匚型块8的下表面开设有螺纹孔,且螺纹孔的内壁螺纹连接有螺杆9,螺杆9的底端固定连接有旋钮10,螺杆9的顶端固定连接有压紧块11;1-5, an embodiment provided by the present invention: a positioning device for general surgery, including a
具体的,如图1、图2和图4所示,使用时,通过转动旋钮10,使螺杆9带动压紧块11将手术台夹持固定,从而方便对该装置进行固定;Specifically, as shown in Fig. 1, Fig. 2 and Fig. 4, during use, by rotating the
底座1的上表面开设有通孔,且通孔的内壁通过轴承转动连接有转动柱2,转动柱2的顶端固定连接有定位板3,定位板3的上表面开设有台阶孔,且台阶孔的内壁滑动连接有台阶柱12,台阶柱12的外表面套设有挤压弹簧13,挤压弹簧13的两端分别与台阶柱12的台阶面和台阶孔的台阶面搭接,底座1的上表面周向等距开设有若干个与台阶柱12适配的卡接槽;The upper surface of the
具体的,如图1、图2和图3所示,使用时,通过拉动台阶柱12,便于使定位板3转动,而松开台阶柱12,在挤压弹簧13的作用下,使台阶柱12卡入底座1的卡接槽内固定,对定位板3的角度进行调节,从而更加实用;Specifically, as shown in FIG. 1 , FIG. 2 and FIG. 3 , during use, the
定位板3的上表面开设有滑动槽,且滑动槽的内壁滑动连接有滑动块4,滑动块4的上表面开设有夹持槽,且夹持槽的内壁滑动连接有移动块5,滑动块4和夹持槽的数量均为两个,两个滑动块4的上表面均开设有限位螺纹孔,限位螺纹孔的内壁螺纹连接有固定螺栓14,固定螺栓14的螺纹端与滑动槽的内底壁搭接,移动块5的数量为四个,每两个移动块5为一组,且两组移动块5分别设置在两个夹持槽的内壁,移动块5的上表面固定连接有夹持块6,夹持槽的两侧内壁通过轴承转动连接有正反牙丝杆7,移动块5的侧面开设有与正反牙丝杆7适配的螺纹通孔,正反牙丝杆7的一端延伸至滑动块4的两端并固定连接有转动块15;The upper surface of the
具体的,如图1、图2、图4和图5所示,使用时,通过拧松固定螺栓14,使滑动块4移动,根据夹持的区域,对滑动块4进行调节,同时旋转转动块15,使正反牙丝杆7带动移动块5移动,并使每组夹持块6将对患者肢体进行固定,从而夹持更加紧,有效防止患者肢体移动,保障手术的正常进行;Specifically, as shown in Fig. 1, Fig. 2, Fig. 4 and Fig. 5, during use, the
定位板3的上表面开设有插槽,且插槽的内壁插接有插接柱16,插接柱16的顶端固定连接有倾斜的导血板17;The upper surface of the
具体的,如图1和图2所示,通过导血板17,便于将血及消毒液经导血板17导出,同时插接柱16可转动可拔出的结构,方便对导血板17进行转动及清洗消毒。Specifically, as shown in FIG. 1 and FIG. 2 , the
工作原理:首先将该装置搬到手术台上,并使匚型块8卡入手术台的边缘,再转动旋钮10,使螺杆9带动压紧块11将该装置固定在手术台上;Working principle: first move the device to the operating table, and make the
然后根据患者肢体的位置,拧松固定螺栓14,调节两个滑动块4的位置,再拧紧固定螺栓14,同时拉动台阶柱12,调节定位板3的角度,患者肢体放置在定位板3上,旋转转动块15,使夹持块6将患者肢体夹持固定;Then, according to the position of the patient's limb, loosen the fixing bolt 14, adjust the position of the two
使用过程中,可以根据定位板3的位置,转动插接柱16,调节导血板17的位置,将手术过程中产生的血以及消毒液经导血板17导出。During use, the
在本实用新型的描述中,需要说明的是,除非另有明确的规定和限定,术语“安装”、“相连”、“连接”应做广义理解,例如,可以是固定连接,也可以是可拆卸连接,或一体地连接;可以是机械连接,也可以是电连接;可以是直接相连,也可以通过中间媒介间接相连,可以是两个元件内部的连通。对于本领域的普通技术人员而言,可以具体情况理解上述术语在本实用新型中的具体含义。In the description of the present invention, it should be noted that, unless otherwise expressly specified and limited, the terms "installed", "connected" and "connected" should be understood in a broad sense, for example, it may be a fixed connection or a connectable connection. Detachable connection, or integral connection; may be mechanical connection or electrical connection; may be direct connection, or indirect connection through an intermediate medium, or internal communication between two components. For those of ordinary skill in the art, the specific meanings of the above terms in the present invention can be understood in specific situations.
以上所描述的装置实施例仅仅是示意性的,其中所述作为分离部件说明的单元可以是或者也可以不是物理上分开的,作为单元显示的部件可以是或者也可以不是物理单元,即可以位于一个地方,或者也可以分布到多个网络单元上。可以根据实际的需要选择其中的部分或者全部模块来实现本实施例方案的目的。本领域普通技术人员在不付出创造性的劳动的情况下,即可以理解并实施。The device embodiments described above are only illustrative, wherein the units described as separate components may or may not be physically separated, and the components displayed as units may or may not be physical units, that is, they may be located in One place, or it can be distributed over multiple network elements. Some or all of the modules may be selected according to actual needs to achieve the purpose of the solution in this embodiment. Those of ordinary skill in the art can understand and implement it without creative effort.
最后应说明的是:以上实施例仅用以说明本实用新型的技术方案,而非对其限制;尽管参照前述实施例对本实用新型进行了详细的说明,本领域的普通技术人员应当理解:其依然可以对前述各实施例所记载的技术方案进行修改,或者对其中部分技术特征进行等同替换;而这些修改或者替换,并不使相应技术方案的本质脱离本实用新型各实施例技术方案的精神和范围。Finally, it should be noted that the above embodiments are only used to illustrate the technical solutions of the present utility model, but not to limit them; although the present utility model has been described in detail with reference to the foregoing embodiments, those of ordinary skill in the art should understand that: It is still possible to modify the technical solutions recorded in the foregoing embodiments, or perform equivalent replacements to some of the technical features; and these modifications or replacements do not make the essence of the corresponding technical solutions depart from the spirit of the technical solutions of the embodiments of the present invention and range.
Claims (7)
Priority Applications (1)
| Application Number | Priority Date | Filing Date | Title |
|---|---|---|---|
| CN202220690126.6U CN217014604U (en) | 2022-03-28 | 2022-03-28 | A positioning device for general surgery |
Applications Claiming Priority (1)
| Application Number | Priority Date | Filing Date | Title |
|---|---|---|---|
| CN202220690126.6U CN217014604U (en) | 2022-03-28 | 2022-03-28 | A positioning device for general surgery |
Publications (1)
| Publication Number | Publication Date |
|---|---|
| CN217014604U true CN217014604U (en) | 2022-07-22 |
Family
ID=82413613
Family Applications (1)
| Application Number | Title | Priority Date | Filing Date |
|---|---|---|---|
| CN202220690126.6U Expired - Fee Related CN217014604U (en) | 2022-03-28 | 2022-03-28 | A positioning device for general surgery |
Country Status (1)
| Country | Link |
|---|---|
| CN (1) | CN217014604U (en) |
-
2022
- 2022-03-28 CN CN202220690126.6U patent/CN217014604U/en not_active Expired - Fee Related
Similar Documents
| Publication | Publication Date | Title |
|---|---|---|
| CN211962517U (en) | A neck positioning device for thyroid surgery | |
| CN217014604U (en) | A positioning device for general surgery | |
| CN209122175U (en) | A tongue depressor for children's stomatology | |
| CN211749830U (en) | A uterine cavity hemostatic forceps for clinical use in obstetrics and gynecology | |
| CN205181431U (en) | Hemostatic forceps for foundation medicine | |
| CN114041838B (en) | A sternum distraction device for cardiac surgery | |
| CN215937505U (en) | Retractor for spinal surgery | |
| CN211156430U (en) | Mouth gag for oral cavity orthodontics | |
| CN211131197U (en) | General surgery operation drag hook | |
| CN209574801U (en) | A hemostatic compression device for cardiac nurses | |
| CN210749405U (en) | Multifunctional vascular forceps for organ transplantation operation | |
| CN218870420U (en) | Auxiliary positioning target for breast surgery | |
| CN221045027U (en) | End hemostatic device through anoscope in anorectal surgery | |
| CN222902515U (en) | High-efficient pjncture needle processing frock | |
| CN221830816U (en) | A fixation device for preventing head displacement during interventional surgery | |
| CN220833517U (en) | Neck support frame in head and face operation | |
| CN111166427A (en) | A minimally invasive surgical forceps for thyroid | |
| CN223009178U (en) | Incision traction device for orthopedic surgery | |
| CN221533986U (en) | Nail extractor for orthopaedics | |
| CN221750684U (en) | Wart scraping device | |
| CN222722986U (en) | Oral and maxillofacial surgery T-shaped forceps with support structure | |
| CN219630233U (en) | Disinfection box | |
| CN218739204U (en) | Support for fixing glass porcelain false tooth | |
| CN217391370U (en) | Abdominal cavity drainage tube fixing device | |
| CN217659974U (en) | Surgical operation tool introducer |
Legal Events
| Date | Code | Title | Description |
|---|---|---|---|
| GR01 | Patent grant | ||
| GR01 | Patent grant | ||
| CF01 | Termination of patent right due to non-payment of annual fee |
Granted publication date: 20220722 |
|
| CF01 | Termination of patent right due to non-payment of annual fee |
