CN216966380U - A adjustable turret type milling machine for blade production - Google Patents
A adjustable turret type milling machine for blade production Download PDFInfo
- Publication number
- CN216966380U CN216966380U CN202220038085.2U CN202220038085U CN216966380U CN 216966380 U CN216966380 U CN 216966380U CN 202220038085 U CN202220038085 U CN 202220038085U CN 216966380 U CN216966380 U CN 216966380U
- Authority
- CN
- China
- Prior art keywords
- fixedly installed
- frame
- worktable
- milling machine
- movable
- Prior art date
- Legal status (The legal status is an assumption and is not a legal conclusion. Google has not performed a legal analysis and makes no representation as to the accuracy of the status listed.)
- Expired - Fee Related
Links
- 238000003801 milling Methods 0.000 title claims abstract description 27
- 238000004519 manufacturing process Methods 0.000 title claims abstract description 19
- 238000003860 storage Methods 0.000 claims abstract description 17
- 238000005553 drilling Methods 0.000 abstract description 10
- 238000004140 cleaning Methods 0.000 abstract description 3
- 239000000463 material Substances 0.000 description 6
- 238000000034 method Methods 0.000 description 5
- 239000002184 metal Substances 0.000 description 4
- 238000010586 diagram Methods 0.000 description 3
- 238000009434 installation Methods 0.000 description 2
- 230000009286 beneficial effect Effects 0.000 description 1
- 238000005516 engineering process Methods 0.000 description 1
- 238000003825 pressing Methods 0.000 description 1
- 230000001681 protective effect Effects 0.000 description 1
Images
Landscapes
- Automatic Tool Replacement In Machine Tools (AREA)
Abstract
本实用新型涉及刀片生产技术领域,具体为一种用于刀片生产的可调节炮塔式铣床。其技术方案包括:活动架、收集盒和底座,底座的顶部固定安装有支撑柱,支撑柱的两侧皆固定安装有滑柱,滑柱之间滑动安装有活动架,活动架的顶部固定安装有电机,支撑柱的前端固定安装有限位架,限位架的内侧滑动安装有工作台,工作台的顶部滑动安装有活动座,活动座的内侧通过螺纹旋钮活动安装有压板。本实用新型通过设置有限位架与工作台之间的相互配合,能够方便使工作台远离钻孔区域,方便进行上料与卸料操作,通过设置有收集斗、收集盒与储物盒之间的相互配合,能够使加工时产生的碎屑落入储物盒内进行储存,方便取出进行清理,提高了便捷性。
The utility model relates to the technical field of blade production, in particular to an adjustable turret type milling machine for blade production. The technical scheme includes: a movable frame, a collection box and a base, a support column is fixedly installed on the top of the base, a sliding column is fixedly installed on both sides of the supporting column, a movable frame is slidably installed between the sliding columns, and the top of the movable frame is fixedly installed There is a motor, the front end of the support column is fixedly installed with a limit frame, the inner side of the limit frame is slidably installed with a worktable, the top of the worktable is slidably installed with a movable seat, and the inner side of the movable seat is movably installed with a pressure plate through a threaded knob. The utility model can conveniently keep the worktable away from the drilling area by arranging the mutual cooperation between the limit frame and the worktable, and facilitate the loading and unloading operations. The mutual cooperation of the shards can make the debris generated during processing fall into the storage box for storage, which is convenient for taking out and cleaning, and improves the convenience.
Description
技术领域technical field
本实用新型涉及刀片生产技术领域,具体为一种用于刀片生产的可调节炮塔式铣床。The utility model relates to the technical field of blade production, in particular to an adjustable turret type milling machine used for blade production.
背景技术Background technique
炮塔式铣床一般指立式炮塔铣床,主要用铣刀对工件多种表面进行加工的机床,它可以加工平面、沟槽,也可以加工各种曲面、齿轮等,而在刀片的生产加工过程中,通常需要在刀片上进行钻孔操作,因此需要使用到用于刀片生产的可调节炮塔式铣床。Turret milling machines generally refer to vertical turret milling machines, which mainly use milling cutters to process various surfaces of workpieces. It can process planes, grooves, various curved surfaces, gears, etc. , usually requires drilling operations on inserts, thus requiring the use of adjustable turret milling machines for insert production.
经检索,专利公告号为CN212599154U公开了一种可调节炮塔式铣床,包括底座、机身、铣刀单元、夹持单元以及调节单元,机身固定在底座上,铣刀单元用于对工件进行加工,夹持单元包括两组夹持块,调节单元用于调节两组夹持块之间的距离;调节单元包括两组调节螺杆,两组调节螺杆和两组夹持块分别对应,底座上设有水平的通孔,两组调节螺杆的一侧位于通孔内,另一侧伸出通孔并与通孔转动连接;两组调节螺杆上的螺纹旋向相反;两组夹持块分别螺纹连接在两组调节螺杆上,底座的上表面设有水平的滑槽,夹持块滑动连接在滑槽内。After retrieval, the patent publication number CN212599154U discloses an adjustable turret type milling machine, which includes a base, a body, a milling cutter unit, a clamping unit and an adjustment unit. The body is fixed on the base, and the milling cutter unit is used for the workpiece. For processing, the clamping unit includes two groups of clamping blocks, and the adjustment unit is used to adjust the distance between the two groups of clamping blocks; the adjustment unit includes two groups of adjustment screws, and the two groups of adjustment screws and the two groups of clamping blocks correspond respectively, and the base There is a horizontal through hole, one side of the two sets of adjustment screws is located in the through hole, and the other side extends out of the through hole and is rotatably connected with the through hole; the threads on the two sets of adjustment screws have opposite directions of rotation; the two sets of clamping blocks are respectively The screw is connected with two sets of adjusting screws, the upper surface of the base is provided with a horizontal chute, and the clamping block is slidably connected in the chute.
现有的用于刀片生产的可调节炮塔式铣床存在的缺陷是:The disadvantages of existing adjustable turret milling machines for insert production are:
1、目前刀片生产的可调节炮塔式铣床没有较好的防护结构,一般的铣床的工作台与机体之间都是固定式不可拆卸的,导致在进行上料与卸料的过程中,使人体需要延伸至机体内进行操作,容易发生安全事故,降低了操作时的安全性;1. At present, the adjustable turret type milling machine produced by the blade does not have a good protective structure. Generally, the worktable and the body of the milling machine are fixed and non-removable, which leads to the human body in the process of loading and unloading. It needs to be extended into the body for operation, which is prone to safety accidents and reduces the safety during operation;
2、一般刀片生产的可调节炮塔式铣床没有较好的收集结构,大多的铣床在对刀片进行钻孔时会产生较多的金属碎屑散落在工作台上以及地面上,给清理工作带来较多的麻烦,为此我们提出一种用于刀片生产的可调节炮塔式铣床来解决现有的问题。2. The adjustable turret milling machine produced by the general blade does not have a good collection structure. Most of the milling machines will generate a lot of metal debris scattered on the worktable and the ground when drilling the blade, which will bring great impact to the cleaning work. More troubles, so we propose an adjustable turret milling machine for insert production to solve the existing problems.
实用新型内容Utility model content
本实用新型的目的在于提供一种用于刀片生产的可调节炮塔式铣床,以解决上述背景技术中提出的问题。The purpose of the present invention is to provide an adjustable turret type milling machine for blade production, so as to solve the problems raised in the above background technology.
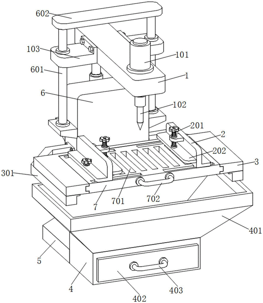
为实现上述目的,本实用新型提供如下技术方案:一种用于刀片生产的可调节炮塔式铣床,包括活动架、收集盒和底座,所述底座的顶部固定安装有支撑柱,所述支撑柱的两侧皆固定安装有滑柱,所述滑柱之间滑动安装有活动架,所述活动架的顶部固定安装有电机,所述支撑柱的前端固定安装有限位架,所述限位架的内侧滑动安装有工作台,所述工作台的顶部滑动安装有活动座,所述活动座的内侧通过螺纹旋钮活动安装有压板,所述底座的前端固定安装有收集盒,所述收集盒的顶部固定安装有与工作台对应的收集斗。In order to achieve the above purpose, the utility model provides the following technical solutions: an adjustable turret type milling machine for blade production, including a movable frame, a collection box and a base, the top of the base is fixedly installed with a support column, the support column Slide columns are fixedly installed on both sides of the sliding column, a movable frame is slidably installed between the sliding columns, a motor is fixedly installed on the top of the movable frame, a limit frame is fixedly installed at the front end of the support column, and the limit frame is fixedly installed. A worktable is slidably installed on the inner side of the worktable, a movable seat is slidably installed on the top of the worktable, a pressure plate is movably installed on the inner side of the movable seat through a threaded knob, a collection box is fixedly installed at the front end of the base, and the A collection bucket corresponding to the workbench is fixedly installed on the top.
利用滑柱能够方便活动架进行上下移动,能够方便进行钻孔操作,将工作台拉出远离钻孔区域,能够使作业人员可以较为安全的将物料放置在工作台上,操作方便快捷,通过滑动活动座能够方便根据物料的尺寸调节间距,通过转动螺纹旋钮能够方便带动压板上下移动,方便将物料的两端进行压住固定,防止发生脱落的情况。The use of the sliding column can facilitate the movable frame to move up and down, and can facilitate the drilling operation. Pulling the worktable out of the drilling area allows the operator to safely place the material on the worktable. The operation is convenient and fast. The movable seat can easily adjust the spacing according to the size of the material. By turning the threaded knob, it can easily drive the pressure plate to move up and down, and it is convenient to press and fix both ends of the material to prevent it from falling off.
优选的,所述滑柱的顶部固定安装有连接架,且滑柱与活动架之间通过滑套座滑动安装。通过连接架能够提高滑柱的结构强度,使活动架在进行上下移动过程用不易发生晃动,通过滑套座能够方便使活动架顺着滑柱进行滑动。Preferably, a connecting frame is fixedly installed on the top of the sliding column, and a sliding sleeve seat is used for sliding installation between the sliding column and the movable frame. The connecting frame can improve the structural strength of the sliding column, so that the movable frame is not easily shaken during the process of moving up and down, and the sliding sleeve seat can facilitate the sliding of the movable frame along the sliding column.
优选的,所述活动架与支撑柱之间通过液压伸缩柱活动安装,电机的输出端固定安装有与工作台对应的钻头。通过液压伸缩柱的伸缩活动,能够方便带动活动架进行上下移动,通过电机能够带动钻头转动。Preferably, a hydraulic telescopic column is movably installed between the movable frame and the support column, and a drill bit corresponding to the workbench is fixedly installed at the output end of the motor. Through the telescopic movement of the hydraulic telescopic column, the movable frame can be easily driven to move up and down, and the drill bit can be driven to rotate by the motor.
优选的,所述限位架与支撑柱之间通过支撑架固定安装,且限位架与工作台之间通过活动槽滑动安装。通过支撑架能够方便对限位架进行支撑,提高了稳定性,使用第二把手带动工作台顺着活动槽进行滑动。Preferably, the limit frame and the support column are fixedly installed through the support frame, and the limit frame and the worktable are slidably installed through the movable slot. The limit frame can be easily supported by the support frame, and the stability is improved, and the second handle is used to drive the worktable to slide along the movable groove.
优选的,所述工作台上设置有与收集斗对应的通孔,且工作台的前端固定安装有第二把手。能够利用通孔可以使钻孔产生的金属碎屑掉落至收集斗内进行收集。Preferably, the worktable is provided with a through hole corresponding to the collection bucket, and the front end of the worktable is fixedly mounted with a second handle. The metal chips produced by drilling can be dropped into the collection bucket for collection by using the through hole.
优选的,所述收集盒的内部活动安装有储物盒,且储物盒的前端固定安装有延伸出收集盒的第一把手。使碎屑能够落入储物盒内,通过使用第一把手将储物盒从收集盒内取出,能够使作业人员可以较为方便的对收集的碎屑进行回收处理,有效的提高了便捷性。Preferably, a storage box is movably installed inside the collection box, and a first handle extending out of the collection box is fixedly installed at the front end of the storage box. The debris can fall into the storage box, and by using the first handle to take out the storage box from the collection box, the operator can more conveniently recycle the collected debris, which effectively improves the convenience.
与现有技术相比,本实用新型的有益效果是:Compared with the prior art, the beneficial effects of the present utility model are:
1、通过设置有限位架与工作台之间的相互配合,能够较为方便的通过拉动工作台,使工作台远离钻孔区域,能够使作业人员可以较为方便的进行上料与卸料操作,有效的提高了操作时的安全性,方便实用。1. By setting the mutual cooperation between the limit frame and the worktable, it is more convenient to pull the worktable to keep the worktable away from the drilling area, so that the operator can carry out the loading and unloading operations more conveniently, effectively It improves the safety during operation and is convenient and practical.
2、通过设置有收集斗、收集盒与储物盒之间的相互配合,能够使工作台上加工时产生的金属碎屑可以较为方便的通过收集斗进行收集,使碎屑能够落入收集盒内的储物盒内进行储存,方便作业人员将储物盒取出进行清理,有效的提高了便捷性。2. By providing the mutual cooperation between the collection bucket, the collection box and the storage box, the metal debris generated during processing on the workbench can be collected more conveniently through the collection bucket, so that the debris can fall into the collection box. The storage box is stored in the inner storage box, which is convenient for the operator to take out the storage box for cleaning, which effectively improves the convenience.
附图说明Description of drawings
图1为本实用新型的正面外观立体主视图;Fig. 1 is the front appearance three-dimensional front view of the utility model;
图2为本实用新型的侧面结构示意图;Fig. 2 is the side structure schematic diagram of the utility model;
图3为本实用新型的工作台局部结构示意图;Fig. 3 is the partial structure schematic diagram of the workbench of the utility model;
图4为本实用新型的限位架局部结构示意图。FIG. 4 is a schematic diagram of the partial structure of the limiting frame of the present invention.
图中:1、活动架;101、电机;102、钻头;103、滑套座;2、活动座;201、螺纹旋钮;202、压板;3、限位架;301、支撑架;302、活动槽;4、收集盒;401、收集斗;402、储物盒;403、第一把手;5、底座;6、支撑柱;601、滑柱;602、连接架;603、液压伸缩柱;7、工作台;701、通孔;702、第二把手。In the figure: 1, movable frame; 101, motor; 102, drill bit; 103, sliding sleeve seat; 2, movable seat; 201, threaded knob; 202, pressure plate; 3, limit frame; 301, support frame; 302, movable trough; 4. collection box; 401, collection bucket; 402, storage box; 403, first handle; 5, base; 6, support column; 601, slide column; 602, connecting frame; 603, hydraulic telescopic column; 7, Workbench; 701, through hole; 702, second handle.
具体实施方式Detailed ways
下文结合附图和具体实施例对本实用新型的技术方案做进一步说明。The technical solutions of the present invention will be further described below with reference to the accompanying drawings and specific embodiments.
实施例一Example 1
如图1-4所示,本实用新型提出的一种用于刀片生产的可调节炮塔式铣床,包括活动架1、收集盒4和底座5,底座5的顶部固定安装有支撑柱6,支撑柱6的两侧皆固定安装有滑柱601,滑柱601之间滑动安装有活动架1,活动架1的顶部固定安装有电机101,支撑柱6的前端固定安装有限位架3,限位架3的内侧滑动安装有工作台7,工作台7的顶部滑动安装有活动座2,活动座2的内侧通过螺纹旋钮201活动安装有压板202,底座5的前端固定安装有收集盒4,收集盒4的顶部固定安装有与工作台7对应的收集斗401,工作台7上设置有与收集斗401对应的通孔701,且工作台7的前端固定安装有第二把手702,限位架3与工作台7之间通过活动槽302滑动安装,收集盒4的内部活动安装有储物盒402,且储物盒402的前端固定安装有延伸出收集盒4的第一把手403,电机101的输出端固定安装有与工作台7对应的钻头102。As shown in Figures 1-4, an adjustable turret type milling machine for blade production proposed by the present utility model includes a movable frame 1, a collection box 4 and a
基于实施例1的用于刀片生产的可调节炮塔式铣床工作原理是:通过电机101带动钻头102转动,利用滑柱601能够方便活动架1进行上下移动,能够方便进行钻孔操作,通过使用第二把手702带动工作台7顺着活动槽302进行滑动,能够方便将工作台7拉出远离钻孔区域,能够使作业人员可以较为安全的将物料放置在工作台7上,操作方便快捷,通过滑动活动座2能够方便根据物料的尺寸调节间距,通过转动螺纹旋钮201能够方便带动压板202上下移动,方便将物料的两端进行压住固定,防止发生脱落的情况,通过在钻孔的过程中,能够利用通孔701可以使钻孔产生的金属碎屑掉落至收集斗401内进行收集,使碎屑能够落入储物盒402内,通过使用第一把手403将储物盒402从收集盒4内取出,能够使作业人员可以较为方便的对收集的碎屑进行回收处理,有效的提高了便捷性。The working principle of the adjustable turret milling machine for blade production based on Embodiment 1 is as follows: the
实施例二
如图1-4所示,本实用新型提出的一种用于刀片生产的可调节炮塔式铣床,相较于实施例一,本实施例还包括:滑柱601的顶部固定安装有连接架602,且滑柱601与活动架1之间通过滑套座103滑动安装,活动架1与支撑柱6之间通过液压伸缩柱603活动安装,限位架3与支撑柱6之间通过支撑架301固定安装。As shown in Figures 1-4, an adjustable turret type milling machine for blade production proposed by the present invention, compared with the first embodiment, this embodiment further includes: a connecting
本实施例中,通过连接架602能够提高滑柱601的结构强度,使活动架1在进行上下移动过程用不易发生晃动,通过滑套座103能够方便使活动架1顺着滑柱601进行滑动,通过液压伸缩柱603的伸缩活动,能够方便带动活动架1进行上下移动,通过支撑架301能够方便对限位架3进行支撑,提高了稳定性。In this embodiment, the structural strength of the
上述具体实施例仅仅是本实用新型的几种优选的实施例,基于本实用新型的技术方案和上述实施例的相关启示,本领域技术人员可以对上述具体实施例做出多种替代性的改进和组合。The above-mentioned specific embodiments are only several preferred embodiments of the present invention. Based on the technical solutions of the present invention and the relevant enlightenment of the above-mentioned embodiments, those skilled in the art can make various alternative improvements to the above-mentioned specific embodiments. and combination.
Claims (6)
Priority Applications (1)
| Application Number | Priority Date | Filing Date | Title |
|---|---|---|---|
| CN202220038085.2U CN216966380U (en) | 2022-01-09 | 2022-01-09 | A adjustable turret type milling machine for blade production |
Applications Claiming Priority (1)
| Application Number | Priority Date | Filing Date | Title |
|---|---|---|---|
| CN202220038085.2U CN216966380U (en) | 2022-01-09 | 2022-01-09 | A adjustable turret type milling machine for blade production |
Publications (1)
| Publication Number | Publication Date |
|---|---|
| CN216966380U true CN216966380U (en) | 2022-07-15 |
Family
ID=82349834
Family Applications (1)
| Application Number | Title | Priority Date | Filing Date |
|---|---|---|---|
| CN202220038085.2U Expired - Fee Related CN216966380U (en) | 2022-01-09 | 2022-01-09 | A adjustable turret type milling machine for blade production |
Country Status (1)
| Country | Link |
|---|---|
| CN (1) | CN216966380U (en) |
Cited By (1)
| Publication number | Priority date | Publication date | Assignee | Title |
|---|---|---|---|---|
| CN115338677A (en) * | 2022-09-19 | 2022-11-15 | 樊红妹 | Vertical gun turret milling machine |
-
2022
- 2022-01-09 CN CN202220038085.2U patent/CN216966380U/en not_active Expired - Fee Related
Cited By (1)
| Publication number | Priority date | Publication date | Assignee | Title |
|---|---|---|---|---|
| CN115338677A (en) * | 2022-09-19 | 2022-11-15 | 樊红妹 | Vertical gun turret milling machine |
Similar Documents
| Publication | Publication Date | Title |
|---|---|---|
| CN219562228U (en) | Annular cutting device of metallurgical piece | |
| CN112045226A (en) | A machined drilling device | |
| CN216966380U (en) | A adjustable turret type milling machine for blade production | |
| CN209439851U (en) | A kind of drilling machine chip removing device | |
| CN207386671U (en) | The duplex head milling machine of slot in a kind of milling workpiece | |
| CN2423081Y (en) | Machine tool | |
| CN112828596B (en) | Boring and milling device for processing semicircular ring shell | |
| CN217666558U (en) | Perforating device of aluminium template processing usefulness | |
| CN219310862U (en) | Plate grinding and polishing device for drilling and milling machine | |
| CN218224715U (en) | Radial drill convenient to collect waste material | |
| CN110744319A (en) | Bedroom boring machine of adjustable material angle | |
| CN214213140U (en) | Machine tool for machining part groove | |
| CN212917871U (en) | Stainless steel part cutting device convenient to collect sweeps | |
| CN116276151A (en) | Multi-station blade grooving machine | |
| CN211940044U (en) | Milling machine with dust collection function | |
| CN220863445U (en) | Milling machine with tool setting structure | |
| CN209986532U (en) | Turning and milling composite numerical control machine tool | |
| CN222492232U (en) | An adjustable single-station hydraulic drilling machine | |
| CN113477984A (en) | Drilling machine with chip cleaning function | |
| CN219292782U (en) | Drilling device for mechanical parts | |
| CN216400117U (en) | Multifunctional glass processing and drilling equipment | |
| CN223251171U (en) | Material taking mechanism for machining of whirling machine tool | |
| CN219648784U (en) | Milling machine for processing edge die | |
| CN220862796U (en) | Steel construction numerical control drilling machine with waste recovery function | |
| CN222134135U (en) | Novel milling machine convenient to change cutter |
Legal Events
| Date | Code | Title | Description |
|---|---|---|---|
| GR01 | Patent grant | ||
| GR01 | Patent grant | ||
| CF01 | Termination of patent right due to non-payment of annual fee |
Granted publication date: 20220715 |
|
| CF01 | Termination of patent right due to non-payment of annual fee |
