CN216852887U - Protective box for comprehensive wiring system - Google Patents

Protective box for comprehensive wiring system Download PDF

Info

Publication number
CN216852887U
CN216852887U CN202123259902.1U CN202123259902U CN216852887U CN 216852887 U CN216852887 U CN 216852887U CN 202123259902 U CN202123259902 U CN 202123259902U CN 216852887 U CN216852887 U CN 216852887U
Authority
CN
China
Prior art keywords
cavity
cooling
protective box
shock
protective
Prior art date
Legal status (The legal status is an assumption and is not a legal conclusion. Google has not performed a legal analysis and makes no representation as to the accuracy of the status listed.)
Active
Application number
CN202123259902.1U
Other languages
Chinese (zh)
Inventor
刘进林
吕国平
吴新风
蔡强
Current Assignee (The listed assignees may be inaccurate. Google has not performed a legal analysis and makes no representation or warranty as to the accuracy of the list.)
Nanjing Jiyi Electronic Technology Co ltd
Original Assignee
Nanjing Jiyi Electronic Technology Co ltd
Priority date (The priority date is an assumption and is not a legal conclusion. Google has not performed a legal analysis and makes no representation as to the accuracy of the date listed.)
Filing date
Publication date
Application filed by Nanjing Jiyi Electronic Technology Co ltd filed Critical Nanjing Jiyi Electronic Technology Co ltd
Priority to CN202123259902.1U priority Critical patent/CN216852887U/en
Application granted granted Critical
Publication of CN216852887U publication Critical patent/CN216852887U/en
Active legal-status Critical Current
Anticipated expiration legal-status Critical

Links

Images

Landscapes

  • Casings For Electric Apparatus (AREA)

Abstract

本实用新型公开了一种综合布线系统用防护箱,包括防护箱体、降温结构、防潮结构和减震防护结构,所述防护箱体为前侧面开口的腔体结构,所述防护箱体前侧面铰接设有防护门,所述防护箱体内设有隔板,所述防护箱体内设有降温腔和线缆放置腔,所述降温腔和线缆放置腔位于隔板两侧,所述隔板上设有散热口一,所述防护箱体位于降温腔一端设有散热口二,所述降温结构设于降温腔内,所述防潮结构设于线缆放置腔底壁,所述减震防护结构设于线缆放置腔内。本实用新型涉及综合布线设备领域,具体提供了一种结构合理、简单,具有良好的散热除湿功能,同时可对外界突然的冲击力进行缓冲对线缆保护的综合布线系统用防护箱。

Figure 202123259902

The utility model discloses a protective box for an integrated wiring system, comprising a protective box body, a cooling structure, a moisture-proof structure and a shock-absorbing protective structure. The protective box body is a cavity structure with an open front side. The side is hinged with a protective door, the protective box is provided with a partition, the protective box is provided with a cooling cavity and a cable placement cavity, and the cooling cavity and the cable placement cavity are located on both sides of the partition, so The partition plate is provided with a cooling port 1, the protective box is provided with a cooling port 2 at one end of the cooling cavity, the cooling structure is arranged in the cooling cavity, the moisture-proof structure is arranged on the bottom wall of the cable placement cavity, and the The shock absorption protection structure is arranged in the cable placement cavity. The utility model relates to the field of integrated wiring equipment, and specifically provides a protective box for an integrated wiring system which has a reasonable and simple structure, has good heat dissipation and dehumidification functions, and can buffer sudden external impact forces to protect cables.

Figure 202123259902

Description

Protective box for comprehensive wiring system
Technical Field
The utility model relates to a comprehensive wiring equipment field specifically is a protective housing for comprehensive wiring system.
Background
The comprehensive wiring system is in a modularized combination mode, voice, data, images and part of control signal systems are unified, and the comprehensive wiring system is integrated in a standard wiring system through unified planning design, and a comprehensive wiring system protective box with a good heat dissipation function is very important for stable work of the wiring system, because various cables are accumulated to generate large amount of heat during working, the protective box lacking ventilation and cooling directly influences the operation stability of the system, meanwhile, moisture resistance in autumn and winter is very necessary, particularly in humid areas in south, moisture in the protective box is easy to damage the comprehensive wiring system if not timely treated, in the prior art, when the protective box for the comprehensive wiring system suddenly impacts from the outside, the inside of the protective box lacks protection on the cables.
SUMMERY OF THE UTILITY MODEL
To the above situation, for remedying above-mentioned current defect, the utility model provides a rational in infrastructure, simple has good heat dissipation dehumidification function, can cushion the comprehensive wiring system who protects the cable to external sudden impact force simultaneously and use the guard box.
The utility model provides a following technical scheme: the utility model provides a protection box for comprehensive wiring system, including protection box, cooling structure, dampproofing structure and shock attenuation protective structure, protection box is leading flank open-ended cavity structure, the articulated guard gate that is equipped with of protection box leading flank, the internal baffle that is equipped with of protection box, the internal chamber of placing of cooling chamber and cable that is equipped with of protection box, the chamber is located the baffle both sides in cooling chamber and cable placing chamber, be equipped with thermovent one on the baffle, protection box is located cooling chamber one end and is equipped with thermovent two, cooling structure locates the cooling intracavity, dampproofing structure locates the cable and places the chamber diapire, shock attenuation protective structure locates the cable and places the intracavity.
In order to enable the protection box to have good cooling effect, the cooling structure comprises a driving motor, a motor protection shell, a driving bevel gear, a driven bevel gear, a driving screw rod, a driving thread block, a guide block and a dustproof sealing plate, wherein the motor protection shell is arranged on the top wall in the cooling cavity, the driving motor is arranged in the motor protection shell, the driving bevel gear is arranged on a power output shaft of the driving motor, the bottom end of the driving screw rod is rotatably arranged on the bottom wall in the cooling cavity, the upper end of the driving screw rod penetrates through the motor protection shell and is rotatably arranged in the motor protection shell, the driven bevel gear is arranged at one end of the driving screw rod in the motor protection shell, the driving bevel gear is meshed with the driven bevel gear, the driving thread block is arranged on the driving screw rod through threaded connection, two groups of the guide blocks are arranged, and the two groups of the guide blocks are arranged on the inner side wall of the cooling cavity and are arranged on two sides of a heat dissipation port, the dustproof sealing plate is arranged on the driving thread block and slides in the guide groove, the driving thread block and the dustproof sealing plate are provided with two groups, and one group of dustproof sealing plate is provided with a cooling fan.
In order to make the guard box have good dampproofing effect, dampproofing structure includes supporting component, dampproofing bottom plate, dehumidification lamp and dehumidification fan, the intracavity diapire is placed to the supporting component locating cable, the supporting component is equipped with the multiunit, dampproofing bottom plate is located on the multiunit supporting component, the intracavity diapire is placed to the dehumidification fan locating cable, the intracavity roof is placed to the dehumidification lamp locating cable.
The supporting assembly comprises a supporting sleeve, a supporting limiting plate, a supporting spring and a supporting sliding column, the supporting sleeve is arranged on the cable to place the bottom wall in the cavity, the supporting spring is arranged in the supporting sleeve, the supporting limiting plate is arranged in the supporting sleeve in a sliding mode, the two ends of the supporting spring are arranged on the bottom wall in the supporting sleeve and the supporting limiting plate, the lower end of the supporting sliding column is arranged on the supporting limiting plate, and the upper end of the supporting sliding column penetrates through the supporting sleeve and is connected with a damp-proof bottom plate.
In order to protect the protective box from external sudden impact, the interior of the protective box can be protected corresponding to cables, the shock absorption protection structure comprises a cable placing plate, a guide post, a first shock absorption spring and a second shock absorption spring, the side wall of the partition plate is provided with a shock absorption cavity, the guide post is arranged on the top wall and the bottom wall in the shock absorption cavity, one end of the cable placing plate is provided with a boss, the boss is arranged in the shock absorption cavity and slides on the guide post, the first shock absorption spring and the second shock absorption spring are both sleeved on the guide post, two ends of the shock absorption spring are arranged at the bottom of the shock absorption cavity and the bottom of the cable placing plate, two ends of the shock absorption spring are arranged at the top of the shock absorption cavity and the top of the cable placing plate, the shock absorption cavities are provided with two groups, the shock absorption cavities of the second group are arranged on the side wall of the cable placing cavity and correspond to the shock absorption cavities of the first group, and the guide post, the first shock absorption spring and the second shock absorption spring are provided with two groups, the shock absorption protection structure is provided with a plurality of groups.
Furthermore, a dustproof net is arranged on the second heat dissipation opening.
Further, the bottom of the cable placing cavity is provided with a temperature and humidity sensor, the protective door is provided with a display screen, and the display screen is electrically connected with the temperature and humidity sensor.
Furthermore, the bottom of the protective box body is provided with a supporting foot pad.
Adopt above-mentioned structure the utility model discloses the beneficial effect who gains as follows: the utility model provides a protective housing for comprehensive wiring system, which has good cooling effect through a cooling structure, and can efficiently dissipate heat through a second heat dissipation opening when the temperature is higher, and meanwhile, the protective housing can be dustproof and moistureproof in daily life; the protection box has good moisture-proof effect through the moisture-proof structure; when the protection box is suddenly impacted by the outside through the damping protection structure, the cable can be protected inside the protection box.
Drawings
The accompanying drawings are included to provide a further understanding of the invention, and are incorporated in and constitute a part of this specification, illustrate embodiments of the invention, and together with the description serve to explain the invention and not to limit the invention. In the drawings:
fig. 1 is a schematic view of an overall structure of a protective box for an integrated wiring system according to the present invention;
fig. 2 is a schematic perspective structural view of a protective box for an integrated wiring system according to the present invention;
FIG. 3 is a schematic sectional view A-A of FIG. 2;
fig. 4 is an enlarged schematic view of a part B of fig. 2.
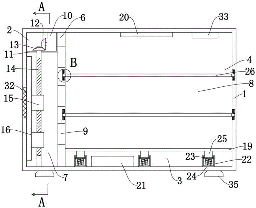
The device comprises a protective box body 1, a protective box body 2, a cooling structure 3, a moisture-proof structure 4, a damping protective structure 5, a protective door 6, a partition plate 7, a cooling cavity 8, a cable placing cavity 9, a first heat dissipation opening 10, a driving motor 11, a motor protective shell 12, a driving bevel gear 13, a driven bevel gear 14, a driving screw rod 15, a driving thread block 16, a guide block 17, a dustproof sealing plate 18, a cooling fan 19, a moisture-proof bottom plate 20, a dehumidifying lamp 21, a dehumidifying fan 22, a supporting sleeve 23, a supporting limiting plate 24, a supporting spring 25, a supporting sliding column 26, a cable placing plate 27, a guide column 28, a damping spring I, 29, a damping spring II, 30, a damping cavity 31, a boss 32, a dustproof net 33, a temperature and humidity sensor 34, a display screen 35 and a supporting pad foot.
Detailed Description
The technical solutions in the embodiments of the present invention will be clearly and completely described below with reference to the drawings in the embodiments of the present invention, and it is obvious that the described embodiments are only some embodiments of the present invention, not all embodiments; based on the embodiments in the present invention, all other embodiments obtained by a person skilled in the art without creative efforts all belong to the protection scope of the present invention.
It should be noted that the terms "front," "back," "left," "right," "upper" and "lower" used in the following description refer to directions in the drawings, and the terms "inner" and "outer" refer to directions toward and away from, respectively, the geometric center of a particular component.
As shown in fig. 1-4, the technical scheme adopted by the utility model is as follows: the utility model provides a protective housing for integrated wiring system, including protective housing 1, cooling structure 2, dampproofing structure 3 and shock attenuation protective structure 4, protective housing 1 is leading flank open-ended cavity structure, the articulated guard gate 5 that is equipped with of protective housing 1 leading flank, be equipped with baffle 6 in the protective housing 1, it places chamber 8 to be equipped with cooling chamber 7 and cable in the protective housing 1, cooling chamber 7 and cable are placed chamber 8 and are located 6 both sides of baffle, be equipped with thermovent one 9 on the baffle 6, protective housing 1 is located 7 one end in cooling chamber and is equipped with thermovent two, cooling structure 2 is located in cooling chamber 7, dampproofing structure 3 is located the cable and is placed 8 diapalls in the chamber, shock attenuation protective structure 4 is located the cable and is placed the intracavity 8.
As shown in fig. 2 and fig. 3, the cooling structure 2 comprises a driving motor 10, a motor protecting shell 11, a driving bevel gear 12, a driven bevel gear 13, a driving screw 14, a driving screw block 15, a guide block 16 and a dustproof sealing plate 17, wherein the motor protecting shell 11 is arranged on the top wall of the cooling cavity 7, the driving motor 10 is arranged in the motor protecting shell 11, the driving bevel gear 12 is arranged on the power output shaft of the driving motor 10, the bottom end of the driving screw 14 is rotatably arranged on the bottom wall of the cooling cavity 7, the upper end of the driving screw 14 penetrates through the motor protecting shell 11 and is rotatably arranged in the motor protecting shell 11, the driven bevel gear 13 is arranged at one end of the driving screw 14 in the motor protecting shell 11, the driving bevel gear 12 is meshed with the driven bevel gear 13, the driving screw block 15 is arranged on the driving screw 14 through threaded connection, two sets of guide blocks 16 are arranged, the two sets of guide blocks 16 are arranged on the inner side wall of the cooling cavity 7 and are arranged at two sides of the heat dissipation opening, the guide block 16 is provided with a guide groove, the dustproof sealing plate 17 is arranged on the driving thread block 15 and slides in the guide groove, the driving thread block 15 and the dustproof sealing plate 17 are provided with two groups, and the dustproof sealing plate 17 is provided with a radiating fan 18.
As shown in fig. 2, moisture-proof structure 3 includes supporting component, dampproofing bottom plate 19, dehumidification lamp 20 and dehumidification fan 21, and the supporting component is located the cable and is placed chamber 8 interior diapire, and the supporting component is equipped with the multiunit, and dampproofing bottom plate 19 is located on the multiunit supporting component, and dehumidification fan 21 locates the cable and places chamber 8 interior diapire, and dehumidification lamp 20 locates the cable and places chamber 8 interior roof.
As shown in fig. 2, the support assembly includes a support sleeve 22, a support limit plate 23, a support spring 24 and a support sliding column 25, the support sleeve 22 is arranged on the bottom wall of the cable placing cavity 8, the support spring 24 is arranged in the support sleeve 22, the support limit plate 23 is arranged in the support sleeve 22 in a sliding manner, two ends of the support spring 24 are arranged on the bottom wall of the support sleeve 22 and the support limit plate 23, the lower end of the support sliding column 25 is arranged on the support limit plate 23, and the upper end of the support sliding column 25 penetrates through the support sleeve 22 and is connected with the moisture-proof bottom plate 19.
As shown in fig. 2 and 4, the shock absorbing and protecting structure 4 includes a cable laying plate 26 and a guide post 27, damping spring 28 and damping spring two 29, 6 lateral walls of baffle are equipped with damping chamber 30, guide post 27 is located on roof and the diapire in damping chamber 30, the cable is placed board 26 one end and is equipped with boss 31, boss 31 is located in damping chamber 30 and slides on guide post 27, damping spring 28 and damping spring two 29 all overlap and locate on guide post 27, damping chamber 30 bottom and cable are placed to damping spring 28 both ends, damping chamber 30 top and cable are placed the board 26 bottom, damping chamber 30 top are located to damping chamber 30 both ends of damping spring two 29, damping chamber 30 is equipped with two sets ofly, second group damping chamber 30 is located the cable and is placed 8 lateral walls of chamber and correspond the setting with first group damping chamber 30 position, guide post 27, damping spring 28 and damping spring two 29 all are equipped with two sets ofly, shock attenuation protective structure 4 is equipped with the multiunit.
As shown in fig. 1, a dust screen 32 is disposed on the second heat dissipation opening.
As shown in fig. 1, a temperature and humidity sensor 33 is arranged at the bottom of the cable placing cavity 8, a display screen 34 is arranged on the protective door 5, and the display screen 34 is electrically connected with the temperature and humidity sensor 33.
As shown in fig. 1, the bottom of the protective casing 1 is provided with a support foot 35.
When the device is used specifically, in an initial unused state, a group of dustproof sealing plates 17 without the cooling fan 18 are used for sealing the second cooling hole, the moistureproof bottom plate 19 is used for cushioning cables at the bottom of the protective box body 1 to be moistureproof, the dehumidification capacity in the protective box body 1 is greatly improved under the cooperation of the dehumidification lamp 20 and the dehumidification fan 21, meanwhile, the supporting component is matched with the damping and protection structure 4 to protect the internal cables when being impacted, specifically, when being impacted by the outside, the moistureproof bottom plate 19 transmits impact force to the supporting sliding column 25, the supporting sliding column 25 enables the supporting spring 24 to be pressed to absorb external force, when the damping and protection structure 4 is impacted by external force, the cable placing plate 26 directly transmits the force to the first damping spring 28 and the second damping spring 29, the cable placing plate 26 slides up and down on the guide column 27 to prevent the cables from being damaged by sudden impact or loosening joints, and protects the cables to a certain degree, when the display screen 34 shows that the internal environment temperature of the protection box body 1 is higher than the use requirement, the driving motor 10 is started, the driving motor 10 drives the driving bevel gear 12 to rotate, the driving bevel gear 12 drives the driven bevel gear 13 to rotate, the driven bevel gear 13 drives the driving screw 14 to rotate, the driving screw 14 drives the two groups of driving thread blocks 15 to rotate and further drives the two groups of dustproof sealing plates 17 to move, one group of dustproof sealing plates 17 move upwards, the other group of dustproof sealing plates 17 with the cooling fan 18 seals the second heat dissipation opening, the cooling fan 18 is started to blow out the internal high temperature of the protection box body 1 at the same time, so that the protection box with the comprehensive wiring system has a good heat dissipation and dehumidification function, and meanwhile, the external sudden impact force can be buffered to protect the cable.
It is noted that, herein, relational terms such as first and second, and the like may be used solely to distinguish one entity or action from another entity or action without necessarily requiring or implying any actual such relationship or order between such entities or actions. Also, the terms "comprises," "comprising," or any other variation thereof, are intended to cover a non-exclusive inclusion, such that a process, method, article, or apparatus that comprises a list of elements does not include only those elements but may include other elements not expressly listed or inherent to such process, method, article, or apparatus.
Although embodiments of the present invention have been shown and described, it will be appreciated by those skilled in the art that changes, modifications, substitutions and alterations can be made in these embodiments without departing from the principles and spirit of the invention, the scope of which is defined in the appended claims and their equivalents.

Claims (8)

1.一种综合布线系统用防护箱,其特征在于:包括防护箱体、降温结构、防潮结构和减震防护结构,所述防护箱体为前侧面开口的腔体结构,所述防护箱体前侧面铰接设有防护门,所述防护箱体内设有隔板,所述防护箱体内设有降温腔和线缆放置腔,所述降温腔和线缆放置腔位于隔板两侧,所述隔板上设有散热口一,所述防护箱体位于降温腔一端设有散热口二,所述降温结构设于降温腔内,所述防潮结构设于线缆放置腔底壁,所述减震防护结构设于线缆放置腔内。1. A protective box for an integrated wiring system is characterized in that: comprising a protective box body, a cooling structure, a moisture-proof structure and a shock absorption protection structure, the protective box body is a cavity structure with an opening on the front side, and the protective box body is A protective door is hinged on the front side, a partition is arranged in the protective box, a cooling cavity and a cable placement cavity are arranged in the protective box, and the cooling cavity and the cable placement cavity are located on both sides of the partition. The partition plate is provided with a cooling port 1, the protective box is provided with a cooling port 2 at one end of the cooling cavity, the cooling structure is arranged in the cooling cavity, and the moisture-proof structure is arranged on the bottom wall of the cable placement cavity, so The shock absorption protection structure is arranged in the cable placement cavity. 2.根据权利要求1所述的一种综合布线系统用防护箱,其特征在于:所述降温结构包括驱动电机、电机防护壳、主动锥齿轮、从动锥齿轮、驱动螺杆、驱动螺纹块、导向块和防尘封板,所述电机防护壳设于降温腔内顶壁,所述驱动电机设于电机防护壳内,所述主动锥齿轮设于驱动电机动力输出轴上,所述驱动螺杆底端转动设于降温腔内底壁,所述驱动螺杆上端贯穿电机防护壳且转动设于电机防护壳内,所述从动锥齿轮设于驱动螺杆位于电机防护壳内一端,所述主动锥齿轮和从动锥齿轮啮合,所述驱动螺纹块通过螺纹连接设于驱动螺杆上,所述导向块设有两组,两组所述导向块设于降温腔内侧壁且位于散热口二两侧,所述导向块上设有导向槽,所述防尘封板设于驱动螺纹块上且滑动于导向槽中,所述驱动螺纹块和防尘封板设有两组,一组所述防尘封板上设有散热风扇。2 . The protective box for an integrated wiring system according to claim 1 , wherein the cooling structure comprises a driving motor, a motor protective casing, a driving bevel gear, a driven bevel gear, a driving screw, a driving thread block, 2 . A guide block and a dust-proof sealing plate, the motor protective casing is arranged on the inner top wall of the cooling chamber, the driving motor is arranged in the motor protective casing, the driving bevel gear is arranged on the power output shaft of the driving motor, and the driving screw The bottom end is rotatably arranged on the inner bottom wall of the cooling chamber, the upper end of the driving screw penetrates the motor protective casing and is rotatably arranged in the motor protective casing, the driven bevel gear is arranged on the end of the driving screw located in the motor protective casing, and the driving cone The gear meshes with the driven bevel gear, the driving screw block is connected to the driving screw by screw thread, the guide blocks are provided with two groups, and the two groups of the guide blocks are provided on the inner side wall of the cooling chamber and on both sides of the cooling port. , the guide block is provided with a guide groove, the dust-proof sealing plate is arranged on the driving thread block and slides in the guide groove, the driving thread block and the dust-proof sealing plate are provided with two groups, and a group of the There is a cooling fan on the dust seal plate. 3.根据权利要求1所述的一种综合布线系统用防护箱,其特征在于:所述防潮结构包括支撑组件、防潮底板、除湿灯和除湿风机,所述支撑组件设于线缆放置腔内底壁,所述支撑组件设有多组,所述防潮底板设于多组支撑组件上,所述除湿风机设于线缆放置腔内底壁,所述除湿灯设于线缆放置腔内顶壁。3 . The protective box for an integrated wiring system according to claim 1 , wherein the moisture-proof structure comprises a support assembly, a moisture-proof bottom plate, a dehumidification lamp and a dehumidification fan, and the support assembly is arranged in a cable placement cavity. 4 . The bottom wall, the support components are provided with multiple sets, the moisture-proof bottom plate is set on the multiple sets of support components, the dehumidification fan is set on the bottom wall of the cable placement cavity, and the dehumidification lamp is set on the top of the cable placement cavity wall. 4.根据权利要求3所述的一种综合布线系统用防护箱,其特征在于:所述支撑组件包括支撑套筒、支撑限位板、支撑弹簧和支撑滑柱,所述支撑套筒设于线缆放置腔内底壁,所述支撑弹簧设于支撑套筒内,所述支撑限位板滑动设于支撑套筒内,所述支撑弹簧两端设于支撑套筒内底壁和支撑限位板上,所述支撑滑柱下端设于支撑限位板上,所述支撑滑柱上端贯穿支撑套筒与防潮底板相连。4 . The protective box for an integrated wiring system according to claim 3 , wherein the support assembly comprises a support sleeve, a support limit plate, a support spring and a support slide column, and the support sleeve is provided on the the bottom wall of the cable placement cavity, the support spring is arranged in the support sleeve, the support limit plate is slidably arranged in the support sleeve, the two ends of the support spring are arranged on the inner bottom wall of the support sleeve and the support limiter The lower end of the supporting sliding column is arranged on the supporting limiting plate, and the upper end of the supporting sliding column is connected to the moisture-proof bottom plate through the supporting sleeve. 5.根据权利要求1所述的一种综合布线系统用防护箱,其特征在于:所述减震防护结构包括线缆放置板、导向柱、减震弹簧一和减震弹簧二,所述隔板侧壁设有减震腔,所述导向柱设于减震腔内顶壁和底壁上,所述线缆放置板一端设有凸台,所述凸台设于减震腔内且滑动于导向柱上,所述减震弹簧一和减震弹簧二均套设于导向柱上,所述减震弹簧一两端设于减震腔底部和线缆放置板底部,所述减震弹簧二两端设于减震腔顶部和线缆放置板顶部,所述减震腔设有两组,第二组所述减震腔设于线缆放置腔侧壁且与第一组减震腔位置对应设置,所述导向柱、减震弹簧一和减震弹簧二均设有两组,所述减震防护结构设有多组。5 . The protective box for an integrated wiring system according to claim 1 , wherein the shock-absorbing protective structure comprises a cable placing plate, a guide column, a first shock-absorbing spring and a second shock-absorbing spring. The side wall of the plate is provided with a shock-absorbing cavity, the guide posts are arranged on the top wall and the bottom wall of the shock-absorbing cavity, and one end of the cable placement plate is provided with a boss, and the boss is set in the shock-absorbing cavity and slides On the guide column, the first shock-absorbing spring and the second shock-absorbing spring are sleeved on the guide column. The two ends are set at the top of the shock-absorbing cavity and the top of the cable placement plate. The shock-absorbing cavity is provided with two groups. The second group of the shock-absorbing cavity is provided on the side wall of the cable-placed cavity and is connected to the first group of shock-absorbing cavities. The positions are correspondingly arranged, the guide post, the first shock-absorbing spring and the second shock-absorbing spring are each provided with two groups, and the shock-absorbing protection structure is provided with multiple groups. 6.根据权利要求1所述的一种综合布线系统用防护箱,其特征在于:所述散热口二上设有防尘网。6 . The protective box for an integrated wiring system according to claim 1 , wherein a dust-proof net is provided on the second heat dissipation port. 7 . 7.根据权利要求1所述的一种综合布线系统用防护箱,其特征在于:所述线缆放置腔底部设有温湿度传感器,所述防护门上设有显示屏,所述显示屏与温湿度传感器电性连接。7 . The protective box for an integrated wiring system according to claim 1 , wherein a temperature and humidity sensor is arranged at the bottom of the cable placement cavity, and a display screen is arranged on the protection door, and the display screen is connected with the display screen. 8 . The temperature and humidity sensors are electrically connected. 8.根据权利要求1所述的一种综合布线系统用防护箱,其特征在于:所述防护箱体底部设有支撑垫脚。8 . The protective box for an integrated wiring system according to claim 1 , wherein the bottom of the protective box is provided with supporting feet. 9 .
CN202123259902.1U 2021-12-23 2021-12-23 Protective box for comprehensive wiring system Active CN216852887U (en)

Priority Applications (1)

Application Number Priority Date Filing Date Title
CN202123259902.1U CN216852887U (en) 2021-12-23 2021-12-23 Protective box for comprehensive wiring system

Applications Claiming Priority (1)

Application Number Priority Date Filing Date Title
CN202123259902.1U CN216852887U (en) 2021-12-23 2021-12-23 Protective box for comprehensive wiring system

Publications (1)

Publication Number Publication Date
CN216852887U true CN216852887U (en) 2022-06-28

Family

ID=82110710

Family Applications (1)

Application Number Title Priority Date Filing Date
CN202123259902.1U Active CN216852887U (en) 2021-12-23 2021-12-23 Protective box for comprehensive wiring system

Country Status (1)

Country Link
CN (1) CN216852887U (en)

Cited By (1)

* Cited by examiner, † Cited by third party
Publication number Priority date Publication date Assignee Title
CN115441329A (en) * 2022-08-19 2022-12-06 国网甘肃省电力公司电力科学研究院 Protective equipment for AC/DC power distribution system

Cited By (1)

* Cited by examiner, † Cited by third party
Publication number Priority date Publication date Assignee Title
CN115441329A (en) * 2022-08-19 2022-12-06 国网甘肃省电力公司电力科学研究院 Protective equipment for AC/DC power distribution system

Similar Documents

Publication Publication Date Title
CN112214081A (en) High-efficient radiating computer machine case
CN216852887U (en) Protective box for comprehensive wiring system
CN210073940U (en) New energy automobile battery box
CN215379466U (en) Protective device for computer protection
CN215119663U (en) A shock attenuation heat dissipation electric power cabinet for electric power engineering
CN209928335U (en) Anticollision computer housing
CN211605241U (en) Battery box for new energy battery
CN113811161A (en) Integrated control cabinet with anti-damage function for computer integrated system
CN213543796U (en) Online monitoring system for state of ocean platform equipment
CN212011840U (en) Shock attenuation electric power cabinet that can effectively dispel heat
CN214044400U (en) Outdoor shockproof, moistureproof, wind and sand prevention environment-friendly distribution box
CN112235979A (en) Use method of portable network equipment box
CN215872206U (en) Computer function external integrator
CN211580513U (en) PLC assembly cabinet
CN213457144U (en) Automatic cable tester
CN213070878U (en) Outdoor transformer protective cover with noise reduction structure
CN211046106U (en) An electrical automation intelligent low-voltage distribution box
CN214999092U (en) A protective housing device for unmanned teaching aid of robot
CN215045491U (en) A safety protection box for communication electronic components for seismic stations
CN222858749U (en) Laminating machine external protection shell with multiple operation windows
CN215773793U (en) VR device with prevent falling function
CN218432445U (en) PLC circuit board conveyor
CN218783426U (en) Electric protection device
CN213028889U (en) Movable network cabinet
CN215642564U (en) Network safety protection device for computer server

Legal Events

Date Code Title Description
GR01 Patent grant
GR01 Patent grant
PE01 Entry into force of the registration of the contract for pledge of patent right
PE01 Entry into force of the registration of the contract for pledge of patent right

Denomination of utility model: A protective box for a structured cabling system

Granted publication date: 20220628

Pledgee: China Construction Bank Corporation Nanjing Qinhuai sub branch

Pledgor: Nanjing Jiyi Electronic Technology Co.,Ltd.

Registration number: Y2025980036185

PC01 Cancellation of the registration of the contract for pledge of patent right
PC01 Cancellation of the registration of the contract for pledge of patent right

Granted publication date: 20220628

Pledgee: China Construction Bank Corporation Nanjing Qinhuai sub branch

Pledgor: Nanjing Jiyi Electronic Technology Co.,Ltd.

Registration number: Y2025980036185