CN216756725U - Assembly type noise-reduction green aggregate production line - Google Patents
Assembly type noise-reduction green aggregate production line Download PDFInfo
- Publication number
- CN216756725U CN216756725U CN202220253565.0U CN202220253565U CN216756725U CN 216756725 U CN216756725 U CN 216756725U CN 202220253565 U CN202220253565 U CN 202220253565U CN 216756725 U CN216756725 U CN 216756725U
- Authority
- CN
- China
- Prior art keywords
- dust
- belt
- double
- aggregate
- production line
- Prior art date
- Legal status (The legal status is an assumption and is not a legal conclusion. Google has not performed a legal analysis and makes no representation as to the accuracy of the status listed.)
- Active
Links
- 238000004519 manufacturing process Methods 0.000 title claims abstract description 35
- 239000000428 dust Substances 0.000 claims abstract description 132
- 238000007493 shaping process Methods 0.000 claims abstract description 38
- 239000000463 material Substances 0.000 claims abstract description 29
- 239000002893 slag Substances 0.000 claims abstract description 17
- 238000012216 screening Methods 0.000 claims abstract description 14
- 239000002689 soil Substances 0.000 claims description 18
- 239000000843 powder Substances 0.000 claims description 17
- 238000003860 storage Methods 0.000 claims description 17
- 238000009423 ventilation Methods 0.000 claims description 15
- 238000012546 transfer Methods 0.000 claims description 11
- 230000001629 suppression Effects 0.000 claims description 10
- 239000006260 foam Substances 0.000 claims description 5
- 238000013461 design Methods 0.000 claims description 2
- 238000009434 installation Methods 0.000 abstract description 3
- 238000012545 processing Methods 0.000 abstract description 2
- 238000000034 method Methods 0.000 description 7
- 238000004140 cleaning Methods 0.000 description 3
- 238000011161 development Methods 0.000 description 3
- 238000010586 diagram Methods 0.000 description 3
- 239000004576 sand Substances 0.000 description 3
- 230000000903 blocking effect Effects 0.000 description 2
- 238000007599 discharging Methods 0.000 description 2
- 230000007613 environmental effect Effects 0.000 description 2
- 238000001914 filtration Methods 0.000 description 2
- 238000005065 mining Methods 0.000 description 2
- 238000012986 modification Methods 0.000 description 2
- 230000004048 modification Effects 0.000 description 2
- 238000011001 backwashing Methods 0.000 description 1
- 230000009286 beneficial effect Effects 0.000 description 1
- 238000007664 blowing Methods 0.000 description 1
- 210000000988 bone and bone Anatomy 0.000 description 1
- 238000010276 construction Methods 0.000 description 1
- 230000007547 defect Effects 0.000 description 1
- 230000000694 effects Effects 0.000 description 1
- 238000003912 environmental pollution Methods 0.000 description 1
- 230000005284 excitation Effects 0.000 description 1
- 239000012774 insulation material Substances 0.000 description 1
- 230000007774 longterm Effects 0.000 description 1
- 239000002245 particle Substances 0.000 description 1
- 230000000737 periodic effect Effects 0.000 description 1
- 238000004080 punching Methods 0.000 description 1
- 239000002994 raw material Substances 0.000 description 1
- 238000004064 recycling Methods 0.000 description 1
- 238000000926 separation method Methods 0.000 description 1
- 239000004575 stone Substances 0.000 description 1
Images
Landscapes
- Combined Means For Separation Of Solids (AREA)
Abstract
本实用新型公开了一种装配式降噪型绿色骨料生产线,包括振动给料机、重锤式破碎机、第一双激振振动筛、骨料整形机和第二双激振振动筛,所述振动给料机安装在基坑的内部,所述振动给料机的输出端一侧设置有重锤式破碎机,所述重锤式破碎机的输出端连接有破碎物料传送带一端,所述骨料整形机的下方设置有骨料出料带的一端,所述骨料出料带的另一端伸出基坑连接有第二双激振振动筛,所述渣土输出带的上方安装有降尘盒。该装配式降噪型绿色骨料生产线,通过各个骨料处理筛分装置通过传送带装配在一起的方式,使得整条生产线可以根据地形进行优化设计,即使在一些较为崎岖的地面也可以高效稳定的安装和使用骨料生产线。
The utility model discloses an assembled noise reduction type green aggregate production line, which comprises a vibrating feeder, a heavy hammer crusher, a first double-excited vibrating screen, an aggregate shaping machine and a second double-excited vibrating screen. The vibrating feeder is installed inside the foundation pit, a heavy hammer crusher is arranged on one side of the output end of the vibrating feeder, and the output end of the heavy hammer crusher is connected with one end of the crushed material conveyor belt. The bottom of the aggregate shaping machine is provided with one end of the aggregate discharge belt, the other end of the aggregate discharge belt extends out of the foundation pit and is connected with a second double-excited vibrating screen, and the top of the slag output belt is installed There is a dust box. This prefabricated noise reduction green aggregate production line, through the assembly of each aggregate processing and screening device through a conveyor belt, enables the entire production line to be optimally designed according to the terrain, and can be efficiently and stably even on some rough ground. Installation and use of aggregate production lines.
Description
技术领域technical field
本实用新型涉及矿山行业技术领域,具体为一种装配式降噪型绿色骨料生产线。The utility model relates to the technical field of the mining industry, in particular to an assembled noise reduction type green aggregate production line.
背景技术Background technique
绿色环保砂石骨料生产线是矿山行业未来发展的大趋势,此类生产线也是目前砂石骨料生产企业由粗犷式发展转向环保节能化发展的一大方向,传统砂石骨料生产线是通过各个不同的装置分级将物料进行筛选和处理,但是这样的方式在实际生成过程中却存在一些缺陷,就比如:The green and environmentally friendly sand and gravel aggregate production line is the general trend of the future development of the mining industry. This type of production line is also a major direction for the current sand and gravel aggregate production enterprises to shift from rough development to environmental protection and energy-saving development. Traditional sand and gravel aggregate production lines are produced through various Different devices classify and process materials, but this method has some defects in the actual production process, such as:
1、现有的骨料生产线完全是各个装置独立进行运行,各装置之间骨料的运输都需要通过车辆进行运输和投放,受场地因素较大的干扰,在一些矿山等崎岖的地形中完全无法稳定的安装和使用;1. The existing aggregate production line is completely independent of each device, and the transportation of aggregate between each device needs to be transported and put in by vehicles. Due to the large interference of site factors, it is completely impossible in some rough terrains such as mines. Unable to install and use stably;
2、现有的骨料生产线在喂料和破碎时往往会产生较大的噪音,即使通过在场地四周安装隔音墙的方式,还是会对周围环境造成较大的造成污染,不符合当前行业中绿色环保的号召;2. Existing aggregate production lines tend to generate loud noise during feeding and crushing. Even by installing soundproof walls around the site, it will still cause greater pollution to the surrounding environment, which is not in line with current industry standards. The call for green environmental protection;
3、现有的骨料生产线在生产时会产生大量的灰尘,虽然配备了一些降尘的装置,但是在户外降尘装置的降尘效果并不是十分的理想,往往还是有着大量的灰尘飘散至周围的环境当中3. The existing aggregate production line will generate a lot of dust during production. Although it is equipped with some dust-reducing devices, the dust-reducing effect of the outdoor dust-reducing device is not very ideal, and a large amount of dust is often scattered to the surrounding environment. among
针对上述问题,急需在原有骨料生产线的基础上进行创新设计。In view of the above problems, it is urgent to carry out innovative design on the basis of the original aggregate production line.
发明内容SUMMARY OF THE INVENTION
本实用新型的目的在于提供一种装配式降噪型绿色骨料生产线,以解决上述背景技术中提出的安装环境受限以及噪音和灰尘严重污染环境的问题。The purpose of the present utility model is to provide a prefabricated noise reduction type green aggregate production line to solve the problems of limited installation environment and serious environmental pollution by noise and dust proposed in the above-mentioned background art.
为实现上述目的,本实用新型提供如下技术方案:一种装配式降噪型绿色骨料生产线,包括振动给料机、重锤式破碎机、第一双激振振动筛、骨料整形机和第二双激振振动筛,所述振动给料机安装在基坑的内部,所述振动给料机的输出端一侧设置有重锤式破碎机,所述重锤式破碎机的输出端连接有破碎物料传送带一端,所述破碎物料传送带的另一端伸出基坑连接有第一双激振振动筛,所述振动给料机的一侧设置有渣土传送带,所述渣土传送带的下端连接有渣土中转带,所述渣土中转带的下端连接有渣土输出带的一端,所述第一双激振振动筛的一侧安装有除土振动筛,所述渣土输出带的一端穿过除土振动筛的下方,所述除土振动筛的输出端连接有整形传送带,所述整形传送带的末端连接有骨料整形机,所述骨料整形机的下方设置有骨料出料带的一端,所述骨料出料带的另一端伸出基坑连接有第二双激振振动筛,所述渣土输出带的上方安装有降尘盒。In order to achieve the above purpose, the utility model provides the following technical solutions: an assembled noise reduction type green aggregate production line, comprising a vibrating feeder, a heavy hammer crusher, the first double-excited vibrating screen, an aggregate shaping machine and The second double-excited vibrating screen, the vibrating feeder is installed inside the foundation pit, the output end of the vibrating feeder is provided with a heavy hammer crusher, and the output end of the heavy hammer crusher is One end of the crushed material conveyor belt is connected, and the other end of the crushed material conveyor belt extends out of the foundation pit and is connected with a first double-excited vibrating screen. The lower end is connected with a muck transfer belt, the lower end of the muck transfer belt is connected with one end of a muck output belt, a soil removal vibrating screen is installed on one side of the first double-excited vibrating screen, and the muck output belt One end passes through the bottom of the soil removal vibrating screen, the output end of the soil removal vibrating screen is connected with a shaping conveyor belt, the end of the shaping conveyor belt is connected with an aggregate shaping machine, and the aggregate shaping machine is provided with aggregates below. One end of the discharge belt and the other end of the aggregate discharge belt extend out of the foundation pit to be connected with a second double-excited vibrating screen, and a dust box is installed above the slag output belt.
优选的,所述振动给料机、重锤式破碎机和骨料整形机均位于地面下方的基坑内,所述振动给料机、重锤式破碎机和骨料整形机所在基坑上表面被泡沫板所覆盖。Preferably, the vibrating feeder, the hammer crusher and the aggregate shaping machine are all located in the foundation pit below the ground, and the vibrating feeder, the hammer crusher and the aggregate shaping machine are located on the upper surface of the foundation pit Covered with foam board.
采用上述技术方案,使得泡沫板可以对基坑内的噪音进行遮挡和吸收,以降低施工时所产生的噪音强度。By adopting the above technical scheme, the foam board can shield and absorb the noise in the foundation pit, so as to reduce the noise intensity generated during construction.
优选的,所述第一双激振振动筛与振动给料机之间连接有回笼料传送带,所述第一双激振振动筛的下方设置有筛选输出带,所述筛选输出带的一端与除土振动筛的进料端相连接。Preferably, a return conveyor belt is connected between the first double-excited vibrating screen and the vibrating feeder, a screening output belt is arranged below the first double-excited vibrating screen, and one end of the screening output belt is connected to the The feed end of the soil removal vibrating screen is connected.
采用上述技术方案,使得第一双激振振动筛所筛选出的较大的骨料能够通过回笼料传送带再次传输至振动给料机处投入重锤式破碎机进行再次破碎。By adopting the above technical solution, the larger aggregates screened by the first double-excited vibrating screen can be re-transmitted to the vibrating feeder through the return conveyor belt and put into the heavy hammer crusher for re-crushing.
优选的,所述降尘盒的下表面嵌入式安装有降尘风扇,所述降尘盒的内部安装有双头电机。Preferably, a dust-reducing fan is embedded in the lower surface of the dust-reducing box, and a double-head motor is installed inside the dust-reducing box.
采用上述技术方案,使得降尘风扇可以将含有灰尘的空气吸入降尘盒的内部。By adopting the above technical solution, the dust suppression fan can suck the air containing dust into the inside of the dust suppression box.
优选的,所述第二双激振振动筛的输出端分别连接有第一出料带、第二出料带、第三出料带和第四出料带,所述第四出料带的末端安装有选粉机,所述选粉机的输出端连接有第五出料带。Preferably, the output ends of the second double-excited vibrating screen are respectively connected with a first discharge belt, a second discharge belt, a third discharge belt and a fourth discharge belt, and the fourth discharge belt A powder separator is installed at the end, and the output end of the powder separator is connected with a fifth discharge belt.
采用上述技术方案,使得物料可以按照不同的颗粒大小通过第一出料带、第二出料带、第三出料带和第四出料带传送至不同的物料存储位置,同时利用选粉机对最细的物料通过风选工艺进行选粉。By adopting the above technical solution, the materials can be conveyed to different material storage locations through the first discharge belt, the second discharge belt, the third discharge belt and the fourth discharge belt according to different particle sizes, and the powder separator is used at the same time. The finest materials are selected by the air separation process.
优选的,所述双头电机的上端固定有通气板,所述通气板的外表面均匀开设有气孔,所述双头电机的下端固定有滤尘板,所述滤尘板的外表面均匀设置有滤网,所述气孔与滤网为同心设置。Preferably, a ventilation plate is fixed on the upper end of the double-head motor, air holes are evenly opened on the outer surface of the ventilation board, a dust filter plate is fixed on the lower end of the double-head motor, and the outer surface of the dust filter board is uniformly provided with a filter The air hole and the filter screen are arranged concentrically.
采用上述技术方案,使得滤网转动至储尘管处时,气孔可以通过储尘管向滤网处注入含有灰尘的空气进行过滤。With the above technical solution, when the filter screen is rotated to the dust storage pipe, the air holes can inject dust-containing air into the filter screen through the dust storage pipe for filtering.
优选的,所述降尘盒的内部开设有用于储存灰尘的储尘管,所述储尘管的上下端面分别与通气板和滤尘板的外表面相贴合。Preferably, a dust storage pipe for storing dust is opened inside the dust box, and the upper and lower end surfaces of the dust storage pipe are respectively attached to the outer surfaces of the ventilation plate and the dust filter plate.
采用上述技术方案,使得储尘管中的灰尘在通气板和滤尘板转动时不会外泄。By adopting the above technical solution, the dust in the dust storage pipe will not leak out when the ventilation plate and the dust filter plate are rotated.
优选的,所述降尘盒的内部开设有用于导出灰尘的出尘管,且出尘管的内侧表面被挡板所贯穿,并且出尘管的上端连接有反冲管,所述出尘管的下端为斜向渣土输出带设计,所述降尘盒的上表面被排气管所贯穿,所述挡板具有磁性,且挡板与降尘盒之间连接有弹簧,并且挡板与降尘盒为滑动连接。Preferably, a dust outlet pipe for exporting dust is opened inside the dust box, and the inner surface of the dust outlet pipe is penetrated by a baffle plate, and the upper end of the dust outlet pipe is connected with a recoil pipe. The lower end is designed as an inclined muck output belt, the upper surface of the dust box is penetrated by the exhaust pipe, the baffle is magnetic, and a spring is connected between the baffle and the dust box, and the baffle and the dust box are Slide to connect.
采用上述技术方案,使得出尘管中的灰尘在挡板上滑后可以漏至渣土输出带上被排出。By adopting the above technical solution, the dust in the dust discharge pipe can be discharged to the muck output belt after sliding on the baffle plate.
优选的,所述滤尘板的下表面固定有转盘,所述转盘的下表面嵌入式安装有磁铁,所述磁铁与挡板相向的一端磁极相反。Preferably, a turntable is fixed on the lower surface of the dust filter plate, and a magnet is embedded in the lower surface of the turntable, and the magnet has an opposite magnetic pole to the end of the baffle plate.
采用上述技术方案,使得转盘带动磁铁转动至2个挡板之间时,挡板可以在弹簧的带动下向降尘盒的内部滑动将灰尘让过。With the above technical solution, when the turntable drives the magnet to rotate between the two baffles, the baffles can slide to the inside of the dust box under the driving of the spring to let the dust pass.
优选的,所述排气管的下端面与滤尘板的上表面相贴合,所述反冲管的上端面与滤尘板的下表面相贴合,所述排气管的下端面圆心与反冲管的上端面圆心重合。Preferably, the lower end surface of the exhaust pipe is in contact with the upper surface of the dust filter plate, the upper end surface of the recoil pipe is in contact with the lower surface of the dust filter plate, and the center of the lower end surface of the exhaust pipe is in the opposite direction. The center of the upper end face of the punching pipe is coincident.
采用上述技术方案,使得反冲管与滤网重合时气流可以带动滤网上堵塞的灰尘通过排气管吹出,吹出的灰尘可以在降尘风扇的作用下再次被吸入降尘盒。With the above technical solution, when the recoil pipe is overlapped with the filter screen, the airflow can drive the dust blocked on the filter screen to be blown out through the exhaust pipe, and the blown dust can be sucked into the dust box again under the action of the dust reduction fan.
与现有技术相比,本实用新型的有益效果是:该装配式降噪型绿色骨料生产线:Compared with the prior art, the beneficial effects of the utility model are: the assembled noise reduction type green aggregate production line:
1.通过各个骨料处理筛分装置通过传送带装配在一起的方式,使得整条生产线可以根据地形进行优化设计,即使在一些较为崎岖的地面也可以高效稳定的安装和使用骨料生产线;1. By assembling each aggregate processing and screening device through a conveyor belt, the entire production line can be optimally designed according to the terrain, and the aggregate production line can be installed and used efficiently and stably even on some rough ground;
2.通过在基坑内部安装和使用噪声较大的振动给料机和重锤式破碎机,并在基坑上方覆盖隔音材料的方式,利用相对封闭的基坑解决了传统骨料生产线噪音大的问题,同时还利用基坑最大限度的提高了空间的利用率;2. By installing and using noisy vibrating feeders and heavy hammer crushers inside the foundation pit, and covering the sound insulation material above the foundation pit, the relatively closed foundation pit is used to solve the traditional aggregate production line noise. At the same time, it also uses the foundation pit to maximize the utilization of space;
3.通过降尘盒将基坑内部的灰尘吸入并进行过滤和收集的方式,使得基坑内部的灰尘能够通过出尘管排至渣土输出带的上表面,并最终在渣土输出带的输送下将灰尘集中排放至渣土收集处等待清理,从而实现了高效的降尘。3. The dust inside the foundation pit is inhaled, filtered and collected through the dust box, so that the dust inside the foundation pit can be discharged to the upper surface of the muck output belt through the dust outlet pipe, and finally conveyed in the muck output belt. The dust is concentrated and discharged to the muck collection place for cleaning, thereby achieving efficient dust reduction.
附图说明Description of drawings
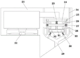
图1为本实用新型整体俯剖视结构示意图;Fig. 1 is the overall top sectional structure schematic diagram of the utility model;
图2为本实用新型振动给料机与重锤式破碎机连接俯视结构示意图;Fig. 2 is the top view structure schematic diagram of the connection between the vibrating feeder and the heavy hammer crusher of the present invention;
图3为本实用新型降尘盒与降尘风扇连接正剖视结构示意图;FIG. 3 is a schematic view of the front cross-sectional structure of the connection between the dust-reducing box and the dust-reducing fan of the present invention;
图4为本实用新型双头电机与通气板连接正剖视结构示意图;Figure 4 is a schematic diagram of the front cross-sectional structure of the connection between the double-headed motor and the ventilation plate of the present invention;
图5为本实用新型降尘盒与反冲管连接侧剖视结构示意图;Figure 5 is a schematic view of the cross-sectional structure of the connection side of the dust box and the recoil pipe of the present invention;
图6为本实用新型降尘盒与反冲管连接俯剖视结构示意图。FIG. 6 is a schematic view of the top cross-sectional structure of the connection between the dust box and the recoil pipe of the present invention.
图中:1、振动给料机;2、重锤式破碎机;3、破碎物料传送带;4、第一双激振振动筛;5、回笼料传送带;6、渣土传送带;7、渣土中转带;8、渣土输出带;9、筛选输出带;10、除土振动筛;11、整形传送带;12、骨料整形机;13、骨料出料带;14、第二双激振振动筛;15、第一出料带;16、第二出料带;17、第三出料带;18、第四出料带;19、选粉机;20、第五出料带;21、降尘盒;22、降尘风扇;23、双头电机;24、通气板;25、气孔;26、滤尘板;27、滤网;28、储尘管;29、出尘管;30、挡板;31、转盘;32、磁铁;33、反冲管;34、排气管。In the picture: 1. Vibrating feeder; 2. Heavy hammer crusher; 3. Crushing material conveyor belt; 4. The first double-vibrating vibrating screen; 5. Returning material conveyor belt; 6. Muck conveyor belt; Transfer belt; 8. Muck output belt; 9. Screening output belt; 10. Soil removal vibrating screen; 11. Shaping conveyor belt; 12. Aggregate shaping machine; 13. Aggregate discharge belt; 14. Second double excitation Vibrating screen; 15, the first discharge belt; 16, the second discharge belt; 17, the third discharge belt; 18, the fourth discharge belt; 19, the powder separator; 20, the fifth discharge belt; 21 , dust box; 22, dust fan; 23, double-head motor; 24, ventilation plate; 25, air hole; 26, dust filter plate; 27, filter screen; 28, dust storage pipe; 29, dust outlet pipe; 30, baffle ; 31, turntable; 32, magnet; 33, recoil pipe; 34, exhaust pipe.
具体实施方式Detailed ways
下面将结合本实用新型实施例中的附图,对本实用新型实施例中的技术方案进行清楚、完整地描述,显然,所描述的实施例仅仅是本实用新型一部分实施例,而不是全部的实施例。基于本实用新型中的实施例,本领域普通技术人员在没有做出创造性劳动前提下所获得的所有其他实施例,都属于本实用新型保护的范围。The technical solutions in the embodiments of the present utility model will be clearly and completely described below with reference to the accompanying drawings in the embodiments of the present utility model. Obviously, the described embodiments are only a part of the embodiments of the present utility model, rather than all the implementations. example. Based on the embodiments of the present invention, all other embodiments obtained by those of ordinary skill in the art without creative work fall within the protection scope of the present invention.
请参阅图1-6,本实用新型提供一种技术方案:一种装配式降噪型绿色骨料生产线,包括振动给料机1、重锤式破碎机2、破碎物料传送带3、第一双激振振动筛4、回笼料传送带5、渣土传送带6、渣土中转带7、渣土输出带8、筛选输出带9、除土振动筛10、整形传送带11、骨料整形机12、骨料出料带13、第二双激振振动筛14、第一出料带15、第二出料带16、第三出料带17、第四出料带18、选粉机19、第五出料带20、降尘盒21、降尘风扇22、双头电机23、通气板24、气孔25、滤尘板26、滤网27、储尘管28、出尘管29、挡板30、转盘31、磁铁32、反冲管33和排气管34,振动给料机1安装在基坑的内部,振动给料机1的输出端一侧设置有重锤式破碎机2,重锤式破碎机2的输出端连接有破碎物料传送带3一端,破碎物料传送带3的另一端伸出基坑连接有第一双激振振动筛4,振动给料机1、重锤式破碎机2和骨料整形机12均位于地面下方的基坑内,振动给料机1、重锤式破碎机2和骨料整形机12所在基坑上表面被泡沫板所覆盖,利用泡沫板覆盖安装有振动给料机1、重锤式破碎机2和骨料整形机12所在基坑的方式,使得基坑内部振动给料机1、重锤式破碎机2和骨料整形机12工作所产生的噪音可以被泡沫板所遮挡,以降低传出基坑的噪音大小。1-6, the present utility model provides a technical solution: an assembled noise reduction type green aggregate production line, including a vibrating feeder 1, a heavy hammer crusher 2, a crushed material conveyor belt 3, a first double Exciting vibrating screen 4, return conveyor belt 5, muck conveyor belt 6, muck transfer belt 7, muck output belt 8, screening output belt 9, soil removal vibrating screen 10, shaping conveyor belt 11, aggregate shaping machine 12, bone Material discharge belt 13, second double-excited vibrating screen 14, first discharge belt 15, second discharge belt 16, third discharge belt 17, fourth discharge belt 18, powder separator 19, fifth discharge belt Discharge belt 20, dust box 21, dust fan 22, double-head motor 23, ventilation plate 24, air holes 25, dust filter plate 26, filter screen 27, dust storage pipe 28, dust discharge pipe 29, baffle 30, turntable 31, The magnet 32, the recoil pipe 33 and the exhaust pipe 34, the vibrating feeder 1 is installed inside the foundation pit, the output end side of the vibrating feeder 1 is provided with a heavy hammer crusher 2, and the heavy hammer crusher 2 The output end is connected with one end of the crushed material conveyor belt 3, and the other end of the crushed material conveyor belt 3 extends out of the foundation pit and is connected with a first double-excited vibrating screen 4, a vibrating feeder 1, a heavy hammer crusher 2 and an aggregate shaping machine. 12 are located in the foundation pit below the ground. The upper surface of the foundation pit where the vibrating
如图1所示,振动给料机1的一侧设置有渣土传送带6,渣土传送带6的下端连接有渣土中转带7,渣土中转带7的下端连接有渣土输出带8的一端,第一双激振振动筛4的一侧安装有除土振动筛10,渣土输出带8的一端穿过除土振动筛10的下方,除土振动筛10的输出端连接有整形传送带11,整形传送带11的末端连接有骨料整形机12,骨料整形机12的下方设置有骨料出料带13的一端,骨料出料带13的另一端伸出基坑连接有第二双激振振动筛14,第一双激振振动筛4与振动给料机1之间连接有回笼料传送带5,第一双激振振动筛4的下方设置有筛选输出带9,筛选输出带9的一端与除土振动筛10的进料端相连接,通过回笼料传送带5将经过第一双激振振动筛4筛选后粉碎不完全的骨料再次传送至振动给料机1处投入重锤式破碎机2进行再次粉碎,振动给料机1的具体型号为GZD-4218,重锤式破碎机2的具体型号为ZPCS-2024,第一双激振振动筛4和第二双激振振动筛14的具体型号为3YK-2670,骨料整形机12的具体型号为PCL-1450,选粉机19的具体型号为N-3500。As shown in Fig. 1, one side of the vibrating
如图2-6所示,渣土输出带8的上方安装有降尘盒21,降尘盒21的下表面嵌入式安装有降尘风扇22,降尘盒21的内部安装有双头电机23,第二双激振振动筛14的输出端分别连接有第一出料带15、第二出料带16、第三出料带17和第四出料带18,第四出料带18的末端安装有选粉机19,选粉机19的输出端连接有第五出料带20,双头电机23的上端固定有通气板24,通气板24的外表面均匀开设有气孔25,双头电机23的下端固定有滤尘板26,滤尘板26的外表面均匀设置有滤网27,气孔25与滤网27为同心设置,降尘盒21的内部开设有用于储存灰尘的储尘管28,储尘管28的上下端面分别与通气板24和滤尘板26的外表面相贴合,降尘盒21的内部开设有用于导出灰尘的出尘管29,且出尘管29的内侧表面被挡板30所贯穿,并且出尘管29的上端连接有反冲管33,出尘管29的下端为斜向渣土输出带8设计,降尘盒21的上表面被排气管34所贯穿,挡板30具有磁性,且挡板30与降尘盒21之间连接有弹簧,并且挡板30与降尘盒21为滑动连接,滤尘板26的下表面固定有转盘31,转盘31的下表面嵌入式安装有磁铁32,磁铁32与挡板30相向的一端磁极相反,排气管34的下端面与滤尘板26的上表面相贴合,反冲管33的上端面与滤尘板26的下表面相贴合,排气管34的下端面圆心与反冲管33的上端面圆心重合,通过降尘盒21将基坑内部的灰尘吸入并进行过滤和收集的方式,使得基坑内部的灰尘能够通过出尘管29排至渣土输出带8的上表面,并最终在渣土输出带8的输送下将灰尘集中排放至渣土收集处等待清理,从而实现了高效的降尘,同时利用双头电机23同时带动通气板24和滤尘板26转动的方式,利用气孔25和滤网27与储尘管28和出尘管29的错位,完成对灰尘的过滤和排出,同时通过反冲管33和排气管34利用气流对滤网27进行反冲洗,以防止滤网27在长时间的使用过程中被灰尘堵塞。As shown in Figure 2-6, a
工作原理:在使用该装配式降噪型绿色骨料生产线时,首先根据地形将第一双激振振动筛4、除土振动筛10、第二双激振振动筛14和选粉机19分别安装在合适的位置,然后将振动给料机1、重锤式破碎机2和骨料整形机12安装在基坑的底部,此时在振动给料机1与第一双激振振动筛4之间安装回笼料传送带5,在振动给料机1的一侧安装渣土传送带6和渣土中转带7,然后在重锤式破碎机2的出料口安装破碎物料传送带3,破碎物料传送带3的另一端与第一双激振振动筛4的进料口连接,然后在渣土中转带7的输出端下方安装渣土输出带8的一端,将渣土输出带8的另一端穿过除土振动筛10的下方固定在地面,然后在第一双激振振动筛4与除土振动筛10之间安装筛选输出带9,在除土振动筛10与骨料整形机12之间安装整形传送带11,整形传送带11在骨料整形机12的输出端与第二双激振振动筛14的进料端之间安装骨料出料带13,然后在第二双激振振动筛14的输出端分别安装朝向不同的第一出料带15、第二出料带16、第三出料带17和第四出料带18,将第四出料带18的末端与选粉机19的输入端连接,在选粉机19的输出端安装第五出料带20,最后在基坑内安装降尘盒21并将出尘管29的出料口对准渣土输出带8,完成对骨料生产线的安装;Working principle: When using this prefabricated noise reduction type green aggregate production line, firstly, according to the terrain, separate the first double-excited vibrating screen 4, the soil-removing vibrating
使用时首先将大块原石从振动给料机1的进料口投入振动给料机1,由振动给料机1喂送至重锤式破碎机2进行破碎,破碎后的物料通过破碎物料传送带3运送至两台第一双激振振动筛4进行筛分,筛分出来的回笼料通过回笼料传送带5运送至重锤式破碎机2进行二次破碎,重锤式破碎机2破碎后的物料再次运送到第一双激振振动筛4,破碎过程中渣土通过渣土传送带6和渣土中转带7直接漏出并被传送至渣土输出带8上,此时除第一双激振振动筛4筛选下来的回笼料以外的其他物料通过筛选输出带9输送至除土振动筛10处进行渣土的筛选,筛选出来的渣土落在渣土输出带8上被传送走;When using, first put the large pieces of rough stone into the vibrating
物料通过整形传送带11运送至两台骨料整形机12进行整形处理,处理后的物料通过骨料出料带13运送至两台第二双激振振动筛14进行筛分,得到各种规格的成品料并通过第一出料带15、第二出料带16、第三出料带17和第四出料带18运送至成品料仓进行暂存,其中最为细密的原料产品从第四出料带18进入选粉机19,通过选粉机19增加风选工艺进行选粉,选粉完成后通过第五出料带20运送至成品料仓进行暂存;The materials are transported to the two
在振动给料机1、重锤式破碎机2和骨料整形机12工作过程中,首先启动降尘盒21内部的降尘风扇22和双头电机23,降尘风扇22转动将基坑内部含有大量灰尘的空气传送至通气板24处,当双头电机23通过通气板24带动气孔25转动至与储尘管28重合的位置时,此时空气经过滤尘板26上的滤网27过滤后排入出尘管29,而灰尘则在滤网27的阻挡下留在储尘管28的内部,而干净的空气在挡板30的阻挡下经过反冲管33对不与储尘管28重合的滤网27进行从下至上的反吹吗,使得滤网27上堵塞的少量灰尘能够在气流的带动下通过排气管34排出,一段时间后,双头电机23同时带动通气板24和滤尘板26转动,此时滤网27既不与储尘管28重合也不与反冲管33,而滤尘板26带动转动的转盘31上的磁铁32正好位于2个挡板30之间,挡板30失去磁铁32的排斥力在弹簧的带动下滑动并将灰尘漏至出尘管29的下端,出尘管29将灰尘漏至渣土输出带8上跟随渣土一起被排出,而由于出尘管29此时无空气流动,因此灰尘不会被气流吹散,随着双头电机23的再次工作,气孔25、滤网27和磁铁32通过周期性的转动实现对灰尘的过滤收集和对滤网27的反吹清理。During the working process of the vibrating
尽管已经示出和描述了本实用新型的实施例,对于本领域的普通技术人员而言,可以理解在不脱离本实用新型的原理和精神的情况下可以对这些实施例进行多种变化、修改、替换和变型,本实用新型的范围由所附权利要求及其等同物限定。Although the embodiments of the present invention have been shown and described, it will be understood by those skilled in the art that various changes and modifications can be made to these embodiments without departing from the principles and spirit of the present invention , alternatives and modifications, the scope of the present invention is defined by the appended claims and their equivalents.
Claims (10)
Priority Applications (1)
| Application Number | Priority Date | Filing Date | Title |
|---|---|---|---|
| CN202220253565.0U CN216756725U (en) | 2022-02-08 | 2022-02-08 | Assembly type noise-reduction green aggregate production line |
Applications Claiming Priority (1)
| Application Number | Priority Date | Filing Date | Title |
|---|---|---|---|
| CN202220253565.0U CN216756725U (en) | 2022-02-08 | 2022-02-08 | Assembly type noise-reduction green aggregate production line |
Publications (1)
| Publication Number | Publication Date |
|---|---|
| CN216756725U true CN216756725U (en) | 2022-06-17 |
Family
ID=81956438
Family Applications (1)
| Application Number | Title | Priority Date | Filing Date |
|---|---|---|---|
| CN202220253565.0U Active CN216756725U (en) | 2022-02-08 | 2022-02-08 | Assembly type noise-reduction green aggregate production line |
Country Status (1)
| Country | Link |
|---|---|
| CN (1) | CN216756725U (en) |
Cited By (1)
| Publication number | Priority date | Publication date | Assignee | Title |
|---|---|---|---|---|
| CN114345529A (en) * | 2022-02-08 | 2022-04-15 | 山东华锴重工机械有限公司 | Assembly type noise-reduction green aggregate production line |
-
2022
- 2022-02-08 CN CN202220253565.0U patent/CN216756725U/en active Active
Cited By (1)
| Publication number | Priority date | Publication date | Assignee | Title |
|---|---|---|---|---|
| CN114345529A (en) * | 2022-02-08 | 2022-04-15 | 山东华锴重工机械有限公司 | Assembly type noise-reduction green aggregate production line |
Similar Documents
| Publication | Publication Date | Title |
|---|---|---|
| KR100733631B1 (en) | Crushing construction waste and foreign substance removal device | |
| CN113578510B (en) | A production system for machine-made sand concrete | |
| CN107597383A (en) | A kind of building waste processing equipment | |
| CN112206865A (en) | A construction waste treatment device | |
| CN107030081A (en) | A kind of used by oscillating screen feeds dustproof dust-collecting equipment | |
| CN216756725U (en) | Assembly type noise-reduction green aggregate production line | |
| CN107127143A (en) | A kind of efficiently convenient filtrate screening machine | |
| CN219615634U (en) | An underground coal mine rock screening device | |
| CN116441168A (en) | A screening device and method provided with a cyclic wave structure | |
| CN214916967U (en) | Multi-stage crushing device for iron alloy production | |
| CN111346896B (en) | Movable simple slag classification production process | |
| CN114345529A (en) | Assembly type noise-reduction green aggregate production line | |
| CN220126808U (en) | Sand screening device for building waste regeneration machine | |
| CN220294803U (en) | A reject sorter for building dregs | |
| CN219850047U (en) | A crushing system for separation and treatment of construction waste | |
| CN111266150A (en) | Engineering construction waste treatment device with environment-friendly dust removal function and processing method thereof | |
| CN205599490U (en) | Barren rock powder sieve separator | |
| CN209255183U (en) | A kind of removable dust protected sand sieving machine | |
| CN212856641U (en) | Be applied to thermoelectric coal charge vibration screening device of clean high-efficient firepower | |
| CN115676441A (en) | Environment-friendly dust-free concrete aggregate preparation device | |
| CN113976285A (en) | Concrete waste recycling system for building | |
| CN210646794U (en) | Equipment for separating mud and sand of shield | |
| CN223454595U (en) | Building solid waste particle screening device | |
| CN223775015U (en) | Integrated dust-removing explosion-proof manual cleaning mud residue sand making device | |
| CN220780550U (en) | Steel slag treatment device for high-grade highway construction |
Legal Events
| Date | Code | Title | Description |
|---|---|---|---|
| GR01 | Patent grant | ||
| GR01 | Patent grant | ||
| PE01 | Entry into force of the registration of the contract for pledge of patent right | ||
| PE01 | Entry into force of the registration of the contract for pledge of patent right |
Denomination of utility model: A prefabricated noise reducing green aggregate production line Granted publication date: 20220617 Pledgee: Dongping Sub branch of Tai'an Bank Co.,Ltd. Pledgor: Shandong Huakai Heavy Industry Machinery Co.,Ltd. Registration number: Y2024980049131 |
