CN216702538U - Medical treatment detects uses sample case of keeping - Google Patents
Medical treatment detects uses sample case of keeping Download PDFInfo
- Publication number
- CN216702538U CN216702538U CN202123165954.2U CN202123165954U CN216702538U CN 216702538 U CN216702538 U CN 216702538U CN 202123165954 U CN202123165954 U CN 202123165954U CN 216702538 U CN216702538 U CN 216702538U
- Authority
- CN
- China
- Prior art keywords
- sample storage
- box body
- side wall
- wall
- test tube
- Prior art date
- Legal status (The legal status is an assumption and is not a legal conclusion. Google has not performed a legal analysis and makes no representation as to the accuracy of the status listed.)
- Expired - Fee Related
Links
- 238000012360 testing method Methods 0.000 claims abstract description 32
- 238000010339 medical test Methods 0.000 claims abstract description 11
- 238000005192 partition Methods 0.000 claims abstract description 5
- 239000008280 blood Substances 0.000 description 5
- 210000004369 blood Anatomy 0.000 description 5
- 230000009286 beneficial effect Effects 0.000 description 1
- 238000001514 detection method Methods 0.000 description 1
- 238000000034 method Methods 0.000 description 1
- 230000004048 modification Effects 0.000 description 1
- 238000012986 modification Methods 0.000 description 1
- 238000004321 preservation Methods 0.000 description 1
Images
Landscapes
- Sampling And Sample Adjustment (AREA)
Abstract
本实用新型公开了一种医疗检测用样品保存箱,包括箱体,所述箱体内壁开设有两个凹槽,两个所述凹槽内壁滑动连接有两个滑板,所述滑板上下端通过多个第一弹簧与凹槽内壁弹性连接,两个所述滑板相互靠近的侧壁固定连接有储样框,所述储样框底部固定连接有多个隔板,多个所述隔板将储样框内等分为多个放置室,所述放置室两侧内壁均固定连接有多个第二弹簧。本实用新型通过设置滑板、第一弹簧、第二弹簧和夹板,夹板在第二弹簧的作用下对试管夹紧,保证其稳定性,避免试管与储样框内壁碰撞,确保其保存安全性,同时在箱体输送时,此时第一弹簧和第二弹簧可以对箱体受到的震动进行缓冲,进一步保证试管的保存稳定性。
The utility model discloses a sample storage box for medical testing, comprising a box body, two grooves are formed on the inner wall of the box, two sliding plates are slidably connected to the inner walls of the two grooves, and the upper and lower ends of the sliding plates pass through A plurality of first springs are elastically connected with the inner wall of the groove, a sample storage frame is fixedly connected to the side walls of the two sliding plates that are close to each other, and a plurality of partitions are fixedly connected to the bottom of the sample storage frame. The sample storage frame is equally divided into a plurality of placement chambers, and the inner walls on both sides of the placement chamber are fixedly connected with a plurality of second springs. In the utility model, a slide plate, a first spring, a second spring and a splint are arranged, and the splint clamps the test tube under the action of the second spring to ensure its stability, avoid the collision between the test tube and the inner wall of the sample storage frame, and ensure its storage safety. At the same time, when the box body is transported, the first spring and the second spring can buffer the vibration of the box body at this time, so as to further ensure the storage stability of the test tube.
Description
技术领域technical field
本实用新型涉及医疗设备技术领域,尤其涉及一种医疗检测用样品保存箱。The utility model relates to the technical field of medical equipment, in particular to a sample storage box for medical testing.
背景技术Background technique
在医疗领域中,医护人员需要对患者的血液进行抽取化验,此时就需要保存箱对血液进行储存,目前都是将血液放在试管中再放入保存箱中,从而能够对血液进行防护、分类与携带等作用。In the medical field, medical staff need to draw and test the blood of patients. At this time, a storage box is required to store the blood. At present, the blood is placed in a test tube and then placed in a storage box, so as to protect the blood, Classification and carrying functions.
目前的保存箱在使用时无法对试管进行限位,无法保证试管在保存箱体内部不会发生碰撞,使得试管的保存安全性较低,同时在对试管放置需要取出时,需要操作人员对箱体内部进行拿取,操作不便。The current storage box cannot limit the position of the test tube during use, and cannot guarantee that the test tube will not collide inside the storage box, which makes the storage safety of the test tube low. It is inconvenient to take it from the inside of the body.
实用新型内容Utility model content
本实用新型的目的是为了解决现有技术中存在的缺点,而提出的一种医疗检测用样品保存箱。The purpose of the utility model is to propose a sample storage box for medical testing in order to solve the shortcomings existing in the prior art.
为了实现上述目的,本实用新型采用了如下技术方案:In order to achieve the above-mentioned purpose, the utility model adopts the following technical solutions:
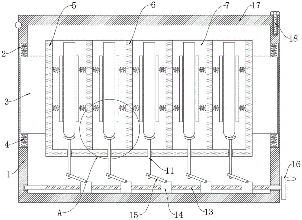
一种医疗检测用样品保存箱,包括箱体,所述箱体内壁开设有两个凹槽,两个所述凹槽内壁滑动连接有两个滑板,所述滑板上下端通过多个第一弹簧与凹槽内壁弹性连接,两个所述滑板相互靠近的侧壁固定连接有储样框,所述储样框底部固定连接有多个隔板,多个所述隔板将储样框内等分为多个放置室,所述放置室两侧内壁均固定连接有多个第二弹簧,多个所述第二弹簧远离放置室内壁的一端固定连接有夹板,所述放置室内设有试管,所述试管侧壁与夹板侧壁贴合,所述放置室内设有对试管支撑的支撑机构。A sample storage box for medical testing, comprising a box body, the inner wall of the box is provided with two grooves, the inner walls of the two grooves are slidably connected with two sliding plates, and the upper and lower ends of the sliding plates pass through a plurality of first springs It is elastically connected with the inner wall of the groove, the side walls of the two sliding plates that are close to each other are fixedly connected with a sample storage frame, and the bottom of the sample storage frame is fixedly connected with a plurality of baffles, and a plurality of the baffles are used to store the sample inside the frame, etc. It is divided into a plurality of placement chambers, the inner walls on both sides of the placement chamber are fixedly connected with a plurality of second springs, and one end of the plurality of second springs away from the inner wall of the placement chamber is fixedly connected with a splint, and the placement chamber is provided with a test tube, The side wall of the test tube is fitted with the side wall of the splint, and a support mechanism for supporting the test tube is provided in the placing chamber.
优选地,所述支撑机构包括滑动连接在放置室底部的竖杆,所述竖杆上端固定连接有弧形板,所述弧形板上表面与试管下表面贴合。Preferably, the support mechanism comprises a vertical rod slidably connected to the bottom of the placement chamber, an arc-shaped plate is fixedly connected to the upper end of the vertical rod, and the upper surface of the arc-shaped plate is in contact with the lower surface of the test tube.
优选地,所述箱体内设有驱动竖杆滑动的驱动机构,所述驱动机构包括转动连接在箱体内壁的丝杠,所述丝杠侧壁螺纹连接有多个滑块,多个所述滑块侧壁与箱体内壁滑动连接,所述滑块侧壁通过连接杆与竖杆侧壁转动连接。Preferably, a drive mechanism for driving the vertical rod to slide is provided in the box, the drive mechanism includes a lead screw rotatably connected to the inner wall of the box, and a plurality of sliding blocks are threadedly connected to the side wall of the lead screw, and a plurality of all The side wall of the sliding block is slidably connected with the inner wall of the box, and the side wall of the sliding block is rotatably connected with the side wall of the vertical rod through a connecting rod.
优选地,所述丝杠一端贯穿箱体侧壁并固定连接有手轮。Preferably, one end of the lead screw penetrates the side wall of the box body and is fixedly connected with a handwheel.
优选地,所述夹板侧壁胶合有橡胶垫,所述橡胶垫侧壁开设有防滑纹。Preferably, a rubber pad is glued to the side wall of the splint, and the rubber pad is provided with anti-skid lines.
优选地,所述箱体上端转动连接有箱盖,所述箱盖侧壁通过螺栓与箱体上端连接。Preferably, a box cover is rotatably connected to the upper end of the box body, and the side wall of the box cover is connected to the upper end of the box body through bolts.
本实用新型具有以下有益效果:The utility model has the following beneficial effects:
1、通过设置滑板、第一弹簧、第二弹簧和夹板,夹板在第二弹簧的作用下对试管夹紧,保证其稳定性,避免试管与储样框内壁碰撞,确保其保存安全性,同时在箱体输送时,此时第一弹簧和第二弹簧可以对箱体受到的震动进行缓冲,进一步保证试管的保存稳定性。1. By setting the slide plate, the first spring, the second spring and the splint, the splint clamps the test tube under the action of the second spring to ensure its stability, avoid the collision between the test tube and the inner wall of the sample storage frame, and ensure its storage safety. When the box body is transported, the first spring and the second spring can buffer the vibration of the box body at this time, so as to further ensure the storage stability of the test tube.
2、通过设置驱动机构、竖杆和弧形板,丝杠正向转动使得多个滑块向远离手轮的方向滑动,进而多个滑块通过多个连接杆带动多个竖杆上滑,进而带动多个弧形板上移,从而对位于多个放置室内的多个试管顶出,从而便于对其进行拿取,操作简单,实用性强。2. By setting the drive mechanism, the vertical rod and the arc-shaped plate, the forward rotation of the lead screw makes the plurality of sliding blocks slide in the direction away from the handwheel, and then the plurality of sliding blocks drive the plurality of vertical rods to slide upward through the plurality of connecting rods. Further, the plurality of arc-shaped plates are driven to move, so as to push out the plurality of test tubes located in the plurality of placement chambers, so as to facilitate the taking of them, the operation is simple, and the practicability is strong.
附图说明Description of drawings
图1为本实用新型提出的一种医疗检测用样品保存箱的结构示意图;Fig. 1 is the structural representation of a kind of medical detection sample storage box proposed by the utility model;
图2为图1中A处的结构放大示意图。FIG. 2 is an enlarged schematic view of the structure at A in FIG. 1 .
图中:1箱体、2凹槽、3滑板、4第一弹簧、5储样框、6隔板、7放置室、8第二弹簧、9夹板、10试管、11竖杆、12弧形板、13丝杠、14滑块、15连接杆、16手轮、17箱盖、18螺栓。In the picture: 1 box, 2 grooves, 3 slides, 4 first springs, 5 sample storage boxes, 6 partitions, 7 placement chambers, 8 second springs, 9 splints, 10 test tubes, 11 vertical rods, 12 arcs Plate, 13 lead screws, 14 sliders, 15 connecting rods, 16 handwheels, 17 box covers, 18 bolts.
具体实施方式Detailed ways
下面将结合本实用新型实施例中的附图,对本实用新型实施例中的技术方案进行清楚、完整地描述,显然,所描述的实施例仅仅是本实用新型一部分实施例,而不是全部的实施例。The technical solutions in the embodiments of the present utility model will be clearly and completely described below with reference to the accompanying drawings in the embodiments of the present utility model. Obviously, the described embodiments are only a part of the embodiments of the present utility model, rather than all the implementations. example.
在本实用新型的描述中,需要理解的是,术语“上”、“下”、“前”、“后”、“左”、“右”、“顶”、“底”、“内”、“外”等指示的方位或位置关系为基于附图所示的方位或位置关系,仅是为了便于描述本实用新型和简化描述,而不是指示或暗示所指的装置或元件必须具有特定的方位、以特定的方位构造和操作,因此不能理解为对本实用新型的限制。In the description of the present invention, it should be understood that the terms "upper", "lower", "front", "rear", "left", "right", "top", "bottom", "inside", The orientation or positional relationship indicated by "outside" is based on the orientation or positional relationship shown in the accompanying drawings, which is only for the convenience of describing the present invention and simplifying the description, rather than indicating or implying that the indicated device or element must have a specific orientation , are constructed and operated in a specific orientation, and therefore should not be construed as a limitation of the present invention.
参照图1-2,一种医疗检测用样品保存箱,包括箱体1,箱体1内壁开设有两个凹槽2,两个凹槽2内壁滑动连接有两个滑板3,滑板3上下端通过多个第一弹簧4与凹槽2内壁弹性连接,两个滑板3相互靠近的侧壁固定连接有储样框5,储样框5底部固定连接有多个隔板6,多个隔板6将储样框5内等分为多个放置室7,放置室7两侧内壁均固定连接有多个第二弹簧8,多个第二弹簧8远离放置室7内壁的一端固定连接有夹板9,放置室7内设有试管10,试管10侧壁与夹板9侧壁贴合,夹板9侧壁胶合有橡胶垫,橡胶垫侧壁开设有防滑纹。1-2, a sample storage box for medical testing, including a box body 1, the inner wall of the box body 1 is provided with two
放置室7内设有对试管10支撑的支撑机构,支撑机构包括滑动连接在放置室7底部的竖杆11,竖杆11上端固定连接有弧形板12,弧形板12上表面与试管10下表面贴合。The
箱体1内设有驱动竖杆11滑动的驱动机构,驱动机构包括转动连接在箱体1内壁的丝杠13,丝杠13侧壁螺纹连接有多个滑块14,多个滑块14侧壁与箱体1内壁滑动连接,滑块14侧壁通过连接杆15与竖杆11侧壁转动连接,丝杠13一端贯穿箱体1侧壁并固定连接有手轮16。The box body 1 is provided with a driving mechanism for driving the
箱体1上端转动连接有箱盖17,箱盖17侧壁通过螺栓18与箱体1上端连接,便于对箱体1进行打开和封闭。A box cover 17 is rotatably connected to the upper end of the box body 1 , and the side wall of the box cover 17 is connected to the upper end of the box body 1 through
本实用新型中,转动螺栓18,随后向上转动箱盖17,进而对箱体1打开,在试管10中含有血液后,此时将试管10放置在位于放置室7内两个夹板9之间,进而两个夹板9在多个第二弹簧8的作用下对试管10夹紧,确保其保存安全性,随后向下转动箱盖17,进而在螺栓18的作用下对箱体1进行封闭,在箱体1输送过程中时,此时第一弹簧4和第二弹簧8可以对箱体1受到的震动进行缓冲,进一步保证试管10的保存安全性;In the present invention, the
在需要对位于多个放置室7内的多个试管10取出时,此时正向转动手轮16,进而带动丝杠13正向转动,进而多个滑块14向远离手轮16的方向滑动,进而多个滑块14通过多个连接杆15带动多个竖杆11上滑,进而带动多个弧形板12上移,从而对位于多个放置室7内的多个试管10顶出,从而便于对其进行拿取。When
以上所述,仅为本实用新型较佳的具体实施方式,但本实用新型的保护范围并不局限于此,任何熟悉本技术领域的技术人员在本实用新型揭露的技术范围内,根据本实用新型的技术方案及其实用新型构思加以等同替换或改变,都应涵盖在本实用新型的保护范围之内。The above descriptions are only the preferred specific embodiments of the present invention, but the protection scope of the present invention is not limited to this. Equivalent replacement or modification of the new technical solution and its utility model concept shall be included within the protection scope of the present utility model.
Claims (6)
Priority Applications (1)
| Application Number | Priority Date | Filing Date | Title |
|---|---|---|---|
| CN202123165954.2U CN216702538U (en) | 2021-12-16 | 2021-12-16 | Medical treatment detects uses sample case of keeping |
Applications Claiming Priority (1)
| Application Number | Priority Date | Filing Date | Title |
|---|---|---|---|
| CN202123165954.2U CN216702538U (en) | 2021-12-16 | 2021-12-16 | Medical treatment detects uses sample case of keeping |
Publications (1)
| Publication Number | Publication Date |
|---|---|
| CN216702538U true CN216702538U (en) | 2022-06-10 |
Family
ID=81884906
Family Applications (1)
| Application Number | Title | Priority Date | Filing Date |
|---|---|---|---|
| CN202123165954.2U Expired - Fee Related CN216702538U (en) | 2021-12-16 | 2021-12-16 | Medical treatment detects uses sample case of keeping |
Country Status (1)
| Country | Link |
|---|---|
| CN (1) | CN216702538U (en) |
Cited By (2)
| Publication number | Priority date | Publication date | Assignee | Title |
|---|---|---|---|---|
| CN116081104A (en) * | 2023-01-12 | 2023-05-09 | 青岛海尔生物医疗科技有限公司 | Picking device |
| CN116280706A (en) * | 2023-01-12 | 2023-06-23 | 青岛海尔生物医疗科技有限公司 | Tube picking device |
-
2021
- 2021-12-16 CN CN202123165954.2U patent/CN216702538U/en not_active Expired - Fee Related
Cited By (4)
| Publication number | Priority date | Publication date | Assignee | Title |
|---|---|---|---|---|
| CN116081104A (en) * | 2023-01-12 | 2023-05-09 | 青岛海尔生物医疗科技有限公司 | Picking device |
| CN116280706A (en) * | 2023-01-12 | 2023-06-23 | 青岛海尔生物医疗科技有限公司 | Tube picking device |
| CN116280706B (en) * | 2023-01-12 | 2025-09-05 | 青岛海尔生物医疗科技有限公司 | Pipe lifting device |
| CN116081104B (en) * | 2023-01-12 | 2025-09-05 | 青岛海尔生物医疗科技有限公司 | Pipe lifting device |
Similar Documents
| Publication | Publication Date | Title |
|---|---|---|
| CN216702538U (en) | Medical treatment detects uses sample case of keeping | |
| CN113353437B (en) | Endocrinology sample storage device | |
| CN209968463U (en) | Test tube holds device | |
| CN216354566U (en) | Fixing support for storage battery module | |
| CN217120346U (en) | Fixing device of lipoma sample | |
| CN216734408U (en) | A blood sample transport device | |
| CN215128592U (en) | Portable pulmonary function test instrument | |
| CN211491389U (en) | Mechanical equipment maintenance device | |
| CN116371507A (en) | A chemical experiment teaching instrument | |
| CN210761949U (en) | Biological sample DNA extraction kit | |
| CN220221773U (en) | A protective device for plasma detection equipment | |
| CN217163901U (en) | A teaching toolbox for training | |
| CN210329121U (en) | Nephrosis is with portable's tissue case of keeping | |
| CN206980778U (en) | The small-sized Measuring flask support of laboratory adjustment height | |
| CN220949394U (en) | Sample liquid storage device for water quality detection | |
| CN216944126U (en) | Food inspection is with sample storage device | |
| CN222081228U (en) | A sampling auxiliary device for single cell mass spectrometry detection | |
| CN219354421U (en) | First aid kit for emergency care | |
| CN221268204U (en) | Blood strorage device | |
| CN221933975U (en) | A chemical test bench with a function of positioning and storing chemical instruments | |
| CN221785719U (en) | Environment detector rack | |
| CN218369031U (en) | Blood sample bottle storage device | |
| CN218369130U (en) | Hypersensitive C reactive protein assay kit | |
| CN221492519U (en) | A biological clean safety cabinet | |
| CN217363447U (en) | Motion control device of bionic robot |
Legal Events
| Date | Code | Title | Description |
|---|---|---|---|
| GR01 | Patent grant | ||
| GR01 | Patent grant | ||
| CF01 | Termination of patent right due to non-payment of annual fee | ||
| CF01 | Termination of patent right due to non-payment of annual fee |
Granted publication date: 20220610 |
