CN216626815U - Anthurium is cultivated and is used matrix loading device - Google Patents

Anthurium is cultivated and is used matrix loading device Download PDF

Info

Publication number
CN216626815U
CN216626815U CN202123214840.2U CN202123214840U CN216626815U CN 216626815 U CN216626815 U CN 216626815U CN 202123214840 U CN202123214840 U CN 202123214840U CN 216626815 U CN216626815 U CN 216626815U
Authority
CN
China
Prior art keywords
anthurium
bottom plate
screw rod
mounting seat
fixedly arranged
Prior art date
Legal status (The legal status is an assumption and is not a legal conclusion. Google has not performed a legal analysis and makes no representation as to the accuracy of the status listed.)
Expired - Fee Related
Application number
CN202123214840.2U
Other languages
Chinese (zh)
Inventor
阮仁建
Current Assignee (The listed assignees may be inaccurate. Google has not performed a legal analysis and makes no representation or warranty as to the accuracy of the list.)
Hefei Lvcun Horticulture Co ltd
Original Assignee
Hefei Lvcun Horticulture Co ltd
Priority date (The priority date is an assumption and is not a legal conclusion. Google has not performed a legal analysis and makes no representation as to the accuracy of the date listed.)
Filing date
Publication date
Application filed by Hefei Lvcun Horticulture Co ltd filed Critical Hefei Lvcun Horticulture Co ltd
Priority to CN202123214840.2U priority Critical patent/CN216626815U/en
Application granted granted Critical
Publication of CN216626815U publication Critical patent/CN216626815U/en
Expired - Fee Related legal-status Critical Current
Anticipated expiration legal-status Critical

Links

Images

Classifications

    • YGENERAL TAGGING OF NEW TECHNOLOGICAL DEVELOPMENTS; GENERAL TAGGING OF CROSS-SECTIONAL TECHNOLOGIES SPANNING OVER SEVERAL SECTIONS OF THE IPC; TECHNICAL SUBJECTS COVERED BY FORMER USPC CROSS-REFERENCE ART COLLECTIONS [XRACs] AND DIGESTS
    • Y02TECHNOLOGIES OR APPLICATIONS FOR MITIGATION OR ADAPTATION AGAINST CLIMATE CHANGE
    • Y02PCLIMATE CHANGE MITIGATION TECHNOLOGIES IN THE PRODUCTION OR PROCESSING OF GOODS
    • Y02P60/00Technologies relating to agriculture, livestock or agroalimentary industries
    • Y02P60/20Reduction of greenhouse gas [GHG] emissions in agriculture, e.g. CO2
    • Y02P60/21Dinitrogen oxide [N2O], e.g. using aquaponics, hydroponics or efficiency measures

Landscapes

  • Cultivation Receptacles Or Flower-Pots, Or Pots For Seedlings (AREA)

Abstract

本实用新型公开了一种红掌培育用基质装填装置,包括底板,所底板上端两侧均固定设置有支架,所述支架上端设置有传送带,所述底板上端在传送带两侧设置有装填结构,所述装填机构包括固定块、安装座、电动推杆、夹持块、侧板、第一伸缩杆、螺杆、储存箱,所述底板上端在传送带一侧固定设置有固定块,所述固定块上端固定设置有安装座,所述安装座内部固定设置有电动推杆,所述电动推杆的活动端固定设置有夹持块,所述夹持块上端固定设置有侧板,左侧所述侧板表面一侧通过轴承活动设置有第一伸缩杆,右侧所述侧板表面通过轴承活动设置有螺杆。本实用新型使用效果好,可以便于自动向培养杯内部填充基质,无需人工填充效率较高。

Figure 202123214840

The utility model discloses a substrate filling device for anthurium cultivation, which comprises a bottom plate, brackets are fixedly arranged on both sides of the upper end of the bottom plate, a conveyor belt is arranged on the upper end of the bracket, and a loading structure is arranged on both sides of the conveyor belt on the upper end of the bottom plate. The loading mechanism includes a fixed block, a mounting seat, an electric push rod, a clamping block, a side plate, a first telescopic rod, a screw rod, and a storage box. The upper end of the bottom plate is fixedly provided with a fixed block on one side of the conveyor belt. The upper end is fixedly provided with a mounting seat, the interior of the mounting seat is fixedly provided with an electric push rod, the movable end of the electric push rod is fixedly provided with a clamping block, the upper end of the clamping block is fixedly provided with a side plate, and the left side is fixed with a side plate. A first telescopic rod is movably arranged on one side of the side plate surface through a bearing, and a screw rod is movably arranged on the right side of the side plate surface through a bearing. The utility model has good use effect, can easily fill the matrix into the culture cup automatically, and has high efficiency without manual filling.

Figure 202123214840

Description

Anthurium is cultivated and is used matrix loading device
Technical Field
The utility model relates to the technical field of matrix filling devices, in particular to a matrix filling device for anthurium cultivation.
Background
Anthurium andraeanum is perennial evergreen herbaceous plant of anthurium of Araceae of Monocotyledonae, and has short stem node; leaves grow from the base, green, leathery, full-edged, oblong heart-shaped or egg heart-shaped, slender petioles, flat buds out, leathery with waxy luster, orange red or scarlet; the anthurium andraeanum has yellow inflorescence, can continuously bloom throughout the year, is originally produced in tropical rainforest areas such as costa rica and columbia, is often attached to trees, is sometimes attached to rocks or directly grows on the ground, is fond of warm, humid and semi-cloudy environments, and is forbidden to direct sunlight.
At present, before a large amount of anthurium seedlings are cultivated, the filling of the internal matrix of the cultivation cup is needed to provide a growth environment for the seedlings, and when the target is used for filling the internal matrix of the cultivation cup, the internal matrix of the cultivation cup is always filled manually, so that the work efficiency is low, and time and labor are wasted.
SUMMERY OF THE UTILITY MODEL
The present invention is directed to a substrate loading device for anthurium cultivation, which solves the above problems of the prior art.
In order to achieve the purpose, the utility model provides the following technical scheme: a substrate filling device for anthurium cultivation comprises a bottom plate, wherein supports are fixedly arranged on two sides of the upper end of the bottom plate, a conveying belt is arranged at the upper end of each support, filling structures are arranged on two sides of the conveying belt at the upper end of the bottom plate, each filling mechanism comprises a fixing block, a mounting seat, an electric push rod, a clamping block, a side plate, a first telescopic rod, a screw rod and a storage box, the fixing block is fixedly arranged at one side of the conveying belt at the upper end of the bottom plate, the mounting seat is fixedly arranged at the upper end of the fixing block, the electric push rod is fixedly arranged in the mounting seat, the clamping block is fixedly arranged at the movable end of the electric push rod, the side plate is fixedly arranged at the upper end of the clamping block, a first telescopic rod is movably arranged on one side of the surface of the side plate at the left side through a bearing, the screw rod is movably arranged on the surface of the side plate at the right side through a bearing, one end of the screw rod, which is close to the first telescopic rod, is fixedly connected with the first telescopic rod, the storage box is arranged at the upper end of the clamping block, and one side of the surface of the storage box is movably sleeved on the surface of the outer side of the screw rod through threads.
Preferably, the surface of the side plate is fixedly provided with a motor through a mounting seat, the output shaft end of the motor is in transmission connection with the screw rod through a coupler, and the screw rod can be conveniently driven to rotate through the motor.
Preferably, curb plate surface one side is fixed and is provided with the second telescopic link, the expansion end of second telescopic link is fixed and is provided with the slide bar, the movable sleeve of bin one side is established on slide bar outside surface, can improve the stability when bin removes through the slide bar.
Preferably, one side of the upper end of the conveying belt is provided with a culture cup, and the culture cup can be used for conveniently storing the matrix to culture and plant plants.
Preferably, the storage box lower extreme cavity, closely laminate between storage box outside surface lower extreme and the grip block surface, through hollow storage box, can make things convenient for the inside matrix of storage box to drop and fill inside the culture cup.
Preferably, the four corners of the upper end surface of the bottom plate are provided with mounting holes, and the device can be conveniently and fixedly mounted at a target position integrally through the mounting holes.
Compared with the prior art, the utility model has the beneficial effects that:
1. according to the utility model, the culture cup is conveyed to the position between the clamping blocks through the conveying belt, when the culture cup is conveyed to the target position between the clamping blocks, the electric push rod can be extended, so that the clamping blocks can be pushed to clamp the culture cup, the clamping blocks are tightly attached to the outer side surface of the culture cup, the screw rod can be driven by the motor to rotate, the storage box can be driven by the screw rod to move rightwards, the storage box moves from the left side of the culture cup to the right side of the culture cup, when the storage box moves to the upper end of the culture cup, the matrix stored in the storage box can automatically fall and be filled in the culture cup, so that the matrix can be automatically filled in the culture cup conveniently, and the manual filling efficiency is high.
2. When the substrate is added into the culture cup by the storage box, no redundant substrate is accumulated at the upper end of the culture cup, the redundant substrate can move along with the right of the storage box, and the substrate can be scraped off through the edge of the storage box, so that the redundant substrate overflowing the upper edge of the culture cup can be retained in the storage box, and no waste is caused.
Drawings
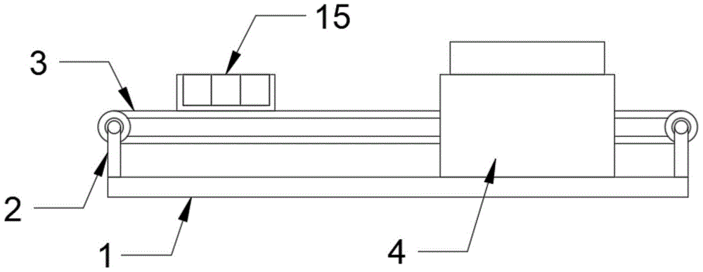
FIG. 1 is a schematic view of the overall structure of a substrate filling device for anthurium cultivation according to the present invention;
FIG. 2 is a side view of a loading mechanism of a substrate loading device for anthurium cultivation according to the present invention;
FIG. 3 is a plan view of a loading mechanism of a substrate loading device for anthurium cultivation according to the present invention.
In the figure: 1. a base plate; 2. a support; 3. a conveyor belt; 4. a fixed block; 5. a mounting seat; 6. an electric push rod; 7. a clamping block; 8. a side plate; 9. a first telescopic rod; 10. a screw; 11. a storage tank; 12. an electric motor; 13. a second telescopic rod; 14. a slide bar; 15. a culture cup.
Detailed Description
The technical solutions in the embodiments of the present invention will be clearly and completely described below with reference to the drawings in the embodiments of the present invention, and it is obvious that the described embodiments are only a part of the embodiments of the present invention, and not all of the embodiments. All other embodiments, which can be derived by a person skilled in the art from the embodiments given herein without making any creative effort, shall fall within the protection scope of the present invention.
Referring to fig. 1-3, the present invention provides a technical solution: a substrate filling device for anthurium cultivation comprises a bottom plate 1, wherein two sides of the upper end of the bottom plate 1 are fixedly provided with a support 2, the upper end of the support 2 is provided with a conveyor belt 3, the upper end of the bottom plate 1 is provided with filling structures on two sides of the conveyor belt 3, each filling mechanism comprises a fixed block 4, a mounting seat 5, an electric push rod 6, a clamping block 7, a side plate 8, a first telescopic rod 9, a screw rod 10 and a storage box 11, the fixed block 4 is fixedly arranged at one side of the conveyor belt 3 at the upper end of the bottom plate 1, the mounting seat 5 is fixedly arranged at the upper end of the fixed block 4, the electric push rod 6 is fixedly arranged in the mounting seat 5, the clamping block 7 is fixedly arranged at the movable end of the electric push rod 6, the side plate 8 is fixedly arranged at the upper end of the clamping block 7, the first telescopic rod 9 is movably arranged on one side of the surface of the side plate 8 at the left side through a bearing, the screw rod 10 is movably arranged on the surface of the side plate 8 through a bearing, the screw rod 10 is close to fixed connection between one end of first telescopic link 9 and the first telescopic link 9, grip block 7 upper end is provided with bin 11, bin 11 surface one side is established on the surface of screw rod 10 outside through screw thread movable sleeve.
The surface of the side plate 8 is fixedly provided with a motor 12 through a mounting seat 5, the output shaft end of the motor 12 is in transmission connection with the screw rod 10 through a coupler, and the screw rod 10 can be conveniently driven to rotate through the motor 12.
Curb plate 8 fixed second telescopic link 13 that is provided with in surface one side, the expansion end of second telescopic link 13 is fixed and is provided with slide bar 14, bin 11 one side activity cover is established on slide bar 14 outside surface, can improve the stability when bin 11 removes through slide bar 14.
The culture cup 15 is arranged on one side of the upper end of the conveyor belt 3, and the culture and planting of plants can be conveniently carried out on the storage matrix through the culture cup 15.
11 lower extremes of bin 11 are cavity, closely laminate between bin 11 outside surface lower extreme and the grip block 7 surface, through hollow bin 11, can make things convenient for the inside matrix of bin 11 to drop and fill inside culture cup 15.
Mounting holes are formed in four corners of the surface of the upper end of the bottom plate 1, and the device can be conveniently and fixedly mounted at a target position integrally through the mounting holes.
The working principle is as follows: when the device is used, the culture cup 15 can be conveyed to the position between the clamping blocks 7 through the conveyor belt 3, when the culture cup 15 is conveyed to the target position between the clamping blocks 7, the electric push rod 6 can be extended, so that the clamping blocks 7 can be pushed to clamp the culture cup 15, the clamping blocks 7 are tightly attached to the outer side surface of the culture cup 15, at the moment, the screw rod 10 can be driven by the motor 12 to rotate, the storage box 11 can be driven by the screw rod 10 to move rightwards, the culture cup 15 moves from the left side to the right side of the culture cup 15, when the storage box 11 moves to the upper end of the culture cup 15, the matrix stored in the storage box 11 can automatically fall and be filled in the culture cup 15, so that the matrix can be automatically filled in the culture cup 15, the manual filling efficiency is high, and when the storage box 11 adds the matrix into the culture cup 15, excessive matrixes are not accumulated at the upper end of the culture cup 15 and can move along with the storage box 11, the matrixes can be scraped by the edge of the storage box 11, and the excessive matrixes which overflow the upper edge of the culture cup 15 can be kept in the storage box 11 without waste, so that the working principle of the matrix filling device for anthurium andraeanum culture is realized.
It is noted that, herein, relational terms such as first and second, and the like may be used solely to distinguish one entity or action from another entity or action without necessarily requiring or implying any actual such relationship or order between such entities or actions. Also, the terms "comprises," "comprising," or any other variation thereof, are intended to cover a non-exclusive inclusion, such that a process, method, article, or apparatus that comprises a list of elements does not include only those elements but may include other elements not expressly listed or inherent to such process, method, article, or apparatus.
Although embodiments of the present invention have been shown and described, it will be appreciated by those skilled in the art that changes, modifications, substitutions and alterations can be made in these embodiments without departing from the principles and spirit of the utility model, the scope of which is defined in the appended claims and their equivalents.

Claims (6)

1. The utility model provides an anthurium is cultivated and is used matrix filling device, includes bottom plate (1), its characterized in that: the device is characterized in that supports (2) are fixedly arranged on two sides of the upper end of a bottom plate (1), a conveyor belt (3) is arranged on the upper end of the supports (2), a loading structure is arranged on two sides of the conveyor belt (3) on the upper end of the bottom plate (1) and comprises a fixed block (4), a mounting seat (5), an electric push rod (6), a clamping block (7), a side plate (8), a first telescopic rod (9), a screw rod (10) and a storage box (11), the fixed block (4) is fixedly arranged on one side of the conveyor belt (3) on the upper end of the bottom plate (1), the mounting seat (5) is fixedly arranged on the upper end of the fixed block (4), the electric push rod (6) is fixedly arranged inside the mounting seat (5), the clamping block (7) is fixedly arranged at the movable end of the electric push rod (6), the side plate (8) is fixedly arranged on the upper end of the clamping block (7), and the first telescopic rod (9) is movably arranged on one side of the surface of the side plate (8) through a bearing, right side curb plate (8) surface is provided with screw rod (10) through the bearing activity, fixed connection between one end that screw rod (10) are close to first telescopic link (9) and first telescopic link (9), grip block (7) upper end is provided with bin (11), bin (11) surface one side is established at screw rod (10) outside surface through screw thread movable sleeve.
2. The substrate loading device for anthurium cultivation according to claim 1, wherein: the surface of the side plate (8) is fixedly provided with a motor (12) through a mounting seat (5), and the output shaft end of the motor (12) is in transmission connection with the screw rod (10) through a coupler.
3. The substrate loading device for anthurium cultivation according to claim 1, wherein: curb plate (8) surface one side is fixed and is provided with second telescopic link (13), the expansion end of second telescopic link (13) is fixed and is provided with slide bar (14), bin (11) one side activity cover is established on slide bar (14) outside surface.
4. The substrate loading device for anthurium cultivation according to claim 1, wherein: and a culture cup (15) is arranged on one side of the upper end of the conveyor belt (3).
5. The substrate loading device for anthurium cultivation according to claim 1, wherein: the lower end of the storage box (11) is hollow, and the lower end of the outer side surface of the storage box (11) is tightly attached to the surface of the clamping block (7).
6. The substrate loading device for anthurium cultivation according to claim 1, wherein: the four corners of the upper end surface of the bottom plate (1) are provided with mounting holes.
CN202123214840.2U 2021-12-20 2021-12-20 Anthurium is cultivated and is used matrix loading device Expired - Fee Related CN216626815U (en)

Priority Applications (1)

Application Number Priority Date Filing Date Title
CN202123214840.2U CN216626815U (en) 2021-12-20 2021-12-20 Anthurium is cultivated and is used matrix loading device

Applications Claiming Priority (1)

Application Number Priority Date Filing Date Title
CN202123214840.2U CN216626815U (en) 2021-12-20 2021-12-20 Anthurium is cultivated and is used matrix loading device

Publications (1)

Publication Number Publication Date
CN216626815U true CN216626815U (en) 2022-05-31

Family

ID=81742927

Family Applications (1)

Application Number Title Priority Date Filing Date
CN202123214840.2U Expired - Fee Related CN216626815U (en) 2021-12-20 2021-12-20 Anthurium is cultivated and is used matrix loading device

Country Status (1)

Country Link
CN (1) CN216626815U (en)

Similar Documents

Publication Publication Date Title
CN204654412U (en) A kind of household plant plantation frame
CN112166763A (en) Gardens are with flowers cultivation basin separator
CN107787717A (en) A kind of production estimation device for raising seedlings
CN216626815U (en) Anthurium is cultivated and is used matrix loading device
CN104303887B (en) The easy demoulding seedling-cultivating tray of botanical seedling culturing
CN202145770U (en) Soil nutrient column former for culturing plant seedling
CN214853087U (en) Soil loading device for flower nutrition pot
CN217241943U (en) Remove and grow seedling bed morning and evening tides formula irrigation equipment
CN216087883U (en) Honeysuckle device of growing seedlings
CN208480362U (en) A kind of planting pot convenient for seedling taking
CN211241005U (en) Seed breeding that makes things convenient for follow-up clearance is with educating seedling tray
CN210695172U (en) Medicinal material equipment of growing seedlings convenient to adjust
CN210328687U (en) Seedling raising tray
CN208675902U (en) A kind of olive tree planting device for raising seedlings
CN206472547U (en) The flowerpot of adjustable moisture
CN218127908U (en) Flower stand device based on orchid planting usefulness
CN214853277U (en) Nutritive cube matrix partial shipment device
CN205902458U (en) On water have soil to cultivate device
CN213718931U (en) Seedling raising box for agricultural planting
CN207099873U (en) A kind of nursery base
CN206978321U (en) A kind of culture apparatus of indoor succulent
CN215992101U (en) A plant case for agricultural technology promotes
CN219628449U (en) Seedling raising tray with high germination rate
CN202145778U (en) Seedling raising tank
CN204047355U (en) The easy demoulding seedling-cultivating tray of botanical seedling culturing

Legal Events

Date Code Title Description
GR01 Patent grant
GR01 Patent grant
CF01 Termination of patent right due to non-payment of annual fee

Granted publication date: 20220531

CF01 Termination of patent right due to non-payment of annual fee