CN216623326U - An access control device with remote video unlocking - Google Patents

An access control device with remote video unlocking Download PDF

Info

Publication number
CN216623326U
CN216623326U CN202122429908.2U CN202122429908U CN216623326U CN 216623326 U CN216623326 U CN 216623326U CN 202122429908 U CN202122429908 U CN 202122429908U CN 216623326 U CN216623326 U CN 216623326U
Authority
CN
China
Prior art keywords
control box
door
lock
screwed connection
lock body
Prior art date
Legal status (The legal status is an assumption and is not a legal conclusion. Google has not performed a legal analysis and makes no representation as to the accuracy of the status listed.)
Expired - Fee Related
Application number
CN202122429908.2U
Other languages
Chinese (zh)
Inventor
李响
屈哲
任明刚
Current Assignee (The listed assignees may be inaccurate. Google has not performed a legal analysis and makes no representation or warranty as to the accuracy of the list.)
Hunan Yunlian Zhilian Technology Co ltd
Original Assignee
Hunan Yunlian Zhilian Technology Co ltd
Priority date (The priority date is an assumption and is not a legal conclusion. Google has not performed a legal analysis and makes no representation as to the accuracy of the date listed.)
Filing date
Publication date
Application filed by Hunan Yunlian Zhilian Technology Co ltd filed Critical Hunan Yunlian Zhilian Technology Co ltd
Priority to CN202122429908.2U priority Critical patent/CN216623326U/en
Application granted granted Critical
Publication of CN216623326U publication Critical patent/CN216623326U/en
Expired - Fee Related legal-status Critical Current
Anticipated expiration legal-status Critical

Links

Images

Landscapes

  • Lock And Its Accessories (AREA)

Abstract

本实用新型公开了一种具备远程视频开锁的门禁装置,包括门板,门板的一侧设有固定槽,所述门板的一侧转动连接有门框,所述固定槽中通过螺丝连接有智能门禁锁,所述智能门禁锁的一侧通过螺丝连接有控制箱,所述控制箱的一侧顶部通过螺丝连接有摄像头,所述控制箱的一侧通过螺丝连接有显示屏。该种具备远程视频开锁的门禁装置,摄像头可以使屋主在远程通过移动终端判断需要开门着是谁,进而控制锁芯电机开门,摄像头和红外传感器可以辨别屋主设计的特殊手势,以及麦克风识别屋主的特殊口令,且可以通过扬声器在屋主离开时播放天气预报等信息。

Figure 202122429908

The utility model discloses an access control device with remote video unlocking, comprising a door panel, one side of the door panel is provided with a fixing groove, one side of the door panel is rotatably connected with a door frame, and an intelligent access control lock is connected to the fixing groove by screws , a control box is connected to one side of the smart access lock by screws, a camera is connected to the top of one side of the control box by screws, and a display screen is connected to one side of the control box by screws. This kind of access control device with remote video unlocking. The camera can enable the homeowner to remotely judge who needs to open the door through the mobile terminal, and then control the lock cylinder motor to open the door. The camera and infrared sensor can identify the special gesture designed by the homeowner, and the microphone recognizes The homeowner's special password, and information such as the weather forecast can be played through the speaker when the homeowner is away.

Figure 202122429908

Description

Entrance guard's device that possesses long-range video and unblank
Technical Field
The utility model relates to the technical field of access control devices and control systems thereof, in particular to an access control device with remote video unlocking.
Background
An access control system is in the field of intelligent buildings. The forbidden authority of the door is the guard and precaution of the door. The "door" herein, in a broad sense, includes various passages that can pass, including a door through which people pass, a door through which vehicles pass, and the like. What is essential in an access control system is an access control device.
However, the operation process of the remote video unlocking of the existing access control device is complex, and the function of the access control device is single. Therefore, the entrance guard device with the remote video unlocking function is improved.
SUMMERY OF THE UTILITY MODEL
In order to solve the technical problems, the utility model provides the following technical scheme:
the utility model discloses an entrance guard device with a remote video unlocking function, which comprises a door plate, wherein one side of the door plate is provided with a fixed groove, one side of the door plate is rotatably connected with a door frame, the fixed groove is connected with an intelligent entrance guard lock through a screw, one side of the intelligent entrance guard lock is connected with a control box through a screw, the top of one side of the control box is connected with a camera through a screw, one side of the control box is connected with a display screen through a screw, one side of the control box is connected with a key through a screw, and the bottom of one side of the control box is connected with a fingerprint input machine through a screw.
As a preferable technical scheme of the utility model, two sides of the control box are slidably connected with protective covers, one side of the intelligent access control lock is welded with a lock body, and one side of the lock body is rotatably connected with a handle.
According to a preferable technical scheme, the bottom of the inner side of the control box is connected with a protective cover motor through a screw, one side of the inner part of the lock body is connected with a lock cylinder motor through a screw, an SD card is embedded in the bottom of the control box, an infrared sensor is embedded in the top of one side of the lock body, a microphone is embedded in the bottom of one side of the lock body, and a loudspeaker is connected to one side of the lock body through a screw.
The utility model discloses a control system with a remote video unlocking access control device, which comprises a main control chip, wherein the main control chip is connected with a signal transmission module through signals, the main control chip is connected with an interaction module through signals, the main control chip is electrically connected with a peripheral module, the main control chip is electrically connected with a data storage module, and the main control chip is electrically connected with a power supply module.
As a preferred technical solution of the present invention, the signal transmission module is connected with a 5G network module through a signal, the signal transmission module is connected with a WIFI network module through a signal, the signal transmission module is connected with a whole-house intelligent system through a signal, the signal transmission module is connected with an instruction processing module through a signal, and the 5G network module, the WIFI network module and the whole-house intelligent system are all connected with a mobile terminal through a wireless signal.
As a preferred technical solution of the present invention, the interaction module is provided with a gesture control unit, a voice control unit and a voice prompt unit, the gesture control unit is electrically connected to a gesture detection sensor, the gesture detection sensor is electrically connected to the infrared sensor, the voice control unit is electrically connected to a voice receiving sensor, the voice receiving sensor is electrically connected to the microphone, and the voice prompt unit is electrically connected to the speaker.
As a preferred technical solution of the present invention, the peripheral module is electrically connected to the display screen, the button, the fingerprint input device, the protective cover motor and the lock cylinder motor, and the data storage module is electrically connected to the camera and the SD card.
The utility model has the beneficial effects that:
1. according to the door control device with the remote video unlocking function, a door owner can remotely judge who needs to open a door through the mobile terminal by arranging the camera and the signal transmission module, and the door is opened by controlling the lock cylinder motor through the mobile terminal;
2. the entrance guard device with the remote video unlocking function can distinguish the special gesture designed by a householder and the special password of the householder by arranging the interaction module, so that the device is convenient for the householder to use;
3. this kind of entrance guard's device that possesses long-range video and unblank through setting up model transmission module to and its whole room intelligent system through signal connection, can be through the speaker to information such as its broadcast weather forecast when house owner leaves.
Drawings
The accompanying drawings, which are included to provide a further understanding of the utility model and are incorporated in and constitute a part of this specification, illustrate embodiments of the utility model and together with the description serve to explain the principles of the utility model and not to limit the utility model. In the drawings:
fig. 1 is an overall schematic view of an access control device with remote video unlocking according to the present invention;
FIG. 2 is a schematic view of an integrated split door access device with remote video unlocking according to the present invention;
fig. 3 is a schematic view illustrating the disassembly of an access lock of an access control device with remote video unlocking according to the present invention;
fig. 4 is a schematic diagram of a control system of an access control device with remote video unlocking according to the present invention.
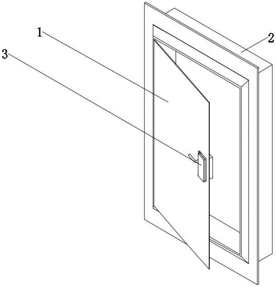
In the figure: 1. a door panel; 101. fixing grooves; 2. a door frame; 3. an access lock; 301. a control box; 302. a camera; 303. a display screen; 304. pressing a key; 305. a fingerprint input machine; 306. A protective cover; 307. a lock body; 308. a handle; 309. a protective cover motor; 310. a lock cylinder motor; 311. an SD card; 312. an infrared sensor; 313. a microphone; 314. a speaker; 4. a main control chip; 5. a signal transmission module; 501. a 5G network module; 502. a WIFI network module; 503. a whole-house intelligent system; 504. an instruction processing module; 6. an interaction module; 601. A gesture control unit; 6011. a gesture detection sensor; 602. a voice control unit; 6021. A voice receiving sensor; 603. a voice prompt unit; 7. a peripheral module; 8. a data storage module; 9. a power supply module; 10. a mobile terminal.
Detailed Description
The preferred embodiments of the present invention will be described in conjunction with the accompanying drawings, and it will be understood that they are described herein for the purpose of illustration and explanation and not limitation.
Example (b): as shown in fig. 1 to 4, the door control device with remote video unlocking according to the present invention includes a door panel 1, a fixing groove 101 is provided on one side of the door panel 1, a door frame 2 is rotatably connected to one side of the door panel 1, an intelligent door lock 3 is connected to the fixing groove 101 through a screw, a control box 301 is connected to one side of the intelligent door lock 3 through a screw, a camera 302 is connected to the top of one side of the control box 301 through a screw, a display screen 303 is connected to one side of the control box 301 through a screw, a button 304 is connected to one side of the control box 301 through a screw, and a fingerprint input machine 305 is connected to the bottom of one side of the control box 301 through a screw.
Wherein, the both sides sliding connection of control box 301 has safety cover 306, and the welding of one side of intelligent entrance guard's lock 3 has lock body 307, and one side of lock body 307 is rotated and is connected with handle 308, is equipped with anti-skidding line on the handle 308, and the hand is smooth when preventing to use, and safety cover 306 can protect control box 301 can not receive external unexpected destruction when not using.
Wherein, there is protective cover motor 309 inboard bottom of control box 301 through screwed connection, there is lock core motor 310 inside one side of lock body 307 through screwed connection, there is SD card 311 bottom of control box 301 is inlayed, infrared sensor 312 is inlayed at one side top of lock body 307, microphone 313 is inlayed to one side bottom of lock body 307, there is speaker 314 one side of lock body 307 through screwed connection, protective cover motor 309 and protective cover 306 are the cooperation component, can drive protective cover 306 through protective cover motor 309 and remove.
The utility model discloses a control system with a remote video unlocking access control device, which comprises a main control chip 4, wherein the main control chip 4 is connected with a signal transmission module 5 through signals, the main control chip 4 is connected with an interaction module 6 through signals, the main control chip 4 is electrically connected with a peripheral module 7, the main control chip 4 is electrically connected with a data storage module 8, the main control chip 4 is electrically connected with a power module 9, and the signal transmission module 5, the interaction module 6, the peripheral module 7 and the data storage module 8 can normally work through the main control chip 4.
Wherein, signal transmission module 5 has 5G network module 501 through signal connection, signal transmission module 5 has WIFI network module 502 through signal connection, signal transmission module 5 has whole room intelligent system 503 through signal connection, signal transmission module 5 has instruction processing module 504 through signal connection, 5G network module 501, WIFI network module 502 and whole room intelligent system 503 all have mobile terminal 10 through wireless signal connection, whole room intelligent system 503 can in time provide necessary information for the householder.
Wherein, interactive module 6 is provided with gesture control unit 601, voice control unit 602 and voice prompt unit 603, gesture control unit 601 electric connection has gesture detection sensor 6011, gesture detection sensor 6011 electric connection has infrared sensor 312, voice control unit 602 electric connection has voice receiving sensor 6021, voice receiving sensor 6021 electric connection has microphone 313, voice prompt unit 603 electric connection has speaker 314, interactive module 6 can control access control system through gesture and pronunciation, make the operation simpler.
The peripheral module 7 is electrically connected with a display screen 303, a key 304, a fingerprint input machine 305, a protective cover motor 309 and a lock cylinder motor 310, the data storage module 8 is electrically connected with a camera 302 and an SD card 311, and the SD card 311 can store images when a door is opened, so that the life safety of a homeowner is improved.
The working principle is as follows: when the door access is required to be unlocked remotely by a householder, a signal is sent through the mobile terminal 10, the signal passes through the instruction processing module 504, the protective cover motor 309 can be opened, the protective cover 306 is opened, the camera 302 is opened at the moment, the camera 302 can transmit a scene in front of a door to the mobile terminal 10 through the signal transmission module 5, after the householder determines safety, an unlocking instruction is sent through the signal transmission module 5, the lock cylinder motor 310 starts to work at the moment, only the door is opened through the handle 308 at the moment, in addition, when the door access door is in normal use, a gesture signal of the householder is distinguished through the infrared sensor 312, information is transmitted to the main control chip 4 through the gesture control unit 601, or voice can be received through the microphone 313, voice is sent to the main control chip 4 through the voice control unit 602, the main control chip 4 then sends an instruction to the external module 7, the signal transmission module 5 and the data storage module 8, make it accomplish corresponding task, whole house intelligent system 503 also can be through the speaker 314 in the interactive module 6 with the weather information and other useful information that the owner of the house needs play out through signal transmission module 5 when the owner of the house leaves, make the owner of the house in time obtain information, the device and control system have solved the remote video of current access control device and have unblanked the operation process more complicated, and the access control device function is more single problem.
Finally, it should be noted that: in the description of the present invention, it should be noted that the terms "vertical", "upper", "lower", "horizontal", and the like indicate orientations or positional relationships based on those shown in the drawings, and are only for convenience of describing the present invention and simplifying the description, but do not indicate or imply that the referred device or element must have a specific orientation, be constructed in a specific orientation, and be operated, and thus, should not be construed as limiting the present invention.
In the description of the present invention, it should also be noted that, unless otherwise explicitly specified or limited, the terms "disposed," "mounted," "connected," and "connected" are to be construed broadly and may, for example, be fixedly connected, detachably connected, or integrally connected; can be mechanically or electrically connected; they may be connected directly or indirectly through intervening media, or they may be interconnected between two elements. The specific meanings of the above terms in the present invention can be understood by those skilled in the art according to specific situations.
Although the present invention has been described in detail with reference to the foregoing embodiments, it will be apparent to those skilled in the art that changes may be made in the embodiments and/or equivalents thereof without departing from the spirit and scope of the utility model. Any modification, equivalent replacement, or improvement made within the spirit and principle of the present invention should be included in the protection scope of the present invention.

Claims (3)

1. The utility model provides an entrance guard's device that possesses remote video and unblank, includes door plant (1), its characterized in that, one side of door plant (1) is equipped with fixed slot (101), one side of door plant (1) is rotated and is connected with door frame (2), there is intelligent entrance guard lock (3) through screwed connection in fixed slot (101), there is control box (301) one side of intelligent entrance guard lock (3) through screwed connection, there is camera (302) one side top of control box (301) through screwed connection, there is display screen (303) one side of control box (301) through screwed connection, there is button (304) one side of control box (301) through screwed connection, there is fingerprint to type machine (305) one side bottom of control box (301) through screwed connection.
2. The door control device with remote video unlocking according to claim 1, wherein a protective cover (306) is slidably connected to two sides of the control box (301), a lock body (307) is welded to one side of the intelligent door control lock (3), and a handle (308) is rotatably connected to one side of the lock body (307).
3. The entrance guard's device that possesses long-range video and unblank of claim 2, characterized in that, there is safety cover motor (309) the inboard bottom of control box (301) through screwed connection, there is lock core motor (310) the inside one side of lock body (307) through screwed connection, the bottom of control box (301) is inlayed and is had SD card (311), infrared sensor (312) are inlayed at one side top of lock body (307), microphone (313) are inlayed to one side bottom of lock body (307), there is speaker (314) one side of lock body (307) through screwed connection.
CN202122429908.2U 2021-10-09 2021-10-09 An access control device with remote video unlocking Expired - Fee Related CN216623326U (en)

Priority Applications (1)

Application Number Priority Date Filing Date Title
CN202122429908.2U CN216623326U (en) 2021-10-09 2021-10-09 An access control device with remote video unlocking

Applications Claiming Priority (1)

Application Number Priority Date Filing Date Title
CN202122429908.2U CN216623326U (en) 2021-10-09 2021-10-09 An access control device with remote video unlocking

Publications (1)

Publication Number Publication Date
CN216623326U true CN216623326U (en) 2022-05-27

Family

ID=81691173

Family Applications (1)

Application Number Title Priority Date Filing Date
CN202122429908.2U Expired - Fee Related CN216623326U (en) 2021-10-09 2021-10-09 An access control device with remote video unlocking

Country Status (1)

Country Link
CN (1) CN216623326U (en)

Similar Documents

Publication Publication Date Title
CN103280009B (en) Multifunctional entrance guard device
CN102074056B (en) Intelligent network burglar-proof door
CN203366408U (en) A multifunctional access control based on FPGA control chip function application
CN104933794B (en) A kind of intelligent lock system
CN104821030A (en) Gesture control type lockset
CN104835232B (en) A kind of acoustic control lockset
CN104240355A (en) Intelligent safety access control system
CN109040692A (en) A kind of intelligence perpetual calendar monitoring security system
CN104835231A (en) Face recognition lockset
CN216623326U (en) An access control device with remote video unlocking
CN202404669U (en) Remote intelligent door lock
CN105133954B (en) A kind of intelligent lock
CN204740645U (en) Acoustic control tool to lock
CN108564746A (en) A kind of gate inhibition's warning device based on smart home
CN210460402U (en) Domestic burglary-resisting door based on information interaction technique
CN104916025B (en) A kind of gating device
CN204614079U (en) A kind of gesture controls lockset
CN204614073U (en) A kind of Smart Home management lockset
CN104952232B (en) A kind of intelligence gate control method
CN104808506A (en) Data server for smart home
CN205750924U (en) Enterprise's entrance guard monitoring management system
CN204650627U (en) A kind of route lockset
CN206961274U (en) A kind of household burglary-resisting system
CN104933786A (en) Smart home management lock
CN104867079A (en) Household medical server

Legal Events

Date Code Title Description
GR01 Patent grant
GR01 Patent grant
CF01 Termination of patent right due to non-payment of annual fee

Granted publication date: 20220527

CF01 Termination of patent right due to non-payment of annual fee