CN216395613U - A mobile bag filter for industrial glue production - Google Patents

A mobile bag filter for industrial glue production Download PDF

Info

Publication number
CN216395613U
CN216395613U CN202122662124.4U CN202122662124U CN216395613U CN 216395613 U CN216395613 U CN 216395613U CN 202122662124 U CN202122662124 U CN 202122662124U CN 216395613 U CN216395613 U CN 216395613U
Authority
CN
China
Prior art keywords
main body
tank main
dust
dust removal
removal tank
Prior art date
Legal status (The legal status is an assumption and is not a legal conclusion. Google has not performed a legal analysis and makes no representation as to the accuracy of the status listed.)
Expired - Fee Related
Application number
CN202122662124.4U
Other languages
Chinese (zh)
Inventor
常发伟
赵燕
Current Assignee (The listed assignees may be inaccurate. Google has not performed a legal analysis and makes no representation or warranty as to the accuracy of the list.)
Yantai Hailitai Adhesive Material Co ltd
Original Assignee
Yantai Hailitai Adhesive Material Co ltd
Priority date (The priority date is an assumption and is not a legal conclusion. Google has not performed a legal analysis and makes no representation as to the accuracy of the date listed.)
Filing date
Publication date
Application filed by Yantai Hailitai Adhesive Material Co ltd filed Critical Yantai Hailitai Adhesive Material Co ltd
Priority to CN202122662124.4U priority Critical patent/CN216395613U/en
Application granted granted Critical
Publication of CN216395613U publication Critical patent/CN216395613U/en
Expired - Fee Related legal-status Critical Current
Anticipated expiration legal-status Critical

Links

Images

Landscapes

  • Filtering Of Dispersed Particles In Gases (AREA)

Abstract

本实用新型公开了一种用于工业胶水生产的移动布袋除尘器,包括除尘罐主体,所述除尘罐主体底部的四角位置处皆安装有支撑脚,且支撑脚的底端固定有万向轮,所述除尘罐主体底部的中间位置处连通有排液管,且除尘罐主体外壁一侧的底部连通有进液管。本实用新型通过第二锥齿与第一锥齿的啮合连接,蜗杆与对应蜗轮的啮合连接,使得电机带动往复丝杆转动时,多组搅拌杆可以随之转动,从而对除尘罐主体内部底部的液体进行搅拌,使得落在液体上的灰尘迅速与液体混合,从而避免其容易扬起造成除尘袋主体很容易被堵塞影响过滤效果,且可以对第一过滤板的外表面不断进行刮刷,从而可以保证第一过滤板的畅通。

Figure 202122662124

The utility model discloses a mobile bag filter for industrial glue production, which comprises a main body of a dust removal tank. Supporting feet are installed at the four corners of the bottom of the main body of the dust removal tank, and universal wheels are fixed at the bottom ends of the supporting feet. The middle position of the bottom of the main body of the dust removal tank is connected with a liquid discharge pipe, and the bottom of one side of the outer wall of the main body of the dust removal tank is connected with a liquid inlet pipe. The utility model uses the meshing connection between the second bevel tooth and the first bevel tooth, and the meshing connection between the worm and the corresponding worm wheel, so that when the motor drives the reciprocating screw to rotate, a plurality of groups of stirring rods can rotate along with it, so that the bottom of the main body of the dust removal tank can be cleaned. The liquid is stirred, so that the dust falling on the liquid is quickly mixed with the liquid, so as to prevent the dust bag from being easily raised and the main body of the dust bag being easily blocked and affecting the filtering effect, and the outer surface of the first filter plate can be continuously scraped and brushed. Thus, the smooth flow of the first filter plate can be ensured.

Figure 202122662124

Description

A remove sack cleaner for production of industry glue
Technical Field
The utility model relates to the technical field of dust removal equipment, in particular to a movable bag-type dust remover for industrial glue production.
Background
The industrial glue is one of glues, and compared with ordinary glue, the industrial glue has the characteristics of strong viscosity, low production cost and the like, and in the production process of the industrial glue, the cleanliness of a workshop is very important, excessive impurities or dust enter the raw materials to directly influence the quality of a final product, so that the environment of the workshop needs to be subjected to dust removal treatment frequently, and the bag-type dust remover is one of the glue which is commonly used.
The bottom of the existing bag-type dust collector for industrial glue production is generally provided with a conical dust collecting hopper, but in the actual use process, after dust enters the conical dust collecting hopper, part of dust still raises in the whole equipment under the action of wind force, and then more dust is easily attached to the bag part, so that the continuous filtering capacity of the bag part is influenced.
SUMMERY OF THE UTILITY MODEL
The utility model aims to solve the defects in the prior art, and provides a movable bag-type dust collector for industrial glue production.
In order to achieve the purpose, the utility model adopts the following technical scheme:
a movable bag-type dust collector for industrial glue production comprises a dust collection tank main body, wherein supporting legs are arranged at four corners of the bottom of the dust collection tank main body, universal wheels are fixed at the bottom ends of the supporting legs, a liquid discharge pipe is communicated with the middle position of the bottom of the dust collection tank main body, a liquid inlet pipe is communicated with the bottom of one side of the outer wall of the dust collection tank main body, an air inlet pipe is communicated with the middle position of the outer wall of the dust collection tank main body, which is far away from the liquid inlet pipe, a first filter plate is arranged at one end of the air inlet pipe, which is far away from the dust collection tank main body, an air exhaust barrel is communicated with the middle position of the outer wall of the dust collection tank main body, which is close to one side of the liquid inlet pipe, a second filter plate is arranged at one end of the air exhaust barrel, a fan is arranged at the top of the outer wall of the dust collection tank main body, the input end of the fan is communicated with the air exhaust barrel, and a first mounting plate is arranged at the top of the inner side wall of the dust collection tank main body, and the bottom of the first mounting plate is uniformly penetrated with a dust removing bag main body, the dust removing tank main body on the first mounting plate is provided with a pipeline, the bottom of the outer wall of the pipeline is uniformly provided with a nozzle, the outer wall of the dust removing tank main body is close to the top of one side of an air inlet pipe and is provided with an electromagnetic pulse machine, the electromagnetic pulse machine is communicated with the pipeline, the bottom of the inner side wall of the dust removing tank main body is provided with a second mounting plate, the bottom of the second mounting plate is uniformly provided with a first mounting bin, the bottom inside the first mounting bin is penetrated with a stirring rod, the outer side of the stirring rod close to the top end is provided with a worm wheel, the bottom of the outer wall of the dust removing tank main body close to one side of the air inlet pipe is provided with a second mounting bin, the bottom of the second mounting bin is fixed with a motor, the output end of the motor is connected with a reciprocating lead screw, the reciprocating lead screw extends to the inside of the second mounting bin, the reciprocating lead screw is close to the outer side of the bottom end and is provided with a first conical tooth, the reciprocating screw rod is provided with a movable mechanism for scraping and brushing the first filter plate, and the second mounting bin is provided with a transmission mechanism for driving the stirring rod to rotate.
Preferably, the moving mechanism comprises a U-shaped plate sleeved outside the reciprocating screw rod, the U-shaped plate penetrates through the second mounting bin, and the scraping and brushing plate is mounted at the top of the U-shaped plate.
Preferably, the U-shaped plate is in threaded connection with the reciprocating screw rod, and the U-shaped plate is in sliding connection with the second mounting bin.
Preferably, drive mechanism is including setting up the pivot that is close to feed liquor pipe one side bottom in second installation storehouse inside, and the pivot runs through second installation storehouse and dust removal tank main part respectively and extends to the inside in first installation storehouse, the one end that the pivot is close to second installation storehouse is installed the second taper tooth, and the outside of pivot evenly installs the worm.
Preferably, the second conical tooth is perpendicular to the first conical tooth, and the second conical tooth is in meshed connection with the first conical tooth.
Preferably, the central axis of the worm is coincident with the central axis of the rotating shaft, and the worm is in meshed connection with the worm wheel.
Compared with the prior art, the utility model has the beneficial effects that:
1. through the meshing connection of second toper tooth and first awl tooth, the worm is connected with the meshing that corresponds the worm wheel for when the motor drives reciprocal lead screw and rotates, the multiunit puddler can rotate thereupon, thereby stirs the liquid of the inside bottom of dust removal tank main part, makes the dust that falls on liquid mix with liquid rapidly, thereby avoids it to raise easily and causes the dust removal bag main part to be blockked up very easily and influence the filter effect.
2. Through the threaded connection of U template and reciprocal lead screw, the sliding connection in U template and second installation storehouse for when the motor drove reciprocal lead screw and rotates, the U template can drive and scrape the brush board and constantly scrape the brush to the surface of first filter, thereby can guarantee the noncongestion of first filter, and then fully guarantee the long-term result of use of the device.
Drawings
FIG. 1 is a schematic sectional view of a mobile bag-type dust collector for industrial glue production according to the present invention;
FIG. 2 is an enlarged schematic view of FIG. 1 at A according to the present invention;
FIG. 3 is a schematic perspective view of a movable mechanism of a movable bag-type dust collector for industrial glue production according to the present invention;
fig. 4 is a schematic top cross-sectional structural view of a dust-removing tank main body of the movable bag-type dust remover for industrial glue production according to the present invention.
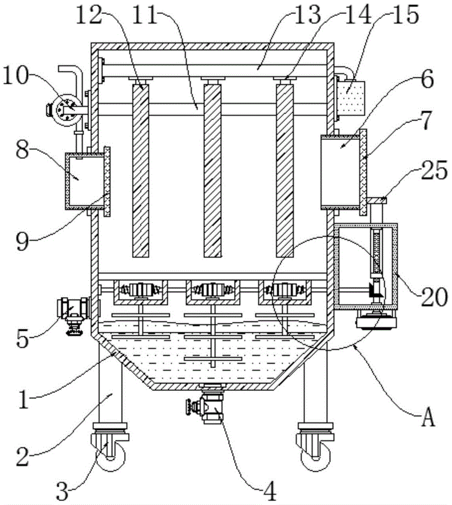
In the figure: the dust removal device comprises a dust removal tank body 1, supporting legs 2, universal wheels 3, a liquid discharge pipe 4, a liquid inlet pipe 5, an air inlet pipe 6, a first filter plate 7, an air exhaust pipe 8, a second filter plate 9, a fan 10, a first mounting plate 11, a dust removal bag body 12, a pipeline 13, a nozzle 14, an electromagnetic pulse machine 15, a second mounting plate 16, a first mounting bin 17, a stirring rod 18, a worm gear 19, a second mounting bin 20, a motor 21, a reciprocating screw rod 22, a first conical tooth 23, a 24U-shaped plate 25, a scraping and brushing plate 26, a rotating shaft 27, a second conical tooth 28.
Detailed Description
In order to make the aforementioned objects, features and advantages of the present invention comprehensible, embodiments accompanied with figures are described in detail below. In the following description, numerous specific details are set forth in order to provide a thorough understanding of the present invention. This invention may, however, be embodied in many different forms and should not be construed as limited to the embodiments set forth herein, but rather should be construed as broadly as the present invention is capable of modification in various respects, all without departing from the spirit and scope of the present invention.
It will be understood that when an element is referred to as being "secured to" another element, it can be directly on the other element or intervening elements may also be present. When an element is referred to as being "connected" to another element, it can be directly connected to the other element or intervening elements may also be present. The terms "vertical," "horizontal," "left," "right," and the like as used herein are for illustrative purposes only and do not represent the only embodiments.
Referring to fig. 1-4, a movable bag-type dust collector for industrial glue production comprises a dust collection tank main body 1, wherein supporting legs 2 are arranged at four corners of the bottom of the dust collection tank main body 1, universal wheels 3 are fixed at the bottom ends of the supporting legs 2, a liquid discharge pipe 4 is communicated with the middle position of the bottom of the dust collection tank main body 1, a liquid inlet pipe 5 is communicated with the bottom of one side of the outer wall of the dust collection tank main body 1, an air inlet pipe 6 is communicated with the middle position of one side of the outer wall of the dust collection tank main body 1, which is far away from the liquid inlet pipe 5, a first filter plate 7 is arranged at one end of the air inlet pipe 6, which is far away from the dust collection tank main body 1, an air exhaust barrel 8 is communicated with the middle position of one side of the outer wall of the dust collection tank main body 1, a second filter plate 9 is arranged at one end of the air exhaust barrel 8, a fan 10 is arranged at the top of one side of the outer wall of the dust collection tank main body 1, which is near the air exhaust barrel 8, the input end of a fan 10 is communicated with an exhaust duct 8, a first mounting plate 11 is arranged at the top of the inner side wall of a dust removing tank main body 1, a dust removing bag main body 12 is uniformly penetrated through the bottom of the first mounting plate 11, a pipeline 13 is arranged on the dust removing tank main body 1 on the first mounting plate 11, a nozzle 14 is uniformly arranged at the bottom of the outer wall of the pipeline 13, an electromagnetic pulse machine 15 is arranged at the top of the outer wall of the dust removing tank main body 1 close to one side of an air inlet pipe 6, the electromagnetic pulse machine 15 is communicated with the pipeline 13, a second mounting plate 16 is arranged at the bottom of the inner side wall of the dust removing tank main body 1, a first mounting bin 17 is uniformly arranged at the bottom of the second mounting plate 16, a stirring rod 18 is penetrated through the bottom inside the first mounting bin 17, a worm wheel 19 is arranged at the outer side of the stirring rod 18 close to the top end, a second mounting bin 20 is arranged at the bottom of the outer wall of the dust removing tank main body 1 close to one side of the air inlet pipe 6, and a motor 21 is fixed at the bottom of the second mounting bin 20, the output end of the motor 21 is connected with a reciprocating screw rod 22, the reciprocating screw rod 22 extends into the second mounting bin 20, the outer side, close to the bottom end, of the reciprocating screw rod 22 is provided with a first bevel gear 23, the reciprocating screw rod 22 is provided with a movable mechanism used for scraping and brushing the first filter plate 7, the movable mechanism comprises a U-shaped plate 24 sleeved on the outer side of the reciprocating screw rod 22, the U-shaped plate 24 penetrates through the second mounting bin 20, the scraping and brushing plate 25 is mounted at the top of the U-shaped plate 24, the U-shaped plate 24 is in threaded connection with the reciprocating screw rod 22, and the U-shaped plate 24 is in sliding connection with the second mounting bin 20, so that when the motor 21 drives the reciprocating screw rod 22 to rotate, the U-shaped plate 24 can drive the scraping and brushing plate 25 to continuously slide up and down in a reciprocating manner, further, the outer surface of the first filter plate 7 can be continuously scraped and brushed to ensure that the outer surface of the first filter plate 7 is in a smooth state;
the second mounting bin 20 is provided with a transmission mechanism for driving the stirring rod 18 to rotate, the transmission mechanism comprises a rotating shaft 26 which is arranged inside the second mounting bin 20 and close to the bottom of one side of the liquid inlet pipe 5, the rotating shaft 26 respectively penetrates through the second mounting bin 20 and the dedusting tank main body 1 and extends to the inside of the first mounting bin 17, one end of the rotating shaft 26, close to the second mounting bin 20, is provided with a second conical tooth 27, the outer side of the rotating shaft 26 is uniformly provided with a worm 28, the second conical tooth 27 is perpendicular to the first conical tooth 23, and the second conical tooth 27 is in meshed connection with the first conical tooth 23, so that when the motor 21 drives the reciprocating screw rod 22 to rotate, the rotating shaft 26 can continuously rotate along with the first conical tooth;
the central axis of worm 28 and the central axis of pivot 26 coincide each other, and worm 28 is connected for the meshing with worm wheel 19 for when pivot 26 rotated, multiunit puddler 18 can constantly rotate thereupon, and then constantly stir the liquid of the inside bottom of dust removal tank main part 1, makes the dust that drops to dust removal tank main part 1 bottom can mix with liquid rapidly, avoids it to fly upward again in dust removal tank main part 1 to influence subsequent processing effect.
When the utility model is used, as shown in figures 1-4, the device is moved to a designated position by the universal wheel 3 and is connected with a power supply, a proper amount of clean water is added into the interior of the dust removing tank main body 1 by the liquid inlet pipe 5, the fan 10 and the electromagnetic pulse machine 15 are started, so that outside air enters the interior of the dust removing tank main body 1 through the air inlet pipe 6 and is discharged through the output end of the fan 10 after dust removing treatment, the motor 21 is simultaneously started in the dust removing process, the motor 21 drives the reciprocating screw rod 22 to continuously rotate, the U-shaped plate 24 is connected with the reciprocating screw rod 22 through the screw thread of the U-shaped plate 24, the U-shaped plate 24 is connected with the second mounting bin 20 in a sliding way, so that the U-shaped plate 24 can drive the scraping and brushing plate 25 to continuously reciprocate up and down, thereby the outer surface of the first filter plate 7 can be continuously scraped and cleaned, the smooth state of the first filter plate 7 is ensured, and simultaneously, the U-shaped plate is connected with the first bevel gear 23 through the meshing of the second bevel gear 27, make pivot 26 constantly rotate thereupon, be connected with the meshing that corresponds worm wheel 19 through worm 28 for multiunit puddler 18 constantly rotates thereupon and stirs the liquid of the inside bottom of dust removal tank main part 1, makes the dust that drops in the inside bottom of dust removal tank main part 1 can mix with liquid rapidly, avoids it to raise once more easily and influences follow-up filter effect, and after the use was accomplished, open the valve on the fluid-discharge tube 4 with liquid and dust discharge can.
The above description is only for the preferred embodiment of the present invention, but the scope of the present invention is not limited thereto, and any person skilled in the art should be considered to be within the technical scope of the present invention, and equivalent alternatives or modifications according to the technical solution of the present invention and the inventive concept thereof should be covered by the scope of the present invention.

Claims (6)

1. A movable bag-type dust collector for industrial glue production comprises a dust collection tank main body (1) and is characterized in that supporting legs (2) are mounted at four corners of the bottom of the dust collection tank main body (1), universal wheels (3) are fixed at the bottom ends of the supporting legs (2), a liquid discharge pipe (4) is communicated with the middle position of the bottom of the dust collection tank main body (1), a liquid inlet pipe (5) is communicated with the bottom of one side of the outer wall of the dust collection tank main body (1), an air inlet pipe (6) is communicated with the middle position of one side, away from the liquid inlet pipe (5), of the outer wall of the dust collection tank main body (1), a first filter plate (7) is mounted at one end, away from the dust collection tank main body (1), of the air inlet pipe (5) is communicated with an air discharge pipe (8), and a second filter plate (9) is mounted at one end, close to the dust collection tank main body (1), of the air discharge pipe (8), the dust removal tank is characterized in that a fan (10) is installed at the top of the outer wall of the dust removal tank main body (1) close to one side of the exhaust duct (8), the input end of the fan (10) is communicated with the exhaust duct (8), a first mounting plate (11) is installed at the top of the inner side wall of the dust removal tank main body (1), a dust removal bag main body (12) is uniformly penetrated through the bottom of the first mounting plate (11), a pipeline (13) is installed on the dust removal tank main body (1) on the first mounting plate (11), a nozzle (14) is uniformly installed at the bottom of the outer wall of the pipeline (13), an electromagnetic pulse machine (15) is installed at the top of the outer wall of the dust removal tank main body (1) close to one side of the air inlet pipe (6), the electromagnetic pulse machine (15) is communicated with the pipeline (13), a second mounting plate (16) is installed at the bottom of the inner side wall of the dust removal tank main body (1), and a first mounting bin (17) is uniformly installed at the bottom of the second mounting plate (16), the utility model discloses a dust removal tank, including first installation storehouse (17), worm wheel (19) are installed near the outside on top to the inside bottom of first installation storehouse (17) through puddler (18), and puddler (18), the bottom that dust removal tank main part (1) outer wall is close to air-supply line (6) one side installs second installation storehouse (20), the bottom in second installation storehouse (20) is fixed with motor (21), and the output of motor (21) is connected with reciprocal lead screw (22) to reciprocal lead screw (22) extend to the inside in second installation storehouse (20), first awl tooth (23) are installed near the outside of bottom in reciprocal lead screw (22), be provided with on reciprocal lead screw (22) and be used for scraping the moving mechanism of brush to first filter (7), be provided with on second installation storehouse (20) and be used for driving puddler (18) pivoted drive mechanism.
2. The movable bag-type dust collector for industrial glue production is characterized in that the movable mechanism comprises a U-shaped plate (24) sleeved outside the reciprocating screw rod (22), the U-shaped plate (24) penetrates through the second mounting bin (20), and a scraping and brushing plate (25) is mounted at the top of the U-shaped plate (24).
3. The movable bag-type dust collector for industrial glue production is characterized in that the U-shaped plate (24) is in threaded connection with the reciprocating screw rod (22), and the U-shaped plate (24) is in sliding connection with the second mounting bin (20).
4. The movable bag-type dust collector for industrial glue production is characterized in that the transmission mechanism comprises a rotating shaft (26) which is arranged inside the second mounting bin (20) and close to the bottom of one side of the liquid inlet pipe (5), the rotating shaft (26) penetrates through the second mounting bin (20) and the dust collection tank body (1) respectively and extends to the inside of the first mounting bin (17), a second conical tooth (27) is installed at one end, close to the second mounting bin (20), of the rotating shaft (26), and a worm (28) is evenly installed on the outer side of the rotating shaft (26).
5. The movable bag-type dust collector for industrial glue production according to claim 4, wherein the second conical tooth (27) is perpendicular to the first conical tooth (23), and the second conical tooth (27) is engaged with the first conical tooth (23).
6. The movable bag-type dust collector for industrial glue production is characterized in that the central axis of the worm (28) and the central axis of the rotating shaft (26) are coincident with each other, and the worm (28) is in meshed connection with the worm wheel (19).
CN202122662124.4U 2021-10-29 2021-10-29 A mobile bag filter for industrial glue production Expired - Fee Related CN216395613U (en)

Priority Applications (1)

Application Number Priority Date Filing Date Title
CN202122662124.4U CN216395613U (en) 2021-10-29 2021-10-29 A mobile bag filter for industrial glue production

Applications Claiming Priority (1)

Application Number Priority Date Filing Date Title
CN202122662124.4U CN216395613U (en) 2021-10-29 2021-10-29 A mobile bag filter for industrial glue production

Publications (1)

Publication Number Publication Date
CN216395613U true CN216395613U (en) 2022-04-29

Family

ID=81298870

Family Applications (1)

Application Number Title Priority Date Filing Date
CN202122662124.4U Expired - Fee Related CN216395613U (en) 2021-10-29 2021-10-29 A mobile bag filter for industrial glue production

Country Status (1)

Country Link
CN (1) CN216395613U (en)

Similar Documents

Publication Publication Date Title
CN216935628U (en) A kind of compound water retention agent stirring and mixing device
CN219209152U (en) Filter equipment is used in gelatin processing
CN211221514U (en) A raw material mixing device for plastic brush wire processing
CN216395613U (en) A mobile bag filter for industrial glue production
CN211864693U (en) A new type of mixing device for glucosamine biological fertilizer processing
CN119794059A (en) A method and device for ecological restoration of multi-type soil
CN210905828U (en) A kind of powder food raw material mixing mixer
CN209613743U (en) A glass washing machine used for linear edging
CN219156555U (en) Multistage filtering device for treating industrial wastewater
CN117160082A (en) Can get rid of even machine of gluing of bubble
CN216321343U (en) An ink stirring and filtering device for easy cleaning
CN223458444U (en) A high-efficiency feather cleaning device
CN211864680U (en) A high-efficiency mixing device based on absorbent production
CN208809553U (en) A kind of impurity of lubricant separator
CN211100650U (en) Test tube cleaning device for biological reagent
CN220779961U (en) Premix device
CN222931420U (en) Diamond material washing equipment
CN216710353U (en) Paint raw material storage tank convenient to it is clean
CN216174631U (en) A cleaning device for processing medicinal materials
CN222035988U (en) Surface cleaning equipment for metal product processing
CN108342946B (en) Production method of dustproof highway asphalt concrete
CN222541147U (en) A fiber separation device for dust-free paper production
CN216499037U (en) Water paint grinds agitated vessel
CN216418457U (en) A cleaning and filtering equipment for powder coating production
CN220090635U (en) Dangerous waste liquid treatment device with good filtering effect

Legal Events

Date Code Title Description
GR01 Patent grant
GR01 Patent grant
CF01 Termination of patent right due to non-payment of annual fee

Granted publication date: 20220429

CF01 Termination of patent right due to non-payment of annual fee