CN216326681U - Cutting device is used in processing of electrically conductive reinforcement piece - Google Patents

Cutting device is used in processing of electrically conductive reinforcement piece Download PDF

Info

Publication number
CN216326681U
CN216326681U CN202122883167.5U CN202122883167U CN216326681U CN 216326681 U CN216326681 U CN 216326681U CN 202122883167 U CN202122883167 U CN 202122883167U CN 216326681 U CN216326681 U CN 216326681U
Authority
CN
China
Prior art keywords
reinforcing sheet
end surface
cutting device
cutting
workbench
Prior art date
Legal status (The legal status is an assumption and is not a legal conclusion. Google has not performed a legal analysis and makes no representation as to the accuracy of the status listed.)
Expired - Fee Related
Application number
CN202122883167.5U
Other languages
Chinese (zh)
Inventor
李会军
刘维纲
刘伟平
刘正峰
张银根
Current Assignee (The listed assignees may be inaccurate. Google has not performed a legal analysis and makes no representation or warranty as to the accuracy of the list.)
Dongguan Shubo Maite Seiko Industrial Co ltd
Original Assignee
Dongguan Shubo Maite Seiko Industrial Co ltd
Priority date (The priority date is an assumption and is not a legal conclusion. Google has not performed a legal analysis and makes no representation as to the accuracy of the date listed.)
Filing date
Publication date
Application filed by Dongguan Shubo Maite Seiko Industrial Co ltd filed Critical Dongguan Shubo Maite Seiko Industrial Co ltd
Priority to CN202122883167.5U priority Critical patent/CN216326681U/en
Application granted granted Critical
Publication of CN216326681U publication Critical patent/CN216326681U/en
Expired - Fee Related legal-status Critical Current
Anticipated expiration legal-status Critical

Links

Images

Landscapes

  • Details Of Cutting Devices (AREA)

Abstract

本实用新型公开了一种导电补强片加工用切割装置,包括工作台、物料台、安装座、升降式切割结构、送料结构、定位结构以及收料结构,所述工作台的底部设置有多个支撑腿,所述工作台的上端表面处开设有贯穿的落料口,所述物料台安装于工作台的上端表面处,且所述物料台的一侧与落料口平齐,所述物料台的上端表面处开设有延伸至一侧处的物料槽,所述物料槽中放置有长条形的补强片物料,所述安装座为L型。本实用新型在进行切割工作时,无需人工不断的对补强片物料进行调整位置,方便连续进行切割工作,省时省力,大大提高了工作效率,且方便快速集中收集切割后的物料,进一步的提高了整体工作效率,实用性较高。

Figure 202122883167

The utility model discloses a cutting device for processing a conductive reinforcing sheet, which comprises a worktable, a material table, a mounting seat, a lift-type cutting structure, a feeding structure, a positioning structure and a material receiving structure. The bottom of the worktable is provided with a plurality of There are support legs, the upper end surface of the worktable is provided with a blanking port, the material table is installed on the upper end surface of the worktable, and one side of the material table is flush with the blanking port. The upper end surface of the material table is provided with a material groove extending to one side, and a long-shaped reinforcing sheet material is placed in the material groove, and the mounting seat is L-shaped. During the cutting work, the utility model does not need to manually adjust the position of the material of the reinforcing sheet continuously, which facilitates the continuous cutting work, saves time and effort, greatly improves the work efficiency, and is convenient and quick to collect the cut materials in a centralized manner. The overall work efficiency is improved, and the practicability is high.

Figure 202122883167

Description

Cutting device is used in processing of electrically conductive reinforcement piece
Technical Field
The utility model relates to the field of cutting equipment, in particular to a cutting device for machining a conductive reinforcing sheet.
Background
Cutting equipment, as the name implies to be the mechanical equipment who cuts segmentation processing to the material, cutting equipment's range of application is very extensive, in the production and processing process of electrically conductive reinforcement piece, also need use cutting device to come to carry out segmentation cutting processing to the reinforcement piece material of rectangular shape.
However, the conventional cutting device for the conductive reinforcing sheet has the following disadvantages:
1. the reinforcing piece material that is not convenient for in succession carries out quick segmentation cutting to handle, and the position of the continuous adjustment reinforcing piece material of mostly needs the manual work to carry out multistage formula cutting to it and handle, waste time and energy, efficiency is lower.
2. The reinforcing piece material after the cutting is not convenient for carrying out quick concentrated material receiving treatment, and further the whole working efficiency is reduced.
SUMMERY OF THE UTILITY MODEL
The utility model aims to provide a cutting device for processing a conductive reinforcing sheet, and the cutting device is used for solving the problems that the traditional cutting device for the conductive reinforcing sheet is inconvenient to continuously and rapidly perform segmented cutting treatment on reinforcing sheet materials, most of the traditional cutting device for the conductive reinforcing sheet needs to manually and continuously adjust the positions of the reinforcing sheet materials, so that the traditional cutting device for the conductive reinforcing sheet is subjected to multi-segment cutting treatment, time and labor are wasted, the efficiency is low, rapid centralized material receiving treatment on the cut reinforcing sheet materials is inconvenient, and the overall working efficiency is further reduced.
In order to achieve the purpose, the utility model provides the following technical scheme: a cutting device for processing an electric conduction reinforcing sheet comprises a workbench, a material table, a mounting seat, a lifting type cutting structure, a feeding structure, a positioning structure and a receiving structure, wherein a plurality of supporting legs are arranged at the bottom of the workbench, a through blanking port is formed in the upper end surface of the workbench, the material table is mounted at the upper end surface of the workbench, one side of the material table is flush with the blanking port, a material groove extending to one side is formed in the upper end surface of the material table, a strip-shaped reinforcing sheet material is placed in the material groove, the mounting seat is L-shaped, the mounting seat is fixedly mounted at the upper end surface of the workbench, the lifting type cutting structure is mounted below an L-shaped turning surface of the mounting seat, the feeding structure is mounted at the upper end surface of the material table, and the position of the feeding structure is matched with the position of the material groove, the positioning structure is arranged at the feeding structure, the receiving structure is arranged at the bottom of the workbench, and the position of the receiving structure is matched with that of the blanking port.
Preferably, over-and-under type cutting structure includes pneumatic cylinder, first mounting bracket, motor and cutter, pneumatic cylinder fixed mounting is in the L type turn face bottom department of mount pad, the top of first mounting bracket and the flexible end fixed connection of pneumatic cylinder, motor fixed mounting is in the inside of first mounting bracket, the output fixed connection of cutter and motor.
Preferably, the pay-off structure includes cylinder and push pedal, cylinder fixed mounting is close to in its one side edge in the upper end surface department of material platform, one side of push pedal and the flexible end fixed connection of cylinder, just the push pedal is arranged in the material groove, the bottom and the laminating of material groove of push pedal.
Preferably, the front side, the rear side and the bottom of the material groove are subjected to smoothing treatment.
Preferably, location structure is including deciding board, clamp plate and fastening knob, decide one side department of board fixed mounting in the push pedal, the clamp plate is installed in the bottom department of deciding the board through a plurality of telescopic links, threaded connection is passed through to the one end of fastening knob and the board is decided, just the fastening knob passes through the top department rotation of bearing and clamp plate and is connected, the size of clamp plate and the inside dimension phase-match in material groove.
Preferably, receive the material structure and include the second mounting bracket and receive the workbin, second mounting bracket fixed mounting is in the bottom department of workstation, receive the workbin activity and be located the inside of second mounting bracket, the front department of receiving the workbin is provided with the handle.
The utility model provides a cutting device for processing a conductive reinforcing sheet, which has the following beneficial effects:
(1) according to the utility model, the material platform, the feeding structure and the positioning structure are arranged, so that when the material is cut, the material platform can be placed in the material groove, then the fastening knob is rotated to drive the pressing plate to move downwards to press the material, and then the air cylinder is started to extend stage by stage, so that the material is pushed stage by stage continuously, the working cutter is driven to move up and down by stage expansion and contraction of the upper hydraulic cylinder, the material can be cut continuously, the position of the material does not need to be adjusted manually for cutting continuously, time and labor are saved, and the working efficiency is greatly improved.
(2) According to the material receiving structure, when the cutting operation is carried out, cut materials can naturally fall into the material receiving box through the blanking port to be subjected to concentrated material receiving, so that the materials can be rapidly transferred and processed in the follow-up process, and the overall working efficiency is further improved.
Drawings
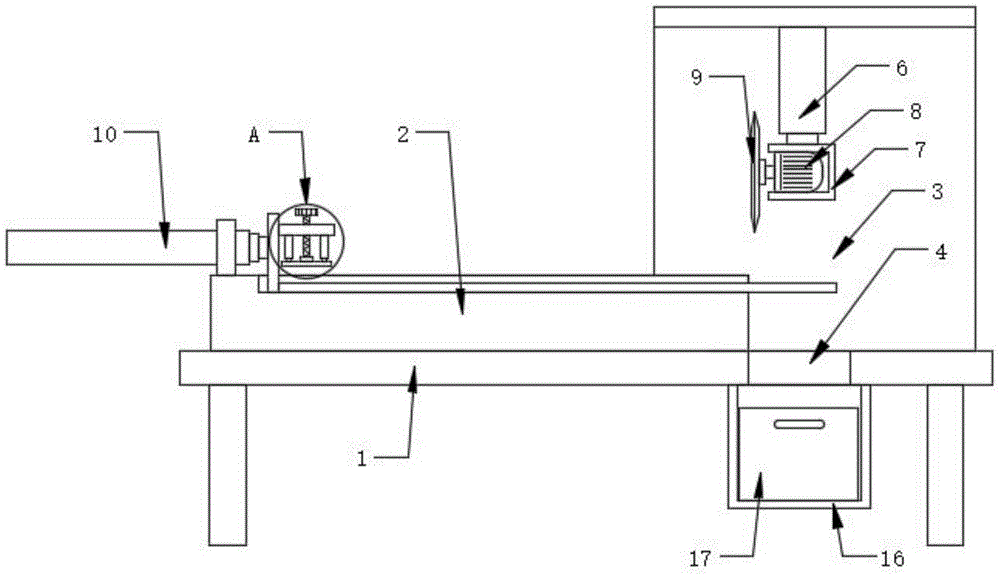
FIG. 1 is a schematic view of the overall structure of the present invention;
FIG. 2 is a schematic top view of the material table of the present invention;
FIG. 3 is a schematic view of the receiving box of the present invention;
fig. 4 is an enlarged schematic view of a point a in fig. 1.
In the figure: 1. a work table; 2. a material table; 3. a mounting seat; 4. a blanking port; 5. a material groove; 6. a hydraulic cylinder; 7. a first mounting bracket; 8. a motor; 9. a cutter; 10. a cylinder; 11. pushing the plate; 12. fixing a plate; 13. pressing a plate; 14. fastening a knob; 15. a telescopic rod; 16. a second mounting bracket; 17. and a material receiving box.
Detailed Description
The technical solution in the embodiments of the present invention will be clearly and completely described below with reference to the accompanying drawings in the embodiments of the present invention.
As shown in fig. 1 to 4, the present invention provides a technical solution: a cutting device for processing a conductive reinforcing sheet comprises a workbench 1, a material table 2, a mounting seat 3, a lifting type cutting structure, a feeding structure, a positioning structure and a receiving structure, wherein a plurality of supporting legs are arranged at the bottom of the workbench 1, a through blanking port 4 is formed in the upper end surface of the workbench 1, the material table 2 is installed at the upper end surface of the workbench 1, one side of the material table 2 is flush with the blanking port 4, a material groove 5 extending to one side is formed in the upper end surface of the material table 2, a strip-shaped reinforcing sheet material is placed in the material groove 5, the mounting seat 3 is L-shaped, the mounting seat 3 is fixedly installed at the upper end surface of the workbench 1, the lifting type cutting structure is installed at the lower part of the L-shaped turning surface of the mounting seat 3, the feeding structure is installed at the upper end surface of the material table 2, the position of the feeding structure is matched with that of the material groove 5, the positioning structure is installed at the feeding structure, the receiving structure is installed at the bottom of the workbench 1, and the position of the receiving structure is matched with that of the blanking port 4.
The lifting type cutting structure comprises a hydraulic cylinder 6, a first mounting frame 7, a motor 8 and a cutter 9, wherein the hydraulic cylinder 6 is fixedly mounted at the bottom of the L-shaped turning surface of the mounting seat 3, the top of the first mounting frame 7 is fixedly connected with the telescopic end of the hydraulic cylinder 6, the motor 8 is fixedly mounted in the first mounting frame 7, and the cutter 9 is fixedly connected with the output end of the motor 8, so that the hydraulic cylinder 6 can be started to extend to drive the motor 8 and the cutter 9 to move downwards when cutting is performed, and the cutter 9 is driven to rotate by the motor 8 when the motor 8 operates, so that the material can be cut when the cutter moves downwards;
the feeding structure comprises an air cylinder 10 and a push plate 11, the air cylinder 10 is fixedly installed on the upper end surface of the material table 2 and close to the edge of one side of the upper end surface, one side of the push plate 11 is fixedly connected with the telescopic end of the air cylinder 10, the push plate 11 is located in the material groove 5, and the bottom of the push plate 11 is attached to the material groove 5, so that when cutting is carried out, the air cylinder 10 can be started to extend in stages, the push plate 11 is driven to move in stages, the materials are driven to move in stages, cutting processing is conveniently and continuously carried out, and position adjustment processing of the materials is not required to be carried out manually and continuously;
the front side, the rear side and the bottom of the material groove 5 are subjected to smoothing treatment, so that the friction force between the reinforcing sheet material and the material groove 5 is reduced, and the reinforcing sheet material can move in the material groove 5 conveniently;
the positioning structure comprises a fixed plate 12, a pressing plate 13 and a fastening knob 14, wherein the fixed plate 12 is fixedly arranged at one side of the pushing plate 11, the pressing plate 13 is arranged at the bottom of the fixed plate 12 through a plurality of telescopic rods 15, one end of the fastening knob 14 penetrates through the fixed plate 12 through threaded connection, the fastening knob 14 is rotatably connected with the top of the pressing plate 13 through a bearing, and the size of the pressing plate 13 is matched with the inner size of the material groove 5, so that when the material is cut, a reinforcing sheet material can be placed in the material groove 5 firstly, then the fastening knob 14 is rotated to drive the pressing plate 13 to move downwards until the pressing plate 13 is abutted against the reinforcing sheet material, and the reinforcing sheet material can be positioned;
the material receiving structure comprises a second mounting frame 16 and a material receiving box 17, the second mounting frame 16 is fixedly mounted at the bottom of the workbench 1, the material receiving box 17 is movably located in the second mounting frame 16, and a handle is arranged at the front of the material receiving box 17, so that when the reinforcing sheet material is cut, the cut reinforcing sheet material can directly fall into the material receiving box 17 through the material dropping opening 4, centralized collection is completed, manual material receiving is not needed, the material receiving structure is convenient to transfer to the next processing procedure for processing, and the overall working efficiency is further improved;
it will be appreciated that the hydraulic cylinder 6 and the air cylinder 10 are externally connected with a control switch and a programmable control program terminal, respectively.
The working principle is as follows: when the material cutting operation is carried out, the reinforcing sheet material can be firstly placed in the material groove 5, then the fastening knob 14 is rotated to drive the pressing plate 13 to move downwards until the pressing plate 13 is abutted to the reinforcing sheet material, so that the reinforcing sheet material can be positioned, at the moment, the air cylinder 10 and the hydraulic cylinder 6 are started, the air cylinder 10 is extended in working stages, so that the pushing plate 11 is driven to move in stages, the material is driven to move in stages in the material groove 5, the cutting operation can be carried out continuously and conveniently, the position of the material is not required to be adjusted continuously by manpower, meanwhile, the hydraulic cylinder 6 is extended in stages, the motor 8 and the cutter 9 are driven to lift, the cutter 9 is driven to rotate by the motor 8, the material can be cut when moving downwards, the position of the reinforcing sheet material is not required to be adjusted continuously by manpower, the time and the labor are saved, and the working efficiency of the cutting operation is greatly improved, and when carrying out the cutting work of reinforcement piece material, the reinforcement piece material after being cut off can directly fall to receiving the material case 17 through blanking mouth 4 in, accomplishes concentrated collection, need not artifical the receipts material, and be convenient for follow-up quick transfer to next manufacturing procedure department and process, further improvement holistic work efficiency.
Although embodiments of the present invention have been shown and described, it will be appreciated by those skilled in the art that changes, modifications, substitutions and alterations can be made in these embodiments without departing from the principles and spirit of the utility model, the scope of which is defined in the appended claims and their equivalents.

Claims (6)

1. The utility model provides a cutting device is used in processing of electrically conductive reinforcement piece, includes workstation (1), material platform (2), mount pad (3), over-and-under type cutting structure, pay-off structure, location structure and receives the material structure, its characterized in that: the bottom of the workbench (1) is provided with a plurality of supporting legs, the upper end surface of the workbench (1) is provided with a through blanking port (4), the material platform (2) is installed at the upper end surface of the workbench (1), one side of the material platform (2) is flush with the blanking port (4), the upper end surface of the material platform (2) is provided with a material groove (5) extending to one side, a strip-shaped reinforcing sheet material is placed in the material groove (5), the mounting seat (3) is L-shaped, the mounting seat (3) is fixedly installed at the upper end surface of the workbench (1), the lifting cutting structure is installed at the lower part of the L-shaped turning surface of the mounting seat (3), the feeding structure is installed at the upper end surface of the material platform (2), and the position of the feeding structure is matched with the position of the material groove (5), the positioning structure is arranged at the feeding structure, the receiving structure is arranged at the bottom of the workbench (1), and the position of the receiving structure is matched with that of the blanking port (4).
2. The cutting device for machining the conductive reinforcing sheet as claimed in claim 1, wherein: over-and-under type cutting structure includes pneumatic cylinder (6), first mounting bracket (7), motor (8) and cutter (9), pneumatic cylinder (6) fixed mounting is in the L type turn face bottom department of mount pad (3), the top of first mounting bracket (7) and the flexible end fixed connection of pneumatic cylinder (6), motor (8) fixed mounting is in the inside of first mounting bracket (7), the output fixed connection of cutter (9) and motor (8).
3. The cutting device for machining the conductive reinforcing sheet as claimed in claim 1, wherein: the feeding structure comprises a cylinder (10) and a push plate (11), wherein the cylinder (10) is fixedly installed at the upper end surface of the material platform (2) and close to one side edge of the upper end surface, one side of the push plate (11) is fixedly connected with the telescopic end of the cylinder (10), the push plate (11) is located in the material groove (5), and the bottom of the push plate (11) is attached to the material groove (5).
4. The cutting device for machining the conductive reinforcing sheet as claimed in claim 1, wherein: the front side, the rear side and the bottom of the material groove (5) are subjected to smoothing treatment.
5. The cutting device for machining the conductive reinforcing sheet as claimed in claim 1, wherein: the positioning structure comprises a fixed plate (12), a pressing plate (13) and a fastening knob (14), wherein the fixed plate (12) is fixedly arranged at one side of a pushing plate (11), the pressing plate (13) is arranged at the bottom of the fixed plate (12) through a plurality of telescopic rods (15), one end of the fastening knob (14) penetrates through the fixed plate (12) through threaded connection, the fastening knob (14) is rotatably connected with the top of the pressing plate (13) through a bearing, and the size of the pressing plate (13) is matched with the inner size of a material groove (5).
6. The cutting device for machining the conductive reinforcing sheet as claimed in claim 1, wherein: receive the material structure and include second mounting bracket (16) and receipts workbin (17), second mounting bracket (16) fixed mounting is in the bottom department of workstation (1), receive workbin (17) activity and be located the inside of second mounting bracket (16), the front department of receiving workbin (17) is provided with the handle.
CN202122883167.5U 2021-11-23 2021-11-23 Cutting device is used in processing of electrically conductive reinforcement piece Expired - Fee Related CN216326681U (en)

Priority Applications (1)

Application Number Priority Date Filing Date Title
CN202122883167.5U CN216326681U (en) 2021-11-23 2021-11-23 Cutting device is used in processing of electrically conductive reinforcement piece

Applications Claiming Priority (1)

Application Number Priority Date Filing Date Title
CN202122883167.5U CN216326681U (en) 2021-11-23 2021-11-23 Cutting device is used in processing of electrically conductive reinforcement piece

Publications (1)

Publication Number Publication Date
CN216326681U true CN216326681U (en) 2022-04-19

Family

ID=81152861

Family Applications (1)

Application Number Title Priority Date Filing Date
CN202122883167.5U Expired - Fee Related CN216326681U (en) 2021-11-23 2021-11-23 Cutting device is used in processing of electrically conductive reinforcement piece

Country Status (1)

Country Link
CN (1) CN216326681U (en)

Cited By (1)

* Cited by examiner, † Cited by third party
Publication number Priority date Publication date Assignee Title
CN117206582A (en) * 2023-11-09 2023-12-12 泰州市苏泰铝业有限公司 An aluminum alloy ingot sample cutting device

Cited By (2)

* Cited by examiner, † Cited by third party
Publication number Priority date Publication date Assignee Title
CN117206582A (en) * 2023-11-09 2023-12-12 泰州市苏泰铝业有限公司 An aluminum alloy ingot sample cutting device
CN117206582B (en) * 2023-11-09 2024-02-02 泰州市苏泰铝业有限公司 Aluminum alloy ingot sample cutting device

Similar Documents

Publication Publication Date Title
CN216326681U (en) Cutting device is used in processing of electrically conductive reinforcement piece
CN216858436U (en) Automatic cutting equipment for sheet metal parts
CN213672852U (en) Steel frame cutting device for manufacturing goods shelf
CN206774851U (en) A full-automatic USB paste insulation film machine
CN216175764U (en) Punching device for processing electric power accessories
CN218555988U (en) Standard loading and unloading device
CN222077709U (en) Contact sheet stamping die
CN210018076U (en) A kind of leather shoe fabric cutting equipment for leather shoe processing
CN220972463U (en) Trimming machine convenient to adjust
CN219151696U (en) Automatic fixer of plate shearing machine
CN219336158U (en) Top rotary cutting device for sheet metal flange pipe
CN212884414U (en) A punching processing device for the production of aluminum products
CN220429461U (en) Soft package film edge blanking device
CN221232618U (en) Sika deer antler section device
CN213290571U (en) Numerical control cutting machine convenient for blanking
CN221232660U (en) Poultry meat slitting device
CN218049799U (en) Angle-adjustable type motorcycle starting rod bending device
CN221338702U (en) Single-sided paper cutter
CN206241340U (en) Fiberglass automatic gas cutting machine
CN221184926U (en) Pipe cutting machine convenient to retrieve work piece
CN223145694U (en) Intelligent bending device for flexible bending machine
CN214769232U (en) Extrusion device for machining connecting rod
CN223557313U (en) Mould processing perforating device
CN223100096U (en) Cutting mechanism for carton production
CN221754602U (en) A pin repair device for circuit board welding

Legal Events

Date Code Title Description
GR01 Patent grant
GR01 Patent grant
CF01 Termination of patent right due to non-payment of annual fee

Granted publication date: 20220419