CN216141989U - Large-span assembled pipe truss structure for covering channel - Google Patents
Large-span assembled pipe truss structure for covering channel Download PDFInfo
- Publication number
- CN216141989U CN216141989U CN202121379492.1U CN202121379492U CN216141989U CN 216141989 U CN216141989 U CN 216141989U CN 202121379492 U CN202121379492 U CN 202121379492U CN 216141989 U CN216141989 U CN 216141989U
- Authority
- CN
- China
- Prior art keywords
- upper chord
- chord steel
- steel
- channel
- pipe
- Prior art date
- Legal status (The legal status is an assumption and is not a legal conclusion. Google has not performed a legal analysis and makes no representation as to the accuracy of the status listed.)
- Active
Links
- 229910000831 Steel Inorganic materials 0.000 claims abstract description 190
- 239000010959 steel Substances 0.000 claims abstract description 190
- 238000000034 method Methods 0.000 claims description 3
- XLYOFNOQVPJJNP-UHFFFAOYSA-N water Substances O XLYOFNOQVPJJNP-UHFFFAOYSA-N 0.000 abstract description 14
- 238000009434 installation Methods 0.000 abstract description 5
- 230000007547 defect Effects 0.000 abstract description 2
- 238000004519 manufacturing process Methods 0.000 abstract description 2
- 239000000463 material Substances 0.000 description 6
- 238000004364 calculation method Methods 0.000 description 1
- 238000010586 diagram Methods 0.000 description 1
- 239000000428 dust Substances 0.000 description 1
- 238000005516 engineering process Methods 0.000 description 1
- 230000008020 evaporation Effects 0.000 description 1
- 238000001704 evaporation Methods 0.000 description 1
- 239000002245 particle Substances 0.000 description 1
- 238000003908 quality control method Methods 0.000 description 1
- 239000011150 reinforced concrete Substances 0.000 description 1
- 239000002699 waste material Substances 0.000 description 1
- 238000004804 winding Methods 0.000 description 1
Images
Landscapes
- Rod-Shaped Construction Members (AREA)
Abstract
The utility model discloses a large-span assembled pipe truss structure for covering a channel, wherein two upper chord steel pipes (2) are arranged in parallel, the upper chord steel pipes (2) are positioned above a lower chord steel pipe (3) and are parallel to each other, an upper chord steel web member (5) is arranged between the two upper chord steel pipes (2) which are arranged in parallel, an upper chord steel web member (4) which is obliquely arranged is arranged between each upper chord steel pipe (2) and the lower chord steel pipe (3), and a triangle is formed by the upper chord steel pipes (2), the lower chord steel pipes (3), the upper chord steel web member (4) and the upper chord steel web member (5) in a surrounding manner; the water delivery channel overcomes the defects of large channel span, difficult support and difficult installation of a steel structure platform arranged in the water delivery channel in the prior art, and has the advantages that all parts can be manufactured in a factory, the integral manufacture is convenient, the assembly can be carried out on site, and the market value is good.
Description
Technical Field
The utility model relates to the technical field of water delivery channels, in particular to a large-span assembled pipe truss structure for covering a channel.
Background
In the existing water delivery channel, a large amount of evaporation can be generated in the water delivery process, so that the waste of water resources is caused; the water quality is deteriorated due to pollution of particles such as dust in the process of contacting with the atmosphere.
For water delivery projects built at home and abroad, a steel structure platform can be erected above a channel, and various functions such as water quality control in the channel, renewable energy development of the channel and the like can be implemented on the basis of the platform.
However, the following problems are encountered in the installation of a platform in a channel which has been built and has a water flow for a long time: at present, large-scale water delivery projects are built, and water delivery channels have the characteristic of large span in the width direction. The conventional structure can not meet the engineering use requirement.
The water delivery channel is internally provided with a steel structure platform, and the problems of large channel span, difficult support, difficult installation and the like are solved.
Therefore, a structure for solving the above problems is urgently needed.
Disclosure of Invention
The utility model aims to overcome the defects of the background technology and provides a large-span assembled pipe truss structure for covering a channel.
The purpose of the utility model is implemented by the following technical scheme: a large-span assembled pipe truss structure for covering a channel is arranged above the channel and also comprises a transverse structure arranged above the channel and longitudinal structures fixed on two sides of a channel bank slope, wherein the transverse structure and the longitudinal structures are respectively provided with a plurality of transverse structures, the plurality of transverse structures are arranged above the channel at intervals, the longitudinal structures on each side are arranged on the channel bank slope at intervals, and the transverse structures are positioned between the longitudinal structures on two sides;
the transverse structure comprises an upper chord steel pipe, a lower chord steel cable, an upper chord steel web member and a lower chord steel web member;
two upper chord steel pipes are arranged in parallel, the upper chord steel pipes are positioned above the lower chord steel guy cable and are parallel, an upper chord steel web member is arranged between the two upper chord steel pipes which are arranged in parallel, an upper chord steel web member and a lower chord steel web member which are arranged in an inclined way are arranged between each upper chord steel pipe and the lower chord steel guy cable,
a triangle is formed by the upper chord steel pipe, the lower chord steel cable, the upper and lower chord steel web members and the upper chord steel web member in a surrounding way;
in the above technical scheme: the longitudinal structure comprises upright posts and steel beams; the stand along the equidistant installation a plurality of in both sides of channel bank slope lie in with adjacent two of one side the stand between install the girder steel.
In the above technical scheme: the upper chord steel pipe is made of steel pipes, and the upper chord steel pipe stretches across the channel and is fixed with the stand columns arranged on two sides of the channel bank slope.
In the above technical scheme: the lower chord steel cable is made of steel pipes, and the lower chord steel cable stretches across the channel and is fixed with the stand columns arranged on two sides of the channel bank slope.
In the above technical scheme: the steel web members between the upper chord and the lower chord and the steel web members between the upper chord and the lower chord are respectively provided with a plurality of steel web members, each steel web member between the upper chord and the lower chord is respectively arranged between the two steel tubes of the upper chord and the steel cables of the lower chord, and the steel web members between the upper chord are in a zigzag shape and are respectively arranged between the two steel tubes of the upper chord which are parallel to each other.
In the above technical scheme: the upper chord steel pipe, the lower chord steel cable and the upper and lower chord steel web members are hinged, and the upper chord steel pipe and the upper chord steel web members are hinged.
In the above technical scheme: the length of the upper chord steel pipe is 30-80 meters. The distance between two adjacent upright posts on the same bank slope is 6-9 m.
The utility model has the following advantages: 1. the upper chord steel pipe is made of steel pipes, the length of the upper chord steel pipe is 30-80 meters, and the problem that a steel structure platform faces large channel span is solved.
2. The upper chord steel pipe, the upper chord steel web member, the lower chord steel web member, the upper chord steel web member and the lower chord steel inhaul cable are enclosed into a triangle, so that a stable self-balancing system is achieved, and the whole stress is reasonable.
3. All the parts of the utility model can be manufactured in factories, the integral manufacture is convenient, and the parts can be assembled on site due to convenient transportation, thereby having good market value and being worth popularizing.
4. The upper and lower chord steel web members and the upper chord steel web members form the pipe truss structure, and the pipe truss structure has the advantages of good overall performance, attractive appearance, simplicity in installation, light structure, good rigidity, steel saving, full play of material strength and the like, and has market popularization value.
Drawings
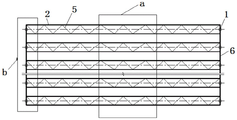
FIG. 1 is a cross-sectional view of a water delivery channel.
Fig. 2 is a cross-sectional view of the present invention.
Fig. 3 is a top view of the present invention.
FIG. 4 is a schematic diagram of a triangular balancing architecture according to the present invention.
In the figure: the structure comprises a transverse structure a, a longitudinal structure B, a stand column 1, an upper chord steel pipe 2, a lower chord steel pipe 3, an upper chord steel web member and a lower chord steel web member 4, an upper chord steel web member and a lower chord steel web member 5, a steel beam 6, the original ground A, a road B, a canal C and a canal bottom D.
Detailed Description
The technical solutions in the embodiments of the present invention will be clearly and completely described below with reference to the drawings in the embodiments of the present invention, and it is obvious that the described embodiments are only a part of the embodiments of the present invention, and not all of the embodiments.
Referring to FIGS. 1-4: a large-span assembled pipe truss structure for covering a channel is arranged above the channel and also comprises a transverse structure a arranged above the channel and longitudinal structures b fixed on two sides of a channel bank slope, wherein the transverse structure a and the longitudinal structures b are respectively provided with a plurality of transverse structures a, the transverse structures a are arranged above the channel at intervals, the longitudinal structures b on each side are arranged on the channel bank slope at intervals, and the transverse structures a are positioned between the longitudinal structures b on the two sides;
the transverse structure a comprises an upper chord steel pipe 2, a lower chord steel pipe 3, an upper chord steel web member 4, a lower chord steel web member 5 and a transverse structure b;
the two upper chord steel pipes 2 are arranged in parallel, the upper chord steel pipes 2 are positioned above the lower chord steel pipe 3 and are parallel to each other, an upper chord steel web member 5 is arranged between the two upper chord steel pipes 2 which are arranged in parallel, an upper chord steel web member 4 which is arranged in an inclined manner is arranged between each upper chord steel pipe 2 and the lower chord steel pipe 3,
a triangle is formed by the upper chord steel tube 2, the lower chord steel tube 3, the upper and lower chord steel web members 4 and the upper chord steel web members 5; the enclosed triangle is a stable self-balancing structure, and the whole stress is reasonable.
And (3) winding the steel pipe 2: the upper chord steel pipe 2 is a steel pipe, purlins can be arranged above the upper chord steel pipe 2, and photovoltaic panels can be arranged above the purlins.
Lower chord steel cable 3: the lower chord steel inhaul cable 3 is made of steel pipes and mainly used for bearing the pulling force generated by the upper load.
Upper chord steel web member 5: the steel web member 5 between the upper chords is used for connecting two upper chord steel pipes 2 which are parallel to each other.
The steel beam 6 adopts a steel beam or a steel truss: the steel beam 6 is used for connecting the longitudinal upright posts 1.
The longitudinal structure b comprises an upright post 1 and a steel beam 6; a plurality of is installed to the equidistant both sides along channel bank slope stand 1 is located with adjacent two of one side stand 1 between install girder steel 6.
The upright column 1 can adopt a herringbone column, a lattice column and the like to bear the internal force transmitted by the pipe truss.
The material adopts reinforced concrete or steel structure according to the requirement. The upright post 1 is fixed on the outer edges of roads on two sides of the top of the channel through an upright post foundation. The foundation can adopt a natural foundation or a pile foundation.
The upper chord steel pipe 2 is made of steel pipes, and the upper chord steel pipe 2 stretches across the channel and is fixed with the upright posts 1 arranged on two sides of the channel bank slope.
The upper chord steel pipe 2 can also be manufactured into an arc-shaped or other curve-shaped structure, the arc-shaped or other curve-shaped structure is attractive in overall appearance and simple to mount, and the platform structure has the advantages of light structure, steel saving, material strength full play and the like compared with a steel beam or other solid-web steel beams, and has good application value.
Meanwhile, the upper chord steel pipe 2 is made of steel pipe materials, is good in overall performance and high in rigidity, and can bear vertical loads such as roof panels and photovoltaic panels.
The lower chord steel pipe 3 is made of steel pipes, and the lower chord steel pipe 3 stretches across the channel and is fixed with the upright posts 1 arranged on two sides of the channel bank slope.
The lower chord steel pipe 3 can also be made into an arc-shaped or other curve-shaped structure, the arc-shaped or other curve-shaped structure is attractive in overall appearance and simple to mount, and the steel-saving platform has the advantages of light structure, steel saving, material strength full play and the like compared with a steel beam or other solid-web steel beams, and is a platform structure with good application value.
Meanwhile, the lower chord steel pipe 3 is made of steel pipe materials, is good in overall performance and high in rigidity, and can bear vertical loads such as roof panels and photovoltaic panels.
The steel web members 4 between the upper chord and the lower chord and the steel web members 5 between the upper chord and the lower chord are respectively provided with a plurality of steel web members 4, each steel web member 4 between the upper chord and the lower chord is respectively arranged between the two steel tubes 2 between the upper chord and the lower chord 3, and the steel web members 5 between the upper chord are zigzag and are respectively arranged between the two steel tubes 2 between the upper chord and the lower chord.
The steel web members 5 between the upper chords are in a sawtooth shape, the sawtooth shape is a triangle shape, horizontal load is conveniently transmitted, the stability is high, and local instability caused by overlarge single-point load is avoided.
The upper chord steel pipe 2, the lower chord steel pipe 3 and the upper and lower chord steel web members 4 are hinged, and the upper chord steel pipe 2 and the upper chord steel web members 5 are hinged.
The upper chord steel pipe 2, the lower chord steel pipe 3 and the upper and lower chord steel web members 4 are connected in a hinged mode, so that the load generated by uneven settlement of two sides can be adapted to, when the upper chord steel pipe 2 and the lower chord steel pipe 3 on two sides or the upright posts 1 on two sides are subjected to uneven settlement, the load generated by the uneven settlement can be prevented from damaging the upper chord steel pipe 2, the lower chord steel pipe 3 and the upper and lower chord steel web members 4.
The length of the upper chord steel pipe 2 is 30-80 meters, so that the problem that a steel structure platform faces a large channel span is solved; the distance between two adjacent upright posts 1 on the same bank slope is 6-9 m. According to the structural calculation, the distance between the two upright posts is 6-9 meters, which is the optimal span, and according to the arrangement interval, the engineering cost can be effectively saved.
The above-mentioned parts not described in detail are prior art.
Claims (7)
1. A large-span assembled pipe truss structure for covering a channel is arranged above the channel and comprises a transverse structure (a) arranged above the channel and longitudinal structures (b) fixed on two sides of a channel bank slope, wherein the transverse structure (a) and the longitudinal structures (b) are respectively provided with a plurality of transverse structures (a) arranged above the channel at intervals, the longitudinal structures (b) on each side are arranged on the channel bank slope at intervals, and the transverse structures (a) are positioned between the longitudinal structures (b) on two sides; the method is characterized in that:
the transverse structure (a) comprises an upper chord steel pipe (2), a lower chord steel pipe (3), an upper chord steel web member and a lower chord steel web member (4) and an upper chord steel web member (5);
the two upper chord steel pipes (2) are arranged in parallel, the upper chord steel pipes (2) are positioned above the lower chord steel pipes (3) and are parallel to each other, an upper chord steel web member (5) is arranged between the two upper chord steel pipes (2) which are arranged in parallel, an upper chord steel web member (4) which is obliquely arranged is arranged between each upper chord steel pipe (2) and the lower chord steel pipe (3),
and triangles are enclosed among the upper chord steel pipe (2), the lower chord steel pipe (3), the upper and lower chord steel web members (4) and the upper chord steel web members (5).
2. The large-span fabricated pipe truss structure for channel covering of claim 1, wherein: the longitudinal structure (b) comprises a vertical column (1) and a steel beam (6); a plurality of is installed along the equidistant both sides of channel bank slope stand (1), lie in with adjacent two of one side stand (1) between install girder steel (6).
3. The large-span fabricated pipe truss structure for channel covering according to claim 1 or 2, wherein: the upper chord steel pipe (2) is made of steel pipes, and the upper chord steel pipe (2) spans the channel and is fixed with the upright posts (1) arranged on two sides of the channel bank slope.
4. The large-span fabricated pipe truss structure for channel covering of claim 3, wherein: the lower chord steel pipe (3) is made of steel pipes, and the lower chord steel pipe (3) spans the channel and is fixed with the upright columns (1) arranged on two sides of the channel bank slope.
5. The large-span fabricated pipe truss structure for channel covering of claim 4, wherein: the steel web members (4) between the upper chord and the lower chord and the steel web members (5) between the upper chord and the lower chord are respectively provided with a plurality of steel web members, each steel web member (4) between the upper chord and the lower chord is respectively arranged between the two steel tubes (2) of the upper chord and the steel tube (3) of the lower chord, and the steel web members (5) between the upper chord are zigzag and are respectively arranged between the two steel tubes (2) of the upper chord which are parallel to each other.
6. The large-span fabricated pipe truss structure for channel covering of claim 5, wherein: the upper chord steel pipe (2), the lower chord steel pipe (3) and the upper and lower chord steel web members (4) are hinged, and the upper chord steel pipe (2) and the upper chord steel web members (5) are hinged.
7. The large-span fabricated pipe truss structure for channel covering according to claim 5 or 6, wherein: the length of the upper chord steel pipe (2) is 30-80 m, and the distance between two adjacent upright posts (1) on the same bank slope is 6-9 m.
Priority Applications (1)
| Application Number | Priority Date | Filing Date | Title |
|---|---|---|---|
| CN202121379492.1U CN216141989U (en) | 2021-06-21 | 2021-06-21 | Large-span assembled pipe truss structure for covering channel |
Applications Claiming Priority (1)
| Application Number | Priority Date | Filing Date | Title |
|---|---|---|---|
| CN202121379492.1U CN216141989U (en) | 2021-06-21 | 2021-06-21 | Large-span assembled pipe truss structure for covering channel |
Publications (1)
| Publication Number | Publication Date |
|---|---|
| CN216141989U true CN216141989U (en) | 2022-03-29 |
Family
ID=80802247
Family Applications (1)
| Application Number | Title | Priority Date | Filing Date |
|---|---|---|---|
| CN202121379492.1U Active CN216141989U (en) | 2021-06-21 | 2021-06-21 | Large-span assembled pipe truss structure for covering channel |
Country Status (1)
| Country | Link |
|---|---|
| CN (1) | CN216141989U (en) |
-
2021
- 2021-06-21 CN CN202121379492.1U patent/CN216141989U/en active Active
Similar Documents
| Publication | Publication Date | Title |
|---|---|---|
| CN107816223B (en) | Safe and stable type station canopy station house and installation method thereof | |
| CN217183216U (en) | Be fit for complementary large-span photovoltaic mounting system of farming light | |
| CN206233656U (en) | Steel frame mill building structure | |
| CN216141987U (en) | Multi-span counterweight type cable truss structure for covering channel | |
| CN216141989U (en) | Large-span assembled pipe truss structure for covering channel | |
| CN215758853U (en) | Large-span assembly type cable truss structure for covering channel | |
| CN213897739U (en) | Large-span archaizing intermittent mountain roof structure | |
| CN216141988U (en) | Multi-span counterweight type pipe truss structure for covering channel | |
| CN221002100U (en) | Complete assembly type steel structure temporary support frame | |
| CN212613034U (en) | Arch truss supporting large-span cable net structure | |
| CN221767890U (en) | All-terrain photovoltaic bracket | |
| CN109281427B (en) | Roof truss with grid structure and roof | |
| CN113636361B (en) | Multilayer overhead closed type steel pipe truss combined system for conveying gallery | |
| CN212533734U (en) | Cable buckle integrated tower | |
| CN113356148A (en) | Large-span assembly type cable truss structure for covering channel | |
| CN113356149A (en) | Multi-span counterweight type cable truss structure for covering channel | |
| CN202247660U (en) | A steel truss girder unit and a steel truss girder structure | |
| CN212405253U (en) | Reinforced GFRP assembled octagonal cable well | |
| CN209211742U (en) | Roof truss and roof with grid structure | |
| CN114059828A (en) | Stability calculation method for pull-wire modular aluminum alloy emergency repair tower and angle aluminum components | |
| CN215801423U (en) | Prefabricated streamline foundation platform for long-distance channel large-span covering | |
| CN220266283U (en) | A combined structure of power plant trestle and transmission frame | |
| CN220727327U (en) | Pipeline support structure and fly ash treatment system | |
| CN116791766B (en) | A modular quick-install aerobic fermentation chamber for organic solid waste | |
| CN218580857U (en) | Novel large-space high-bearing multilayer structure |
Legal Events
| Date | Code | Title | Description |
|---|---|---|---|
| GR01 | Patent grant | ||
| GR01 | Patent grant |