CN215993915U - Joint type bronchoscope phlegm-collecting lavage recoverer - Google Patents

Joint type bronchoscope phlegm-collecting lavage recoverer Download PDF

Info

Publication number
CN215993915U
CN215993915U CN202121257957.6U CN202121257957U CN215993915U CN 215993915 U CN215993915 U CN 215993915U CN 202121257957 U CN202121257957 U CN 202121257957U CN 215993915 U CN215993915 U CN 215993915U
Authority
CN
China
Prior art keywords
hose
main body
body shell
air pump
lavage
Prior art date
Legal status (The legal status is an assumption and is not a legal conclusion. Google has not performed a legal analysis and makes no representation as to the accuracy of the status listed.)
Expired - Fee Related
Application number
CN202121257957.6U
Other languages
Chinese (zh)
Inventor
王慧芳
Current Assignee (The listed assignees may be inaccurate. Google has not performed a legal analysis and makes no representation or warranty as to the accuracy of the list.)
Individual
Original Assignee
Individual
Priority date (The priority date is an assumption and is not a legal conclusion. Google has not performed a legal analysis and makes no representation as to the accuracy of the date listed.)
Filing date
Publication date
Application filed by Individual filed Critical Individual
Priority to CN202121257957.6U priority Critical patent/CN215993915U/en
Application granted granted Critical
Publication of CN215993915U publication Critical patent/CN215993915U/en
Expired - Fee Related legal-status Critical Current
Anticipated expiration legal-status Critical

Links

Images

Landscapes

  • External Artificial Organs (AREA)

Abstract

本实用新型公开了接头式气管镜集痰灌洗回收器,在使用该实用新型时,可先将橡胶球伸入患者的支气管中,随后开启电动气泵,电动气泵进行抽气,在集液瓶中形成负压,将患者支气管中的积液吸入集液瓶中,完成集痰过程,当集液瓶搜集满时,可将原集液瓶拧下更换新的集液瓶,同时单向液阀可避免支气管积液倒流,进一步保障医疗安全,软管螺帽与软管螺口螺旋连接便于拆卸,当集痰完毕后,可将软管螺口拧下,废弃使用过的一次性软管和橡胶球,当需要进行灌洗时,可将集液瓶中注入清洗液,开启电动气泵,电动气泵充气,在集液瓶内形成正压,清洗液从橡胶球出喷射出,完成灌洗过程,此时完全敞开单向液阀,避免单向液阀阻止清洗液流出。

Figure 202121257957

The utility model discloses a joint type bronchoscope collecting phlegm and lavage recovery device. When the utility model is used, a rubber ball can be inserted into the bronchi of a patient first, then an electric air pump is turned on, and the electric air pump performs air extraction, and the liquid collecting bottle Negative pressure is formed in the bronchus, and the fluid in the patient's bronchi is sucked into the collection bottle to complete the sputum collection process. When the collection bottle is full, the original collection bottle can be unscrewed and replaced with a new collection bottle. The valve can avoid backflow of bronchial fluid and further ensure medical safety. The screw cap of the hose is connected with the screw of the hose for easy disassembly. When the phlegm is collected, the screw of the hose can be unscrewed, and the used disposable hose can be discarded. and rubber ball. When lavage is required, the cleaning solution can be injected into the liquid collection bottle, the electric air pump is turned on, and the electric air pump is inflated to form a positive pressure in the liquid collection bottle, and the cleaning liquid is sprayed from the rubber ball to complete the irrigation. During the process, fully open the one-way liquid valve at this time to avoid the one-way liquid valve preventing the cleaning liquid from flowing out.

Figure 202121257957

Description

Joint type bronchoscope phlegm-collecting lavage recoverer
Technical Field
The utility model relates to the technical field of medical instruments, in particular to a connector type bronchoscope sputum collection and lavage recoverer.
Background
The fiber bronchoscope is suitable for observing pathological changes of lung lobes, lung segments and sub-segment bronchi, biopsy sampling, bacteriology and cytology examination, and can be used for shooting, teaching and dynamic recording in cooperation with a TV system. The bronchoscope is attached with a biopsy sampling structure, can help to find early lesions, can carry out in vivo and vitro surgical operations such as polypectomy and the like, and is a good precision instrument for the research of bronchial and lung diseases, postoperative examination and the like; in the bronchoscope operation, the operation requirement is careful and rapid, bleeding, mediastinal emphysema, traumatic pneumothorax, asphyxia and cardiac arrest are prevented, whether secondary respiratory tract and lung infection or bleeding exists or not is observed after the operation, whether the air flue is unobstructed or not is observed by the pediatric drug, bleeding and inflammatory secretion exudation and the like due to damage of trachea and bronchial mucosa possibly caused in the operation process need frequent sputum suction and cleaning, and asphyxia caused by excessive tracheal secretion or vocal cord edema is prevented.
SUMMERY OF THE UTILITY MODEL
The utility model aims to provide a joint type bronchoscope sputum collection and lavage recoverer, which aims to solve the problems that in the bronchoscope operation provided by the background technology, the operation requires careful and rapid treatment, and can prevent hemorrhage, mediastinal emphysema, traumatic pneumothorax, asphyxia and cardiac arrest, and can be used for observing whether secondary respiratory tract and lung infection or hemorrhage exists after operation, and for infantile drug to observe whether the airway is unobstructed, because bleeding and inflammatory secretion exudation caused by damage of tracheal and bronchial mucosa are caused in the operation process, frequent sputum suction and cleaning are needed to prevent the asphyxia caused by excessive tracheal secretion or vocal cord edema, an independent sputum collector is often adopted for cleaning in the prior art, however, the sputum collector is not connected with the bronchoscope, and needs to be fixed by the index finger of a doctor, so that the doctor is difficult to control in specific operation, the recovery rate is low, and the sputum collector is easy to leak, thereby affecting medical sanitation and increasing the workload of medical staff.
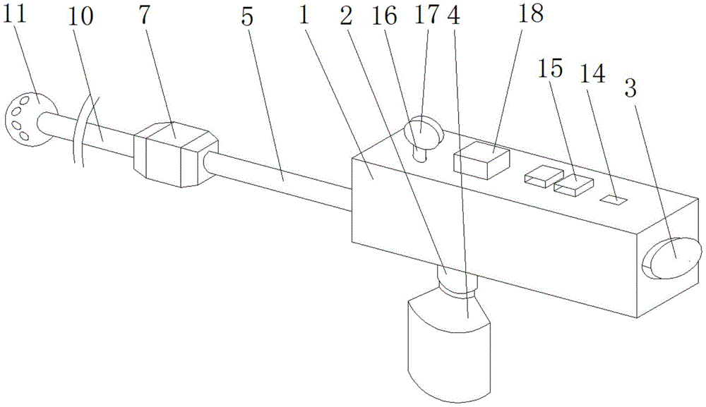
In order to achieve the purpose, the utility model provides the following technical scheme: the connector type bronchoscope sputum-collecting lavage recoverer comprises a main body shell, wherein a liquid collecting bottle nut is arranged on the lower surface of the main body shell and is in spiral connection with a liquid collecting bottle, one end of a first rubber hose and one end of a second rubber hose are arranged in the liquid collecting bottle, two openings are formed in the lower surface of the main body shell, the other ends of the first rubber hose and the second rubber hose respectively extend into the main body shell through the two openings in the lower surface of the main body shell, an opening is formed in the left surface of the main body shell, one end of the first rubber hose extending into the main body shell extends out of the main body shell through the opening in the left surface of the main body shell, a one-way liquid valve is arranged at one end of the first rubber hose extending out of the main body shell, a hose nut is arranged at the output end of the one-way liquid valve, a hose nut is in spiral connection with a hose screw, a disposable hose is arranged on the left surface of the hose screw, the left end of disposable hose is equipped with the rubber ball, the surface of rubber ball is equipped with the round mouth, the inside lower surface of main part shell is equipped with electronic air pump, the output of electronic air pump is connected with No. two rubber hoses.
Preferably, a charging power supply is arranged on the lower surface inside the main body shell, a charging port is formed in the upper surface of the charging power supply, a charging groove is formed in the upper surface of the main body shell, the position of the charging groove corresponds to the charging port, and the charging power supply is electrically connected with an electric air pump.
Preferably, the upper surface of the main body shell is provided with a control switch, and the control switch is electrically connected with an electric air pump.
Preferably, the upper surface of a rubber hose is equipped with the gauge stick, the top of gauge stick stretches out the upper surface of main part shell and is equipped with the manometer, the upper surface of main part shell is equipped with bee calling organ, bee calling organ is connected with charging power supply and manometer electricity.
Preferably, the right surface of the main body case is provided with a main body nut.
Compared with the prior art, the utility model has the beneficial effects that: connector formula bronchoscope collection phlegm lavage recoverer has following advantage:
(1) the utility model realizes the integrated functions of sputum collection and lavage through a simple structure, is convenient for medical personnel to use, can avoid the backflow of the accumulated fluid in the bronchus by the one-way liquid valve, further ensures the medical safety, is convenient to disassemble due to the screw connection of the hose nut and the hose screw, can unscrew the hose screw after the sputum collection is finished, abandons the used disposable hose and rubber ball, avoids cross infection and ensures the medical sanitation;
(2) in a specific use process, the utility model can be fixed on a bronchoscope through the main body nut, medical staff does not need to additionally hold the utility model main body and only needs to control the position of the rubber ball, thereby facilitating the medical staff to perform operations such as sputum collection and lavage and reducing the work difficulty of the medical staff;
drawings
FIG. 1 is a schematic view of an axial structure of the present invention;
FIG. 2 is a front sectional structural view of the present invention;
fig. 3 is a schematic front view of the present invention.
In the figure: 1-main body shell, 2-liquid collecting bottle screw cap, 3-main body screw cap, 4-liquid collecting bottle, 5-first rubber hose, 6-second rubber hose, 7-one-way liquid valve, 8-hose screw cap, 9-hose screw, 10-disposable hose, 11-rubber ball, 12-electric air pump, 13-charging power supply, 14-charging port, 15-control switch, 16-detecting rod, 17-pressure gauge and 18-buzzer.
Detailed Description
The technical solutions in the embodiments of the present invention will be clearly and completely described below with reference to the drawings in the embodiments of the present invention, and it is obvious that the described embodiments are only a part of the embodiments of the present invention, and not all of the embodiments. All other embodiments, which can be derived by a person skilled in the art from the embodiments given herein without making any creative effort, shall fall within the protection scope of the present invention.
Referring to fig. 1-3, the present invention provides a technical solution: the connector type bronchoscope sputum-collecting lavage recoverer comprises a main body shell 1, wherein a liquid collecting bottle nut 2 is arranged on the lower surface of the main body shell 1, the liquid collecting bottle nut 2 is in threaded connection with a liquid collecting bottle 4, one ends of a first rubber hose 5 and a second rubber hose 6 are arranged in the liquid collecting bottle 4, the lower surface of the main body shell 1 is provided with two openings, the other ends of the first rubber hose 5 and the second rubber hose 6 respectively extend into the main body shell 1 through the two openings on the lower surface of the main body shell 1, the left surface of the main body shell 1 is provided with an opening, one end of the first rubber hose 5 extending into the main body shell 1 extends out of the main body shell 1 through the opening on the left surface of the main body shell 1, one end of the first rubber hose 5 extending out of the main body shell 1 is provided with a one-way liquid valve 7, the output end of the one-way liquid valve 7 is provided with a hose nut 8, the hose nut 8 is in threaded connection with a hose screw opening 9, the left surface of the hose screw 9 is provided with a disposable hose 10, the left end of the disposable hose 10 is provided with a rubber ball 11, the surface of the rubber ball 11 is provided with a round opening, the lower surface inside the main body shell 1 is provided with an electric air pump 12, the output end of the electric air pump 12 is connected with a rubber hose No. two 6, when the utility model is used, the rubber ball 11 can be firstly extended into the bronchus of a patient, then the electric air pump 7 is started, the electric air pump 7 performs air suction to form negative pressure in the liquid collecting bottle 4, the accumulated liquid in the bronchus of the patient is sucked into the liquid collecting bottle 4 to complete the sputum collection process, when the liquid collecting bottle 4 is fully collected, the original liquid collecting bottle 4 can be screwed down to replace the new liquid collecting bottle 4, meanwhile, the one-way liquid valve 7 can avoid the accumulated liquid in the bronchus to flow backwards, the medical safety is further ensured, the hose nut 8 is spirally connected with the hose screw 9 to be convenient to disassemble, after the sputum collection is completed, can twist off hose screw socket 9, abandonment is used disposable hose 10 and rubber ball 11, avoids cross infection, guarantee medical health, when needs carry out the lavage, can pour into the washing liquid into collection liquid bottle 4, open electronic air pump 12, electronic air pump 12 is aerifyd, forms the malleation in collection liquid bottle 4, and the washing liquid jets out from rubber ball 11, accomplishes the lavage process, opens check valve 7 completely this moment, avoids check valve 7 to prevent the washing liquid outflow.
Specifically, a charging power supply 13 is arranged on the lower surface inside the main body casing 1, a charging port 14 is arranged on the upper surface of the charging power supply 13, a charging slot is arranged on the upper surface of the main body casing 1, the position of the charging slot corresponds to the charging port 14, and the charging power supply 13 is electrically connected with the electric air pump 2.
Specifically, the upper surface of the main body case 1 is provided with a control switch 15, and the control switch 15 is electrically connected to the electric air pump 12.
Specifically, the upper surface of a rubber hose 5 is equipped with probe rod 16, the top of probe rod 16 stretches out the upper surface of main part shell 1 and is equipped with manometer 17, the upper surface of main part shell 1 is equipped with bee calling organ 18, bee calling organ 18 is connected with charging power supply 13 and manometer 17 electricity.
Particularly, the right surface of main part shell 1 is equipped with main part nut 3, and in specific use, this utility model accessible main part nut 3 is fixed on the bronchoscope, and medical personnel need not to hold this utility model main part in addition, only need control rubber ball 11 positions can, make things convenient for medical personnel to carry out operations such as collection phlegm lavage, reduced medical personnel's the work degree of difficulty.
The working principle is as follows: when the utility model is used, the rubber ball 11 can be firstly stretched into the bronchus of a patient, then the electric air pump 7 is started, the electric air pump 7 is used for pumping air, negative pressure is formed in the liquid collecting bottle 4, the accumulated liquid in the bronchus of the patient is sucked into the liquid collecting bottle 4, the sputum collection process is completed, when the liquid collecting bottle 4 is fully collected, the original liquid collecting bottle 4 can be unscrewed for replacing the liquid collecting bottle 4, meanwhile, the check valve 7 can avoid the backflow of the accumulated liquid in the bronchus, the medical safety is further ensured, the hose nut 8 is spirally connected with the hose nut 9 for convenient disassembly, after the sputum collection is finished, the hose nut 9 can be unscrewed, the used disposable hose 10 and the rubber ball 11 are abandoned, the cross infection is avoided, the medical sanitation is ensured, when lavage is needed, the cleaning liquid can be injected into the liquid collecting bottle 4, the electric air pump 12 is started, the electric air pump 12 is inflated, positive pressure is formed in the liquid collecting bottle 4, the washing liquid is followed rubber ball 11 and is erupted, accomplishes the lavage process, opens one-way liquid valve 7 completely this moment, avoids one-way liquid valve 7 to prevent the washing liquid to flow, in specific use, this utility model accessible main part nut 3 is fixed on the bronchoscope, and medical personnel need not to hold this utility model main part in addition, only need control rubber ball 11 positions can, make things convenient for medical personnel to carry out operations such as collection phlegm lavage, reduced medical personnel's the work degree of difficulty.
In the description of the present invention, unless otherwise expressly specified or limited, the terms "mounted," "connected," and "fixed" are to be construed broadly, e.g., as meaning either a fixed connection, a removable connection, or an integral part; can be mechanically or electrically connected; either directly or indirectly through intervening media, either internally or in any other relationship. The specific meanings of the above terms in the present invention can be understood in specific cases to those skilled in the art.
The standard parts used in the utility model can be purchased from the market, the special-shaped parts can be customized according to the description of the specification and the accompanying drawings, the specific connection mode of each part adopts conventional means such as bolts, rivets, welding and the like mature in the prior art, the machines, the parts and equipment adopt conventional models in the prior art, and the circuit connection adopts the conventional connection mode in the prior art, so that the detailed description is omitted.
Although embodiments of the present invention have been shown and described, it will be appreciated by those skilled in the art that changes, modifications, substitutions and alterations can be made in these embodiments without departing from the principles and spirit of the utility model, the scope of which is defined in the appended claims and their equivalents.

Claims (5)

1. Joint formula bronchoscope collection phlegm lavage recoverer, including main part shell (1), its characterized in that: the lower surface of the main body shell (1) is provided with a liquid collecting bottle screw cap (2), the liquid collecting bottle screw cap (2) is spirally connected with a liquid collecting bottle (4), one end of a rubber hose (5) and one end of a rubber hose (6) are arranged in the liquid collecting bottle (4), the lower surface of the main body shell (1) is provided with two openings, the other ends of the rubber hose (5) and the rubber hose (6) respectively extend into the main body shell (1) through the two openings on the lower surface of the main body shell (1), the left surface of the main body shell (1) is provided with an opening, one end of the rubber hose (5) extending into the main body shell (1) extends out of the main body shell (1) through the opening on the left surface of the main body shell (1), one end of the rubber hose (5) extending out of the main body shell (1) is provided with a one-way liquid valve (7), the output end of the one-way liquid valve (7) is provided with a hose screw cap (8), hose nut (8) screwed connection has hose screw (9), the left surface of hose screw (9) is equipped with disposable hose (10), the left end of disposable hose (10) is equipped with rubber ball (11), the surface of rubber ball (11) is equipped with the round mouth, the inside lower surface of main part shell (1) is equipped with electronic air pump (12), the output of electronic air pump (12) is connected with No. two rubber hose (6).
2. The jointed bronchoscope sputum collection and lavage recoverer of claim 1, wherein: the lower surface of the inside of the main body shell (1) is provided with a charging source (13), the upper surface of the charging source (13) is provided with a charging port (14), the upper surface of the main body shell (1) is provided with a charging groove, the position of the charging groove corresponds to the charging port (14), and the charging source (13) is electrically connected with an electric air pump (12).
3. The jointed bronchoscope sputum collection and lavage recoverer of claim 2, wherein: the upper surface of main part shell (1) is equipped with control switch (15), control switch (15) electricity is connected with electronic air pump (12).
4. The jointed bronchoscope sputum collection and lavage recoverer of claim 3, wherein: the upper surface of a rubber hose (5) is equipped with gauge rod (16), the top of gauge rod (16) stretches out the upper surface of main part shell (1) and is equipped with manometer (17), the upper surface of main part shell (1) is equipped with bee calling organ (18), bee calling organ (18) are connected with charging power supply (13) and manometer (17) electricity.
5. The jointed bronchoscope sputum collection and lavage recoverer of claim 1, wherein: the right surface of the main body shell (1) is provided with a main body nut (3).
CN202121257957.6U 2021-06-07 2021-06-07 Joint type bronchoscope phlegm-collecting lavage recoverer Expired - Fee Related CN215993915U (en)

Priority Applications (1)

Application Number Priority Date Filing Date Title
CN202121257957.6U CN215993915U (en) 2021-06-07 2021-06-07 Joint type bronchoscope phlegm-collecting lavage recoverer

Applications Claiming Priority (1)

Application Number Priority Date Filing Date Title
CN202121257957.6U CN215993915U (en) 2021-06-07 2021-06-07 Joint type bronchoscope phlegm-collecting lavage recoverer

Publications (1)

Publication Number Publication Date
CN215993915U true CN215993915U (en) 2022-03-11

Family

ID=80524023

Family Applications (1)

Application Number Title Priority Date Filing Date
CN202121257957.6U Expired - Fee Related CN215993915U (en) 2021-06-07 2021-06-07 Joint type bronchoscope phlegm-collecting lavage recoverer

Country Status (1)

Country Link
CN (1) CN215993915U (en)

Similar Documents

Publication Publication Date Title
CN209734643U (en) A urological flushing device
CN215993915U (en) Joint type bronchoscope phlegm-collecting lavage recoverer
CN210750512U (en) A sputum suction device for otolaryngology
CN205163743U (en) Disposable mirror firmly attracts pipe
CN219332704U (en) Closed sputum aspirator tube convenient to operation and sputum are collected
CN219517329U (en) Sputum aspirator
CN204671356U (en) A kind of Urology Surgery o urethral catheterization device
CN210078388U (en) An endoscope hand-held sputum suction device for respiratory department
CN204951916U (en) Department of cardiovascular surgery drainage tube
CN211096420U (en) Portable easy-to-wash sputum aspirator
CN210932957U (en) Novel suction tube of suction apparatus
CN210811425U (en) Cleaning structure for curettage in obstetrics and gynecology
CN211096366U (en) Portable sputum aspirator
CN218187413U (en) Negative pressure ball with adjusting function
CN218165245U (en) A controllable variable pressure cystoscope flushing device
CN208551944U (en) Brain Tumor Retractor
CN110237389A (en) A kind of trachea cannula
CN205252270U (en) Multi -functional visual larynx fiber crops device
CN214128495U (en) Joint type bronchoscope phlegm-collecting lavage recoverer
CN221557031U (en) Sputum scab remover for respiratory clinic
CN216439704U (en) Novel visual sputum suction tube
CN221535091U (en) Disposable negative pressure drainage device
CN219148917U (en) Special sputum aspirator
CN221888833U (en) A new type of sputum suction and flushing device
CN221045251U (en) Visual oral sputum aspirator

Legal Events

Date Code Title Description
GR01 Patent grant
GR01 Patent grant
CF01 Termination of patent right due to non-payment of annual fee
CF01 Termination of patent right due to non-payment of annual fee

Granted publication date: 20220311