CN215916073U - Orotracheal intubation fixation device for edentulous patients - Google Patents

Orotracheal intubation fixation device for edentulous patients Download PDF

Info

Publication number
CN215916073U
CN215916073U CN202120179328.XU CN202120179328U CN215916073U CN 215916073 U CN215916073 U CN 215916073U CN 202120179328 U CN202120179328 U CN 202120179328U CN 215916073 U CN215916073 U CN 215916073U
Authority
CN
China
Prior art keywords
fixing
pad
fixing device
device suitable
cover
Prior art date
Legal status (The legal status is an assumption and is not a legal conclusion. Google has not performed a legal analysis and makes no representation as to the accuracy of the status listed.)
Expired - Fee Related
Application number
CN202120179328.XU
Other languages
Chinese (zh)
Inventor
冯艳兰
张楠
王茜
吕佳楠
杨薇
潘倩
Current Assignee (The listed assignees may be inaccurate. Google has not performed a legal analysis and makes no representation or warranty as to the accuracy of the list.)
Air Force Medical University
Original Assignee
Air Force Medical University
Priority date (The priority date is an assumption and is not a legal conclusion. Google has not performed a legal analysis and makes no representation as to the accuracy of the date listed.)
Filing date
Publication date
Application filed by Air Force Medical University filed Critical Air Force Medical University
Priority to CN202120179328.XU priority Critical patent/CN215916073U/en
Application granted granted Critical
Publication of CN215916073U publication Critical patent/CN215916073U/en
Expired - Fee Related legal-status Critical Current
Anticipated expiration legal-status Critical

Links

Images

Landscapes

  • Dental Tools And Instruments Or Auxiliary Dental Instruments (AREA)

Abstract

本实用新型公开了适用于无牙患者的经口气管插管固定装置,其包括:固定罩本体,其包括固定罩、其设有一供气管插管穿过的通孔以及设于其两端的固定带体;牙垫组件,其包括下牙垫和上牙垫,其分别设于所述固定罩的内壁处且对应患者的牙齿位置设置且所述上牙垫可沿着上下方向上移动;气管插管固定组件,其插设于所述通孔处,用于夹持所述气管插管。本实用新型提供了一种适用于无牙患者的经口气管插管固定装置,其通过设置气管插管固定组件于该固定罩处,其可有效固定气管插管于无牙患者的口中,从而有效避免牙龈免受损害以及气管插管变形的问题发生。

Figure 202120179328

The utility model discloses an oral tracheal intubation fixing device suitable for edentulous patients, which comprises: a fixing cover body, which comprises a fixing cover, a through hole for the tracheal cannula to pass through, and a fixing cover arranged at both ends of the fixing cover. A belt body; a tooth pad assembly, which includes a lower tooth pad and an upper tooth pad, which are respectively arranged on the inner wall of the fixed cover and are arranged corresponding to the position of the patient's teeth, and the upper tooth pad can move up and down along the upper and lower directions; the trachea An intubation fixing assembly, which is inserted at the through hole and used for clamping the tracheal intubation. The utility model provides an oral tracheal intubation fixing device suitable for edentulous patients, which can effectively fix the tracheal intubation in the mouth of the edentulous patient by arranging a tracheal intubation fixing component at the fixing cover, thereby Effectively avoid the problem of gum damage and tracheal intubation deformation.

Figure 202120179328

Description

Oral trachea cannula fixing device suitable for toothless patient
Technical Field
The utility model relates to the technical field of medical auxiliary instruments, in particular to an oral trachea cannula fixing device suitable for a toothless patient.
Background
In the treatment of critical patients and critical patients in clinical practice, the insertion of a tracheal cannula through the oral cavity is a common method for resuscitation, respiratory muscle paralysis rescue, surgical anesthesia, airway opening and the like of patients.
The patient without teeth has no front teeth to fix the tooth pad, and the clear-headed patient uses the tongue to push out the tooth pad, so that the tracheal cannula is separated along with the tooth pad, and the unplanned tube drawing rate is increased; because the gauze of the trachea cannula frequently needs to be replaced, the perioral skin injury, the gum injury, the oral mucosa complication and the like of the patient are easily caused, the pain of the patient is increased, the hospitalization cost of the patient is increased, the workload of a nurse is increased, and the efficiency is also reduced.
For the foregoing reasons, there is a strong need to design an oral endotracheal intubation fixation device suitable for use in an edentulous patient that overcomes the above-mentioned problems.
SUMMERY OF THE UTILITY MODEL
The utility model aims to overcome the defects in the prior art and provides an oral tracheal intubation fixing device suitable for a toothless patient.
In order to achieve the above purpose, the present invention mainly provides the following technical solutions:
an oral endotracheal tube securement device adapted for use with a toothless patient, comprising:
the fixing cover body comprises a fixing cover, a fixing belt body and a fixing belt body, wherein the fixing cover is provided with a through hole for an air supply pipe to penetrate through and the fixing belt body is arranged at two ends of the fixing cover;
the bite block assembly comprises a lower bite block and an upper bite block, the lower bite block and the upper bite block are respectively arranged on the inner wall of the fixed cover and are arranged corresponding to the positions of teeth of a patient, and the upper bite block can move in the up-and-down direction;
and the trachea cannula fixing component is inserted in the through hole and used for clamping the trachea cannula.
Further, the tracheal cannula fixing component is cylindrical; which comprises an outer wall, an air bag cavity and an inner cushion from outside to inside in sequence;
the air bag cavity is an annular air bag annularly arranged between the outer wall and the inner cushion, and an inflation nozzle of the air bag cavity is connected with an inflation assembly.
Furthermore, a plurality of lugs are uniformly distributed on the outer wall and attached to the periphery of the fixing cover corresponding to the through holes; the ear part is screwed into the corresponding positioning hole on the fixed cover through a positioning bolt.
Further, the outer wall is made of medical plastic;
the inner pad is made of an anti-slip silica gel pad.
Furthermore, a screw rod is arranged on the back of the upper bite block, penetrates out of a screw hole correspondingly arranged on the fixing cover and is fixedly connected with the screw rod through a nut;
the screw rods are two and are respectively arranged at the left end and the right end of the fixed cover.
Furthermore, a dustproof silicon film is arranged on one side of each screw hole, which corresponds to the outer wall of the fixing cover;
the dustproof silica gel film is attached to the position of the screw hole.
Furthermore, the upper bite block and the lower bite block comprise an outer cushion composed of medical silica gel and a soft silica gel cushion laid in the outer cushion;
the outer pad is respectively connected with the fixed cover.
Furthermore, the fixed cover is rectangular and is buckled on the oral cavity of the patient; the fixed cover has a radian which is in accordance with the lip shape of the human mouth;
and a layer of pressure reducing pad is attached to the inner wall of the fixed cover.
Furthermore, the fixed belt body comprises elastic belt bodies which are respectively arranged at two sides and are provided with ear hanging parts;
the end parts of the fixing belt bodies are connected by thread gluing.
Compared with the prior art, the utility model has the following beneficial effects:
the oral trachea cannula fixing device suitable for the toothless patient is suitable for the toothless patient by arranging the fixing cover body, the bite block assembly and the trachea cannula fixing assembly, not only can fix the teeth of the patient, but also can effectively fix the trachea cannula to prevent the trachea cannula from moving;
according to the oral trachea cannula fixing device suitable for the toothless patient, the trachea cannula is inserted into the trachea cannula fixing component and is fully fixed by injecting gas, so that the problem of tube falling caused by movement of the position of the trachea cannula is solved;
the oral trachea cannula fixing device suitable for the toothless patient has the characteristics of novel structural design, convenience and practicability, so that the toothless patient can wear the tooth pad comfortably, and the gum of the toothless patient is prevented from being worn; the toothless patient can wear the tooth pad comfortably, and the gum of the toothless patient can be prevented from being worn.
The foregoing is a summary of the present invention, and in order to provide a clear understanding of the technical means of the present invention and to enable the same to be carried into effect in accordance with the present specification, the following detailed description of the preferred embodiments of the present invention is provided in conjunction with the accompanying drawings.
Drawings
In order to more clearly illustrate the embodiments of the present invention or the technical solutions in the prior art, the drawings used in the description of the embodiments or the prior art will be briefly described below, it is obvious that the drawings in the following description are only some embodiments of the present invention, and for those skilled in the art, other drawings can be obtained according to the drawings without creative efforts.
FIG. 1 is a schematic view of the oral endotracheal tube fixing device of the present invention adapted for use in a non-dental patient;
FIG. 2 is another schematic view of the present invention showing an oral endotracheal tube fixing device adapted for use in a non-dental patient;
FIG. 3 is a schematic view of the upper bite block of the present invention;
FIG. 4 is a schematic structural view of an endotracheal tube fixing assembly of the present invention;
FIG. 5 is a schematic structural view of the inflation assembly of the present invention;
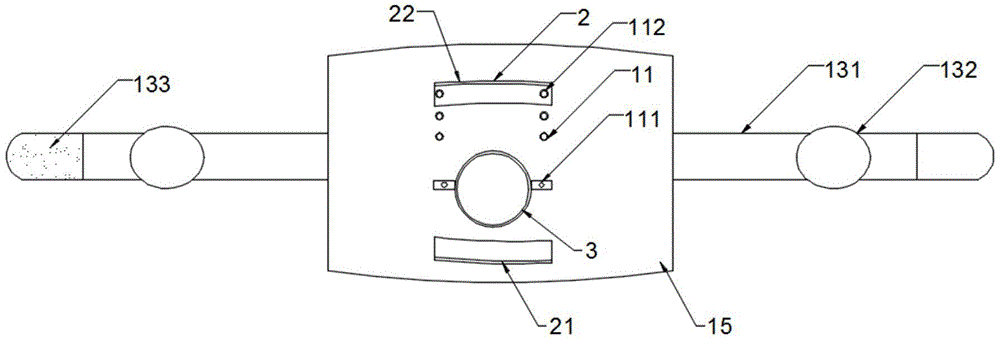
description of reference numerals:
1. a fixed cover body; 11. a fixed cover; 12. a through hole; 13. fixing the belt body; 111. positioning holes; 112. a screw hole; 15. a pressure reducing pad; 131. an elastic belt body; 132. an ear-hanging part; 133. sticking a thread;
2. a bite block assembly; 21. a lower bite block; 22. an upper bite block; 23. a screw; 211. an outer cushion; 212. a soft silica gel pad;
3. a tracheal cannula fixation assembly; 31. an outer wall; 32. a balloon lumen; 33. an inner cushion; 321. an air charging nozzle; 34. an ear portion; 35. positioning the bolt;
4. an inflation assembly; 41. an inflation tube; 42. a manual inflator;
Detailed Description
To further illustrate the technical means and effects of the present invention for achieving the intended purpose of the present invention, the following detailed description will be given to the detailed embodiments, structures, features and effects of the oral endotracheal intubation fixing device for the toothless patient according to the present invention with reference to the accompanying drawings and preferred embodiments.
As shown in fig. 1 to 5, the oral endotracheal tube fixing device of the present invention adapted to a toothless patient includes:
the fixing cover comprises a fixing cover body 1 and a fixing cover body, wherein the fixing cover body 1 comprises a fixing cover 11, a through hole 12 formed in the fixing cover body and used for allowing an air supply pipe to penetrate through, and fixing belt bodies 13 arranged at two ends of the fixing cover body;
a bite block assembly 2 including a lower bite block 21 and an upper bite block 22 which are respectively provided at an inner wall of the fixing cover 11 and are disposed corresponding to positions of teeth of a patient and the upper bite block 22 is movable in an up-and-down direction;
the trachea cannula fixing component 3 is inserted into the through hole 12 and used for clamping the trachea cannula.
The utility model provides an oral trachea cannula fixing device that is applicable to no tooth patient of the embodiment of this application, its in-process of using:
the medical staff selects the trachea cannula fixing device with proper specification and size according to the condition of the patient, firstly, the position of the upper bite block 22 can be adjusted according to the condition of the patient, and after the device is adjusted to the proper position, the device is placed in the oral cavity of the patient, so that the upper and lower gingiva of the device respectively correspond to the upper bite block 22 and the lower bite block 21; then the fixing belt body 13 is wound at the position behind the brain from the ear part 34 for fixing; after the trachea cannula is fixed, the trachea cannula can be inserted into the oral cavity from the trachea cannula fixing component 3 to be inserted into a proper position, and medical personnel pinch the manual inflator pump 42 to rapidly inflate the annular air bag of the trachea cannula fixing component 3 so as to fully fix the trachea cannula and avoid the trachea cannula from displacing.
It should be noted that when the patient's mouth needs to be changed in size or another tube such as a sputum suction tube needs to be inserted, the position of the upper bite block 22 is adjusted to insert another tube.
As shown in fig. 4, the oral endotracheal tube fixing device of the present invention is suitable for a toothless patient, wherein the endotracheal tube fixing component 3 is cylindrical; which comprises an outer wall 31, an air bag cavity 32 and an inner cushion 33 from outside to inside in sequence;
the air bag cavity 32 is an annular air bag annularly arranged between the outer wall 31 and the inner cushion 33, and an inflating nozzle 321 of the air bag cavity is connected with an inflating assembly 4.
The oral trachea cannula fixing device suitable for the toothless patient is characterized in that the trachea cannula fixing component 3 is multi-layer, an annular air bag is arranged on the inner wall of the trachea cannula fixing component, and the purpose of fixing the trachea cannula can be achieved in an inflating mode.
It should be further noted that the inflation assembly 4 is composed of a common manual inflator 42 and an inflation tube 41, and can be stored after being used; the inflation assembly 4 is small in size because it inflates the annular bladder, which is small in volume.
As shown in fig. 4, in the orotracheal intubation fixation device for the toothless patient according to the present invention, a plurality of ear portions 34 are uniformly distributed on the outer wall 31, and the ear portions 34 are attached to the periphery of the fixation cover 11 corresponding to the through holes 12; the ear portion 34 is screwed into a positioning hole 111 correspondingly formed on the fixing cover 11 through a positioning bolt 35.
The oral trachea cannula fixing device suitable for the toothless patient of the embodiment of the application is characterized in that the trachea cannula fixing component 3 is detachably arranged on the fixing cover 11 and is fixed on the fixing cover 11 through the positioning bolt 35.
As shown in fig. 4, the oral endotracheal intubation fixing device of the present invention, which is suitable for a toothless patient, is characterized in that the outer wall 31 is made of medical plastic; the inner pad 33 is made of an anti-slip silica gel pad.
As shown in fig. 3, in the oral endotracheal intubation fixing device applicable to the toothless patient according to the present invention, a screw 23 is disposed on the back of the upper bite block 22, and penetrates through a screw hole 112 correspondingly disposed on the fixing cover 11 and is fixedly connected with the screw through a nut; the number of the screws 23 is two, and the screws are respectively arranged at the left end and the right end of the fixed cover 11.
In the oral endotracheal intubation fixing device applied to the toothless patient according to the embodiment of the present application, in order to facilitate the position movement of the upper bite block 22, the screw 23 is specifically provided to be inserted into the screw hole 112 at the corresponding position, so that the position adjustment thereof can be facilitated.
As shown in fig. 2, in the oral endotracheal intubation fixing device applicable to the toothless patient of the present invention, a dustproof silicone membrane is disposed on one side of each screw hole 112 corresponding to the outer wall 31 of the fixing cover 11;
the dustproof silicone membrane is attached to the position of the screw hole 112.
The oral trachea cannula fixing device suitable for the toothless patient of the embodiment of the application is specially provided with a dustproof silicon membrane at the screw hole 112 in order to avoid dust and other inlet cavities.
As shown in fig. 2, the oral endotracheal intubation fixing device of the present invention is suitable for a toothless patient, wherein the upper bite block 22 and the lower bite block 21 comprise an outer cushion 211 made of medical silica gel and a soft silica gel cushion 212 laid therein; the outer pads 211 are connected to the fixing covers 11, respectively.
The oral trachea cannula fixing device suitable for the toothless patient of the embodiment of the application, should go up bite-block 22 and lower bite-block 21 and comprise outer pad 211 and soft silica gel pad 212, not only be convenient for with should go up bite-block 22 and lower bite-block 21 be fixed in this fixed cover 11 on and avoid the injury to the gum of trading.
As shown in fig. 1, the fixing device for an oral endotracheal intubation in accordance with the present invention is suitable for a toothless patient, wherein the fixing cover 11 is rectangular and is fastened to the oral cavity of the patient; the fixed cover 11 has a radian which is in accordance with the lip shape of the human mouth; a layer of pressure reducing pad 15 is attached to the inner wall of the fixed cover 11.
The oral trachea cannula fixing device suitable for the toothless patient of the embodiment of the application is characterized in that the fixing cover 11 is specially arranged to be arc-shaped and is in form fit with the mouth and the lip of the human body in order to improve the comfort degree of the patient.
As shown in fig. 1, the fixing device for oral endotracheal intubation according to the present invention, which is suitable for a toothless patient, comprises an elastic band body 131 disposed at two sides and provided with an ear hanging portion 132; the ends of the fixing belt body 13 are connected by a hook and loop fastener 133.
The oral endotracheal intubation fixing device for the toothless patient according to the embodiment of the present application is configured such that the fixing band body 13 is sufficiently fixed around the ear 34 of the patient at the hindbrain.
The present invention has been further described with reference to the examples, but the present invention is not limited to the above-described embodiments, and various changes can be made without departing from the spirit of the present invention within the knowledge of those skilled in the art.

Claims (9)

1.适用于无牙患者的经口气管插管固定装置,其特征在于,其包括:1. An orotracheal intubation fixing device suitable for edentulous patients, characterized in that it comprises: 固定罩本体(1),其包括固定罩(11)、其设有一供气管插管穿过的通孔(12)以及设于其两端的固定带体(13);A fixed cover body (1), comprising a fixed cover (11), a through hole (12) through which an air supply tube cannula passes, and a fixed belt body (13) provided at both ends of the fixed cover; 牙垫组件(2),其包括下牙垫(21)和上牙垫(22),其分别设于所述固定罩(11)的内壁处且对应患者的牙齿位置设置且所述上牙垫(22)可沿着上下方向上移动;A tooth pad assembly (2), comprising a lower tooth pad (21) and an upper tooth pad (22), which are respectively provided at the inner wall of the fixing cover (11) and are arranged corresponding to the position of a patient's teeth and the upper tooth pad (22) It can move up and down along the up and down direction; 气管插管固定组件(3),其插设于所述通孔(12)处,用于夹持所述气管插管。An endotracheal tube fixing assembly (3) is inserted at the through hole (12) and used for clamping the endotracheal tube. 2.根据权利要求1所述的适用于无牙患者的经口气管插管固定装置,其特征在于:2. The orotracheal intubation fixing device suitable for edentulous patients according to claim 1, characterized in that: 所述气管插管固定组件(3)为筒状;其由外至内依次包括外壁(31)、气囊腔(32)和内里垫(33);The endotracheal intubation fixing assembly (3) is cylindrical; it includes an outer wall (31), a balloon cavity (32) and an inner cushion (33) in sequence from the outside to the inside; 所述气囊腔(32)为环设于所述外壁(31)和内里垫(33)之间的环状气囊,其充气嘴(321)处连接一充气组件(4)。The air bag cavity (32) is an annular air bag annularly arranged between the outer wall (31) and the inner cushion (33), and an inflation component (4) is connected to the inflation nozzle (321). 3.根据权利要求2所述的适用于无牙患者的经口气管插管固定装置,其特征在于:3. The orotracheal intubation fixing device suitable for edentulous patients according to claim 2, characterized in that: 所述外壁(31)上设有均匀分布的多个耳部(34),所述耳部(34)贴附于所述固定罩(11)对应所述通孔(12)的周边;所述耳部(34)处通过一定位螺栓(35)旋入所述固定罩(11)上对应设置的定位孔(111)内。The outer wall (31) is provided with a plurality of ears (34) evenly distributed, and the ears (34) are attached to the periphery of the fixing cover (11) corresponding to the through hole (12); the The ear portion (34) is screwed into a corresponding positioning hole (111) on the fixing cover (11) through a positioning bolt (35). 4.根据权利要求3所述的适用于无牙患者的经口气管插管固定装置,其特征在于:4. The orotracheal intubation fixing device suitable for edentulous patients according to claim 3, characterized in that: 所述外壁(31)采用医用塑料制成;The outer wall (31) is made of medical plastic; 所述内里垫(33)采用防滑硅胶垫制成。The inner pad (33) is made of a non-slip silicone pad. 5.根据权利要求1所述的适用于无牙患者的经口气管插管固定装置,其特征在于:5. The orotracheal intubation fixing device suitable for edentulous patients according to claim 1, wherein: 所述上牙垫(22)的背面设有螺杆(23),其从所述固定罩(11)上对应设置的螺孔(112)处穿出且通过螺母固定连接;The back of the upper tooth pad (22) is provided with a screw rod (23), which protrudes from the screw hole (112) correspondingly provided on the fixing cover (11) and is fixedly connected by a nut; 所述螺杆(23)为两个,且分别设于所述固定罩(11)的左右两端。There are two screws (23), which are respectively arranged at the left and right ends of the fixed cover (11). 6.根据权利要求5所述的适用于无牙患者的经口气管插管固定装置,其特征在于:6. The orotracheal intubation fixing device suitable for edentulous patients according to claim 5, characterized in that: 各个螺孔(112)对应所述固定罩(11)的外壁(31)一侧设有防尘硅胶膜;Each screw hole (112) is provided with a dust-proof silicone film on one side corresponding to the outer wall (31) of the fixing cover (11); 所述防尘硅胶膜贴附于所述螺孔(112)的位置。The dustproof silicone film is attached to the position of the screw hole (112). 7.根据权利要求1所述的适用于无牙患者的经口气管插管固定装置,其特征在于:7. The orotracheal intubation fixing device suitable for edentulous patients according to claim 1, characterized in that: 所述上牙垫(22)和下牙垫(21)包括由医用硅胶组成的外垫(211)和铺设于其内的软质硅胶垫(212)组成;The upper dental pad (22) and the lower dental pad (21) comprise an outer pad (211) composed of medical silica gel and a soft silica gel pad (212) laid therein; 所述外垫(211)分别与所述固定罩(11)连接。The outer pads (211) are respectively connected with the fixing cover (11). 8.根据权利要求1所述的适用于无牙患者的经口气管插管固定装置,其特征在于:8. The orotracheal intubation fixing device suitable for edentulous patients according to claim 1, characterized in that: 所述固定罩(11)为矩形且其扣设于患者的口腔部位;所述固定罩(11)具有弧度其与人体口唇部形态符合;The fixed cover (11) is rectangular and is fastened to the patient's oral cavity; the fixed cover (11) has an arc which conforms to the shape of the human lips; 所述固定罩(11)的内壁贴附一层减压垫(15)。A layer of decompression pad (15) is attached to the inner wall of the fixed cover (11). 9.根据权利要求1所述的适用于无牙患者的经口气管插管固定装置,其特征在于:9. The orotracheal intubation fixing device suitable for edentulous patients according to claim 1, characterized in that: 所述固定带体(13)包括分设于两侧的弹性带体(131)且其上设有耳挂部(132);The fixing belt body (13) comprises elastic belt bodies (131) arranged on both sides and ear hooks (132) are arranged thereon; 所述固定带体(13)的端部由粘扣(133)连接。The ends of the fixing belt body (13) are connected by a hook and loop fastener (133).
CN202120179328.XU 2021-01-22 2021-01-22 Orotracheal intubation fixation device for edentulous patients Expired - Fee Related CN215916073U (en)

Priority Applications (1)

Application Number Priority Date Filing Date Title
CN202120179328.XU CN215916073U (en) 2021-01-22 2021-01-22 Orotracheal intubation fixation device for edentulous patients

Applications Claiming Priority (1)

Application Number Priority Date Filing Date Title
CN202120179328.XU CN215916073U (en) 2021-01-22 2021-01-22 Orotracheal intubation fixation device for edentulous patients

Publications (1)

Publication Number Publication Date
CN215916073U true CN215916073U (en) 2022-03-01

Family

ID=80409523

Family Applications (1)

Application Number Title Priority Date Filing Date
CN202120179328.XU Expired - Fee Related CN215916073U (en) 2021-01-22 2021-01-22 Orotracheal intubation fixation device for edentulous patients

Country Status (1)

Country Link
CN (1) CN215916073U (en)

Cited By (1)

* Cited by examiner, † Cited by third party
Publication number Priority date Publication date Assignee Title
CN117244145A (en) * 2023-11-04 2023-12-19 南方医科大学南方医院 Anti-drop bite-block for tracheal cannula

Cited By (2)

* Cited by examiner, † Cited by third party
Publication number Priority date Publication date Assignee Title
CN117244145A (en) * 2023-11-04 2023-12-19 南方医科大学南方医院 Anti-drop bite-block for tracheal cannula
CN117244145B (en) * 2023-11-04 2024-04-26 南方医科大学南方医院 Anti-drop teeth pad for endotracheal intubation

Similar Documents

Publication Publication Date Title
AU2015310984B2 (en) Sealing mechanism for anaesthetic airway devices
CN106860998A (en) A kind of teeth pad for tracheal cannula
CN204709584U (en) Integral type tracheal cannula fixer
CN204972608U (en) an endotracheal tube
CN215916073U (en) Orotracheal intubation fixation device for edentulous patients
CN108939238A (en) The mouth shape dilator and its application method of oral trachea cannula can be fixed
CN113082429A (en) Trachea cannula integral type fixing device for department of respiration
CN207341998U (en) A kind of trachea cannula
CN209595921U (en) A device for preventing the tongue from falling back in surgical patients
CN211214841U (en) A kind of tracheal tube fixing device for intensive medicine department
CN221845730U (en) Novel trachea cannula
CN223095937U (en) Tooth-protecting type bite fixer capable of strengthening tracheal catheter fixation
CN220025819U (en) A tracheal tube fixation device
CN209108346U (en) The mouth shape dilator of oral trachea cannula can be fixed
CN208049156U (en) Split type mouth plugs in fixator
CN223143917U (en) A dental pad for tracheal intubation
CN217938859U (en) Teeth cushion for trachea cannula
CN219185416U (en) Adjustable trachea cannula fixing device
CN211245029U (en) Disposable Trident Endotracheal Tube Holder
CN220125289U (en) Trachea cannula tooth pad
CN215309436U (en) Double-cuff fixed stomach tube air bag type noninvasive mask
CN223490203U (en) A device for supporting and securing an endotracheal tube.
CN223504651U (en) An integrated device for endotracheal tube fixation and oral suction
CN217014986U (en) Bite-block for general anesthesia trachea cannula in gastroscope operation treatment
CN222854381U (en) Fixing head band for infant nasal obstruction type CPAP breathing machine

Legal Events

Date Code Title Description
GR01 Patent grant
GR01 Patent grant
CF01 Termination of patent right due to non-payment of annual fee

Granted publication date: 20220301

CF01 Termination of patent right due to non-payment of annual fee