CN215295512U - Fan structure of evaporator of refrigerator - Google Patents

Fan structure of evaporator of refrigerator Download PDF

Info

Publication number
CN215295512U
CN215295512U CN202120136806.9U CN202120136806U CN215295512U CN 215295512 U CN215295512 U CN 215295512U CN 202120136806 U CN202120136806 U CN 202120136806U CN 215295512 U CN215295512 U CN 215295512U
Authority
CN
China
Prior art keywords
fan
installation cavity
plate
cabinet body
evaporator
Prior art date
Legal status (The legal status is an assumption and is not a legal conclusion. Google has not performed a legal analysis and makes no representation as to the accuracy of the status listed.)
Expired - Fee Related
Application number
CN202120136806.9U
Other languages
Chinese (zh)
Inventor
文庆祥
林惠权
Current Assignee (The listed assignees may be inaccurate. Google has not performed a legal analysis and makes no representation or warranty as to the accuracy of the list.)
Foshan Nanhai Yue Long Refrigeration Equipment Co ltd
Original Assignee
Foshan Nanhai Yue Long Refrigeration Equipment Co ltd
Priority date (The priority date is an assumption and is not a legal conclusion. Google has not performed a legal analysis and makes no representation as to the accuracy of the date listed.)
Filing date
Publication date
Application filed by Foshan Nanhai Yue Long Refrigeration Equipment Co ltd filed Critical Foshan Nanhai Yue Long Refrigeration Equipment Co ltd
Priority to CN202120136806.9U priority Critical patent/CN215295512U/en
Application granted granted Critical
Publication of CN215295512U publication Critical patent/CN215295512U/en
Expired - Fee Related legal-status Critical Current
Anticipated expiration legal-status Critical

Links

Images

Landscapes

  • Cold Air Circulating Systems And Constructional Details In Refrigerators (AREA)

Abstract

本实用新型公开了一种冷柜蒸发器风机结构,包括柜体,所述柜体内设置有内腔,所述内腔的顶部设置有安装腔,所述安装腔内设置有蒸发器体,且安装腔内设置有风机板固定件,所述蒸发器体上设置有接水板,所述风机板固定件上设置有螺纹孔,所述安装腔内一侧位置设置有风机板体,所述风机板体上设置有两个通风口,两个所述通风口内均设置有风机本体,所述风机板体的外表面设置有连通孔,所述柜体的顶部与安装腔相对应的位置设置有防护顶板,且柜体的顶部两侧分别设置有与安装腔相连通的制冷管路安装凹槽与电气线路安装凹槽。本实用新型中,整个结构连接稳定,使用便捷安全,空间利用率高,保护性强,结构设置规整美观。

Figure 202120136806

The utility model discloses an evaporator fan structure for a refrigerator, which comprises a cabinet body, an inner cavity is arranged in the cabinet body, an installation cavity is arranged at the top of the inner cavity, an evaporator body is arranged in the installation cavity, and the installation cavity is arranged with an evaporator body. A fan plate fixing member is arranged in the cavity, a water receiving plate is arranged on the evaporator body, a threaded hole is arranged on the fan plate fixing member, and a fan plate body is arranged on one side of the installation cavity. The plate body is provided with two ventilation openings, both of which are provided with a fan body, the outer surface of the fan plate body is provided with a communication hole, and the top of the cabinet body is provided with a position corresponding to the installation cavity. The top plate is protected, and two sides of the top of the cabinet are respectively provided with a refrigeration pipeline installation groove and an electrical circuit installation groove communicated with the installation cavity. In the utility model, the connection of the whole structure is stable, the use is convenient and safe, the space utilization rate is high, the protection is strong, and the structural arrangement is neat and beautiful.

Figure 202120136806

Description

Fan structure of evaporator of refrigerator
Technical Field
The utility model relates to a freezer technical field especially relates to a freezer evaporator fan structure.
Background
The refrigerator is called as another refrigerator and cold storage cabinet, the evaporator is an important part in a refrigerator structure, and the fan structure is an important heat exchange part in the evaporator, and along with the development of the technology, the fan structure of the refrigerator evaporator has certain requirements;
some current freezer evaporimeter fan structures install at the top of the cabinet body alone more, adopt high rotational speed axial fan's special-shaped fan cover, realize forced air cooling refrigeration mode, and electrical apparatus circuit and refrigeration pipeline can expose at the box top and mix the setting, and the structure setting lacks the standard pleasing to the eye, has had very big security problem simultaneously, and structure occupation space is big simultaneously, and space utilization is low.
SUMMERY OF THE UTILITY MODEL
The utility model aims at solving the defects existing in the prior art and providing a fan structure of an evaporator of a refrigerator.
In order to achieve the above purpose, the utility model adopts the following technical scheme: a fan structure of a freezer evaporator comprises a cabinet body, wherein an inner cavity is arranged in the cabinet body, an installation cavity is arranged at the top of the inner cavity, an evaporator body is arranged in the installation cavity, a fan plate fixing piece is arranged in the mounting cavity, a water receiving plate is arranged on the evaporator body, a threaded hole is arranged on the fan plate fixing piece, a fan plate body is arranged at one side position in the installation cavity, two ventilation openings are arranged on the fan plate body, fan bodies are arranged in the two ventilation openings, the outer surface of the fan plate body is provided with a communicating hole, the top of the cabinet body is provided with a protective top plate at the position corresponding to the mounting cavity, and both sides of the top of the cabinet body are respectively provided with a refrigeration pipeline mounting groove and an electric circuit mounting groove which are communicated with the mounting cavity, and the top of the cabinet body is provided with a first cover plate and a second cover plate at positions corresponding to the refrigeration pipeline mounting groove and the electric circuit mounting groove respectively.
As a further description of the above technical solution:
the fan board fixing parts are arranged in a plurality of numbers, and the fan board fixing parts are arranged at the center and the edge of the installation cavity respectively.
As a further description of the above technical solution:
two the fan body all adopts the shaded pole fan.
As a further description of the above technical solution:
and the positions corresponding to the two ventilation openings on the fan plate body are provided with dustproof protection nets.
As a further description of the above technical solution:
the communication hole corresponds to the position of the threaded hole.
As a further description of the above technical solution:
the first cover plate and the inner wall of the refrigeration pipeline mounting groove and the second cover plate and the inner wall of the electric circuit mounting groove are fixed in a clamping mode through buckles.
The utility model discloses following beneficial effect has:
the fan structure of the evaporator of the freezer is arranged in the cabinet body through the whole evaporator structure system, the whole structure can be more smooth and beautiful, the space utilization rate is greatly improved, a certain protection effect on the evaporator structure can be realized, meanwhile, the refrigeration pipeline and the electric circuit can be effectively stored and installed in a dispersed and concealed mode through the arranged installation groove structure, the conventional exposed mixed installation at the top is avoided, the regular protection is convenient to carry out, the safety of the pipeline and the circuit in use is improved, the structure has strong protection performance, the evaporator and the water receiving plate are integrally arranged, the drainage work is more convenient, the situation of water flow overflow is avoided, the adopted shaded pole fan has small noise and large air volume, the operation is stable, the space is saved simultaneously, the whole structure is stable in connection, the use is convenient and safe, the space utilization rate is high, the protection nature is strong, and the structure sets up regularly pleasing to the eye, has solved some current freezer evaporator fan structures, and many independent installations are at the top of the cabinet body, adopt high rotational speed axial fan's special-shaped fan cover, realize the forced air cooling refrigeration mode, and electrical apparatus circuit and refrigeration pipeline can expose at the box top and mix the setting, and the structure setting lacks the standard pleasing to the eye, has had very big security problem simultaneously, and structure occupation space is big simultaneously, the problem that space utilization is low.
Drawings
Fig. 1 is a schematic view of the overall structure of a fan structure of an evaporator of a refrigerator according to the present invention;
fig. 2 is the utility model provides a mounting groove position schematic diagram of freezer evaporator fan structure.
Illustration of the drawings:
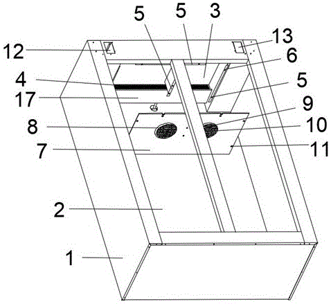
1. a cabinet body; 2. an inner cavity; 3. a mounting cavity; 4. an evaporator body; 5. a fan plate fixing member; 6. a threaded hole; 7. a fan plate body; 8. a vent; 9. a fan body; 10. a dust-proof protection net; 11. a communicating hole; 12. a groove is arranged on the refrigeration pipeline; 13. an electrical line mounting groove; 14. a protective roof; 15. a first cover plate; 16. a second cover plate; 17. a water receiving plate.
Detailed Description
The technical solutions in the embodiments of the present invention will be described clearly and completely with reference to the accompanying drawings in the embodiments of the present invention, and it is obvious that the described embodiments are only some embodiments of the present invention, not all embodiments. Based on the embodiments in the present invention, all other embodiments obtained by a person skilled in the art without creative work belong to the protection scope of the present invention.
In the description of the present invention, it should be noted that the terms "center", "upper", "lower", "left", "right", "vertical", "horizontal", "inner", "outer", and the like indicate orientations or positional relationships based on the orientations or positional relationships shown in the drawings, and are only for convenience of description and simplification of description, but do not indicate or imply that the device or element referred to must have a specific orientation, be constructed and operated in a specific orientation, and thus, should not be construed as limiting the present invention; the terms "first," "second," and "third" are used for descriptive purposes only and are not to be construed as indicating or implying relative importance, and furthermore, unless otherwise explicitly stated or limited, the terms "mounted," "connected," and "connected" are to be construed broadly and may be, for example, fixedly connected, detachably connected, or integrally connected; can be mechanically or electrically connected; they may be connected directly or indirectly through intervening media, or they may be interconnected between two elements. The specific meaning of the above terms in the present invention can be understood in specific cases to those skilled in the art.
Referring to fig. 1-2, the present invention provides an embodiment: a fan structure of a freezer evaporator comprises a cabinet body 1, wherein an inner cavity 2 is arranged in the cabinet body 1, a mounting cavity 3 is arranged at the top of the inner cavity 2, an evaporator body 4 is arranged in the mounting cavity 3, a fan plate fixing part 5 is arranged in the mounting cavity 3, a water receiving plate 17 is arranged on the evaporator body 4, a threaded hole 6 is arranged on the fan plate fixing part 5, a fan plate body 7 is arranged at one side in the mounting cavity 3, two ventilation openings 8 are arranged on the fan plate body 7, a fan body 9 is arranged in each ventilation opening 8, a communication hole 11 is arranged on the outer surface of the fan plate body 7, a protective top plate 14 is arranged at the position, corresponding to the mounting cavity 3, of the top of the cabinet body 1, a refrigeration pipeline mounting groove 12 and an electric circuit mounting groove 13 which are communicated with the mounting cavity 3 are respectively arranged at two sides of the top of the cabinet body 1, the top of the cabinet body 1 and the refrigeration pipeline mounting groove 12, the top of the cabinet body, A first cover 15 and a second cover 16 are respectively provided at positions corresponding to the electric circuit mounting grooves 13.
The fan plate fixing pieces 5 are arranged in plurality, the fan plate fixing pieces 5 are respectively arranged at the center and the edge of the installation cavity 3, and the fan plate fixing pieces 5 can be conveniently butted and installed with a fan plate, so that a stable fixing and protecting effect is achieved, and the stable operation of the fan structure can be ensured; the two fan bodies 9 are all shaded pole fans, and the shaded pole fans are adopted through the structure, so that the fan has the advantages of low noise and large air quantity, is very convenient to use, has excellent heat dissipation performance, and can improve the space utilization rate; the positions of the fan plate body 7 corresponding to the two ventilation openings 8 are provided with dustproof protection nets 10, and the ventilation openings 8 can be well protected from dust through the arrangement of the structure; the position of the communication hole 11 corresponds to that of the threaded hole 6, and the fan plate body 7 can be conveniently installed through the structural arrangement; all fix through the mode of buckle joint between first apron 15 and the 12 inner walls of refrigeration pipeline mounting groove and between second apron 16 and the 13 inner walls of electric lines mounting groove, can play fine guard action to the mounting groove structure through setting up of structure, also can convenient dismantlement simultaneously, conveniently overhaul and install, the circuit and the pipeline of whole structure separately set up simultaneously, conveniently overhaul the maintenance more, can promote the security of structure operation simultaneously.
The working principle is as follows: when using freezer evaporimeter fan structure, evaporimeter body 4 sets up in installation cavity 3, water receiving plate 17 sets up with evaporimeter body 4 an organic whole, more make things convenient for the drainage, pass intercommunicating pore 11 and screw hole 6 butt joint through the screw, can install installation cavity 3 positions with fan plate body 7, can carry out stable heat transfer work through cover utmost point fan, through carrying out regular setting respectively with refrigeration pipeline and electric line, can play stable protection, also promote the safety in utilization of structure simultaneously, and conveniently overhaul work.
Finally, it should be noted that: although the present invention has been described in detail with reference to the foregoing embodiments, it will be apparent to those skilled in the art that modifications and variations can be made in the embodiments or in part of the technical features of the embodiments without departing from the spirit and the scope of the invention.

Claims (6)

1. The utility model provides a freezer evaporimeter fan structure, includes the cabinet body (1), its characterized in that: be provided with inner chamber (2) in the cabinet body (1), the top of inner chamber (2) is provided with installation cavity (3), be provided with evaporimeter body (4) in installation cavity (3), and be provided with fan board mounting (5) in installation cavity (3), be provided with water receiving plate (17) on evaporimeter body (4), be provided with screw hole (6) on fan board mounting (5), one side position is provided with fan plate body (7) in installation cavity (3), be provided with two vents (8) on fan plate body (7), two all be provided with fan body (9) in vent (8), the surface of fan plate body (7) is provided with intercommunicating pore (11), the top of the cabinet body (1) is provided with protection roof (14) with the corresponding position in installation cavity (3), and the top both sides of the cabinet body (1) are provided with refrigeration pipeline mounting groove (12) and the electric wire way that are linked together with installation cavity (3) respectively The refrigerator comprises a cabinet body (1), and mounting grooves (13), wherein a first cover plate (15) and a second cover plate (16) are respectively arranged at the positions, corresponding to the refrigeration pipeline mounting grooves (12) and the electric circuit mounting grooves (13), on the top of the cabinet body (1).
2. The freezer evaporator fan structure of claim 1, wherein: the fan plate fixing pieces (5) are arranged in a plurality of numbers, and the fan plate fixing pieces (5) are arranged at the center and the edge of the installation cavity (3) respectively.
3. The freezer evaporator fan structure of claim 1, wherein: two fan bodies (9) all adopt shaded pole fans.
4. The freezer evaporator fan structure of claim 1, wherein: and the positions, corresponding to the two ventilation openings (8), on the fan plate body (7) are provided with dustproof protection nets (10).
5. The freezer evaporator fan structure of claim 1, wherein: the communication hole (11) corresponds to the position of the threaded hole (6).
6. The freezer evaporator fan structure of claim 1, wherein: the first cover plate (15) and the inner wall of the refrigeration pipeline mounting groove (12) and the second cover plate (16) and the inner wall of the electric circuit mounting groove (13) are fixed in a clamping mode through buckles.
CN202120136806.9U 2021-01-19 2021-01-19 Fan structure of evaporator of refrigerator Expired - Fee Related CN215295512U (en)

Priority Applications (1)

Application Number Priority Date Filing Date Title
CN202120136806.9U CN215295512U (en) 2021-01-19 2021-01-19 Fan structure of evaporator of refrigerator

Applications Claiming Priority (1)

Application Number Priority Date Filing Date Title
CN202120136806.9U CN215295512U (en) 2021-01-19 2021-01-19 Fan structure of evaporator of refrigerator

Publications (1)

Publication Number Publication Date
CN215295512U true CN215295512U (en) 2021-12-24

Family

ID=79529810

Family Applications (1)

Application Number Title Priority Date Filing Date
CN202120136806.9U Expired - Fee Related CN215295512U (en) 2021-01-19 2021-01-19 Fan structure of evaporator of refrigerator

Country Status (1)

Country Link
CN (1) CN215295512U (en)

Similar Documents

Publication Publication Date Title
CN202095232U (en) Heat radiation structure of outdoor cabinet
WO2020073375A1 (en) Air conditioning outdoor unit and air conditioner
CN111817150A (en) Switch board convenient to maintain and overhaul
CN215295512U (en) Fan structure of evaporator of refrigerator
CN209389476U (en) An outdoor distribution box with waterproof, dustproof and heat dissipation functions
CN221930372U (en) Outdoor energy storage cabinet
CN112254225B (en) Electric control box, electrical equipment and air conditioner
CN113784560A (en) An outdoor storage cabinet
CN211822765U (en) Ceiling machine
CN114760810A (en) Energy storage power supply
CN211953024U (en) Ceiling machine
CN203537687U (en) Case
CN212390579U (en) Controller supporting remote and local
CN213403910U (en) Vertical cabinet with adjustable heat dissipation system
CN209748314U (en) Waterproof electric cabinet
CN203369030U (en) Air conditioning device for enclosed space
CN209857291U (en) Water-cooled air conditioner refrigerating device
CN207504368U (en) A kind of electric power cabinet with heat sinking function
CN207780679U (en) A kind of counter body front panel
CN220653824U (en) Cabinet structure with waterproof heat dissipation function
CN112074152A (en) Waterproof heat dissipation air duct structure and electronic equipment
CN221327478U (en) Reactor assembly and air treatment device
CN205448078U (en) Outdoor unit of air conditioner
CN215835001U (en) A kind of ventilation structure of power distribution cabinet
CN216617777U (en) Radiating assembly of wind generating set

Legal Events

Date Code Title Description
GR01 Patent grant
GR01 Patent grant
CF01 Termination of patent right due to non-payment of annual fee
CF01 Termination of patent right due to non-payment of annual fee

Granted publication date: 20211224