CN215284825U - A shock absorber turnover frame - Google Patents

A shock absorber turnover frame Download PDF

Info

Publication number
CN215284825U
CN215284825U CN202023039561.2U CN202023039561U CN215284825U CN 215284825 U CN215284825 U CN 215284825U CN 202023039561 U CN202023039561 U CN 202023039561U CN 215284825 U CN215284825 U CN 215284825U
Authority
CN
China
Prior art keywords
wall
plate
shock absorber
fixedly installed
welded
Prior art date
Legal status (The legal status is an assumption and is not a legal conclusion. Google has not performed a legal analysis and makes no representation as to the accuracy of the status listed.)
Expired - Fee Related
Application number
CN202023039561.2U
Other languages
Chinese (zh)
Inventor
徐信爱
李业华
宋瑞伟
Current Assignee (The listed assignees may be inaccurate. Google has not performed a legal analysis and makes no representation or warranty as to the accuracy of the list.)
Rizhao Runzeng Machinery Co ltd
Original Assignee
Rizhao Runzeng Machinery Co ltd
Priority date (The priority date is an assumption and is not a legal conclusion. Google has not performed a legal analysis and makes no representation as to the accuracy of the date listed.)
Filing date
Publication date
Application filed by Rizhao Runzeng Machinery Co ltd filed Critical Rizhao Runzeng Machinery Co ltd
Priority to CN202023039561.2U priority Critical patent/CN215284825U/en
Application granted granted Critical
Publication of CN215284825U publication Critical patent/CN215284825U/en
Expired - Fee Related legal-status Critical Current
Anticipated expiration legal-status Critical

Links

Images

Landscapes

  • Handcart (AREA)
  • Buffer Packaging (AREA)

Abstract

本实用新型公开了一种减振器周转架,包括支撑板,支撑板的侧边顶部外壁上焊接有周转箱,周转箱的内部固定安装有隔板,周转箱的上方设置有箱盖,且箱盖通过合页与周转箱相连接,箱盖的底部内壁上固定安装有夹紧弹簧,夹紧弹簧的底端固定连接有夹板,支撑板的底部外壁上固定安装有支撑组件,支撑组件的底部外壁上固定安装有万向轮,支撑组件包括安装板,安装板的顶部外壁上焊接有固定壳,固定壳的内部设置有挡板,挡板的顶部外壁上焊接有活动轴,且活动轴穿过固定壳,活动轴的顶端焊接有连接板,活动轴的外壁上套设有缓冲弹簧,连接板上开设有螺孔,周转箱的一侧外壁上固定安装有把手,夹板远离夹紧弹簧的一侧外壁上固定安装有橡胶垫。

Figure 202023039561

The utility model discloses a shock absorber turnover frame, comprising a support plate, a turnover box is welded on the outer wall of the side top of the support plate, a partition plate is fixedly installed inside the turnover box, a box cover is arranged above the turnover box, and The box cover is connected with the turnover box through hinges, the bottom inner wall of the box cover is fixedly installed with a clamping spring, the bottom end of the clamping spring is fixedly connected with a plywood, and the bottom outer wall of the supporting plate is fixedly installed with a supporting component. A universal wheel is fixedly installed on the bottom outer wall, the support assembly includes a mounting plate, a fixed shell is welded on the top outer wall of the mounting plate, a baffle is arranged inside the fixed shell, and a movable shaft is welded on the top outer wall of the baffle, and the movable shaft Passing through the fixed shell, the top of the movable shaft is welded with a connecting plate, the outer wall of the movable shaft is sleeved with a buffer spring, the connecting plate is provided with a screw hole, a handle is fixedly installed on the outer wall of one side of the turnover box, and the plywood is away from the clamping spring A rubber pad is fixedly installed on the outer wall of one side.

Figure 202023039561

Description

All revolving racks of shock absorber
Technical Field
The utility model relates to an all revolving racks specifically are all revolving racks of shock absorber belongs to shock absorber turnover equipment technical field.
Background
The shock absorber is used for inhibiting the vibration of the spring when rebounding after absorbing shock and the impact from the road surface, is widely used for automobiles, and is used for accelerating the attenuation of the vibration of a frame and an automobile body so as to improve the running smoothness of the automobile.
The production and manufacturing process of the shock absorber is divided into a plurality of processing procedures, the shock absorber needs to be circulated, the shock absorber is easy to shake and collide in the circulation and transportation process by using a common trolley, so that damage is caused, in addition, in the circulation process, the circulation frame is easy to vibrate and is not stable enough due to reasons such as ground flatness, and therefore the shock absorber circulation frame is needed.
SUMMERY OF THE UTILITY MODEL
The utility model aims at providing an all revolving racks of shock absorber in order to solve above-mentioned problem, transportation shock absorber that can be steady prevents that the shock absorber from rocking at will.
The utility model discloses a following technical scheme realizes above-mentioned purpose, a all revolving racks of shock absorber, the camera includes a supporting plate, the welding has the turnover case on the side top outer wall of backup pad, the inside fixed mounting of turnover case has the baffle, the top of turnover case is provided with the case lid, just the case lid pass through the hinge with the turnover case is connected, fixed mounting has clamping spring on the bottom inner wall of case lid, clamping spring's bottom fixedly connected with splint, fixed mounting has the supporting component on the bottom outer wall of backup pad, fixed mounting has the universal wheel on the bottom outer wall of supporting component.
Preferably, the partition plate is located in the middle of the turnover box in order to evenly divide the turnover box.
Preferably, in order to guarantee the stability of the whole device, the number of the supporting components is four, and four the supporting components are respectively located at four corners of the supporting plate, connecting rods are welded on the side walls of the supporting components, and the supporting components are adjacent to each other and connected through the connecting rods.
Preferably, in order to guarantee the buffering effect to integrated device, the supporting component includes the mounting panel, the welding has the set casing on the top outer wall of mounting panel, the inside of set casing is provided with the baffle, the welding has the loose axle on the top outer wall of baffle, just the loose axle passes the set casing, the welding of the top of loose axle has the connecting plate, the cover is equipped with buffer spring on the outer wall of loose axle.
Preferably, in order to facilitate installation, the connecting plate is provided with a screw hole.
Preferably, in order to facilitate pulling the integral device, a handle is fixedly mounted on the outer wall of one side of the turnover box.
Preferably, the damper is prevented from being damaged by being clamped, and a rubber pad is fixedly arranged on the outer wall of one side of the clamping plate, which is far away from the clamping spring.
The utility model has the advantages that: the utility model has the advantages that through the arrangement of the box cover, the clamping spring and the clamping plate, after the shock absorber to be circulated is placed in the circulation box, the box cover is locked, the rubber pad on the clamping plate is contacted with the shock absorber, and the clamping spring is deformed, so that the shock absorber is clamped and fixed, and the shock absorber is prevented from being shaken and collided and damaged at will in the transferring process; through the supporting component who sets up, when carrying out the transportation, when the ground unevenness or receive exogenic action, the connecting plate drives the loose axle motion to compression buffer spring produces deformation, can play better cushioning effect to the integrated device like this, guarantees the stationarity in the transportation, and the device simple structure is light nimble, comparatively practical.
Drawings
Fig. 1 is a cross-sectional view of the overall structure of the present invention.
Fig. 2 is a sectional view of the structure of the support assembly of the present invention.
Fig. 3 is a front view of the overall structure of the present invention.
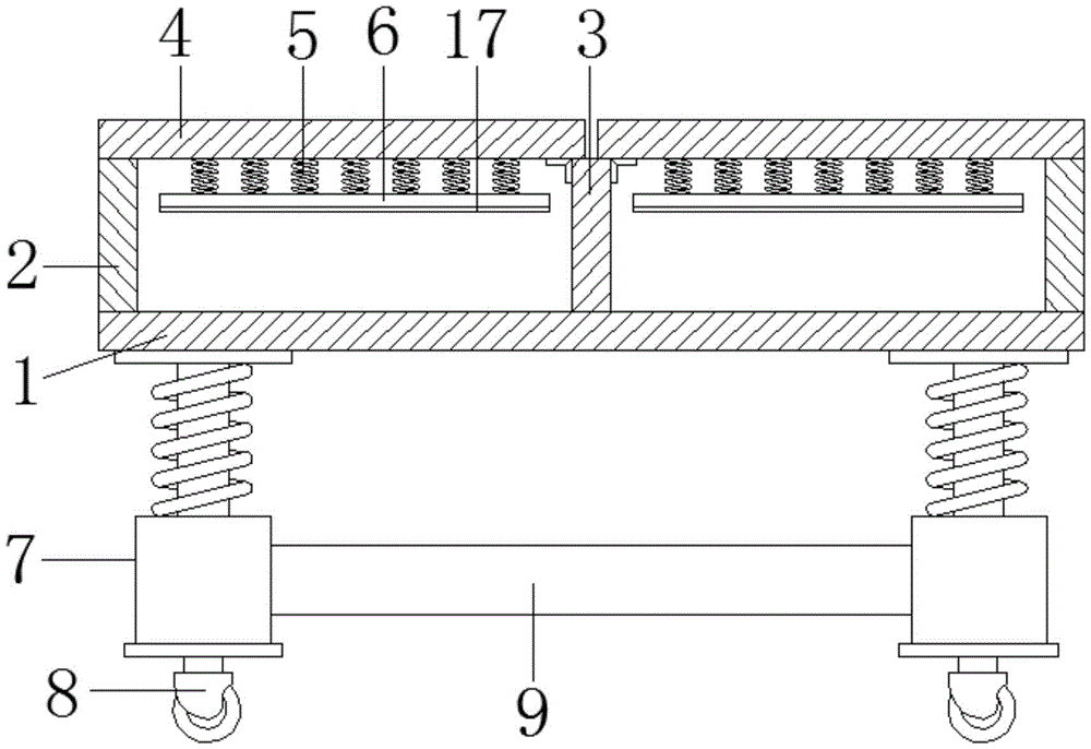
In the figure: 1. the movable box comprises a supporting plate, 2, a turnover box, 3, a partition plate, 4, a box cover, 5, a clamping spring, 6, a clamping plate, 7, a supporting component, 8, universal wheels, 9, a connecting rod, 10, a mounting plate, 11, a fixed shell, 12, a baffle, 13, a movable shaft, 14, a connecting plate, 15, a buffer spring, 16, a handle, 17 and a rubber pad.
Detailed Description
The technical solutions in the embodiments of the present invention will be described clearly and completely with reference to the accompanying drawings in the embodiments of the present invention, and it is obvious that the described embodiments are only some embodiments of the present invention, not all embodiments. Based on the embodiments in the present invention, all other embodiments obtained by a person skilled in the art without creative work belong to the protection scope of the present invention.
Referring to fig. 1-3, a vibration absorber turnover frame comprises a support plate 1, a turnover box 2 is welded on the outer wall of the top of the side edge of the support plate 1, a partition plate 3 is fixedly installed inside the turnover box 2, the partition plate 3 is positioned in the middle of the turnover box 2, a box cover 4 is arranged above the turnover box 2, the box cover 4 is connected with the turnover box 2 through a hinge, a clamping spring 5 is fixedly installed on the inner wall of the bottom of the box cover 4, a clamping plate 6 is fixedly connected to the bottom end of the clamping spring 5, a rubber pad 17 is fixedly installed on the outer wall of one side of the clamping plate 6 far away from the clamping spring 5, after the vibration absorber to be turned over is placed inside the turnover box 2, the box cover 4 is locked, the rubber pad 17 on the clamping plate 6 is in contact with the vibration absorber, the clamping spring 5 is deformed, thereby clamping and fixing the vibration absorber, preventing the vibration absorber from being shaken and collided at will be damaged at will during the transferring process, and the rubber pad 17 can prevent the vibration absorber from being clamped, the supporting component 7 is fixedly mounted on the outer wall of the bottom of the supporting plate 1, and the universal wheel 8 is fixedly mounted on the outer wall of the bottom of the supporting component 7, so that the whole device can be moved conveniently.
As the utility model discloses a technical optimization scheme, the quantity of supporting component 7 is four, and four supporting component 7 are located the four corners of backup pad 1 respectively, and the welding has connecting rod 9 on supporting component 7's the lateral wall, is connected through connecting rod 9 between the adjacent supporting component 7, can guarantee the stability of integrated device in the transportation like this.
As a technical optimization proposal of the utility model, the supporting component 7 comprises a mounting plate 10, a fixed shell 11 is welded on the outer wall of the top part of the mounting plate 10, a baffle plate 12 is arranged inside the fixed shell 11, a movable shaft 13 is welded on the outer wall of the top part of the baffle plate 12, the movable shaft 13 penetrates through the fixed shell 11, a connecting plate 14 is welded at the top end of the movable shaft 13, a screw hole is formed in the connecting plate 14 so as to facilitate installation, a buffer spring 15 is sleeved on the outer wall of the movable shaft 13, when the ground surface is uneven or the turnover box 2 vibrates under the action of external force, the support plate 1, the connecting plate 14, the movable shaft 13 and the baffle plate 12 are driven to move, thereby compression buffer spring 15 produces deformation, can play better cushioning effect to the integrated device like this, guarantees the stationarity of integrated device among the transportation, and baffle 12 can prevent that buffer spring 15 from restoring to the throne in-process loose axle 13 from droing.
As a technical optimization scheme of the utility model, fixed mounting has handle 16 on one side outer wall of turnover case 2, and the staff of being convenient for like this applies the effort through handle 16 and removes the device.
When the utility model is used, firstly the box cover 4 is opened, the shock absorber to be circulated is put into the turnover box 2, the box cover 4 is locked, the rubber pad 17 on the clamping plate 6 is contacted with the shock absorber, the clamping spring 5 is deformed, thereby clamping and fixing the vibration damper, preventing the vibration damper from being damaged by random shaking and collision in the transferring process, preventing the vibration damper from being damaged by clamping by the rubber pad 17, in the transferring process of the whole device under the action of the handle 16 and the universal wheel 8, when the ground is uneven or the turnover box 2 vibrates under the action of external force, the supporting plate 1, the connecting plate 14, the movable shaft 13 and the baffle plate 12 are driven to move, thereby compression buffer spring 15 produces deformation, can play better cushioning effect to the integrated device like this, guarantees the stationarity of integrated device among the transportation, and baffle 12 can prevent that buffer spring 15 from restoring to the throne in-process loose axle 13 from droing.
It is obvious to a person skilled in the art that the invention is not restricted to details of the above-described exemplary embodiments, but that it can be implemented in other specific forms without departing from the spirit or essential characteristics of the invention. The present embodiments are therefore to be considered in all respects as illustrative and not restrictive, the scope of the invention being indicated by the appended claims rather than by the foregoing description, and all changes which come within the meaning and range of equivalency of the claims are therefore intended to be embraced therein. Any reference sign in a claim should not be construed as limiting the claim concerned.
Furthermore, it should be understood that although the present description refers to embodiments, not every embodiment may contain only a single embodiment, and such description is for clarity only, and those skilled in the art should integrate the description, and the embodiments may be combined as appropriate to form other embodiments understood by those skilled in the art.

Claims (7)

1.一种减振器周转架,包括支撑板(1),其特征在于:所述支撑板(1)的侧边顶部外壁上焊接有周转箱(2),所述周转箱(2)的内部固定安装有隔板(3),所述周转箱(2)的上方设置有箱盖(4),且所述箱盖(4)通过合页与所述周转箱(2)相连接,所述箱盖(4)的底部内壁上固定安装有夹紧弹簧(5),所述夹紧弹簧(5)的底端固定连接有夹板(6),所述支撑板(1)的底部外壁上固定安装有支撑组件(7),所述支撑组件(7)的底部外壁上固定安装有万向轮(8)。1. A shock absorber turnover frame, comprising a support plate (1), characterized in that: a turnover box (2) is welded on the outer wall of the side top of the support plate (1), and a turnover box (2) is welded. A partition (3) is fixedly installed inside, a box cover (4) is arranged above the turnover box (2), and the box cover (4) is connected with the turnover box (2) through hinges, so A clamping spring (5) is fixedly installed on the bottom inner wall of the box cover (4), a clamping plate (6) is fixedly connected to the bottom end of the clamping spring (5), and a bottom outer wall of the supporting plate (1) A support assembly (7) is fixedly installed, and a universal wheel (8) is fixedly installed on the bottom outer wall of the support assembly (7). 2.根据权利要求1所述的一种减振器周转架,其特征在于:所述隔板(3)位于所述周转箱(2)的中间。2. A shock absorber turnover frame according to claim 1, characterized in that: the partition plate (3) is located in the middle of the turnover box (2). 3.根据权利要求1所述的一种减振器周转架,其特征在于:所述支撑组件(7)的数量为四个,且四个所述支撑组件(7)分别位于所述支撑板(1)的四角,所述支撑组件(7)的侧壁上焊接有连接杆(9),相邻的所述支撑组件(7)之间通过所述连接杆(9)相连接。3. A shock absorber revolving frame according to claim 1, characterized in that: the number of the support assemblies (7) is four, and the four support assemblies (7) are respectively located on the support plate In the four corners of (1), connecting rods (9) are welded on the side walls of the support assemblies (7), and the adjacent support assemblies (7) are connected by the connecting rods (9). 4.根据权利要求1所述的一种减振器周转架,其特征在于:所述支撑组件(7)包括安装板(10),所述安装板(10)的顶部外壁上焊接有固定壳(11),所述固定壳(11)的内部设置有挡板(12),所述挡板(12)的顶部外壁上焊接有活动轴(13),且所述活动轴(13)穿过所述固定壳(11),所述活动轴(13)的顶端焊接有连接板(14),所述活动轴(13)的外壁上套设有缓冲弹簧(15)。4. A shock absorber revolving frame according to claim 1, characterized in that: the support assembly (7) comprises a mounting plate (10), and a fixed shell is welded on the top outer wall of the mounting plate (10). (11), a baffle plate (12) is arranged inside the fixed shell (11), a movable shaft (13) is welded on the top outer wall of the baffle plate (12), and the movable shaft (13) passes through In the fixed shell (11), the top end of the movable shaft (13) is welded with a connecting plate (14), and a buffer spring (15) is sleeved on the outer wall of the movable shaft (13). 5.根据权利要求4所述的一种减振器周转架,其特征在于:所述连接板(14)上开设有螺孔。5 . The shock absorber revolving frame according to claim 4 , wherein the connecting plate ( 14 ) is provided with screw holes. 6 . 6.根据权利要求1所述的一种减振器周转架,其特征在于:所述周转箱(2)的一侧外壁上固定安装有把手(16)。6 . The shock absorber turnover frame according to claim 1 , wherein a handle ( 16 ) is fixedly installed on one outer wall of the turnover box ( 2 ). 7 . 7.根据权利要求1所述的一种减振器周转架,其特征在于:所述夹板(6)远离所述夹紧弹簧(5)的一侧外壁上固定安装有橡胶垫(17)。7 . The shock absorber revolving frame according to claim 1 , wherein a rubber pad ( 17 ) is fixedly installed on the outer wall of one side of the clamping plate ( 6 ) away from the clamping spring ( 5 ). 8 .
CN202023039561.2U 2020-12-16 2020-12-16 A shock absorber turnover frame Expired - Fee Related CN215284825U (en)

Priority Applications (1)

Application Number Priority Date Filing Date Title
CN202023039561.2U CN215284825U (en) 2020-12-16 2020-12-16 A shock absorber turnover frame

Applications Claiming Priority (1)

Application Number Priority Date Filing Date Title
CN202023039561.2U CN215284825U (en) 2020-12-16 2020-12-16 A shock absorber turnover frame

Publications (1)

Publication Number Publication Date
CN215284825U true CN215284825U (en) 2021-12-24

Family

ID=79513453

Family Applications (1)

Application Number Title Priority Date Filing Date
CN202023039561.2U Expired - Fee Related CN215284825U (en) 2020-12-16 2020-12-16 A shock absorber turnover frame

Country Status (1)

Country Link
CN (1) CN215284825U (en)

Similar Documents

Publication Publication Date Title
CN105278636B (en) A kind of computer equipment transport device
CN207781338U (en) A kind of box type transformer easy to remove
CN112599908A (en) New energy automobile battery shock attenuation protector
CN210925495U (en) Computer hard disk protection device that takes precautions against earthquakes
CN215284825U (en) A shock absorber turnover frame
CN221737599U (en) A new energy vehicle battery protection shock absorption mechanism
CN213892464U (en) Protection device of new energy automobile electron vacuum pump
CN216331843U (en) Suitcase side guard plate with impact resistance is strong
CN208855345U (en) Rear wheels of electric vehicle damping device
CN116811974A (en) Vibration-reducing cart special for large-area UTG
CN109765978A (en) A car computer with heat dissipation function
CN210531918U (en) Auto radiator with shockproof function
CN110901571A (en) Automobile battery installation device
CN219969744U (en) Glass curtain wall conveyer
CN202499078U (en) Body assembly and vehicle
CN209821757U (en) A movable computer case structure
CN219857027U (en) Vehicle-mounted storage device for trailer accessories
CN221688972U (en) Shock-absorbing cabinet
CN222572175U (en) Remove dining car that shock-absorbing quality is good
CN217969622U (en) Prevent cutting to pieces rubbing wallboard transport vechicle
CN211173266U (en) Sentry box convenient to install air conditioner
CN214001522U (en) Shockproof protection device for vehicle-mounted computer
CN216709425U (en) Upper cross beam structure of pure electric vehicle
CN214315534U (en) Stereo set for exhibition that steadiness is good
CN220562474U (en) Draw-bar box universal wheel capable of absorbing shock

Legal Events

Date Code Title Description
GR01 Patent grant
GR01 Patent grant
CF01 Termination of patent right due to non-payment of annual fee

Granted publication date: 20211224

CF01 Termination of patent right due to non-payment of annual fee